// ==UserScript== // @name Achieve // @namespace xmods // @author xmods // @match *://achieve.hashtag-learning.co.uk/* // @match *://*/* // @version 3.2.2 // @grant GM_setValue // @grant GM_getValue // @grant GM_deleteValue // @updateURL https://raw.githubusercontent.com/qwkdev/x/main/mods/achieve.user.js // @downloadURL https://raw.githubusercontent.com/qwkdev/x/main/mods/achieve.user.js // ==/UserScript== if (window.location.href.includes("://achieve.hashtag-learning.co.uk/")) { let version = '3.2.2'; const data = { // ENGINEERING SCIENCE [`
The car in the image below is travelling with a forward force of 600N, against the force of friction on the road of 75N, and an air resistance of 50N.
Calculate the resultant force acting on the car.

The car in the image below is travelling with a forward force of 350N, against the force of friction on the road of 40N, and an air resistance of 150N.
Calculate the resultant force acting on the car.

What happens to a thermistor's resistance when the temperature goes up?
`]: [`It decreases`], [`In a double-acting cylinder, what happens when the piston is outstroking?
`]: [`Air pushes against the base of the piston to create force`], [`A steel cable is used to lift a heavy load and experiences a force of 5400 N.
Calculate the cross-sectional area of the steel cable if the stress is measured to be 0.15 N mm-2.
`]: [`36000 mm2`], [`A new electric vehicle is being developed. Which of the following describes the role of a electrical engineer in the development of the vehicle?
`]: [`Developing the battery management system to ensure efficient energy use`], [`A new residential neighbourhood is being planned. Describe the role of a civil engineer in this project.
`]: [`Planning and overseeing the construction of roads, water supply, and drainage systems`], [`A footbridge is installed over a busy street, with a hanging advertising board.

A simplified free body diagram of the footbridge and hanging advertising board (force F) is shown below.

The bridge is supported at points RA and RB. A downward force of 4.5 kN is applied 6.0 m from RA, and the reaction force at RB is 3.2 kN. Calculate the force F by taking moments about RA. Answer correct to 2 s.f.
`]: [`630 N`], [`How many seconds will the light connected to pin 0 remain on in the following program?

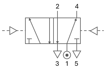
What distinguishes a double-acting cylinder from a single-acting cylinder in a pneumatic system?
`]: [`It has two air inputs that control movement in both directions`], [`Which of the following statements is true about a single-acting cylinder in a pneumatic system?
`]: [`It requires a spring to return the cylinder instroke automatically when the airflow stops`], [`A compression cylinder in an industrial machine is provided with a pressure of 1.5 N mm-2, generating a compressive force of 675 N.
Calculate the diameter of the piston in the compression cylinder.
`]: [`24 mm`], [`What is electrical power?
`]: [`The rate at which electrical energy is transferred`], [`An air conditioner has a power rating of 1725 W. If the air conditioner draws 7.5A of current from the supply, calculate the voltage required.
`]: [`>230 V`], [`A motor is connected to pin 6 (turning anticlockwise) and pin 7 (turning clockwise). The following flowchart is written to control the motor.

Which way will the motor be turning if the switch connected to pin 0 is switched off?
`]: [`It will be turning anticlockwise`], [`Identify the missing stage in this diagram of a system

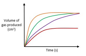
State the thermistor number from the graph below that has a resistance of 20 kΩ when the temperature is 50 °C.

Which of the following is NOT an example of civil engineering?
`]: [`Managing an electrical grid`], [`What is the primary function of a manifold in a compressed air system?
`]: [`To regulate the compressed air entering the system and distribute it to various valves`], [`What does a relay allow two circuits with differing characteristics to do?
`]: [`Work together without physically coming into contact`], [`Which of the following is an economic impact of engineering?
A beaker contains 100 g of ethanol with a specific heat capacity of 2440 J kg-1 K-1. Calculate the heat energy (in Joules) used to increase the temperature of the ethanol from 12°C to 37°C
`]: [`>6,100 J`], [`When is the output of an OR gate "on"?
`]: [`When at least one of its inputs is on`], [`Which of the following shows the correct logic diagram for:


What is defined as "is a twisting force that causes an object to rotate around an axis"?
`]: [`>Torque`], [`A desktop computer is rated at 230 V, 1.5 A, and has power out of 300 W. Calculate the power efficiency.
`]: [`87%`], [`What is the role of resistors in electrical circuits?
`]: [`To regulate the flow of current`], [`A footbridge is installed over a busy street, with a hanging advertising board.

A simplified free body diagram of the footbridge and hanging advertising board is shown below.

The bridge is supported at points RA and RB. A downward force of 4.7 kN is applied 6 m from RA, and the reaction force at RB is 3.4 kN. The advertising board gives a downward force of 2.9 kN.
Calculate the reaction force RA.
`]: [`4.2 kN`], [`Why is a street light considered an open-loop system?
`]: [`It does not have a feedback loop`], [`What is the output state of an AND gate if one input is high and the other is low?
`]: [`The output is low.`], [`Which of the following truth tables show the correct single-acting cylinder for the diagram below?


The truth table for a logic circuit is shown below:

Which of the following show the Boolean equation for output Z in terms of inputs A and B?
`]: [`
What should the energy out and energy losses equal in an energy audit?
`]: [`The energy in`], [`A gear mechanism has a velocity ratio of 12:1 and an input speed of 600 revs min−1.
Calculate the output speed of the gear.
`]: [`50 revs min−1`], [`A skateboarder with a mass of 60 kg accelerates at a rate of 2 m s-2.
What is the force applied by the skateboarder in Newtons?
`]: [`>120 N`], [`An electric heater in a room is rated at 230 V and is left on for 25 minutes resulting in an electrical energy of 759 kJ. Calculate the current drawn from the supply.
`]: [`>2.2 A`], [`A climber reaches a height of 120m on a mountain. If their mass is 65kg, what is their potential energy (correct to 2 s.f.)?
`]: [`76 kJ`], [`A car with a mass of 1200 kg is moving at a speed of 25 ms-1 .
What is the kinetic energy of the car?
`]: [`380,000 J`], [`What term describes the amount of force applied to a material's cross-sectional area that causes it to squash or stretch?
`]: [`>Stress`], [`A roller coaster car drops from 22 m to 0.8m. The combined mass of the car and the passengers is 560 kg. Due to heat energy loss due to friction, the car is found to be 88% efficient. What speed is the car going when it reaches the bottom of the hill (correct to 2 s.f.)?
`]: [`19 ms-1`], [`What is being described here:
The flow of electrons (negatively charged particles). Conventionally flows like water, from high to low - from positive to negative (or 0v).
`]: [`Current`], [`Calculate the number of teeth on gear B.

Two heaters are shown below. Which statement below is true.

In the equation F = ma, to what does F refer?
`]: [`>Force`], [`A toaster was in operation for 2 minutes and consumed 2400 J of energy. Calculate the power used.
`]: [`>20 W`], [`What is the purpose of the restrictor in this air bleed circuit?

In which unit is force measured?
`]: [`>Newtons`], [`Which document tracks each component's purpose, assessment criteria, and test outcomes in an engineering project?
`]: [`Test Plan`], [`Which of the following is the symbol for a variable resistor?
`]: [`
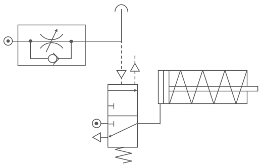
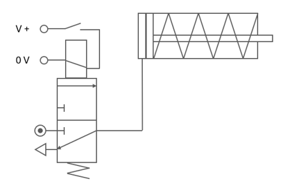
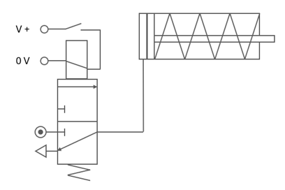
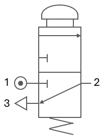
What type of actuator is used in the valve shown in the diagram?

The truth table for a logic circuit is shown below:

Which of the following show the Boolean equation for output Z in terms of inputs A, B and C?
`]: [`
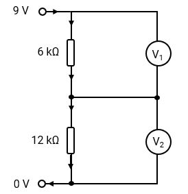
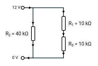
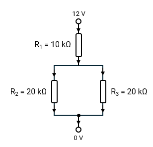
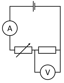
Determine the voltage at V2 in the circuit shown.

What voltage will be dropped over R1?

Calculate the number of teeth on gear B.

When two forces are applied to a material in opposite directions, causing it to shorten or compress, what type of force is this?
`]: [`>Compression`], [`Which engineering discipline aims to protect and improve the natural environment, and consider human and animal welfare?
`]: [`Environmental engineering`], [`A template for a sub-system diagram is shown below. What part of the system represented by the X in the diagram?

Which port in the diagram is connected to the main air supply?

Below is a sub-system diagram of a heater which regulates its own temperature to ensure that it keeps a constant output temperature.
Identify an input / input transducer

What is the correct way to connect a voltmeter to measure the voltage across a component?
`]: [`In parallel with the component`], [`A gear mechanism has an input speed of 60 revs min−1 and an output speed of 20 revs min−1.
Calculate the velocity ratio of the gear.
`]: [`3:1 or 3`], [`What does a test plan ensure?
`]: [`Everyone is aware of the areas for improvement`], [`When a 24 kg crate is pushed to the back of a lorry the work done is 120Nm. What was the distance the crate was pushed?
`]: [`5 m`], [`A new wastewater treatment plant is being designed. Which of the following describes the role of an environmental engineer in this project?
`]: [`Developing processes to ensure the water is treated to environmental standards`], [`Which of the following material properties are best described by the sentence below?
A material's ability to undergo permanent deformation after the force is removed
`]: [`Plasticity`], [`In the diagram, which symbol represents the main air supply?

A new electric vehicle is being developed. Which of the following describes the role of a mechanical engineer in the development of the vehicle?
`]: [`Designing the gear ratios for different speeds`], [`Which document outlines an engineering project's essential requirements?
`]: [`Specification`], [`What is shown in the diagram below?

Which part of the system interacts with a "real life" input?
`]: [`Input Transducer`], [`What component is represented by X in the diagram below?

Which of the following best describes tension in a material?
`]: [`The stretching effect of two forces that elongate the material's length`], [`A bullet with a mass of 10g is fired at a speed of 300 ms-1.
Calculate the kinetic energy of the bullet in Joules.
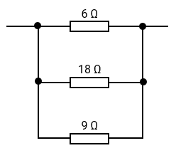
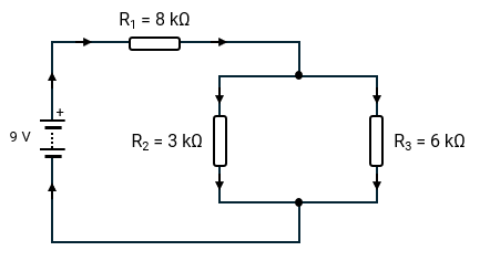
`]: [`>450 J`], [`Calculate the total resistance of the two parallel resistors.

What happens when cylinder A instrokes in the diagram below?

True or False:
An engineering project can only be tested once it has been implemented.
`]: [`False`], [`If the electrical energy into a fan is 300 J, and 250 J of mechanical energy is recorded, how much energy is lost as heat energy?
`]: [`>50 J`], [`A single acting cylinder with a diameter of 24 mm is required to lift a load weighing 148 N.
Calculate the air pressure required to fulfil this specification, correct to 2 significant figures.
`]: [`0.17 N mm-2`], [`Which of the following are examples of civil engineering?
A logic diagram is shown below:

Which of the following shows the correct row of the truth table for the logic diagram?
`]: [`
The _______ force acting on the piston rod will cause the cylinder to instroke when the valves are centered.
Identify the missing word.

Determine the illumination level when the LDR has a resistance of 5 kΩ.

How does climate change affect weather patterns?
`]: [`Intensifies them, leading to more frequent and severe storms`], [`A new bridge is being constructed over a river. Which of the following describes the role of an environmental engineer in this project?
`]: [`Developing water purification systems to prevent river contamination`], [`A lever is used to lift a weight which creates a moment of 1600 Nm.
How far along the lever from the pivot must the 640 N be applied to equal this moment and move the weight?
`]: [`2.5 m`], [`What is the purpose of a sub-system diagram?
`]: [`To show the interaction of the sub-systems within the system and how these interact with the real world`], [`What property is being described here:
"A push or a pull which can change an object's speed, direction or shape."
`]: [`>Force`], [`Which of the diagrams below show the correct configuration for slowing down the instroke of the cylinder using a unidirectional FCR?

What is the relationship between the sum of the voltages across each component and the supply voltage in a series circuit?
`]: [`The sum equals the supply voltage`], [`A horizontal beam supports a shelf in a library. A free body diagram indicating the main forces acting on the beam is shown below.
Calculate the reaction force RA by taking moments about RB.

What happens when cylinder B outstrokes in the following diagram?

A biomass power plant absorbs 72 kJ of chemical energy from biomass and is 63% efficient. Calculate the electrical energy output produced (correct to 2 s.f.).
`]: [`45 kJ`], [`What does the following symbol represent on an electronic circuit?

What is the expected output of an AND gate if the inputs were as shown in the truth table below?

A diver who has a mass of 62 kg stands at the top of the 10.0 m platform. What speed will they be travelling at just as they hit the water at the bottom?
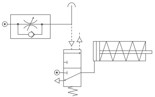
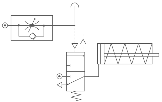
`]: [`14 ms-1`], [`What causes the single-acting cylinder (SAC) to instroke in this circuit?

A simple gear train is shown below.
Calculate the velocity ratio of the gear train.

Identify the logic gate shown below.

What is used to measure voltage?
`]: [`Voltmeter`], [`What is energy efficiency?
`]: [`The amount of input energy that is transferred to useful output energy`], [`What does a NOT gate do to its input signal?
`]: [`It inverts the signal`], [`For accurate resistance measurement with an ohmmeter, what must be done to the component?
`]: [`Disconnect it from the circuit`], [`Which of the following are examples of engineering solutions to tackle climate change?
Calculate the torque of a motor which has an output power of 3.1 kW and turns at 1200 rev min-1 (correct to 2 significant figures).
`]: [`25 Nm`], [`What happens to the total resistance in a series circuit when more resistors are added?
`]: [`It increases`], [`A desktop computer operates with a voltage of 230V and draws a current of 3A. Calculate the power consumed by the computer.
`]: [`690 W`], [`A new bridge is being constructed over a river. Which of the following describes the role of an electronic engineer in this project?
`]: [`Designing the bridge's traffic management software`], [`A roller coaster car with a mass of 180 kg is moving at a speed of 10 ms-1
Calculate the kinetic energy of the car in Joules.
`]: [`>9000 J`], [`What is being described here:
A measure of how much voltage is required to let current flow through components - how good a conductor or insulator a material is.
`]: [`Resistance`], [`What does the conservation of energy principle state?
`]: [`Energy remains constant but can change forms`], [`The car in the image below is travelling with a forward force of 350N, against the force of friction on the road of 40N, and an air resistance of 150N.
Calculate the resultant force acting on the car.

How should an ammeter be connected to measure current?
`]: [`In series with the component`], [`What is the expected output of an AND gate if the inputs were as shown in the truth table below?

A laptop charger has a power rating of 90W. If the charger draws 4.5A of current from the supply, calculate the voltage required.
`]: [`20 V`], [`In closed loop control, what is the actual output level compared to, to ensure a constant output?
`]: [`The desired level set by the user`], [`During a tennis match the ball of mass 56 g is hit 3.4m into the air. What speed will it be travelling on the way back down, just before the player hits it 0.8m above the ground?
`]: [`7.1 ms-1`], [`Which of the following shows the correct logic diagram for:


What role does the diaphragm valve play in this air bleed circuit?

A painter is standing on a scaffold 8.0 m above the ground.
If their mass is 75 kg, what is their potential energy in Joules? Give the answer to 2 significant figures.
`]: [`>5900J`], [`What is the difference between a label and a comment in microprocessor coding?
`]: [`Labels identify code sections; comments are ignored by the program and are for the programmer to read`], [`A motor which turns at 180 rev min-1 is connected to a pulley system with a driver of Ø85mm and a driven of Ø170mm. The output power from the pulley system is 1.5 kW. Calculate the output torque correct to 2 significant figures.
`]: [`160 Nm`], [`What happens when current flows through a motor?
`]: [`It moves`], [`A new robotic arm is being developed for manufacturing. Describe the role of a chemical engineer in this project.
`]: [`Creating the lubricants for smooth operation`], [`Which of the following does open loop control lack?
`]: [`A feedback loop`], [`Which of the following material properties are best described by the sentence below?
A material's ability to be stretched into wires without breaking
`]: [`Ductility`], [`Convert 240 to binary
`]: [`>11110000`], [`Convert 11010101 to decimal
`]: [`>213`], [`A simple gear train is shown below.
Calculate the number of teeth on the driver gear.

What is used to measure resistance?
`]: [`Ohmmeter`], [`Convert 110010 to decimal
`]: [`>50`], [`A tablet charger supplies 18W of power and operates at a voltage of 9V. Calculate the current drawn by the charger.
`]: [`2 A`], [`Which of the following are examples of an output device?
What is the unit of measurement for resistance?
`]: [`Ohms`], [`A light bulb has an output light energy of 150 J and is 15% efficient.
What should be shown at X and Y on the energy audit diagram below?

Which field of engineering deals with converting raw materials into useful new materials for products?
`]: [`Chemical engineering`], [`The truth table for a logic circuit is shown below:

Which of the following show the Boolean equation for output Z in terms of inputs A, B and C?
`]: [`
What happens after valve C is actuated in the diagram below?

Which of the following shows the correct logic diagram for:
Z = A • B • C
`]: [`
What is the unit of specific heat capacity?
`]: [`Jkg-1K-1`], [`A bridge cable must support a large load with minimal stretching. Which combination of material properties should be used?
`]: [`Strong – waterproof`], [`A factory's generator is 75% efficient and provides an output power of 100 kW. Calculate the input power (correct to 2 s.f.).
`]: [`130 kW`], [`Determine the voltage at V0 in the circuit shown, correct to 2 sig figs.

A 50 m length of rope was stretched by 0.025 m when fully in tension.
Calculate the strain in the rope.
`]: [`0.0005`], [`Two gears which mesh together in a line are known as a ____ _____.
`]: [`>Gear train`], [`A simple gear train is shown below.
State the direction of rotation of the driven gear.

In the sub-system diagram below for a radio, identify an input (transducer) sub-system

What is the purpose of the Data Direction Register in a microcontroller?
`]: [`To set the pins as either inputs or outputs at the start of the program`], [`A gear mechanism has a velocity ratio of 5:1 and an output speed of 300 revs min−1.
Calculate the input speed of the gear.
`]: [`1500 revs min−1`], [`Which stage of an engineering project involves executing the project plan and constructing the system?
`]: [`Implementation`], [`What is one of the responsibilities of structural engineers?
`]: [`Conducting site inspections`], [`Shown below is a sub-system diagram for a street light. Identify the “real life” output

What remains the same across each branch in a parallel circuit?
`]: [`The voltage`], [`Which of the following best describes the approach to solving complex engineering challenges?
`]: [`Integrating multiple engineering disciplines to collaboratively solve problems`], [`An electric fan ran for 10 minutes and used 18 kJ of energy. Calculate the power used.
`]: [`30 W`], [`What is the output state of an OR gate if one input is high, and the other is low?
`]: [`The output is high.`], [`A pneumatic actuator is operated with an air pressure of 1.8 N mm-2 and produces an outstroking force of 540 N.
Calculate the area of the piston in the pneumatic actuator.
`]: [`300 mm2`], [`Which of the following are examples of chemical engineering?
Calculate the resistance of this circuit:

What is the name of the valve indicated in the circuit below?

Which of the following are examples of electrical engineering?
The truth table for a logic circuit is shown below:

Which of the following show the Boolean equation for output Z in terms of inputs A, B and C?
`]: [`
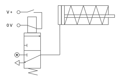
What is the primary function of actuators in a mechanical system?
`]: [`To change the state of a pneumatic valve`], [`A freebody diagram of a beam in a structure is shown below. Calculate R1 and R2 correct to 2 significant figures.

What is not a focus of structural engineering?
`]: [`Ensuring buildings are attractive to look at`], [`Two heaters are shown below. Which statement below is true.

Which of the following shows the correct Boolean logic representation for an OR gate with inputs A and B?
`]: [`
What is the symbol for Ohms?
`]: [`Ω`], [`A new wastewater treatment plant is being designed. Which of the following describes the role of an electronic engineer in this project?
`]: [`Programming the control systems for automated monitoring`], [`What happens when the plunger on valve 1 is pressed on the diagram below?

What is the force called that opposes movement when two surfaces are in contact?
`]: [`>Friction`], [`Which of the following material properties are best described by the sentence below?
A material's ability to absorb sudden shocks or impacts without breaking, often with high elasticity
`]: [`Toughness`], [`What requires disconnecting the component from the circuit to measure it accurately?
`]: [`Resistance`], [`Determine the voltage at V0 in the circuit shown.

A golf ball a mass of 40 g has a kinetic energy of 18J
What speed is the speed of the golf ball?
`]: [`30 ms-1`], [`A vertical support beam in a building has a cross-sectional area of 320 mm-2 and is subjected to a stress of 0.75 N mm-2.
Calculate the force applied to the beam.
`]: [`240 N`], [`What does structural engineering primarily deal with?
`]: [`Buildings`], [`What action occurs as the cylinder outstrokes in the following diagram?

Through which port does the exhaust air escape when the single-acting cylinder instrokes in the following diagram?

Which of the following shows the correct logic diagram for:


Which of the following is the condition of equilibrium which does not need to be considered when studying forces acting at a single point.
`]: [`∑CWM = ∑ACWM`], [`A car engine provides a constant force of 800 N to move the car at a constant velocity of 15 ms-1. Calculate the power output of the engine.
`]: [`>12 kW`], [`What can an engineer use during the design phase of a project to carry out testing quickly ?
`]: [`Simulation software`], [`A cyclist and bicycle have a combined mass of 75 kg. What force does the cyclist need to cycle with to accelerate by 2.5 ms-2?
What is the acceleration of the cyclist?
`]: [`180 N`], [`A simple gear train is shown below.
Calculate the velocity ratio of the gear train.

Calculate the current flowing through a 1 kΩ resistor when the applied voltage is 5 V.
`]: [`5 mA`], [`Determine the voltage at V1 in the circuit shown.

Which of the following is an example of closed loop control?
What is the state of the cylinder when both buttons on valve A and valve B are held down in the following diagram?

A simple gear train is shown below.
Calculate the number of teeth on the driven gear.

Which of the following material properties are best described by the sentence below?
A material's tendency to break or shatter easily under stress
`]: [`Brittleness`], [`What is the main reason for using copper in electrical wires?
`]: [`It has low resistance`], [`Calculate the output speed of this compound gear train.

Which of the following describes a reaction force:
`]: [`A force that is equal to, and acts in the opposite direction to, the action force`], [`What is the part of the system responsible for control or decision-making called?
`]: [`Process`], [`According to Kirchhoff's Current Law (KCL), what happens to the total current at a junction in a parallel circuit?
`]: [`It equals the total current exiting the junction`], [`A logic diagram is shown below:

Which of the following shows the correct row of the truth table for the logic diagram?
`]: [`
A double-acting cylinder is supplied with an air pressure of 0.48 N mm-2. The outstroke force required is 710 N.
Calculate the effective area the cylinder will need to produce this force correct to 2 significant figures.
`]: [`1500 mm2`], [`Which of the following is NOT a question that should be considered during the design of an engineering project?
`]: [`Was it completed on time?`], [`What happens when resistance in an electrical circuit increases?
`]: [`More voltage is required to push the current`], [`The car in the image below is travelling with a forward force of 600N, against the force of friction on the road of 75N, and an air resistance of 50N.
Calculate the resultant force acting on the car.

Why are two pins required to control the direction of a motor using a microcontroller?
`]: [`One pin makes the motor turn clockwise when switched on and one pin makes the motor turn anticlockwise`], [`A helicopter lifts a rescue stretcher with a total mass of 220 kg to a height of 25 m.
What is the potential energy gained by the stretcher in Joules? Give the answer to 2 significant figures.
`]: [`>54 kJ`], [`What allows the level of restriction in a uni-directional flow control restrictor to be adjusted?
`]: [`A screw that adjusts the size of the hole the air can flow through`], [`The truth table for a logic circuit is shown below:

Which of the following show the Boolean equation for output Z in terms of inputs A and B?
`]: [`
Why is structural engineering particularly important for tall buildings?
`]: [`To ensure they are safe and stable`], [`How does a reservoir cause a time delay in a pneumatic circuit?
`]: [`By requiring time for the air pressure to build within the reservoir after passing through a restrictor`], [`Look at the flowchart below. How many times does the Red LED flash?

Why is the area reduced as the cylinder instrokes in a double-acting cylinder?
`]: [`The piston rod occupies some of the space, reducing the area`], [`A spanner which is 220 mm long is used to loosen a bolt.
A moment of 120 kNmm is required. How much force needs to be applied to the end of the spanner to loosen the bolt?

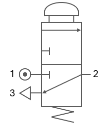
Which of the following symbols represents a Plunger actuator?
`]: [`
Which of the following are ways to reduce friction between the blades of a pair of scissors?
What is specific heat capacity?
`]: [`The amount of energy required to raise the temperature of a material by 1°K`], [`Which of the following should be shown on an energy audit diagram?
Determine the voltage dropped over a heating element which has 50 mA of current through it and has a resistance of 150 Ω.
`]: [`7.5 V`], [`When two forces are applied to a material in opposite directions, causing it to stretch , what type of force is this?
`]: [`>Tension`], [`When testing the engineer found that this program only flashed the light on once. What should be done to ensure that the light will keep flashing for as long as the switch is pressed?

The motor in a ceiling fan is rated at 240 V, 0.5 A.
Calculate how long the fan is in use for if the electrical energy was measured to be 360 kJ.
`]: [`50 minutes`], [`Shown below is a sub-system diagram for a street light. Identify the output / output transducer:

What happens if the threshold current is not met at the base of a transistor?
`]: [`It will act as an insulator – not allow current to flow`], [`A metal rod is used to support a heavy signboard. The rod has a cross-sectional area of 250 mm-2 and experiences a stress of 1.8 N mm-2.
Calculate the force applied to the rod.
`]: [`450 N`], [`Calculate the voltage across the 20 kΩ resistor when the current flowing through it is 1.2 mA.
`]: [`24 V`], [`How many ports does a 5/2 valve have?
`]: [`>Five`], [`What happens to the single-acting cylinder (SAC) when both valve A and valve B are pressed simultaneously?

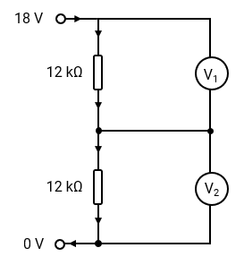
Determine the voltage at V1 in the circuit shown, where two 12 kΩ resistors are connected in series with an 18 V power supply.

When valve B is actuated in the circuit below, the cylinder will perform an __________.
Identify the missing term

Which colour is typically used to mark working air in a pneumatic system?
`]: [`Blue`], [`A roller coaster designer is using simulation to ensure that the roller coaster will be safe. For one section the car with a combined mass of 320 kg reaches a speed of 19 ms-1 between hills. Assuming no energy losses, what is the maximum height that the roller coaster could reach at the top of the next hill (correct to 2 significant figures)?
`]: [`18 m`], [`Which of the following truth tables show the correct single-acting cylinder for the diagram below?


What is a reason to use a microcontroller instead of hardwired electronics?
`]: [`Microcontroller functions can be changed without changing the parts`], [`A simple gear train system is shown below. Name the gear labelled X.

Which type of motion is being described here?
Movement back and forth in an arc, like the pendulum of a clock.
`]: [`Oscillating`], [`Which of the following shows the correct logic diagram for:


How many seconds will the buzzer connected to pin 0 remain on in the following program?

Which of the following are examples of electronic engineering?
A gear mechanism has an input speed of 128 revs min−1 and an output speed of 16 revs min−1.
Calculate the velocity ratio of the gear.
`]: [`8:1 or 8`], [`What does a low specific heat capacity indicate about a material?
`]: [`It is easier to heat`], [`Which of the following statements is true of the worm and wheel mechanism?
`]: [`The worm can only serve as the driver and never as the driven gear`], [`A laboratory experiment uses 2 litres of water at an initial temperature of 22°C. If the heat energy supplied to the water is 209 kJ, what is the final temperature of the water? Assume no heat is lost to the surroundings.
`]: [`47°C`], [`A gear mechanism has a velocity ratio of 8:1 and an output speed of 25 revs min−1.
Calculate the input speed of the gear.
`]: [`200 revs min−1`], [`A new bridge is being constructed over a river. Which of the following describes the role of a structural engineer in this project?
`]: [`Analysing and designing the bridge to withstand heavy loads`], [`Which of the following is not an example of an output controlled by a microprocessor?
`]: [`Temperature sensor`], [`A simple gear train system is shown below. Name the gear labelled X.

What does civil engineering involve?
`]: [`Constructing infrastructure`], [`The program below controls an LED which is connected to pin 7. When a switch, connected to pin 4, is pressed, the LED will flash.
What is the function of the highlighted piece of code below?

Which of the following is true about the difference between mass and weight?
`]: [`Mass remains constant regardless of location, while weight varies with the strength of gravitational pull.`], [`A smartphone charger has a power rating of 10W. If the charger draws 2A of current from the supply, calculate the voltage required.
`]: [`5 V`], [`What role do engineers play in addressing climate change?
`]: [`Developing solutions`], [`How does positioning the Flow Control Restrictor on the exhaust side of the cylinder affect the cylinder's performance?
`]: [`It decreases the cylinder's speed by slowing the air's exit`], [`A double-acting cylinder is supplied with an air pressure of 0.25 N mm-2. It has a diameter of 66 mm and the piston rod has a diameter of 12 mm.
Calculate the difference between the outstroke force and instroke force of the cylinder correct to 2 significant figures.
`]: [`28 N`], [`What can change depending on the strength of gravity?
`]: [`Weight`], [`Which engineering discipline focuses on designing processes for converting raw materials into valuable products on an industrial scale?
`]: [`Chemical engineering`], [`What are emerging technologies?
`]: [`New innovations that are currently being developed and tested`], [`Which force is being described here:
"A force which pulls objects towards earth and keeps planets in orbit around the sun."
`]: [`>Gravity`], [`An electric oven was left on for 15 minutes and used 360 kJ of energy. Calculate the power used.
`]: [`400 W`], [`A box is pushed along the floor with a force of 140 N. The friction force between the box and the floor is 81 N. What is the resultant force which will move the box forwards?

Which of the following is NOT an example of electrical engineering?
`]: [`Creating Bluetooth and Wi-Fi communication modules`], [`Which of the following does an energy audit diagram show?
What happens when the air bleed is sealed off in this circuit?

Which of the following is an environmental impact of engineering?
What is the term for a reference point in potential energy?
`]: [`Datum`], [`Determine the illumination level when the LDR has a resistance of 50 Ω.

A logic diagram is shown below:

Which of the following shows the correct row of the truth table for the logic diagram?
`]: [`
What is the specific heat capacity of water?
`]: [`4180Jkg-1K-1`], [`Which of the following shows the correct Boolean logic representation for a NOT gate with input A?
`]: [`
What term describes the ratio between the change in length and the original length of a material when it is subjected to a load?
`]: [`>Strain`], [`Which of the following mechanisms features the highest Velocity Ratio between two gears?
`]: [`Worm and wheel`], [`Which of the following might be aspects of environmental engineering?
How many teeth are found on the worm of a worm and wheel mechanism?
`]: [`>One`], [`Calculate the total resistance of the three parallel resistors.

What is kinetic energy?
`]: [`The energy an object possesses due to its motion`], [`A double-acting cylinder is supplied with an air pressure of 0.5 N mm-2. It has a diameter of 68 mm and the piston rod has a diameter of 12 mm.
Calculate the area of the piston during instroke correct to 2 significant figures.
`]: [`3500 mm2`], [`Calculate the torque of a motor a torque of 25 Nm and turns at 2200 rev min-1 (correct to 2 significant figures).
`]: [`23 Nm`], [`An electric car's motor is 90% efficient and delivers an output power of 50 kW. Calculate the input power (correct to 2 s.f.).
`]: [`56 kW`], [`Which of the statements that follow are true for this combined circuit?

A kettle boils for one and a half minutes, consuming 6000 J of energy. Calculate the power used.
`]: [`>40 W`], [`A gardener pushes a lawnmower across a 10-metre lawn with a constant force of 150N.
Calculate the work done.
`]: [`1500 Nm`], [`A 45 m steel cable was stretched by 180 mm under load.
Calculate the strain in the cable.
`]: [`0.004`], [`What occurs in the following diagram when the push button on valve B is pressed?

A student drags a box of books 3 metres across a library floor with a force of 200N.
Calculate the work done in Newton metres
`]: [`>600 Nm`], [`What does the following symbol represent on an electronic circuit?

What is the term used in programming a microprocessor to describe notes or explanations within the code that are ignored by the program but help developers understand the code's purpose or functionality? These usually follow // or '
`]: [`>White Space Comments`], [`What is the result of actuating the roller on valve 4 on the following diagram?

A rubber physio band is stretched by 75mm.
Calculate the original length of the rubber physio band when a strain of 0.025 is experienced.
`]: [`3.0 m`], [`An engineer moves a crate 5 metres across the factory floor by applying a force of 250N.
Calculate the work done.
`]: [`1250 Nm`], [`Which of the following materials is considered a conductor?
`]: [`Copper`], [`Calculate the energy efficiency of the refrigerator shown in the energy audit diagram below.

Which of the following symbols represents a Lever actuator?
`]: [`
In an OR control pneumatic system, what happens when both input valves are actuated?
`]: [`The output will be actuated , and the cylinder will move`], [`When does the implementation stage occur in relation to the other stages of an engineering project?
`]: [`Both B and C`], [`The program below controls an LED which is connected to pin 7. When a switch, connected to pin 4, is pressed, the LED will flash on for 2 seconds, for a certain number of times. How long will the LED be on for in total if the switch is pressed once?

What does the specification serve as throughout the design phases?
`]: [`A checklist`], [`A machine operates at 50 rev min-1 with a torque of 120 Nm. Calculate the power output of the machine correct to 2 s.f.
`]: [`630 W`], [`A double-acting cylinder is supplied with an air pressure of 0.5 N mm-2. It has a diameter of 68 mm and the piston rod has a diameter of 12 mm.
Calculate the area of the piston during outstroke correct to 2 significant figures.
`]: [`3600 mm2`], [`The diagram below is known as a __________ diagram. Identify the missing term.

Which principles from Physics are essential for mechanical engineers to apply?
`]: [`Force and motion`], [`A double-acting cylinder is supplied with an air pressure of 0.32 N mm-2. It has a diameter of 52 mm and the piston rod has a diameter of 4.8 mm.
Calculate the instroke force of the cylinder, correct to 2 s.f.
`]: [`670 N`], [`What are the three electrical principles related to electrical energy?
`]: [`Voltage, current, time`], [`What affect does the area of the piston base have on the operation of a pneumatic cylinder?
`]: [`It affects the amount of force generated by the piston movement`], [`Calculate the output speed of this compound gear train.

Which of the following are examples of mechanical engineering?
What is the supply voltage of this combined circuit?

What does the control stage of an engineering project involve?
`]: [`Monitoring and checking performance`], [`The program below controls an LED which is connected to pin 7. When a switch, connected to pin 4, is pressed, the LED will flash on for 2 seconds, for a certain number of times. How many times will the LED flash following one press of the switch?

A microwave oven uses 3000 J of electrical energy and is 70% efficient.
What should be shown at X and Y on the energy audit diagram below?

Which of the following is the flowchart symbol for controlling an Output?
`]: [`
What does the symbol shown in the diagram below represent ?

Which of the following symbols represents a Pilot Air actuator?
`]: [`
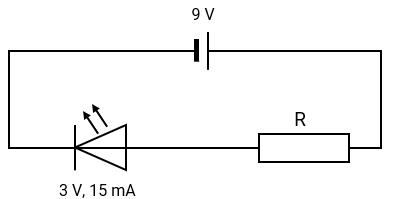
What is the purpose of the diode in this circuit?

Which of the following best describes the role of a restrictor when used with a reservoir in a pneumatic circuit?
`]: [`It slows down the air flow, contributing to the time delay in the circuit`], [`The following program (shown in Arduino and PBASIC) controls a light, connected to pin 6, with a digital switch, connected to pin 4.
What state will the light be in when the switch is on?

What is NOT a task typically performed by mechanical engineers?
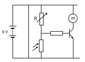
`]: [`Conducting chemical experiments`], [`What happens to the resistance of an LDR when the light level increases?
`]: [`Decreases`], [`What does the following symbol represent on an electronic circuit?

Calculate the current flowing through a 420 Ω resistor when the applied voltage is 8.4 V.
`]: [`20 mA`], [`Which of the following symbols represents a Push Button actuator?
`]: [`
How is the total resistance in a series circuit calculated?
`]: [`By adding all the individual resistances together`], [`Determine the illumination level when the LDR has a resistance of 10 kΩ.

What is being described here:
The driving force, "pushing" the electrons around the circuit.
`]: [`Voltage`], [`Which of the following is an economic impact of engineering?
Which of the following is the flowchart symbol for a Process?
`]: [`
A sub-system diagram of a radio is shown below. Identify the output / output transducer

Which of the following symbols represents a Solenoid actuator?
`]: [`
Which of the materials below should be chosen for making electrical wires?
`]: [`Copper: excellent conductor, ductile,`], [`An electric heater has an input electrical energy of 1500 J. Only 1100 J is transformed as useful output energy in the form of heat.
What should be shown at X and Y on the energy audit diagram below?

State the term used to describe when forces acting on a structure are balanced.
`]: [`>Equilibrium`], [`The power supply for a computer monitor is rated at 24 V, 3.5 A. Calculate the input electrical energy used (in MJ, and correct to 2 significant figures) in 5 hours.
`]: [`>1.3 MJ`], [`What happens when the button on the valve is not pressed ?

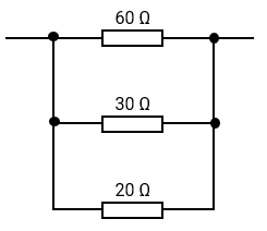
Calculate the total resistance of the two parallel resistors.

The truth table for a logic circuit is shown below:

Which of the following show the Boolean equation for output Z in terms of inputs A, B and C?
`]: [`
What happens to the kinetic energy of an object as it moves faster?
`]: [`It increases`], [`Which of the following are environmental impacts of building a new bridge over a river?
What do electronic output devices convert?
`]: [`Electrical signals into real-life properties`], [`State the thermistor number from the graph below that has a resistance of 10 kΩ when the temperature is 25 °C.

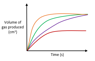
A motor is rated 240 V, 1.2A and is 78% efficient. Calculate the torque it can produce if it spins at 250 rev min-1.
`]: [`11 Nm`], [`In the diagram, what causes the cylinder to outstroke?

Which of the following shows the correct Boolean logic representation for an AND gate with inputs A and B?
`]: [`
A beam with applied forces is shown below:

State the nature of the force acting on the beam
`]: [`>Compression`], [`What voltage will be dropped over R2?

Which force is being described here:
"A force which happens between two surfaces which causes an object to slow down or stop."
`]: [`>Friction`], [`Two LEDs are used to indicate the status of an input. One LED, is connected to pin 7 and one to pin 6.
Which statement best describes what will happen when the switch is off?

A microwave oven has a power rating of 1.2kW. If the microwave oven draws 5A of current from the supply, calculate the voltage required.
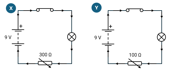
`]: [`>240 V`], [`What will be the difference in brightness between the bulb in circuit X and the bulb in circuit Y?

A new robotic arm is being developed for manufacturing. Describe the role of an electronic engineer in this project.
`]: [`Developing the software to control the robotic arm's movements`], [`What is the expected output of an AND gate if the inputs were as shown in the truth table below?

Which of the following are ways to reduce friction in a machine's moving parts?
What is the primary use of LDRs and thermistors in circuits?
`]: [`As an input used in a voltage divider`], [`The light bulb in a desk lamp is rated at 230 V, 0.5 A.
Calculate the input electrical energy used in 2 hours (correct to 2 s.f).
`]: [`830 kJ`], [`If the chemical energy in a battery used by a flashlight is 150 J, and 90 J of light energy is recorded, how much energy is lost as heat energy?
`]: [`>60 J`], [`A footbridge spans a small stream. A free body diagram indicating the main forces acting on the footbridge is shown below.
Calculate the reaction force RA by taking moments about RB.

Why is it important for different engineering disciplines to work together when solving an engineering problem?
`]: [`To ensure and all potential engineering solutions are considered`], [`What do system diagrams visually illustrate?`]: [`The inputs and outputs of a system`], [`A new electric vehicle is being developed. Which of the following describes the role of a environmental engineer in the development of the vehicle?
`]: [`Analysing the environmental impact of the vehicle's manufacturing process`], [`A sub-system diagram of a car cruise control is shown below.

A speed sensor is used so that the control can compare the speed of the car with the speed that is set by the user. What is the name of the loop in the diagram which contains the speed sensor?
`]: [`>Feedback`], [`Explain why the bulb in Circuit Y is dimmer than the bulb in Circuit X.

Calculate the total resistance of the two parallel resistors.

Which of the following is the symbol for a lamp?
`]: [`
A simple gear train is shown below.
State the direction of rotation of the driven gear.

Calculate the combined resistance of the three parallel resistors.

What does the following symbol represent on an electronic circuit?

A hydraulic press is supplied with a pressure of 2.2 N mm-2, and the pressing force applied by the piston is 800 N.
Calculate the area of the piston in the hydraulic press.
`]: [`360 mm2`], [`Which of the following material properties are best described by the sentence below?
A material's ability to resist surface scratching or indentation
`]: [`Hardness`], [`A hot tub contains 220 litres of water at an initial temperature of 25°C. If the heat energy supplied to the water is 1840 kJ, what is the final temperature of the water? Assume no heat is lost to the surroundings (correct to 2 s.f.)?
`]: [`27°C`], [`What happens to the solenoid valve when the electromagnet is not energized?

A wind turbine operates at 12 rev min-1 and generates a torque of 340 Nm. Calculate the power produced by the wind turbine.
`]: [`540 W`], [`Determine the voltage dropped over a resistor which has 10 mA of current through it and has a resistance of 200 ohms.
`]: [`>2 V`], [`Calculate the output speed of this compound gear train.

An electric motor outputs 500 W of power to move a machine at a constant velocity of 5 ms-1 . Calculate the force exerted by the motor.
`]: [`100 N`], [`In this hydraulic circuit, the two components highlighted in the orange box create a ______ effect on the instroke of the cylinder.
Identify the missing term.

What happens when the push button on valve A is pressed in the following diagram?

What is true of the voltage over R1 and R2 in this circuit:

Which of the following is the flowchart symbol for a Terminator (Start/Stop)?
`]: [`
What voltage will be dropped over R3?

What does OR control in a pneumatic system allow?
`]: [`Movement of the cylinder when either one or both of the input valves are actuated`], [`The image below shows the ____ and wheel mechanism.

Identify the missing term.
`]: [`>Worm`], [`Which of the following is the correct way to connect the unidirectional flow control restrictor and the reservoir to create a time delay?
`]: [`
What type of control does an oven use?
`]: [`>Closed Loop Control`], [`A bicycle frame requires a material that is portable and can absorb shocks. Which combination of material properties should be used?
`]: [`Tough - lightweight`], [`A turbine is used to generate electricity in a hydroelectric power station. It has a power input of 170 MW. If the power plant is 88% efficient, calculate the electrical power produced.
`]: [`150 MW`], [`Determine the resistance of a type 1 thermistor when the temperature is 75 °C.

What is measured in Ohms?
`]: [`Resistance`], [`Which of the following is NOT an example of chemical engineering?
`]: [`Developing wind turbines and solar panels`], [`Which type of motion is being described here?
Continuous motion in a circle, such as a bike wheel turning.
`]: [`Rotational`], [`What is potential energy?
`]: [`Energy due to position or condition`], [`A motor applies a force of 520 N to move a conveyor belt at a constant linear speed of 2.5 m s-1. Calculate the power output of the motor.
`]: [`1250 W`], [`What condition will make the lamp light up?

Convert 10011101 to decimal
`]: [`>157`], [`What is mechanical power?
`]: [`The rate at which energy is transferred in a mechanical system`], [`Which of the following characteristics are represented by a vector
What is essential to do before using an ohmmeter to measure resistance?
`]: [`Switch off the power and disconnect the component`], [`An Engineer is designing a control circuit. It is required to test the base current of the transistor. Which diagram below shows the correct placement of the ammeter in order to do this?

Calculate the current flowing through a 220 Ω resistor when the applied voltage is 8.8 V.
`]: [`40 mA`], [`What does environmental engineering seek to increase?
`]: [`The quality of life for current and future generations`], [`What is a microcontroller?
`]: [`A programmable device that performs various functions based on connected inputs and outputs`], [`What is shared between among the branches in a parallel circuit?
`]: [`The current`], [`Identify the logic gate shown below.

What is the result of friction between moving parts?
`]: [`Energy "loss" as heat`], [`A laptop was charged for 1 hour and consumed 72 kJ of energy. Calculate the power used.
`]: [`20 W`], [`In the sub-system diagram below for a radio, identify a “real life” input

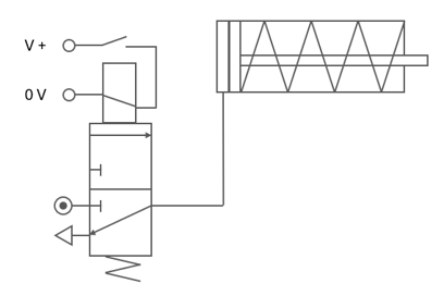
In a single acting cylinder, how is the piston instroked?
`]: [`By a spring inside the cylinder`], [`Look at the program below, which controls two LEDs by turning them on and off in a sequence.
Which output will be on for the longest time in this program?

The truth table for a logic circuit is shown below:

Which of the following show the Boolean equation for output Z in terms of inputs A and B?
`]: [`
Which of the following is a social impact of engineering?
Which of the following would definitely NOT be an aspect of environmental engineering?
`]: [`Corporate branding strategies`], [`If two objects are moving at the same speed, which one has more kinetic energy?
`]: [`The one with more mass`], [`In a double-acting cylinder, what causes the piston to move and create force?
`]: [`Air pushing against the base of the cylinder piston`], [`A new robotic arm is being developed for manufacturing. Describe the role of a mechanical engineer in this project.
`]: [`Designing the physical components for precise movement`], [`A double-acting cylinder is supplied with an air pressure of 0.35 N mm-2. It has a diameter of 55 mm and the piston rod has a diameter of 7.0 mm.
Calculate the area of the piston during instroke correct to 2 significant figures.
`]: [`2300 mm2`], [`A baseball with a mass of 150g is thrown at a speed of 40 ms-1.
Calculate the kinetic energy of the baseball in Joules.
`]: [`>120 J`], [`A concrete pillar supports a structure and is subjected to a force of 120 N.
Calculate the cross-sectional area of the concrete pillar if the stress is recorded as 0.075 N mm-2.
`]: [`1600 mm2`], [`A refrigerator uses 2400 J of electrical energy and is 75% efficient.
What should be shown at X and Y on the energy audit diagram below?

A metal rod is subjected to a force of 1800 N during a tensile test.
Calculate the cross-sectional area of the metal rod if the measured stress is 0.075 N mm-2.
`]: [`24000 mm2`], [`A worker pushes a wheelbarrow 8 meters up a ramp with a force of 350N.
Calculate the work done in Newton metres.
`]: [`>2800 Nm`], [`A crane lifts a steel beam with a mass of 1500 kg to a height of 10 m.
What is the potential energy gained by the beam (correct to 2 s.f.)?
`]: [`150 kJ`], [`A new hydroelectric plant is being built. Which of the following statements is not true?
`]: [`The civil engineer is involved with designing how the hydroelectric power plant will connect to the national grid`], [`What does the following symbol represent on an electronic circuit?

Which type of motion is being described here?
Movement back and forth along a straight line, as seen in the motion of a piston inside a cylinder, which powers a train.
`]: [`Reciprocating`], [`A router has a power rating of 18W. If the router draws 1.5A of current from the supply, calculate the voltage required.
`]: [`12 V`], [`What is the result of actuating the roller on valve 6 in the following diagram?

When valve B is actuated in the circuit below, the cylinder will perform an __________.
Identify the missing term

The program below controls an LED which is connected to pin 7. When a switch, connected to pin 4, is pressed, the LED will flash.
What is the function of the highlighted piece of code below?

A cyclist exerts a constant force of 150 N to maintain a constant velocity of 8 ms-1 . Calculate the power exerted by the cyclist.
`]: [`1.2 kW`], [`Which component varies resistance with changes in light levels?
`]: [`LDR`], [`A simple gear train is shown below.
State the direction of rotation of the driven gear.

A hiker is standing on the top of a hill. If their mass is 70kg, and they have a potential energy of 35 kJ, what height is the hill (correct to 2 s.f.)?
`]: [`51 m`], [`A logic diagram is shown below:

Which of the following shows the correct row of the truth table for the logic diagram?
`]: [`
What is NOT a characteristic of an open loop control system?
`]: [`Adjusting based on feedback from the output`], [`Which of the following material properties are best described by the sentence below?
The ability of a material to temporarily deform under force and return to its shape
`]: [`Elasticity`], [`A single acting cylinder which is supplied by an air pressure of 0.40 N mm-2 is required to lift a load weighing 680N.
Calculate the diameter of cylinder required to fulfil this specification, correct to 2 significant figures.
`]: [`47 mm`], [`What factors determine the force created by the piston movement in a cylinder?
Calculate the total resistance of the three parallel resistors.

A beam supports an advertising banner between two buildings. A free body diagram indicating the main forces acting on the beam is shown below.
Calculate the reaction force RA by taking moments about RB.

A new skyscraper is being planned in an urban area. Which of the following describes the role of a mechanical engineer in this project.
`]: [`Developing heating, ventilation and air conditioning systems for the building`], [`Which professionals look at the properties of materials used in construction?
`]: [`Structural engineers`], [`What is the primary function of a transistor?
`]: [`To act as an electronic switch`], [`Which of the following is the symbol for a thermistor?
`]: [`
Which of the following does a relay NOT involve?
`]: [`Physically contacting circuits`], [`The driven gear of a worm and wheel mechanism has 28 teeth.
What is the velocity ratio of the worm and wheel mechanism?
`]: [`>28 : 1`], [`Determine the resistance of a type 2 thermistor when the temperature is 40 °C.

A construction worker lifts a bucket of cement with a mass of 28 kg to a height of 12 m.
What is the potential energy gained by the bucket in Joules?Give the answer to 2 significant figures.
`]: [`>3300 J`], [`A footbridge spans a narrow river.

A simplified free body diagram of the footbridge with a light is shown below.

The bridge is supported at points RA and RB. A downward force of 4 kN is applied 5 m from RA, and the reaction force at RB is 3 kN. The light gives a downward force of 2.5 kN.
Calculate the reaction force RA.
`]: [`3.5 kN`], [`Which part of the transistor controls whether current flows through it or not?
`]: [`Base`], [`What occurs when the push button on valve B is pressed after valve A has already been actuated in the following diagram?

A lift system in a warehouse uses a motor to hoist a pallet of goods vertically. If the pulley used in the system has a radius of 420 mm and the pallet has a mass of 240 kg, what torque must the motor generate to lift the pallet?
`]: [`990 Nm`], [`Which component is essential for implementing OR control in a pneumatic system?
`]: [`Shuttle valve`], [`A laboratory experiment uses 500 g of water. Calculate the heat energy required to raise the temperature of the water from 6°C to 16°C.
`]: [`20.9 kJ`], [`A double-acting cylinder is supplied with an air pressure of 0.25 N mm-2. It has a diameter of 65 mm and the piston rod has a diameter of 5.8 mm.
Calculate the instroke force of the cylinder, correct to 2 significant figures.
`]: [`820 N`], [`What is a key difference between single-acting and double-acting cylinders?
`]: [`Double-acting cylinders use air to both instroke and outstroke the cylinder`], [`What does the release of CO2 into the Earth's atmosphere contribute to?
`]: [`The greenhouse effect`], [`Which of the following best describes what happens in this flowchart?

What is the expected output of an OR gate if the inputs were as shown in the truth table below?

Calculate the energy efficiency of the microwave shown in the energy audit diagram below.

What is the function of the port labelled 3 in the diagram?

A boat engine provides a constant force of 250 N and outputs 1000 W of power. Calculate the velocity of the boat.
`]: [`4 ms-1`], [`Which of the following is NOT an example of mechanical engineering?
`]: [`Designing electrical circuits for consumer electronics`], [`What is the primary focus during the implementation stage of an engineering project?
`]: [`Executing the project plan and constructing the system`], [`In programming, what term is used to describe different paths that a program may take depending on conditions?
`]: [`Branch`], [`In a transistor's switching function, what happens when a sufficient current is applied to the base connection?
`]: [`The transistor allows current to flow freely between the collector and emitter.`], [`Which of the following is true?
`]: [`Current flows from positive to negative / 0V`], [`In a closed system, what happens to energy?
`]: [`It is transferred from one type to another`], [`How many times will this whole program repeat?

What does chemical engineering primarily focus on?
`]: [`Designing processes for converting raw materials into valuable products`], [`A coffee maker heats 0.75 kg of water. Calculate the heat energy required to raise the temperature of the water from 10°C to 90°C (correct to 2 s.f.).
`]: [`63 kJ`], [`In the diagram, which condition must be met for air to flow and outstroke the cylinder?

What happens when cylinder A outstrokes on the diagram below?

What is the expected output of an OR gate if the inputs were as shown in the truth table below?

What is the total circuit current of this combined circuit?

A metal rod has an original length of 3.0 m.
Calculate the change in length of the rod when a strain of 0.0040 is experienced.
`]: [`0.012 m`], [`A footbridge spans a narrow river.

A simplified free body diagram of the footbridge with a light (force F) is shown below.

The bridge is supported at points RA and RB. A downward force of 4 kN is applied 5 m from RA, and the reaction force at RB is 3 kN. Calculate the force F by taking moments about RA.
`]: [`1.3 kN`], [`Which of the following is NOT a component of Ohm's law?
`]: [`Temperature`], [`A logic diagram is shown below:

Which of the following shows the correct row of the truth table for the logic diagram?
`]: [`
Which of the following shows the correct logic diagram for:
Z = A + B + C
`]: [`
What is the function of a compressor in an air pressurisation system?
`]: [`To draw air from the atmosphere and increase the air pressure inside a chamber`], [`What happens to the force generated by a cylinder if the pressure is reduced using a Flow Control Restrictor?
`]: [`The force decreases`], [`A gear mechanism has a velocity ratio of 6:1 and an input speed of 108 revs min−1.
Calculate the output speed of the gear.
`]: [`18 revs min−1`], [`What does the following symbol represent on an electronic circuit?

A washing machine uses 2500 J of electrical energy. Out of this, 1850 J is used as useful output energy in the form of mechanical energy and heat. Calculate the efficiency of the washing machine.
`]: [`>74%`], [`Which of the following would NOT be part of the control stage of a project once completed?
`]: [`Conduct feasibility studies for future projects`], [`Calculate the power of a motor which has a torque of 12 Nm and turns at 1800 rev min-1 (correct to 2 significant figures).
`]: [`2.6 kW`], [`Who ensures compliance with structural plans and regulations?
`]: [`Structural engineers`], [`The heating element in an electric kettle is rated at 230 V and uses 120kJ of electrical energy in the 2 minutes it takes to boil a full kettle. Determine the smallest fuse that could be chosen to protect the kettle from a power surge.
`]: [`5 A`], [`What are some of the effects of climate change ?
`]: [`Rising temperatures and melting glaciers`], [`A logic diagram is shown below:

Which of the following shows the correct row of the truth table for the logic diagram?
`]: [`
What happens to the single-acting cylinder when the diaphragm valve is actuated?

What is the function of the magnetic field created by the solenoid in a relay?
`]: [`Pulling the magnetic switch into a closed position`], [`A new wastewater treatment plant is being designed. Which of the following describes the role of a structural engineer in this project?
`]: [`Designing the building framework for the plant`], [`Where does the current flow in a transistor when the threshold current is met at the base?
`]: [`From the collector to the emitter`], [`A cyclist exerts a force of 200 N on the pedals to maintain a steady speed of 10 m s-1 on a flat road. Calculate the power generated by the cyclist.

The diagram below is known as a ______ diagram. Identify the missing term.

When analysing the equilibrium of forces where horizontal forces are present, which of the following conditions must be satisfied?
`]: [`∑F← = ∑F→`], [`A laptop is rated at 19 V, 3.4 A, and has an output power of 54 W. Calculate the power efficiency.
`]: [`84%`], [`What does closed loop control use to regulate and maintain a consistent output?
`]: [`Feedback Sensor`], [`Which of the following is the symbol for an LED?
`]: [`
Which engineering discipline is involved with the distribution of electrical power?
`]: [`Electrical engineering`], [`The power supply for a Wi-Fi router is rated at 12 V, 1.0 A. Calculate the input electrical energy used in two and a half hours.
`]: [`108 kJ`], [`What happens if only one valve is actuated in the AND control system shown in the diagram?

What does the following symbol represent on an electronic circuit?

An electric motor receives 800 J of electrical energy and operates at 80% efficiency. Calculate the mechanical energy output.
`]: [`>640 J`], [`A boat is moving forward with a thrust force of 800 N provided by its motor. The water resistance against the boat is 320 N, and the wind is exerting an additional force of 140 N in the opposite direction.
Calculate the resultant force acting on the boat.

What is the primary concern of structural engineering?
`]: [`Safety and stability`], [`What is a characteristic of emerging technologies?
`]: [`They are at the cutting edge of science and technology`], [`Which of the following are examples of engineering solutions to tackle climate change?
A washing machine has an input electrical energy of 3000 J. There are 800 J of energy losses (heat / sound).
What should be shown at X and Y on the energy audit diagram below?

What is the purpose of a test plan?
`]: [`To devise and carry out tests to cover each specification point`], [`What type of control is achieved by using the shuttle valve as shown in the circuit below?

Which of the following is the symbol for an LDR?
`]: [`
Which of the following are advantages of a microcontroller over hardwired electronics?
A new skyscraper is being planned in an urban area. Which of the following describes the role of a structural engineer in this project.
`]: [`Designing the load-bearing structures and foundation`], [`What happens when current passes through the electromagnet in the solenoid valve?

What is the law of the conservation of energy?
`]: [`Energy is never created or destroyed`], [`A roof material must withstand heavy rain and be durable. Which combination of material properties should be used?
`]: [`Waterproof - tough`], [`What is the expected output of a NOT gate if the inputs were as shown in the truth table below?

Look at the program below for an LED which turns on when a switch is pressed.
Which pin is the switch connected to?

Determine the resistance of a type 6 thermistor when the temperature is -15 °C.

What does mechanical engineering primarily deal with?
`]: [`Moving parts`], [`What causes the piston in a cylinder to move?
`]: [`Compressed air pushing against the base of the piston`], [`Which of the following shows the correct logic diagram for:


What is the name of the diagram shown, which is used to represent the forces acting on a beam along with their distances from a reference point?

What is true of the current in a series circuit?
`]: [`It remains constant throughout the circuit`], [`What do electronic engineers primarily work with?
`]: [`Microprocessors`], [`What happens when the push button on valve A is pressed in the diagram below?

When does an open loop system stay on?
`]: [`Until the input is switched off / falls below the set level`], [`What is the main difference between electrical engineers and electronic engineers?
`]: [`Electronic engineers work on a much smaller scale`], [`Which of the following is the symbol for a resistor?
`]: [`
What is the main focus of electrical engineering?
`]: [`Large scale electronic systems`], [`What role does the base connection play in the switching function of a transistor?
`]: [`It controls the current flow between the collector and emitter.`], [`A double-acting cylinder is supplied with an air pressure of 0.36 N mm-2. It has a diameter of 54 mm and the piston rod has a diameter of 5.2 mm.
Calculate the outstroke force of the cylinder, correct to 2 s.f.
`]: [`824 N`], [`A double-acting cylinder required to produce a force of 220 N. It is supplied with an air pressure of 0.25 N mm-2 and has a rod diameter of 4.8 mm.
Calculate the diameter of cylinder required to produce this force on instroke correct to 2 significant figures.
`]: [`34 mm`], [`A new bridge is being constructed over a river. Which of the following describes the role of an electrical engineer in this project?
`]: [`Creating the grid connections for bridge lighting`], [`A kettle takes 210 seconds to heat 2.2 litres of water from 6°C to 98°C. It is plugged into a 240 V supply. Calculate the current drawn from the supply in this time if the kettle is 68% efficient (correct to 2 s.f.).
`]: [`12 A`], [`What is the effect of compression on a material?
`]: [`It squeezes the material, shortening its length`], [`A logic diagram is shown below:

Which of the following shows the correct row of the truth table for the logic diagram?
`]: [`
What is a relay made up of?
`]: [`A solenoid and a magnetic switch`], [`A logic diagram is shown below:

Which of the following shows the correct row of the truth table for the logic diagram?
`]: [`
What is one of the tasks electronic engineers perform?
`]: [`Designing circuits`], [`What is used to measure current?
`]: [`Ammeter`], [`A simple gear train system is shown below. Name the gear labelled X.

A beam with applied forces is shown below:

State the nature of the force acting on the beam
`]: [`>Tension`], [`What happens when a current is passed through the solenoid in a relay?
`]: [`It creates a magnetic field to pull the switch closed.`], [`A hair dryer was switched on for 300 seconds and used 9000 J of energy. Calculate the power used.
`]: [`>30 W`], [`Which type of motion is being described here?
Continual motion in a straight line, like the movement of the bike itself as it travels along the road.
`]: [`Linear`], [`Which of the following symbols represents a Diaphragm actuator?
`]: [`
Calculate the speed of a motor, in rev min-1, of a motor which has a torque of 24 Nm and a power of 3.6 kW (correct to 2 significant figures).
`]: [`1400 rev min-1`], [`What does the AND control system in pneumatics require before the cylinder can move?
`]: [`Both valves must be actuated`], [`What is the purpose of a free body diagram in analysing a beam or structure?
`]: [`To show the forces acting on the structure and the distances at which they act`], [`A suspension cable has an original length of 5.5 m.
Calculate the change in length of the cable when a strain of 0.0020 is experienced.
`]: [`0.011 m`], [`What is the expected output of a NOT gate if the inputs were as shown in the truth table below?

A kitchen sink needs to resist scratches and be easy to clean. Which combination of material properties should be used?
`]: [`Hard - non-corrosive`], [`What component does a unidirectional flow control restrictor use to ensure that the air flow is restricted in one direction only ?
`]: [`An in-built one-way valve`], [`A door handle is 150 mm long, it is opened by a moment of 4800 Nmm is applied at the end.
What force is required to produce this moment?

Which of the following shows the correct symbol used to represent a battery on a circuit?
`]: [`
A simple gear train is shown below.
Calculate the velocity ratio of the gear train.

What is a sub-system diagram?
`]: [`A further analysis of the system by adding in the input and output parts required to interact with the real world`], [`A new skyscraper is being planned in an urban area. Which of the following describes the role of a civil engineer in this project.
`]: [`Planning and overseeing the construction phases, ensuring compliance with regulations`], [`Where are the input and output parts added in a sub-system diagram?
`]: [`Inside the systems boundary`], [`Which of the following statements is true about circuits X and Y?

Which of the following is the flowchart symbol for a Decision?
`]: [`
A hockey puck with a mass of 200 g is hit with a force of 20 N.
What is the acceleration of the puck as it moves across the ice?
`]: [`100 ms-2`], [`State the thermistor number from the graph below that has a resistance of 500 kΩ when the temperature is 5 °C.

The valve shown in the diagram is known as a ____________ push button, spring return valve.
Identify the missing term.

A motor is connected to a pulley to lift a load to the top of a building. What torque would the motor need to lift a 100kg mass, if the pulley has a diameter of 100cm?
`]: [`490 Nm`], [`A single acting cylinder with a diameter of 42 mm is required to lift a load of mass 8kg.
Calculate the air pressure required to fulfil this specification, correct to 2 s.f.
`]: [`0.06 N mm-2`], [`A footbridge connects two buildings. There is a statue on the bridge.

A simplified free body diagram of the footbridge and the statue (force F) is shown below.

The bridge is supported at points RA and RB. A downward force of 3.5 kN is applied 4.0 m from RA, and the reaction force at RB is 2.5 kN. Calculate the force F by taking moments about RA. Answer correct to 2 s.f.
`]: [`1.8 kN`], [`What does the following symbol represent on an electronic circuit?

What is the final stage of a system known as?
`]: [`Output`], [`What is term that describes the rate at which energy is used?
`]: [`Power`], [`What is the name of the dashed line, used to show the difference between the system and the “real world”? System ________________

Which of the following symbols represents a Spring Return actuator?
`]: [`
The main difference between mass and weight is that mass is the amount of matter and doesn’t change, while weight is a force that depends on acceleration (F = ma). On Earth, the acceleration due to gravity, also known as g is ___m s-2.
What is the value of g?
`]: [`>9.8`], [`What role do pneumatic valves play in a pneumatic system?
`]: [`They provide control to the system, sensing inputs, and making decisions`], [`A double-acting cylinder is supplied with an air pressure of 0.35 N mm-2. It has a diameter of 55 mm and the piston rod has a diameter of 7.0 mm.
Calculate the area of the piston during outstroke correct to 2 significant figures.
`]: [`2400 mm2`], [`Below is a sub-system diagram of a heater which regulates its own temperature to ensure that it keeps a constant output temperature.
Identify an output / output transducer

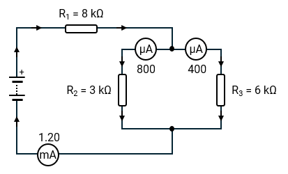
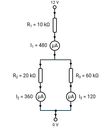
What would the current reading be on the ammeter labelled I1?

A car of mass 1500 kg is initially at rest. A force of 4500 N is applied by the engine to accelerate the car.
What is the acceleration of the car?
`]: [`3 ms-2`], [`Why might control measures and adjustments be applied to an engineering project?
`]: [`To ensure the project is operating in the most efficient way`], [`Which types of forces must structural engineering take into account?
`]: [`Gravity, wind, and earthquakes`], [`What happens to the potential energy of a ball as it is lifted to the top of a hill?
`]: [`It increases`], [`A garden tool needs to maintain its shape after being bent during use. Which combination of material properties should be used?
`]: [`Elastic - corrosion resistant`], [`How does a uni-directional flow control restrictor slow down the airflow in a pneumatic system?
`]: [`By restricting the air flow`], [`What is the main feature of a unidirectional flow control restrictor?
`]: [`It restricts the flow in one direction only, using an in-built one-way valve`], [`A footbridge connects two buildings. There is a statue on the bridge.

A simplified free body diagram of the footbridge and the statue is shown below.

The bridge is supported at points RA and RB. A downward force of 3.5 kN is applied 4 m from RA, and the reaction force at RB is 2.5 kN. The statue gives a downward force of 3.1 kN.
Calculate the reaction force RA.
`]: [`4.1 kN`], [`What is the primary goal of civil engineering?
`]: [`To improve society's quality of life`], [`Calculate the voltage across a 10 kΩ resistor when the current flowing through it is 0.8 mA.
`]: [`>8 V`], [`What type of valve is represented by the symbol shown in the diagram?

Which of the following is a social impact of engineering?
A hydraulic pump has a power output of 3.9 kW and generates a torque of 25 Nm. How fast can the pump turn (answer correct to 2 significant figures)?
`]: [`25 rev s-1`], [`What happens when the push button on valve A is pressed in the following diagram?

A washing machine is rated at 240 V, 5.3 A, and is 64% efficient. What is the output power of the washing machine (correct to 2 significant figures)?
`]: [`810 W`], [`A metal rod has a specific heat capacity of 400 J kg-1 K-1 and a mass of 2.5 kg. Calculate the heat energy (in kJ) used to increase the temperature of the metal rod by 30°C.
`]: [`>30 kJ`], [`A crane is lifting a steel beam using a winch system. If the winch drum has a radius of 20cm and the steel beam has a weight of 2200 N, what torque must the winch motor generate to lift the beam vertically?
`]: [`440 Nm`], [`The valve shown in the diagram is known as a ____________ pilot, pilot valve.
Identify the missing term.

When Valve A is actuated in the circuit below, the cylinder will perform an __________.
Identify the missing term

A new robotic arm is being developed for manufacturing. Describe the role of an electrical in this project.
`]: [`Planning the energy supply and power distribution for the arm`], [`A blender has an input electrical energy of 1500 J. Only 1000 J is transformed as useful output energy in the form of mechanical energy. Calculate the efficiency of the blender.
`]: [`67%`], [`What stays the same no matter where you go in the universe?
`]: [`Mass`], [`A new airport is being developed. Which of the following describes the role of a civil engineer in this project.
`]: [`Planning the layout and construction of runways`], [`When analysing the equilibrium of forces where vertical forces are present, which of the following conditions must be satisfied?
`]: [`∑F↑ = ∑F↓`], [`Calculate the resistance of this circuit:

Which of the following would not be included on a free body diagram?
`]: [`The material properties of the beam`], [`What are the three parts of a system?
`]: [`Input, Process, Output`], [`Which of the following symbols represents a Roller actuator?
`]: [`
What happens to the flow of current when resistance is high?
`]: [`It decreases`], [`If the input signal to a NOT gate is high, what will the output signal be?
`]: [`Low`], [`Which of the following can a multimeter measure?
What is the primary function of a reservoir in a pneumatic circuit?
`]: [`To allow a space for air to fill slowly`], [`What condition will make this lamp light?

What happens to the air as it flows through the restrictor before entering the reservoir?
`]: [`The air is slowed down`], [`A steel cable used in a crane has a cross-sectional area of 180 mm-2 and is experiencing a stress of 2.5 N mm-2.
Calculate the force applied to the cable.
`]: [`450 N`], [`What is the principle that states energy can never be created or destroyed?
`]: [`Law of Conservation of Energy`], [`Which of the following is the symbol for a transistor?
`]: [`
Which of the following is an environmental impact of engineering?
What is the result of valve 1 actuating valve 2 as shown in the diagram below?

Which engineering discipline involves the design of circuits and microprocessors?
`]: [`Electronic engineering`], [`What term is often used to refer to the work done in civil engineering?
`]: [`Infrastructure`], [`Determine the illumination level when the LDR has a resistance of 30 kΩ.

What is the expected output of an OR gate if the inputs were as shown in the truth table below?

A rubber physio band with an original length of 0.24 m was stretched to 0.30 m.
Calculate the strain in the rubber physio band.
`]: [`0.25`], [`What is the purpose of the working air in a pneumatic cylinder?
`]: [`To enable movement by instroking or outstroking the cylinder`], [`What does the following symbol represent on an electronic circuit?

A motor is connected to pin 6 (turning anticlockwise) and pin 7 (turning clockwise). The following flowchart is written to control the motor.

Which way will the motor be turning if the switch connected to pin 0 is pressed?
`]: [`It will be turning clockwise`], [`A conveyor belt system is powered by a motor rotating at 150 rev min-1. The motor is connected to a drum with a diameter of 0.4 meters, which drives the belt. The drum is connected to a larger drum with a diameter of 0.8 meters that the belt is wrapped around. The output power of the conveyor system is 2.5 kW. Calculate the output torque at the larger drum.
`]: [`320 Nm`], [`What condition must be met for an AND gate to produce an output signal?
`]: [`Both input signals must be active.`], [`What is the function of the shuttle valve in this circuit?

A cyclist and their bicycle have a combined mass of 84 kg and are moving at a speed of 10 ms-1 .
What is the kinetic energy of the cyclist and bicycle?
`]: [`4200 J`], [`Which of the following are examples of an output / output transducer ?
What does Ohm's law describe?
`]: [`The relationship between current, voltage, and resistance`], [`Which of the following is NOT an example of electronic engineering?
`]: [`Managing an electrical grid`], [`When Valve A is actuated in the circuit below, the cylinder will perform an __________.
Identify the missing term

Identify the logic gate shown below.

‘Our top priority was, is, and always will be . . . education, education, education.’
Which best describes why the speaker used repetition?
`]: [`To emphasise that the government’s priority is education`], [`True or False? An effective introduction should grab the reader's attention.
`]: [`True`], [`_________ can be used to show a pause, a tailing off of thoughts, tension or for humour.
`]: [`>Ellipsis`], [`Which of the following are different target audiences of a text?
‘As I crept into the room…the darkness surrounded me…it was all consuming.’
What is the name of the technique has the writer used above to add tension to the situation?
`]: [`Ellipsis`], [`Contrast in sentence structure is when two __________ ideas, sentences or parts of sentences are compared.
`]: [`>Opposing`], [`When the normal word order is reversed, to place emphasis on a particular word or phrase, this I called _____________.
`]: [`>Inversion`], [`In Reading for Understanding, which of the following can help make the purpose of a passage clear?
Which of the following would be the best definition of a metaphor?
`]: [`When a person, place, or thing is portrayed as being something else, even though it is not actually that something else`, `When a person, place, or thing is portrayed as being something else, even though it is not actually that something else`], [`‘We need to reduce our carbon footprint; we must take fewer short-haul flights.’
Which of the following would best describe why the semi colon has been used in this sentence?
`]: [`To join together two similar or related sentences`], [`'The amount of litter in our oceans is rising at a phenomenal rate. How much damage will it take for you to take action?'
Which of the following describes features of language help to make this statement effective?
Tone can be constructed in writing using which of the following:
True or false: The phrase 'Life is a rollercoaster' is a simile.
`]: [`False`], [`Which of the following would best describe the meaning of ‘inversion’?
`]: [`When the normal word order is reversed, to place emphasis on a particular word or phrase`], [`'Winter crept into the room. ' Which technique of imagery is used in this phrase?
`]: [`>Personification`], [`'Tonight when I go home I have to: clean the dishes, cut the grass, hoover the bedrooms and wash the floors, before I even think about making dinner.' What structural technique is the writer using here to emphasise how much they have to do around the house?
`]: [`>List`], [`Which of the following punctuation marks can be used to represent parenthesis?
'Yeah, going to the park in the bucketing rain, what a great idea!' is an example of someone using irony.
True or false?
`]: [`True`], [`Which are features you could look for in an effective introduction?
An ________ is when two words with opposite contrasting meanings are put directly beside each other.
`]: [`>Oxymoron`], [`Which of the following statements contains the use of hyperbole?
`]: [`‘Her smile was a mile wide’`], [`Which of the following would be the best explain the use of contrast in writing?
`]: [`Individual words or groups of words are placed side by side – in juxtaposition – to stress the difference between them`], [`Which of the following statements would be a good definition of ‘irony’ in writing?
`]: [`when words or phrases are used in a way where the writer actually wants them to mean something different, or even the opposite of what is being said`], [`Which accurately describe the purpose of a conclusion to a passage?
Which of the following should you include when you are asked to summarise a passage or a section of a passage?
When answering in your own words, which are important things to do?
Sarcastic, Conversational or Humorous are ways of describing different types of _________ in writing.
`]: [`>Tone`], [`When thinking about Word Choice questions, the literal meaning of a particular word or phrase is its ______________
`]: [`>Denotation`], [`‘The ancient car moaned and groaned as it crawled towards the city.’
Which would best describe the technique used here to show the noise the car engine makes?
`]: [`Personification`], [`‘We need to be more successful at tackling climate change. We need to: use our cars less, fly less, use cleaner fuel and use less electricity and gas.’
Which best describes the writer’s reason for using a list?
`]: [`To emphasise the number of things needed to have a positive impact on climate change`], [`'Never had she read such a sad book as War and Peace' What structural technique is this an example of?
`]: [`>Inversion`], [`‘He has a mind as cold as a slice of ice.’
What does the use of the simile above suggest about the writer’s attitude to the man?
`]: [`She does not like the man and thinks he is emotionally distant`], [`'Bitter sweet' is a frequently used example of what technique in English?
`]: [`>Oxymoron`], [`Onomatopoeia in a text is when words mimic or _________ the sound they make.
`]: [`>copy`], [`‘There are millions of options, like grains of sand on a beach.’
Which of the following is the best analysis of this simile?
`]: [`Just as there is a huge amount of grains of sand on a beach, so the writer is saying there are a large number of options to choose from`], [`‘Why is it that as humans it seems we are unable to deal with failure?’
Which would best describe why the writer has used the question above?
'The bacon sizzled as it cooked in the pan. '
This sentence contains onomatopoeia. True or false?
`]: [`True`], [`‘The crinkling, crackling crunch of our footsteps…’
Which best describes the techniques used in the sentence above?
`]: [`Alliteration and Onomatopoeia`], [`Which of the following could be examples of dialect or informal language?
Which of the following would best describe why writers use a colon?
Which of the following would best describe why rhetorical questions are used in writing?
‘The long, meandering path stretched in front of us forever, seemingly endless as it disappeared into the distance, fading finally into nothing.’
Which best describes why has the writer used a longer sentence, divided by commas?
`]: [`To copy or mimic the description of what they can see`], [`Which of the following statements is the best definition of an oxymoron?
`]: [`When two words with directly contrasting meanings are put together`], [`Which punctuation mark formed of two dots often used to introduce a list or a quote?
`]: [`>Colon`], [`When things that are not living are given the characteristics of humans or animals this is called ____________
`]: [`>Personification`], [`‘Life is a journey, full of twists and turns and ups and downs’
Which of the following would best analyse the effect of this metaphor.
`]: [`Just as journeys contain different routes and it’s difficult to say where you will end up sometimes, so the writer is saying that life can have positive aspects and negative aspects and life can be difficult to predict`], [`The conclusion of a passage will usually:
`]: [`Link back to ideas previously mentioned in the passage`], [`Use of slang in English is an example of dialect or ___________ language.
`]: [`>Informal`], [`‘There are billions of reasons why our government has failed us.’
Which of the following would best describe why the writer has used hyperbole here?
`]: [`They wish to exaggerate how many reasons the government has failed its people`], [`Which punctuation mark can join two related sentences to highlight a balance or contrast?
`]: [`>Semicolon`], [`‘As I was running late, I ran quickly to get there for the start of the show.’
Which would best describe why the writer has changed the word order of this sentence?
`]: [`To emphasise the fact they were running late`], [`Which of the following would best describe why writers use ellipsis?
Which accurately describe the purpose of an introduction to a passage?
Which of the following sentences contains contrast?
`]: [`Unlike his sister, who did not enjoy learning, Patrick loved school`], [`Alliteration is when a number of words begin with the same _________ in a text.
`]: [`>Sound`], [`'The dress - in my mothers opinion - didn't suit me' What is it called when writers put extra information in brackets or dashes to create an effect?
`]: [`>Parenthesis`], [`'It was the best of times; it was the worst of times'. The semi-colon indicates a ______________between two ideas in this sentence.
`]: [`>contrast`], [`Lists are generally used by writers to emphasise the _____________ of ideas, options or actions.
`]: [`>Number`], [`The technique of hyperbole is when writers ____________what they are saying for effect
`]: [`>Exaggerate`], [`A ___________sentence is usually used to build tension, to sum up a key idea or to round off a writer's argument very briefly and quickly.
`]: [`>short`], [`Which of the following would best describe what is meant by ‘informal language’?
`]: [`Any use of language that is not standard, formal English`], [`Which of the following would best describe why writers use a semi colon?
Which of the following statements contains an oxymoron?
`]: [`It was an open secret`], [`Dialect or informal language is non 'standard' or ___________ use of English.
`]: [`>Formal`], [`Which punctuation mark formed of two dots often used to introduce further explanation or elaborate on a point?
`]: [`>Colon`], [`A ___________ question is used by writers to encourage readers to agree with their points and does not need an answer.
`]: [`>Rhetorical`], [`A linking question will ask you about what has come before a linking sentence, but also about what comes ___________ the sentence.`]: [`>after`], [`Writers are likely to have several different main _______about a topic in a passage.`]: [`>ideas`], [`True or False? An effective introduction should contain lots and lots of information in great detail.
`]: [`False`], [`'My love is like a red red rose.' Which technique of imagery is evident in this phrase?
`]: [`>Simile`], [`Which of the following sentences could be described as containing the use of onomatopoeia?
`]: [`The leaves gently rustled in the wind`], [`Which of the following best describes why writers use repetition in a passage?
`]: [`To emphasise a particular point they are making`], [`Using bullet points can be a good way to summarise longer sections of text. True or false?
`]: [`True`], [`Repetition is where a word or groups of words are ____________ in a sentence or over a few sentences.
`]: [`>repeated`], [`‘This morning – knowing I was running late – I sprinted for the train.’
Which of the following would explain why the writer has used parenthesis in this sentence?
True or False? A conclusion in a text is generally used to introduce new ideas on the topic.
`]: [`False`], [`True or False? Describing a language technique as 'effective' means you are suggesting it's been used poorly by a writer.
`]: [`False`], [`True or False? You can often tell the tone a writer is trying to create through their word choice.
`]: [`True`], [`'Paul attends football games every single Saturday afternoon.'
Which of the following would be the best example of saying this information in your own words?
`]: [`Paul goes to the football every Saturday`], [`A passage has the following title:
Give them a voice: why teenagers should be allowed to take part in democracy
This title would most likely be designed to:
`]: [`Persuade the reader that allowing young people to vote would be a good idea`], [`A ___________ sentence is often used to build to a climax, or share lots of information or copy what is being described.
`]: [`>long`], [`Which of the following could be used as supporting details in a passage about fast food?
`]: [`Statistics about health problems associated with eating fast food`], [`Which of the following describe why writers use lists in their writing?
'Magnificent Michael Masters the Opposition with Ease.' What sound technique is being used here to create a catchy title?
`]: [`>Alliteration`], [`Parenthesis is extra _______________ added to a sentence.
`]: [`>Information`], [`'My brother is a greedy pig.' Which technique of imagery is evident in this phrase?
`]: [`>Metaphor`], [`'Celebrities treat themselves as logos'.
Which of the following best describes why this is an effective image?
`]: [`It suggests celebrities create an image of themselves that is easily recognisable`], [`'One hundred years later, we are still not free. One hundred years later we are still waiting for victory. One hundred years is too long to wait.' What structural technique is being used to emphasises the length of time they are waiting?
`]: [`>Repetition`], [`'The assignment was a breeze.' This metaphor implies that the person found the assignment _________
`]: [`>Easy`], [`‘As we creep closer and closer towards disaster, governments are doing nothing about the situation. Nothing. Nada. Zilch. Nowt.’
Which would best describe why a series of minor or very short sentences been used in this statement?
`]: [`To emphasise how little action the government is taking`], [`If you’re summarising a section of text, how many bullet points should you ideally give in your answer, if the question is worth 4 marks?
`]: [`4 bullet points`], [`A conclusion is usually used to __________the article off and sum up the writer's ideas.`]: [`>Finish`], [`A passage with the title: ‘Why Teenagers Love Video Games’ is most likely to be aimed at:
'Do you dream of Sun, Sea and Sand?' What is the writer of this rhetorical question encouraging you to think about?
`]: [`>Holidays`], [`'However, it’s not just the future of dog walking we have to think about, but also how our other pets will be looked after, too.'
In the sentence above, what do you think the paragraphs before it would have been about?
`]: [`How looking after dogs is likely to change in the future`], [`In Word Choice questions, what is suggested by a particular word or phrase are its ______________.
`]: [`>Connotations`], [`Which of the following statements contains an example of irony?
`]: [`“I looked outside and I thought ‘What a pleasant day’ as the rain continued to cascade down from the sky.”`], [`A common purpose of non-fiction text is to give information on a topic. True or false?
`]: [`True`], [`‘In the third bedroom, you will see that it is quite compact and neat.’
Which of the following would best describe why the writer has used the words ‘compact and neat’ instead of ‘small and tiny’?
`]: [`He wishes to use language with more positive connotations`], [`When asked to answer in your own words as far as possible, it's okay to quote large sections of text. True or false?
`]: [`False`], [`‘Continually guzzling petrol and diesel is really going to help save the planet, right enough!’
Which of the following would best describe the tone of this sentence?
`]: [`Sarcastic`], [`Ellipsis is indicated in a sentence by the use of _________ dots.
`]: [`>Three`], [`However' and 'Furthermore', when used at the beginning of a sentence are _________ words which connect two points.`]: [`>Linking`], [`‘The paparazzi are always lurking and stalking their celebrity prey.’
Which of the following would best describe what the writer’s word choice suggest about their attitude to the paparazzi?
When asked to respond 'in your own words as far as possible' you must translate every single word. True or false?
`]: [`False`], [`Which punctuation mark can be used to separate more complex items in a list?
`]: [`>Semicolon`], [`When writers are being ironic, they are generally saying the ____________ of what they really mean.
`]: [`>Opposite`], [`The purpose of a text is about _________ it has been written or created.`]: [`>why`], [`When a writer uses the technique of _______, they are generally mean the opposite of what they are saying.
`]: [`>Irony`], [`Which of the following could describe the main ideas in a passage about fast food?
'However, it’s not just the future of dog walking we have to think about, but also how our other pets will be looked after, too.
In the sentence above, what do you think the paragraphs that follow it will be about?
`]: [`How looking after other domestic animals is likely to change`], [`'I've told you a million times to be quiet.' What literary technique of exaggeration is being used by the teacher here emphasise her point?
`]: [`>Hyperbole`], [`‘There is key choice for you right now: give up on junk food addiction or risk serious health issues in the future.’
Which of the following would best describe why the colon has been used in the sentence above?
`]: [`To create a dramatic pause before introducing further elaboration`], [`Which of the following statements contains a definition of onomatopoeia?
`]: [`Where a word copies or mimics the sound it is related to`], // PHYSICS [`A car has an initial speed of 15 ms-1 before accelerating to a new speed of 32ms-1. If this change in sped takes 5.0 seconds, then the acceleration of the car is:
`]: [`3.4 ms-2`], [`A thermometer is used to measure:
`]: [`temperature`], [`From the equation:

we can see that pressure is measured in Nm-2. Another appropriate unit for pressure is:
`]: [`pascals`], [`A student produces the following speed time graph from some data given to them by their teacher.

Which section of the graph (A-D) shows the object travelling at a constant speed?
`]: [`section C (20 s – 35 s)`], [`A longitudinal wave is one where the medium:
`]: [`oscillates parallel to the wave direction`], [`Which of the following sets of measurements includes 2 scalars and one vector?
`]: [`displacement, distance, speed`], [`A student produces the following speed time graph from some data given to them by their teacher.

Which section of the graph (A-D) shows the object decelerating?
`]: [`section D (35 s – 45 s)`], [`The event which we often refer to as the start of the Universe is called:
`]: [`the Big Bang`], [`A radiation worker estimates that they are exposed to 2 µSvh-1 while working with radioactive materials. If they are working with their samples for 6 hours a day, five days of the week, calculate the equivalent dose they are receiving over the course of a working week.
`]: [`60 µSv`], [`A fixed mass of gas is kept at a constant temperature of 373 K. The initial volume of the gas is 246 cm3 before being compressed down to 123 cm3. If the initial pressure of the gas is 1.01 × 105 Pa, the final pressure of the gas, after compressing, will be:
`]: [`2.02 × 105 Pa`], [`A particular material has a half life of 32 days. If the starting activity of the material is 4.2 kBq, calculate the activity of the material after 96 days.
`]: [`525 Bq`], [`A 2.0 kg rock falls from a 34 m cliff into the sea. The final speed of the rock as it hits the water is 24 ms-1. The energy lost due to air resistance is
`]: [`90.4 J`], [`A student carries out a series of experiments and observes the following images:

Which of these images can be described as a continuous spectrum?
`]: [`1 only`], [`The Big Bang Theory and our understanding of the Universe suggests that the Universe is:
`]: [`expanding`], [`A group of students make the following statements about electrons:
Which of these statements are correct?
`]: [`1 and 3`], [`A fixed mass of gas is kept at constant volume of 30.0 cm3. The gas is heated from 273 K to 373 K. If the initial pressure of the gas is 1.01 × 105 Pa, then the new pressure of the gas will be:
`]: [`1.38 × 105 Pa`], [`Calculate the current passing through a resistor rated at 0.40 W when the is a voltage of 2.5 V across it.
`]: [`160 mA`], [`Approximately when did the process of expansion of the Universe begin?
`]: [`14 billion years ago`], [`The star Procyon is 11.4 light years from Earth. This distance in metres is:
`]: [`1.08 × 1017 m`], [`Physics often makes use of the Law of Conservation of Energy. Some students make the following statements about energy
Which of these statements are correct?
`]: [`1, 2 and 3`], [`Which of the following statements is correct about vector quantities?
`]: [`has both magnitude and direction`], [`A teacher carries out an Ohm’s Law experiment with her class.
The experiment results in the production of which of the following equations?
`]: [`
The following diagram represents the Electromagnetic Spectrum

Which of the missing parts of the spectrum represents Ultraviolet?
`]: [`3`], [`A student is supplied with the following table of information:

Which liquid will see the smallest mass converted into gas for the same amount of energy?
`]: [`Water`], [`A ray of red light with a wavelength 630 nm (6.3 × 10-7 m) passes into a block of glass. The frequency of the wave stays the same and the speed of the light decreases to 2 × 108 ms-1 inside the glass. Calculate the new wavelength of the light inside the glass.
(Tip: calculate the frequency in air and use it to calculate the new wavelength of the light)
`]: [`420 nm`], [`A substance changes from a solid to a liquid and then to a gas. This series of changes is due to:
`]: [`an increase in the energy of the particles in the substance`], [`A student carries out a series of experiments and observes the following images:

Which of these images can be described as an absorption spectrum?
`]: [`3 only`], [`The units for acceleration are:
`]: [`ms-2`], [`A student suggests the following list as challenges to any space mission:
Which of these suggestions becomes less challenging as the space mission moves outwards in the solar system?
`]: [`4 only`], [`A group of students carry out an experiment to study parachutes and to see how long it takes for objects to reach the ground. Since the experiment can’t ignore air resistance, it must be taken into account. They are able to change to objects in a number of ways:
Which of these changes will make the object take the longest to reach the ground?
`]: [`1 and 4`], [`Which of these symbols correctly shows a npn transistor?
`]: [`
A group of university students are trying to determine the half-life of a radioactive substance. They have the following equipment available to them:
Which of these pieces of equipment are necessary for determining the half-life of the substance?
`]: [`2, 3 and 4`], [`A MOSFET is an example of a:
`]: [`transistor`], [`A teacher sets up the 4 circuits. All resistors have exactly the same resistance.
In which circuit is the resistance the smallest?
`]: [`
A space craft in deep space is initially at rest. A thruster on board the spacecraft fires for 3 seconds, then ceases firing. Which of the following best describes the motion of the spacecraft after the thruster stops firing?
`]: [`the spacecraft continues to travel at constant speed`], [`A monkey leaps from one tree to another. The monkey has a horizontal speed of 4 ms-1 and a vertical speed of 3 ms-1 when it manages to grab the branch of the second tree. The resultant velocity of the monkey when it reaches the second tree is:
`]: [`5 ms-1 at 37° down from the horizontal`], [`A helicopter flies 8 km south followed by 6 km East. The final displacement of the helicopter is:
`]: [`10 km (143)`], [`Which of the following correctly describes acceleration?
`]: [`the change in speed every second`], [`A class carries out an Ohm’s Law experiment with a fixed value resistor.
Which of these graphs correctly show the Ohm’s Law relationship?
`]: [`
The diagram below represents light passing from one medium to another.

The diagram most likely show light passing from
`]: [`water into air`], [`Which of the following is the correct detector of infrared light?
`]: [`photodiode and meter`], [`A student lists the following as 4 types of waves
Which of these examples are transverse waves?
`]: [`2 and 4`], [`A group of students produce the following diagrams to represent their understanding of diffraction. The wavefronts are shown moving from left to right.

Which of the students has best understood how diffraction occurs?
`]: [`Student 2`], [`Calculate the kinetic energy of a 1 200 kg car travelling at 23 ms-1.
`]: [`317 400 J`], [`A car exerts an average braking force of 2 000 N over a distance of 20 m. The total work done in slowing the car to a halt is:
`]: [`40 000 J`], [`A student carries out research on different types of satellite and comes up with the following list:
Which of these makes observations away from the Earth?
`]: [`1 and 3`], [`Radio waves of larger wavelengths are able to pass around mountains and be received at the other side despite the receiver and transmitter not being within sight of one another. This phenomenon is known as:
`]: [`diffraction`], [`A student makes the following statements about satellites:
Which of these statements are correct?
`]: [`3 only`], [`A group of students make the following statements about electromagnetic waves:
Which of these statements are correct?
`]: [`1 and 3`], [`Big Bang Theory is used to describe:
`]: [`the beginning of the Universe`], [`A student produces the following speed time graph from some data given to them by their teacher.

The acceleration of the object in section C is:
`]: [`1.33 ms-2`], [`Calculate the speed of a 0.41 kg ball rolling along a desk if it has a kinetic energy of 30 J.
`]: [`12.1 ms-1`], [`A science technician is trying to identify the type(s) of radiation emitted by a source. They test the source with a Geiger-Müller tube under various conditions by placing materials between the source and the Geiger-Müller tube and record the reading on the counter. The results are shown below:

The technician concludes that the substance is a source of:
`]: [`beta and gamma radiation`], [`A radiation worker, handling radioactive materials, is exposed to an equivalent dose of 45 µSv. If they receive the radiation at an equivalent dose rate of 5.0 µSvh-1, how long have they been working with the materials in this case?
`]: [`9.0 hours`], [`Which of the following is a good description for the Universe?
`]: [`contains everything that is known to exist, everywhere`], [`An astronaut observes that a capsule docked with a space station appears to be at rest from their viewpoint. As the capsule (A) undocks from the space station (B), the astronaut sees the capsule moves off to the left.

From the astronaut’s point of view, in which direction does the space station appear to move?
`]: [`to the right`], [`Which of the following graphs correctly shows the relationship between the temperature of a gas in kelvin and the volume of a fixed mass of gas?
`]: [`
Which of the these gives the best description of the term “light year”?
`]: [`the distance light travels in one year`], [`The following are examples of different medical treatments:
Which of these are examples of applications of nuclear radiation?
`]: [`2 and 3`], [`A particular part of the visible spectrum has a wavelength of 600 nm (6.0 x 10-7 m). The frequency of this light is:
`]: [`5.0 × 1014 Hz`], [`An astronomer obtains the emission spectrum Z and wants to determine the elements present in the sample.

How many of the 4 given examples elements are present in sample Z?
`]: [`2`], [`The units for power are:
`]: [`watts`], [`Newton’s Canon is a thought experiment where a canon ball is fired from the top of a mountain. The canon ball could crash into the ground or could achieve a stable, circular orbit.

What needs to be done in order to make sure that the canon ball does enter a stable orbit and doesn’t come crashing back to the ground?
`]: [`the canon ball must move fast enough`], [`Which of the following has been directly improved by its development in the space program?
`]: [`solar power`], [`Which of the following is the correct description of a nuclear fission process?
`]: [`nuclei of high atomic mass are split into more nuclei of smaller atomic mass`], [`There are several stages of a space launch, each of which comes with its own hazards. Some examples are given here:
Which of the following correctly list the hazards in chronological order of when they might occur?
`]: [`4 – 2 – 1 – 3`], [`A radiographer in a hospital works with an X-ray machine that is used to detect broken bones within the body.
The X-ray machine uses which of the following to detect the X-rays on the other side of the patient?
`]: [`a photographic film`], [`The following graph shows the speed of a falling ball as it falls.

The speed and distance fallen by the ball after 3 seconds is:
`]: [`
A group of students connect an increasing number of resistors in parallel while still connected to the same power supply set to 12 V.
The students suggest that this could have the following effects on the circuit:
Which of these statements are correct?
`]: [`2 and 3`], [`An electrical appliance has a rating of 2.5 W and uses 3750 J of energy. The appliance has been left running for:
`]: [`25 minutes`], [`Kinetic energy can most easily be converted into:
`]: [`heat energy`], [`A student carries out a set of electricity experiments with an oscilloscope. The experiment results in the following four oscilloscope traces being produced:

In which of these traces is the current constantly going in the positive direction?
`]: [`1 only`], [`When the voltage across a light bulb increases, its resistance:
`]: [`increases`], [`Two electrons held near one another will experience a force because of their:
`]: [`charge`], [`A student suggests the following list as challenges to any space mission:
Which of these suggestions becomes more challenging as the space mission moves outwards in the solar system?
`]: [`3 only`], [`The International Space Station is found at an altitude of 400 km. It has an orbital period of 1.5 hours.
A geostationary satellite has an altitude of 36 000 km and a period of 24 hours.
The Moon has a period of 28 days. The altitude of the Moon is:
`]: [`384 000 km`], [`Which of the following would not contribute to reducing the risk of exposure to a radioactive source?
`]: [`working with the source in the afternoon`], [`In Nuclear Physics the definition for activity is:
`]: [`the number of radioactive disintegrations per second`], [`A car drives along a road at constant speed. Which of the following correctly describes the forces acting on the car?
`]: [`the frictional force is equal to the driving force and in the opposite direction`], [`The word used to describe the change of both a liquid into a solid and a solid into a liquid is known as:
`]: [`fusion`], [`Which of the following contains only scalar quantities?
`]: [`speed, distance, time`], [`A student is given the gravitational field strengths of 6 planets.

A 6.0 kg mass is suspended above the ground at a height of 15 m. If the object has a gravitational potential energy of 810 J, the mass must be suspended above the surface of:
`]: [`Saturn`], [`Which of the following is the equivalent dose for a member of the public in the UK in one year due to background radiation?
`]: [`2.2 mSv`], [`Calculate the power dissipated by a 300 Ω resistor when there is a voltage of 3 V across it.
`]: [`0.03 W`], [`A student produces the following speed time graph from some data given to them by their teacher.

The distance travelled in the first 10 seconds is:
`]: [`50 m`], [`An aircraft propels itself forwards by using its engines. The engine exerts a force on the air particles flowing through it. The correct statement to complete the force pair in this situation is:
`]: [`the air particles exert a force on the engine`], [`The following graph shows the activity of a radioactive substance as measured over a series of weeks.

The technician doing the experiment misplaced the results from the very start of the experiment. The activity of the source at the very start of the time period was:
`]: [`800 kBq`], [`A student sets up a circuit. When the student increases the voltage of the power supply:
`]: [`the circuit current increases`], [`A student is investigating the properties of materials and how they affect their heating.
Which of these is not likely to have an impact on the heating properties of the material?
`]: [`cost`], [`A driver traveling a 35 ms-1 uses their brakes to reduce their speed. The time taken to reach their new speed is 7 seconds. The deceleration of the vehicle is 2 ms-2.
The new speed of the car is:
`]: [`21 ms-1`], [`A wooden crate has a mass of 25 kg. The minimum force required to lift the crate is:
`]: [`245 N`], [`Voltage is measured in volts. Voltage is the:
`]: [`energy given to each coulomb of charge`], [`Which row in the table describes a wave that will be more likely to diffract well?
`]: [`
A student produces the following speed time graph from some data given to them by their teacher.

Which section of the graph (A-D) shows the object travelling the greatest distance?
`]: [`section C (20 s – 35 s)`], [`A spherical object which emits its own light and heat due to nuclear fusion taking place in its core is known as a:
`]: [`star`], [`A student sets up the following circuit where a 2.5 V, 8 W bulb is connected in series with a 12 V power supply and a resistor:

If all components are working at their rated value, the current passing through the lamp is:
`]: [`3.2 A`], [`Current is measured in amps. 1 amp is equivalent to the:
`]: [`coulombs of charges passing a point every second`], [`The word used to describe the change of both a liquid into a gas and a gas into a liquid is known as:
`]: [`vaporisation`], [`A student is looking to determine the instantaneous speed of a toy car as it rolls along a desk. Which of the following correctly describes the measurements needed to calculate the instantaneous speed?
`]: [`use a mask and a light gate with a timer`], [`An apple falls with an acceleration of 9.8 ms-2 for 5 seconds. Use this information to draw a speed-time graph and use the graph to determine the final speed of the apple.
`]: [`49 ms-1`], [`Below are different groups of parts of the electromagnetic spectrum.
Which of these parts of the electromagnetic spectrum are used by astronomers to observe the Universe?
`]: [`1, 2, 3 and 4`], [`A tissue sample is exposed to 40 mGy of fast neutrons. The equivalent dose received by the sample is:
`]: [`400 mSv`], [`A student is given the gravitational field strengths of 6 planets.

If the student has a mass of 60 kg, then their weight on the surface of Mars would be:
`]: [`222 N`], [`A student is given the following equations to calculate power:

Which equations can be used to calculate power?
`]: [`1, 3 and 4`], [`Which of the following can be sources of background radiation?
Which of these statements are correct?
`]: [`1 and 4`], [`Some telescopes, such as the Hubble and James Webb Telescopes, are placed in space. A group of students make the following statements about why some telescopes may be placed in space instead of on the ground:
Which of these statements are correct?
`]: [`2 and 3`], [`The following statements are made about Newton’s Third Law where two object exert forces on one another.
Which of these statements are correct?
`]: [`1 and 4`], [`A piece of iron, with a specific heat capacity of 480 Jkg-1°C-1, is supplied with 6528 J of energy causing it to be heated from 20 °C to 100 °C.
Calculate the mass of the iron block.
`]: [`0.17 kg`], [`An astronomer obtains the emission spectrum Y and wants to determine the elements present in the sample.

Which element is not present in sample Y?
`]: [`Hg`], [`Resistance is measured using:
`]: [`an ohmmeter`], [`The radiation with the greatest ionising effect is:
`]: [`alpha particles`], [`Calculate the mass of a cyclist and their bicycle if they are travelling at 5.0 ms-1 and have a kinetic energy of 875 J.
`]: [`70 kg`], [`The following statements are made about different types of radiation:
To which types of radiation these statements can be applied?
`]: [`alpha and beta`], [`An electron carries a charge with a magnitude of 1.6 x 10-19 C. How many electrons will pass in one minute if the current is 1 A?
`]: [`3.75 × 1020 electrons`], [`The following diagram represents the refraction of light as it passes from air into glass

Which row in the table correctly identifies the angle of incidence and the angle of refraction?
`]: [`
A 0.25 kg ball is dropped on Earth from a height of 23 m. The final kinetic energy of the ball is:
`]: [`56.35 J`], [`A student is working to construct an infrared detector as part of a science project. The detector uses:
`]: [`a photodiode and meter`], [`A student sets up the following circuit to investigate Ohm’s Law.

What does the student change in order to obtain results for the experiment?
`]: [`the resistance of the variable resistor`], [`Radioactive materials must be kept and stored appropriately. Some students come up with the following safety measures to help minimise the risk due to exposure to radiation
Which of these statements are correct?
`]: [`2 and 3`], [`A group of students make some statements about the following diagram:

Which of these statements are correct?
`]: [`1, 2 and 3`], [`A student carries out a series of experiments and observes the following images:

Which of these images can be described as an emission spectrum?
`]: [`2 only`], [`A student calculates the background radiation in their classroom to be 0.8 Bq based on the number of disintegrations measured over the course of 30 minutes. How many disintegrations did the student measure in this time?
`]: [`1440`], [`A student is looking to determine the average speed of a toy car as it rolls along a desk. Which of the following correctly describes the measurements needed to calculate the average speed?
`]: [`measure the length of the track and the total time taken`], [`In which of the following situations will an object not follow projectile motion?
`]: [`in deep space`], [`An appliance rated at 3 A runs for 20 minutes. The total charge passing through the appliance in this time is:
`]: [`3600 C`], [`In order for a satellite to maintain its orbit the force acting on it must be:
`]: [`at right angles to its motion and towards the Earth`], [`The following pie chart demonstrates the contributions of different sources of background radiation.

Which source provides the largest contribution to background radiation?
`]: [`Radon Gas`], [`Which of the following is the correct description of a nuclear fusion process?
`]: [`nuclei of low atomic mass are combined into nuclei of greater atomic mass`], [`Which of the following is an example of an alternating current supply?
`]: [`the mains electricity`], [`The International Space Station is an example of satellite which maintains a stable, circular orbit around the Earth.
Which of the following keeps the International Space Station from drifting away from Earth and into space?
`]: [`its weight`], [`A hiker walks a distance of 15 km over the course of 3 hours. Their displacement from their starting point is only 12 km. The average speed of the hiker is:
`]: [`5 kmh-1`], [`A student carries out a series of experiments and observes the following images:

Which of these images can be described as a spectrum?
`]: [`1, 2 and 3`], [`A student makes a list of observations about alternating and direct current but unfortunately mixes up which statements belong to which:
Which of these statements are correct for alternating current?
`]: [`3 and 4`], [`A 350 g block is pushed with a force of 14 N. The acceleration of the block is:
`]: [`40 ms-2`], [`A class carry out an Ohm’s Law experiment to determine the resistance of a fixed value resistor.

Using the graph, the class finds that the resistance of the fixed value resistor is:
`]: [`143 Ω`], [`Two blocks of different material, and with the same initial temperature of 20 °C, are placed in an oven for 20 minutes, each receiving the same amount of heat energy. Block B has double the mass and half the specific heat capacity of Block A. The change in temperature of block B will be:
`]: [`the same as the change in temperature of block A`], [`Calculate the height at which a 4.5 kg mass must be held above the Earth, in order to have a gravitational potential energy of 154.35 J
`]: [`3.5 m`], [`A student sets up a circuit. When the student increases the circuit resistance:
`]: [`the circuit current decreases`], [`All types of waves transfer:
`]: [`energy`], [`A student wishes to determine the relationship between the temperature and the volume of a gas. The student has the ability to control the following properties of the gas.
Which of these properties must be kept constant in order to determine the desired relationship?
`]: [`1 and 2`], [`A teacher sets up the following circuit:

In which resistor will the current be the greatest?
`]: [`Resistor 4`], [`Two electrons when held near one another will:
`]: [`repel one another`], [`Current is measured using a:
`]: [`ammeter`], [`Newton’s Third Law states that:
"If object A exerts a force on object B, then object B exerts an equal and opposite force on object A"
While working in a weightless environment on the exterior of a space station, an astronaut triggers one of the thrusters on their EVA (Extra Vehicular Activity) equipment. This results in compressed gas being released by the equipment.
Why is gas released in this way?
`]: [`to provide thrust in the opposite direction to the released gas`], [`A cross section of a series of waves is shown:

Which line in the table gives the correct amplitude and wavelength of the wave?
`]: [`
A hiker decides to go for a walk round a lake. In order to do so they must travel 3 km North, followed by 4 km West. The displacement of the hiker from their starting point to their ending point is:
`]: [`5 km (307)`], [`A student produces the following speed time graph from some data given to them by their teacher.

The distance travelled in section B (10 s – 20 s) is:
`]: [`450 m`], [`Which of the following graphs correctly describes the relationship between the temperature of a gas in °C and the pressure of a fixed mass of gas?
`]: [`
A student makes the following suggestions about risks associated with space travel:
Which of these hazards provide direct risk to any manned space mission?
`]: [`1, 2, 3 and 4`], [`What is the name of the unknown phenomenon driving the accelerated expansion of the Universe?
`]: [`Dark Energy`], [`A block exerts a force of 270 N on a surface. The area of contact is 0.12 m2. The pressure exerted on the surface by the block is:
`]: [`2250 Nm-2`], [`Geostationary satellites are mostly found at an altitude of about:
`]: [`36 000 km`], [`A student calculates the activity of a radioactive source to be 85 Bq after recording 2125 disintegrations using a Geiger-Müller tube and counter. For how long did the student test the sample in order to get this result?
`]: [`25 seconds`], [`Which of the following correctly displays the order of the Electromagnetic Spectrum in order of increasing wavelength?
`]: [`Gamma Rays, X-Rays, Ultraviolet, Visible Light, Infrared, Microwaves, Radio Waves`], [`During a thunder storm an observer notices that the crash of thunder arrives 6.00 seconds after the flash of lightening. Assuming that the lightning effectively reaches the observer instantly, the distance from the observer to the thunder strike is:
`]: [`2040 m`], [`The MOSFET and npn transistor are both examples of types of:
`]: [`electronic switches`], [`The unit for activity is the becquerel. 1 Bq is equivalent to:
`]: [`1 radioactive disintegration per second`], [`The age of the Universe is understood to be approximately:
`]: [`13.8 billion years`], [`A 4 kg plank of wood sits on a flat surface. The area of contact with the surface is 0.5 m2. The force exerted on the surface due to the plank is:
`]: [`78.4 Nm-2`], [`Current is measured using:
`]: [`an ammeter`], [`A hiker travels 4 km North before turning West and travelling a further 3 km.
Which of the following represents both the final distance and displacement of the hiker
`]: [`
A mug sits on a desk. The mug exerts a force on the desk due to its weight. The correct statement to complete the force pair in this situation is:
`]: [`the desk exerts a force on the mug`], [`A student makes the following statements about the motion of projectiles:
Which of these statements are correct?
`]: [`1 and 4`], [`Radio signals are able to diffract better than TV signals because:
`]: [`radio has a smaller frequency`], [`Which of the following can cause ionisation?
`]: [`gamma rays`], [`A cross section of a series of waves is shown:

Which line in the table gives the correct amplitude and wavelength of the wave?
`]: [`
The following graph shows the speed of a falling rock over the full 4 second duration of its fall.

The distance travelled by the rock as it falls to the ground is:
`]: [`78.4 m`], [`Which of the following describes what is meant by a chain reaction:
`]: [`a sequence of reactions which lead to subsequent further reactions`], [`A radiation worker is exposed to 2.0 µGy of alpha particles and 10 µGy of gamma rays. The total equivalent dose they receive is:
`]: [`50 µSv`], [`The following graph is produced after a lab technician measures the activity of a radioactive source over a series of week.

Using the information from the graph, the half-life of the source is:
`]: [`5 weeks`], [`A 3 kg piece of aluminium, which has a specific heat capacity of 902 Jkg-1°C-1 and an initial temperature of 20 °C, receives 67 650 J of heat energy.
Calculate the temperature of the aluminium after it has been heated.
`]: [`45 °C`], [`Which of the following is the correct units for activity?
`]: [`Bq`], [`How long does it take 3600 C of charge to pass through a 10 A appliance?
`]: [`6 minutes`], [`A group of students make the following statements about protons:
Which of these statements are correct?
`]: [`2 and 3`], [`A student makes the following statements about geostationary satellites:
Which of these statements are correct?
`]: [`2, 3 and 4`], [`A student sets up the following circuit where a 2.5 V, 8 W bulb is connected in series with a 12 V power supply and a resistor:

If all components are working at their rated value, the resistance of the resistor is:
`]: [`2.97 Ω`], [`A small electronic device operates for 3 hours and uses a total energy of 32 400 J. The power rating of the device is:
`]: [`3 W`], [`A radiographer is planning to carry out a scan of a patient using a radioisotope introduced into the bloodstream which can be detected from outside the body.
Which of the following is the best radioisotope for such a procedure?
`]: [`
A student is given the gravitational field strengths of 6 planets.

If the student has a weight of 735 N on Earth, then their weight on the surface of Jupiter would be:
`]: [`1725 N`], [`A 2000 W kettle runs for 3 minutes. The total energy used by the kettle is:
`]: [`360 000 J`], [`A kitchen appliance operates with a maximum power rating of 2600 W. The correct fuse to fit for this appliance is:
`]: [`13 A`], [`Calculate the current passing through a 1 kΩ resistor when it has a voltage of 12 V across it.
`]: [`0.012 A`], [`Which of the following correctly defines what is meant by the term half life?
`]: [`the time it takes for half the atoms in a material to disintegrate`], [`A student is supplied with the following table of information:

Which material will see the largest mass of liquid converted into gas for the same amount of energy?
`]: [`Turpentine`], [`In the absence of external forces:
`]: [`all objects fall with the same acceleration`], [`Calculate the weight of a 750 g block of metal on Earth.
`]: [`7.35 N`], [`Water freezes at 0 °C. The temperature in kelvin at which water freezes is:
`]: [`273 K`], [`Magnetic fields are used in fusion reactors to:
`]: [`contain and control the super heated plasma`], [`In the kinetic model of a gas, an increase in volume could be explained by:
`]: [`an increase in the average distance between the particles`], [`Power is measured in watts. 1 watt is equivalent to:
`]: [`1 joule per second`], [`A student carries out a set of electricity experiments with an oscilloscope. The experiment results in the following four oscilloscope traces being produced:

Which of these traces can be described as d.c.?
`]: [`1 and 4`], [`A class carries out an experiment to confirm Ohm’s Law and produce the following graph:

The gradient of this graphs gives the:
`]: [`resistance of the resistor`], [`Which of the following will not result in the ionisation of an atom?
`]: [`visible light`], [`Which of the following is the maximum recommended equivalent dose for a member of the public in the UK in one year?
`]: [`1 mSv`], [`A circuit is set up where the properties of a wire can be altered. The following properties can be changed:
Which of these factors affect the resistance of the wire?
`]: [`1, 2, 3 and 4`], [`Kinetic energy is measured in:
`]: [`joules`], [`The expression “fast moving electron” can be used to describe which of the following type of radiation?
`]: [`beta`], [`Which of the following is not currently used in wide scale electricity generation but is likely to be one of our key future energy sources?
`]: [`Fusion`], [`Which of the following is not an application of a satellite?
`]: [`electricity generation`], [`A student wishes to determine the relationship between the pressure and the volume of a gas. The student has the ability to control the following properties of the gas.
Which of these properties must be kept constant in order to determine the desired relationship?
`]: [`1 and 3`], [`A large and usually spherical body which orbits a planet is known as a:
`]: [`moon`], [`An apple falls with an acceleration of 9.8 ms-2 for 2.25 seconds. Use this information to draw a speed-time graph and use the graph to determine the distance the apple falls in 2.25 seconds (to 2 significant figures).
`]: [`25 m`], [`Which of the following appliances should be fitted with a 13 A fuse?
`]: [`Kettle: 2600 W`], [`A group of students make the following statements about light refracting when it enters a more dense substance:
Which of these statements are correct?
`]: [`2 and 4`], [`A student connects a 28 Ω resistor and a 56 Ω resistor in parallel. The total resistance is:
`]: [`18.7 Ω`], [`Absolute zero is the temperature at which all particle motion would stop in a material. This temperature in °C is:
`]: [`-273 °C`], [`A group of students produce the following 4 diagrams when writing up their notes on diffraction. The wavefronts are shown moving from left to right.

Which of these students has drawn the diagram correctly showing diffraction?
`]: [`Student 2`], [`A group of students make the following statements about light refracting when it enters a less dense substance:
Which of these statements are correct?
`]: [`1 and 3`], [`A transverse wave is one where the medium:
`]: [`oscillates perpendicular to the wave direction`], [`Ionising radiation is harmful to humans because it can lead to:
`]: [`damage to the DNA in cells`], [`The basements of some building sometimes need to be monitored for increased levels of radon gas. This contribution to background radiation is due to:
`]: [`rocks`], [`Calculate the force required to accelerate a 1 200 kg car at 3.4 ms-2.
`]: [`4 080 N`], [`Which of the following graphs correctly shows the relationship between the pressure and volume of a fixed mass of gas?
`]: [`
The speed of waves in the electromagnetic spectrum in air is:
`]: [`3 × 108 ms-1`], [`A light year is a measure of:
`]: [`distance`], [`A student is supplied with the following table of information:

Which metal will see the smallest mass of solid converted into liquid for the same amount of energy?
`]: [`Aluminium`], [`A motor race follows a route which has a length of 27 km. The finish line is actually only 18 km from the starting line. If the speed of the fastest car is 30 kmh-1, then the velocity of the fastest car is:
`]: [`20 kmh-1`], [`A ball follows a curved path after it rolls over the edge of a cliff. The ball takes 4 seconds to reach the ground. The final speed of the ball just as it hits the ground is:
`]: [`39.2 ms-1`], [`A hiker walks a distance of 15 km over the course of 3 hours. Their displacement from their starting point is only 12 km. The velocity speed of the hiker is:
`]: [`4 kmh-1`], [`A student makes the following measurements for a toy aeroplane at a particular moment in its journey.
The gravitational potential energy of an object depends on which of these quantities?
`]: [`1, 2 and 3`], [`A student makes the following measurements for a toy aeroplane at a particular moment in its journey.
The kinetic energy of an object depends on which of these quantities?
`]: [`3 and 4`], [`A student produces the following speed time graph from some data given to them by their teacher.

The total distance travelled over the first 20 seconds is:
`]: [`250 m`], [`Pressure is best described as:
`]: [`force per unit area`], [`Calculate the gravitational potential energy of a 3.0 kg block of metal held at a height of 6.0 m.
`]: [`176 J`], [`Temperature is a measure of:
`]: [`the average kinetic energy of the particles in a substance`], [`A student wishes to measure the acceleration of a toy car by experiment. Which of the following will allow them to do so?
`]: [`use a double mask and measure times using an electronic time and light gate`], [`Which of the following statements is correct about scalar quantities?
`]: [`has magnitude but not direction`], [`Which of the following types of radiation are blocked by paper?
`]: [`alpha particles`], [`A 15 g sample of a liquid is left sitting out in a beaker overnight. By morning all the liquid has evaporated. If 16800 J of energy have been used up in evaporating the liquid, determine the liquid which was left in the beaker.

The units for pressure are pascals. A correct alternative unit for pressure is:
`]: [`Nm-2`], [`A group of students make the following statements about electromagnetic waves:
Which of these statements are correct?
`]: [`3 only`], [`A physics teacher draws the following diagram to represent the diffraction which occurs when a high frequency wave meets a barrier. The wavefronts are shown moving from left to right.

The teacher then asks the students to draw what diffraction looks like with a wave of lower frequency. The students produce the following 4 images:

Which student has correctly completed the diagram for a lower frequency wave?
`]: [`Student 2`], [`Gravitational potential energy can most easily be converted into:
`]: [`kinetic energy`], [`A 0.4 kg sample of tissue is exposed to 20 mJ of radiation. Calculate the absorbed dose received during this exposure.
`]: [`0.05 Gy`], [`A car propels itself forwards using a petrol engine. Which of the following correctly describes the forms of energy as a car uses the engine to accelerate, coasts and then uses the brakes to stop?
`]: [`
How many galaxies are currently believed to exist in the Universe?
`]: [`125 billion`], [`A group of university students are trying to determine the half-life of a radioactive substance. They are able to take the following measurements:
Which of these measurements will allow them to gather data on the half-life of the substance?
`]: [`1 and 3`], [`A teacher sets up the 4 circuits. All resistors have exactly the same resistance.
In which circuit is the resistance the greatest?
`]: [`
A student has access to the following resistors:
The largest resistance possible by combining these resistors is:
`]: [`1504 Ω`], [`Which of these symbols correctly shows a MOSFET?
`]: [`
An astronaut has a mass of 75 kg.

The weight of the astronaut in deep space is:
`]: [`0 N`], [`Which of the following contains only vector quantities?
`]: [`displacement, velocity, acceleration`], [`A group of students make the following statements about a proton and an electron which are near one another:
Which of these statements can be considered to be correct?
`]: [`1 and 2`], [`An engine uses 100 kJ of energy in order to move a vehicle by 20 m. The average force exerted by the engine is:
`]: [`5 000 N`], [`Cosmology is the study of space and everything in it. It also deals with the nature of the Universe and its origins. Cosmologists have established that the Universe is expanding. The rate at which it is expanding allows cosmologists to predict the:
`]: [`age of the Universe`], [`A litre of water is placed in a kettle. The lid of the kettle is accidentally left off and the kettle continues to boil for longer than is needed. When the kettle is finally switched off it seems that 300 ml of water has gone. Calculate how much energy has been wasted in turning 300 ml of the water into steam.

The following diagram represents the Electromagnetic Spectrum

Which of the missing parts of the spectrum represents Radio Waves?
`]: [`1`], [`While looking through their notes, a student comes across the following diagram:

Four students discuss the diagram. Their teacher hears the following statements from them all:
Which of the 4 students make correct statements?
`]: [`1, 2 and 4`], [`The 3.0 kg plastic block is shown below along with its dimensions.

The smallest pressure the block can exert on the ground is:
`]: [`980 Nm-2`], [`A hiker travels 4 km East before turning West and travelling a further 3 km.
Which of the following represents both the final distance and displacement of the hiker
`]: [`
Which of the following best describes the path of a projectile?
`]: [`curved path`], [`A student wishes to determine the relationship between the pressure and the temperature of a gas. The students have the ability to control the following properties of the gas.
Which of these properties must be kept constant in order to determine the desired relationship?
`]: [`1 and 4`], [`Which piece of equipment is normally used to measure temperature?
`]: [`Thermometer`], [`A skydiver accelerates as they leave the aeroplane. After a short while they find that they are falling at constant speed. Afterwards, while discussing the sky dive, some of the others make to following statements:
Which of these statements gives the best explanation for the constant speed of the skydiver?
`]: [`2 and 3`], [`After driving 55 m due South from their starting point, a driver realises that they have missed their turn and decides to reverse 23 m back to the missed junction. The displacement of the driver from their start point to the junction is:
`]: [`32 m (180)`], [`As the temperature of a wire increases its resistance:
`]: [`increases`], [`A student carries out a series of experiments and observes the following images:

Which of these images can be described as a line spectrum?
`]: [`2 and 3`], [`A runner accelerates from 3.2 ms-1 to 6.4 ms-1. The acceleration of the runner is 4.0 ms-2. The time over which the runner changes speed is:
`]: [`0.8 s`], [`Two identical resistors with resistance R are connected in parallel. Compared to the value of a single resistor R, the total combined resistance is:
`]: [`R ÷ 2`], [`Potential difference is the same as:
`]: [`voltage`], [`An unbalanced force of 250 N is applied to a block of wood which accelerates at 25 ms-2. The mass of the wooden block is:
`]: [`10 kg`], [`An astronaut travels from Earth to Mars. When they arrive, they make observations about their movement on Mars compared to on Earth.

The astronaut can choose from the following statements:
Which statements best describe the new experience of being on Mars?
`]: [`2 and 4`], [`Two protons when held near one another will:
`]: [`repel one another`], [`The key component in a kettle is known as an element. The elements job is to carry out which energy change?
`]: [`electrical energy → heat energy`], [`Voltage is measured using:
`]: [`a voltmeter`], [`The correct units for current are:
`]: [`amps`], [`A bear swims due East across a river which flows at 4 ms-1 due South. In still water the bear can swim at 3 ms-1. The velocity of the bear is:
`]: [`5 ms-1 (143)`], [`An astronomer obtains the emission spectrum X and wants to determine the elements present in the sample.

Which elements are present in sample X?
`]: [`H and He`], [`Which of the following correctly describe the nature of alpha, beta and gamma radiation in the correct order?
`]: [`helium nucleus, fast moving electron, electromagnetic radiation`], [`Which of the following correctly defines scalar and vector quantities?
`]: [`a scalar has only magnitude, a vector has magnitude and direction`], [`A cross section of a series of water waves is shown:

Which line in the table gives the correct amplitude and wavelength of the wave?
`]: [`
A student carries out a set of electricity experiments with an oscilloscope. The experiment results in the following four oscilloscope traces being produced:

Which of these traces can be described as a.c.?
`]: [`2 and 3`], [`A group of students connect an increasing number of resistors in series while still connected to the same power supply set to 12 V.
The students suggest that this could have the following effects on the circuit:
Which of these statements are correct?
`]: [`1 and 4`], [`The following diagram represents the refraction of red light as it passes from one substance into another:

The dotted line represents:
`]: [`the normal`], [`An airline pilot can only fly a certain number of long haul flights across the Atlantic ocean per year due to an increased exposure to background radiation. This is due to background radiation from:
`]: [`cosmic rays`], [`The units for potential difference are:
`]: [`volts`], [`Which of these is the correct symbol for a fuse?
`]: [`
While monitoring a sample of radioactive material a student records 1440 disintegrations in a time of 1 hour. The activity of the substance calculated by the student is:
`]: [`0.4 Bq`], [`The time it takes for half the atoms in a radioactive material to disintegrate is known as the:
`]: [`half life`], [`A student produces the following speed time graph from some data given to them by their teacher.

The acceleration of section B (10 s – 20 s) is:
`]: [`1 ms-2`], [`In the kinetic model of a gas, an increase in pressure is explained by:
`]: [`an increase in the number of collisions every second`], [`A hiker travels 6 km South before turning East and travelling a further 8 km.
Which of the following represents both the final distance and displacement of the hiker
`]: [`
The correct units for gravitational field strength are:
`]: [`Nkg-1`], [`Water boils at 100 °C. The temperature in kelvin at which water boils is:
`]: [`373 K`], [`Which of the following appliances can be fitted with a 3 A fuse?
`]: [`Fridge Freezer:200 W`], [`An astronaut on the Moon measures their weight to be 144 N.

The weight of the astronaut on Earth is:
`]: [`882 N`], [`Which of the following is the maximum recommended equivalent dose for a radiation working in the UK in one year?
`]: [`20 mSv`], [`A radioactive substance has an activity of 1 200 kBq at the start of a particular day. 8 hours later, the material has an activity of 75 kBq. The half life of the material is:
`]: [`2 hours`], [`A fixed mass of gas is kept at a constant pressure of 1.01 x 105 Pa. The gas is compressed from an initial volume of 3.00 m3 down to a volume of 1.00 m3. If the initial temperature of the gas is 300 K, the temperature of the gas changes to:
`]: [`100 K`], [`A fisherman at a pier watches as the following set of waves pass by:

The fisherman notes that it takes 7 seconds for the waves shown in the diagram to pass. Which row in the table correctly gives the speed and frequency of the waves?
`]: [`
Which of these is the correct symbol for a thermistor?
`]: [`
A student connects 4 resistors in parallel. All the resistors have a resistance of 800 Ω. The total resistance of these combined resistors is:
`]: [`200 Ω`], [`To maintain the desired constant speed of a car, it’s engine must exert an average force of 1 500 N. Over a specific part of the journey the energy used by the engine is 750 kJ.
The distance covered during this part of the journey is:
`]: [`500 m`], [`Calculate the maximum current that may be passed through a 56 Ω resistor if it has a maximum power rating of 3 W.
`]: [`0.231 A`], [`A class carry out an Ohm’s Law experiment to determine the resistance of a fixed value resistor.

Using the graph, the class finds that the resistance of the fixed value resistor is:
`]: [`13.3 Ω`], [`A rock falls from a high cliff to the ground below. The impact can be heard from a nearby village. Which of the following gives the correct description of energy transfer before, during and after the rock’s fall?
`]: [`
A lab technician is working on a piece of equipment which will be used to detect gamma rays.
The equipment for this involves:
`]: [`a Geiger-Müller tube and counter`], [`A student produces the following speed time graph from some data given to them by their teacher.

The acceleration of the object in section A is:
`]: [`1 ms-2`], [`What is the name of the event that is believed to have started the process of expansion of the Universe?
`]: [`The Big Bang`], [`When landing on the Moon, the lunar lander did not use a parachute to slow its decent.
The Moon lander did not use a parachute because:
`]: [`there is no atmosphere on the Moon`], [`A book is knocked from a shelf and falls 1.84 m. The final speed of the book just as it reaches the ground is:
`]: [`6.00 ms-1`], [`Water and light waves are both examples of:
`]: [`transverse waves`], [`Which of the following gives the best description for diffraction:
`]: [`waves encountering a solid object and being able to partially curve behind it`], [`A student carries out an Ohm’s Law experiment with a piece of resistance wire. The student varies the current passing through the resistance wire by varying the resistance of a variable resistor in series with the resistance wire. The student then records the current through and the voltage across the resistance wire. The data is then used to plot the following graph.

What does this graph show about the nature of the resistance wire?
`]: [`its resistance increased with the temperature of the wire`], [`Which of these is the correct symbol for an ohmmeter?
`]: [`
In the kinetic model of a gas the temperature of the gas is directly related to:
`]: [`the average kinetic energy of the particles`], [`A student makes the following suggestions about risks associated with space travel:
Which of these hazards provide direct risk to unmanned satellites in orbit around the Earth?
`]: [`1 only`], [`A geostationary satellite must have a period of orbit equal to:
`]: [`24 hours`], [`Two identical resistors with resistance R are connected in series. Compared to the value of a single resistor R, the total combined resistance is:
`]: [`R + R`], [`When light refracts it always changes:
`]: [`speed`], [`Which of the following statements correctly describes the relationship between the altitude of a satellite and its orbital period?
`]: [`as the altitude increases, the orbital period increases`], [`A student carries out an experiment to determine Ohm’s Law. They measure the current through and the voltage across a resistor while varying the current through it. This produces the following graph:

The graph tells us that:
`]: [`the resistance of the resistor stays the same`], [`A student makes a list of observations about alternating and direct current but unfortunately mixes up which statements belong to which:
Which of these statements are correct for direct current?
`]: [`1 and 2`], [`A 2000 W kettle runs for 3 minutes. If the water has reached boiling point after 2.5 minutes, how much water is converted into steam and lost from the kettle?

A model rocket is launched up into the air with an acceleration of 3 ms-2. Which of the following correctly describes the vertical forces acting on the rocket?
`]: [`the thrust is greater than the weight`], [`A car travels along a straight road at constant speed for 4 seconds. If the driving force of the engine is 20 000 N, the frictional force is:
`]: [`20 000 N in the opposite direction`], [`Nuclear fission has played a role in electricity generation many decades now but is being phased out. Some students are discussing the reasons why this may be the case:
Which of these statements are correct?
`]: [`3 and 4`], [`Which of the following is most likely to allow a wave to diffract well?
`]: [`large wavelength`], [`Which of the following statements correctly describes ionisation due to nuclear radiation?
`]: [`the addition or removal of electrons from a neutral atom`], [`An aeroplane travels due North at 100 ms-1, when it enters a weather systems with winds blowing East at 75 ms-1. The resultant velocity of the aeroplane due to its own thrust and the wind is:
`]: [`125 ms-1 (037)`], [`Which of the following are appropriate units for half life?
`]: [`seconds`], [`A 0.75 kg piece of lead is heated from 35 °C to 75 °C. The specific heat capacity of lead is 128 Jkg-1°C-1.
Calculate the total energy delivered to the lead while it is being heated.
`]: [`3840 J`], [`In the UK the annual equivalent dose limit for a radiation worker is 20 mSv. The average UK employee spends 1730 hours working every year. Based on these numbers, what is the maximum average equivalent dose rate that a radiation worker can receive during these working hours?
`]: [`11.6 µSvh-1`], [`Which of these symbols correctly shows an npn transistor?
`]: [`
Which of the following best describes the function of a Light Emitting Diode (LED)?
`]: [`An output device that changes electrical energy into light`], [`What is the name of the electronic component represented by this symbol?

In which of the following circuits will both LEDs be lit?
`]: [`
Why is a protective resistor used with a Light Emitting Diode (LED)?
`]: [`To prevent the LED from overheating due to excess current`], [`A circuit is set up as shown.
Calculate the resistance of resistor R.

A circuit is set up as shown.
Calculate the resistance of resistor R.

A circuit is set up as shown.
Calculate the resistance of resistor R.

Which of the following statements about this circuit with is true?

A car has an initial speed of 15 ms-1 before accelerating to a new speed of 32ms-1. If this change in speed takes 5.0 seconds, then the acceleration of the car is:
`]: [`3.4 ms-2`], [`A 4 kg plank of wood sits on a flat surface. The area of contact with the surface is 0.5 m2. The pressure exerted on the surface due to the plank is:
`]: [`78.4 Nm-2`], [`A circuit is set up as shown.
Calculate the resistance of resistor R.

A circuit is set up as shown.

The motor will turn on when:
`]: [`The light level is decreased below a certain value`], // MATHS [`Part of the graph y = cos a (x - b)o is shown.
State the value of a.

Remove brackets and simplify:
4(x + 3) - 2(x - 7) + 5(1 - x)
`]: [`- 3x + 31`], [`Simplify:
tan xo cos xo
`]: [`sin xo
`], [`Solve cos xo = - 0.707, where 0 ≤ x ≤ 360
`]: [`135o, 225o
`], [`Yan knows two angles and the length of one side of a triangle. She wants to calculate the length of another side.
Which formula should she use?




The shape shown is a regular decagon. Determine the size of the highlighted angle z.

Which of the following show the graph y = (3 - x)(x + 1)
`]: [`
What does the following quadratic graph tell us about the value of the discriminant?



Evaluate 10891
`]: [`>1089`], [`Factorise:
3xy - 102xz + 93xa
`]: [`>3x(31a + y - 34z)`], [`

A hospital treated 8300 patients this year. The number of patients treated is expected to increase by 6% each year.
How many patients does the hospital expect to treat in 4 years time, to the nearest hundred?
`]: [`>10500`], [`Round 8548763 to to 4 significant figures
`]: [`>8549000`], [`

PQ is the diameter of a circle, and the angle QPR is 51°.
Calculate angle PQR.

Express the following in the form (x + a)2 + b:
z2 + 10z - 15
`]: [`(z + 5)2 - 40`], [`Calculate the size of the angle at P.

64.5o
`], [`Identify the equation of the axis of symmetry of the graph with the equation:
y = x2 - 8x + 15
`]: [`>x = 4`], [`PR is a tangent to a circle with centre O and radius 18 cm. PQ has a length of 24 cm.

Find the length of line OP.
`]: [`>30 cm`], [`

The parabola below has an equation of the form:
y = (x - a)2 + b.
State the value of b.

Orla kept track of the number of TikToks she posted each month for six months.

Calculate the standard deviation of the number Tik Toks posted.
`]: [`4.22
`], [`Simplify (12r4)2
`]: [`144r8`], [`Simplify 3a3 × 3b3 × 2a4 × 2b4
`]: [`36a7b7`], [`Students' scores on two different Physics tests were recorded.
Which of the following statements make a valid comparison between the scores on Test 1 and Test 2?


Simplify (5ab)3
`]: [`125a3b3`], [`The graph shows the number of cars a factory expects to produce each year.

Using the information shown, calculate the number of cars produced in year 4, to the nearest 100.
`]: [`89,800`], [`The cosine rule is shown below. Identify the values that have been removed at 1 and 2.


Calculate the volume of sphere with radius 22 m.
`]: [`44602 m3`], [`

Points have been generated to graphically solve simultaneous equations:
y = 3x + 1 and 2y -12 = x

Identify A and B.
`]: [`A = 7
B = 2
`], [`The diagram shows a cuboid.
Identify the coordinates of the point C.







The rectangles below are mathematically similar. What is the length of side x?

Factorise:
z2 - 2z - 35
`]: [`>(z + 5)(z - 7)`], [`PQRSTUVW is a cuboid of length 30 cm, breadth 16 cm and height 22 cm.
Calculate the length of the diagonal TR.

Identify the nature and coordinates of the turning point of the graph with the equation:
y = (x + 5)(11 - x)
`]: [`Maximum turning point at (3, 64)`], [`Which of the following are right-angled triangles?

A basketball player keeps track of the number of baskets they score each game for 12 games. The scores are:

Calculate the median number of baskets scored per game.
`]: [`>11.5`], [`Which colour represents the graph y = sin xo?


A city park is being designed with dimensions 2 × 102 m by 5 × 102 m.
Calculate the area of the park in square metres.

A factory produces mugs as shown below.

Calculate the number of mugs that will be produced in 8x - 7 hours.
`]: [`72x2 - 103x + 35`], [`




Simplify 9p7 ÷ 3p
`]: [`3p6`], [`The two goldfish bowls below are mathematically similar.
What is the volume of the smaller bowl?



The drawings of these two houses are mathematically similar.
If the height of the pink door is 3.4 cm, what is the height of the orange door?

Calculate the volume of hemisphere with diameter 14 cm.
`]: [`718.4 cm3`], [`
ABCDEFGH is a cuboid of length 12 cm, breadth 5 cm and height 3 cm.

Calculate the length of diagonal BG to 1 decimal place.
`]: [`>13.3 cm`], [`AB is a tangent to a circle with centre O and radius 14 cm. AP is 12 cm.

Find the length of line OA.
`]: [`>18.44 cm`], [`

Find the equation of the line joining points (5, -6) and (-3, 18).
Give the equation in its simplest form.
`]: [`
Calculate the size of the angle at C.

46.35o
`], [`


Solve sin xo = - 0.866, where 0 ≤ x ≤ 360
`]: [`240o, 300o
`], [`AB is a tangent to a circle with centre O and radius 20 cm.

Calculate the perimeter of triangle AOB.
`]: [`>69.54 cm`], [`PR is a tangent to a circle with centre O and radius 27 m. PQ has a length of 36 m.

Find the length of line OP.
`]: [`>45 m`], [`Evaluate 321 - 701 ÷ 21
`]: [`>-3`], [`Which trigonometrical function has an amplitude of 1 and cuts the x axis at 180o?
`]: [`y = sin xo
`], [`Identify the nature of the turning point of the graph with the equation y = (x - 2)(-x + 5)
`]: [`>Maximum`], [`Identify the missing rule in the quadrant marked with an 'X' on the CAST diagram.

xo
`], [`A group of friends recorded the distance they cycled each week.
The distances were:

Calculate the standard deviation of the cycling distances.
`]: [`19.61 km
`], [`Determine the number and describe the nature of the roots of the quadratic function
y = 9x2 + 6x + 1
`]: [`One repeated real root`], [`Identify the equation of the axis of symmetry of the graph with the equation y = (x - 2)(x + 3)
`]: [`>x = -0.5`], [`Calculate the length of KM.

4.56 cm
`], [`The number of likes on nine different posts on a social media profile were as follows:

Calculate the median number of likes these posts received.
`]: [`>119`], [`Calculate the length of KM.

20.74 mm
`], [`

Simplify:
(cos A - sin A)2 + 2 sin A cos A
`]: [`>1`], [`PQRSTUVW is a cuboid of length 28 cm, breadth 21 cm and height 15 cm.
Calculate the length of the diagonal TR.

Calculate the volume of all green balls.


This is a sketch of the graph:
`]: [`y = sin xo - 2
`], [`Evaluate 101 × a0 × 90 × b1 × 81 × c1
`]: [`>80bc`], [`Calculate the size of the angle at B.

78o
`], [`

Find the equation of the line joining points (3, -7) and (5, -1).
Give the equation in its simplest form.
`]: [`
Which of the following show the graph y = - (x + 2)(x - 2)
`]: [`
A city's population is 452,000.
The population is expected to increase by 3% each year.

What, to the nearest ten thousand, will be the city's population in 20 years time?
`]: [`820,000`], [`



Factorise:
16 - 9x2
`]: [`>(4 - 3x)(4 + 3x)`], [`Which of the following graphs represent y = 2 tan xo?
`]: [`
The total cost of 3 adult and 5 student cinema tickets = £70.90
The total cost of 6 adult and 6 student cinema tickets = £112.20
Use simultaneous equations to find:

Adult = £11.30
Student = £7.40
`], [`
Find the resultant vector p - q.
`]: [`
Express the following in the form (x + a)2 + b:
y2 - 6y + 6
`]: [`(y - 3)2 - 3`], [`Six teas and one coffee cost £16.35
Eight teas and four coffees cost £29.40
Use simultaneous equations to find:

Tea: £2.25
Coffee: £2.85
`], [`Calculate the size of the angle at P, giving your answer to the nearest degree.

DeviceDen is having a sale on all smartphones.

Luca bought a new smartphone for £326.40
What was the original price of the smartphone?
`]: [`>£480`], [`Calculate the length of PQ.

6.71 cm
`], [`Find the gradient of the straight line which passes through the points (0, -9) and (2, 1)
`]: [`>5`], [`Identify the equation of the axis of symmetry of the graph with the equation:
y = x2 + 6x + 5
`]: [`>x = - 3`], [`

Calculate the area of the triangle shown below.

39.94 cm2
`], [`DungeonDen is having a sale on all Dungeons & Dragons miniature figures.

Alfie bought a new Galdur figure for £18.06.
What was the original price of the figure?
`]: [`>£21`], [`


This is a sketch of the graph:
`]: [`y = cos xo + 1
`], [`Calculate the volume of this pyramid.

Ellie recorded the points that she scored in the first 8 levels of the video game Cat vs Mouse.
The points for 8 levels were:

Find the median score for the levels played.
`]: [`>185`], [`

PR is a tangent to a circle with centre O.

Calculate the radius of the circle.
`]: [`>11.36 m`], [`Calculate the area of the triangle shown below.

140.86 m2
`], [`Stefan pays £28.75 for a meal in a restaurant.
The restaurant adds a 15% service charge to the price of the meal.
What was the price of the meal before the service charge?
`]: [`>£25`], [`If O is the centre of the circle, calculate the size of angle XWZ.

Simplify 3p3 × 5p2
`]: [`15p5`], [`A snare drum is a perfect circle, with radius 30 cm and centre O. A drumstick forms a chord AC with mid point B. The distance from the centre O to midpoint B is 7 cm
Calculate the length of the drumstick.




Identify the nature of the turning point of the graph with the equation y = (3 - x)(4 - x)
`]: [`>minimum`], [`Identify the y-intercept of the straight line with equation:
9y + 18 = 7x
`]: [`>-2`], [`Simplify (3m8)3
`]: [`27m24`], [`The shapes below are mathematically similar.
Calculate the length x.

The parabola below has an equation of the form:
y = (x - a)2 + b.
State the value of b.

The simultaneous equations
y = x + 1 and y = 3 - x
have been solved graphically.
Which of the following graphs show the correct solution?
`]: [`


A group of students counted the number of cars passing a certain point on a road every hour.

Calculate the mean number of cars observed in each hour.
`]: [`>195.5`], [`Find the equation of a straight line with gradient m = -2 which passes through the point (-1, 5).
`]: [`
Evaluate 185 × 2730
`]: [`>185`], [`What does the following quadratic graph tell us about the value of the discriminant?



The cosine rule is shown below. What has been removed at X?

2bc
`], [`Three boats are shown at A, B and C.

What is the distance between boat A and boat C?
`]: [`21.21 km
`], [`

In two different cooking classes, students recorded the time they took to bake a cake:
Which of the following statements make a valid comparison between baking times in Class 4A and Class 4C?
2 and 3
`], [`Solve 7x + 3 = 20
`]: [`


Part of the graph y = cos a xo - b is shown.
State the value of b.

What are the roots of the quadratic equation y = (2 - x)(x + 3)?
`]: [`x = 2, x = -3`], [`Which of the following graphs represent y = sin 4xo?
`]: [`
Simplify (n4)1
`]: [`n4`], [`

Simplify y6 ÷ y2
`]: [`y4`], [`Calculate the size of the angle at A, giving your answer to the nearest degree.

The circle below has a radius of 13 m, a chord PR of length 24 m, and a centre at O.
The point Q is the midpoint of the chord PR.

Calculate the length of OQ.
`]: [`>5 m`], [`Factorise:
48y + 36z
`]: [`>12(4y + 3z)`], [`Identify the y-intercept of the straight line with equation:
3y + 9 = 6x
`]: [`>-3`], [`Determine the value of the discriminant for the quadratic function:
x2 + 5x + 3 = 0
`]: [`>13`], [`

Remove brackets and simplify:
(x + 1)(x + 5)
`]: [`x2 + 6x + 5`], [`Remove brackets and simplify:
(2x - 1)(3x - 4)
`]: [`6x2 - 11x + 4`], [`A function is defined as f(x) = 7x + 3.
Given that f(a) = 31, calculate a.
`]: [`>4`], [`Solve, algebraically, this pair of simultaneous equations and hence give a value for a.
a + 2b + 10 = 0
3a - 5b - 14 = 0
`]: [`>-2`], [`

Calculate the volume of the golf ball.

Michelle buys a car for £4000.
It depreciates in value at a rate of 14% each year.
How much is it worth after 4 years?
`]: [`>£2188.03`], [`Calculate the area of the triangle shown below.

17.73 cm2
`], [`







The shape shown is a regular dodecagon. Determine the size of the highlighted angle y.

Solve the quadratic equation:
- 4x2 + 11x - 5 = 0
`]: [`x = 0.57The flags below are mathematically similar.
Calculate the length x.

Remove brackets and simplify:
(y - 3)3
`]: [`y3 - 9y2 + 27y - 27`], [`Simplify (10t)3
`]: [`1000t3`], [`The scores achieved by a student on various Maths tests out of 50 are:

Calculate the Interquartile Range of the test scores.
`]: [`>6`], [`Harry deposits £630 in a savings account with Capital Trust Bank.

How much interest will Harry earn after 6 years?
`]: [`>£808.72`], [`Which of the following show the graph y = - (x + 4)(x + 2)
`]: [`

Find the resultant vector a + b.
`]: [`
Which of the following are right-angled triangles?

Calculate the length of PQ.

9.5 m
`], [`Simplify b5 × b4
`]: [`b9`], [`Six friends record their best scores while playing the video game Tortoise Racing.

Calculate the standard deviation of the friends' best scores.
`]: [`29.23
`], [`

Factorise:
3x2 + 5x + 2
`]: [`>(3x + 2)(x + 1)`], [`

Factorise:
x2 + x – 30
`]: [`>(x + 6)(x - 5)`], [`Calculate the length of PR, giving your answer to the nearerst whole unit.

PQ is the diameter of a circle, and the angle PQR is 25°.
Calculate angle QPR.

Calculate the length of AC.

19.52 cm
`], [`Remove brackets and simplify:
(k + 4)2
`]: [`k2 + 8k + 16`], [`Identify the nature and coordinates of the turning point of the graph with the equation:
y = (x - 7)(x - 13)
`]: [`Minimum turning point at (10, -9)`], [`Part of the graph y = cos a xo - b is shown.
State the value of a.

The number of people who visited an art gallery each hour was as follows:

Calculate the Interquartile Range for the number of art gallery visitors.
`]: [`>15`], [`

Does the rugby post meet at a right angle with the cross bar?

Solve, algebraically, this pair of simultaneous equations and hence give a value for b.
2a - 3b = 0
3a + b = 22
`]: [`>b = 4`], [`

Calculate the length of BC.

51 mm
`], [`Solve the quadratic equation:
y = x2 - 8x - 9
`]: [`x = 9, x = - 1`], [`Identify the missing rule in the quadrant marked with an 'X' on the CAST diagram.

180o - xo
`], [`Solve the quadratic equation:
y = x2 + 13x + 36
`]: [`x = - 4, x = - 9`], [`Identify the missing trigonometric function(s) marked with an 'X' on the CAST diagram.

sin
`], [`Solve the quadratic equation:
y = x2 + 4x - 12
`]: [`x = 2, x = - 6`], [`Remove brackets and simplify:
2(b + 3) - 2(c + 6) + 4(2 + b)
`]: [`6b - 2c + 2`], [`Which trigonometrical functions have an amplitude of 1?
`]: [`y = sin xo
y = cos xo
`], [`

The boxes below are mathematically similar.
What is the volume of the larger box?

Which of the following are right-angled triangles?

Calculate the volume of this square-based pyramid.

A window is a perfect circle, with radius 20 cm and centre O. A wooden strut forms a chord AC with mid point B. The distance from the centre O to the midpoint of the strut at B is 12 cm
Calculate the length of the wooden strut AC.



Calculate the red perimeter of this shape.

Identify the missing rule in the quadrant marked with an 'X' on the CAST diagram.

180o + xo
`], [`
A fitness app records the average daily step count (S) and the weight loss (W) of its users.

A line of the best fit has been drawn.
Find the equation of the line of best fit in terms of S and W.
`]: [`W = 0.04 S
`], [`Suzanne books 6 economy tickets and 5 first class tickets on a flight to France and it costs £1350.
She then books 2 more economy tickets and 9 first class tickets on the same flight and it costs £1770.
Use simultaneous equations to find the price of an economy ticket.


The cone below has a diameter of 12 cm and a height of 20 cm.

Calculate the volume of the cone to the nearest whole number.
`]: [`>754`], [`Andrew books 5 economy tickets and 4 first class tickets on a flight to Spain and it costs £1345.
He then books 3 more economy tickets and 1 first class ticket on the same flight and it costs £485.
Use simultaneous equations to find the price of a first class ticket.










Find the vector b.
`]: [`
Solve 3x - 5 = 10x
`]: [`
A bacteria population grows at a rate of 7 × 102 bacteria per minute.
If the bacteria grow for 6 × 103 minutes, what is the total number of bacteria at the end of this period?

Identify the equation of the axis of symmetry of the graph with the equation:
y = (x - 4)2 + 11
`]: [`>x = 4`], [`

Which of the following graphs represent y = cos (x - 30)o?
`]: [`
Remove brackets and simplify:
-3(x - 2) - (x + 1)
`]: [`-4x + 5`], [`Which of the following graphs represent y = sin (x + 30)o?
`]: [`
Factorise:
6n2 - 2n
`]: [`>2n(3n - 1)`], [`A pencil is balanced on top of a coin creating a tangent PQ, meeting the coin at point R.
R is the mid-point of the pencil, and the pencil is 40 mm in length.
If the distance from the centre of the coin O to end of the pencil Q is 24 mm, calculate the radius of the coin.



Solve, algebraically, the system of equations
3x + 2y = 8
2x - y = 3
`]: [`x = 2, y = 1`], [`

Solve 5(3y + 11) = 7(4 - 2y) - 2
`]: [`>y = -1`], [`Simplify:


Identify the equation of the axis of symmetry of the graph shown.

Which of the following graphs represent y = 8 sin xo?
`]: [`
The highest temperature ever recorded in Scotland was 32.9°C in 2003. Write this temperature to one significant figure.

ABCDEF is a triangular prism.

Identify the coordinates of the point C.
`]: [`>(9, 11, 0)`], [`Given that f(x) = 3x3 - 9, evaluate f(-1)
`]: [`>-12`], [`A farm produces wheat at a rate of 2.5 × 104 kg per day.
If a total of 7 × 106 kg of wheat has been produced, how many days has the farm been producing wheat?

Round 301000889 to to 5 significant figures
`]: [`>301000000`], [`
Find the resultant vector a - b.
`]: [`








Simplify (2y4)4 × 2y2
`]: [`32y18`], [`What is the amplitude of the graph y = 4 sin xo?
`]: [`>4`], [`Factorise:
d2 + 15d + 14
`]: [`>(d + 14)(d + 1)`], [`The rectangles below are mathematically similar. What is the length of side x?

A formula states that E = mc2.
Find the value of E when m = 2 × 10-4 and c = 3 × 108.
`]: [`1.8 × 1013`], [`
Part of the graph y = cos a (x - b)o is shown.
State the value of b.

Duncastle Pet World logs the number of hamster sales (H) with the number of monthly visitors to the store (V).

A line of the best fit has been drawn.
Find the equation of the line of best fit in terms of H and V.
`]: [`H = 0.1V + 5
`], [`Moussa’s bedroom wall measures 3.30 m by 2.15 m.

What is the area of Moussa's bedroom wall in square metres when rounded to 3 significant figures?
`]: [`>7.10`], [`

The rectangles below are mathematically similar.
What is area of the larger rectangle?

Calculate the size of the angle at A, giving your answer to the nearest degree.


Calculate the size of the angle at P.

31.9o
`], [`Which of the following show the graph y = (x + 5)(x + 1)
`]: [`


Simplify -6p4 × 4p5
`]: [`-24p9`], [`Remove brackets and simplify:
8y2(y - 1) + 2y(y - 1)
`]: [`8y3 - 6y2 - 2y`], [`Which of the following show the graph y = (x + 2)2
`]: [`
Find the equation of a straight line with gradient m = 4 which passes through the point (3, -6).
`]: [`
AB is a tangent to a circle with centre O and radius 10 m.

Calculate the perimeter of triangle AOB.
`]: [`>59.4 m`], [`A supercomputer can process 1 × 1012 calculations per second.
If the supercomputer has performed a total of 6 × 1018 calculations, how long has it been processing (in seconds)?

The arc shown has a 300o angle and a radius of 5 mm.
Calculate the arc length.

Which of the following graphs represent y = 2 cos xo?
`]: [`

Use simultaneous equations to find:

Margherita: £13.00
Calzone: £16.50
`], [`

Remove brackets and simplify:
(x + 3)(2x + 6)
`]: [`2x2 + 12x + 18`], [`Identify the nature and coordinates of the turning point of the graph with the equation:
y = (x + 2)(2 - x)
`]: [`Maximum turning point at (0, 4)`], [`Determine the number and nature of the roots of the graph below:

Part of the graph y = sin (x + a)o + b is shown.
State the value of b.

Calculate the gradient of the line AB:

Calculate the volume of the hemisphere.

The shape shown is a regular octagon. Determine the size of the highlighted angle a.

Factorise:
y2 - 121
`]: [`>(y - 11)(y + 11)`], [`The distance from the centre of the clock to the tip of the big hand is 4 metres.
The angle formed between the hands is 100o.
What is the length of the red arc?

Which of the following are right-angled triangles?

Use simultaneous equations to find:

Milk: £1.12
Water: £1.45
`], [`Solve cos xo = 0.906, where 0 ≤ x ≤ 360
`]: [`25o, 335o
`], [`The power (P) consumed by an electrical circuit can be calculated using the formula P = IV.
Find the power when I = 2 × 10-3 and V = 1.5 × 102
`]: [`3 × 10-1`], [`

Given that f(x) = 4x3 - 7, evaluate f(-2)
`]: [`>-39`], [`What is the vertical translation of the graph y = 4 sin xo - 3?
`]: [`>-3`], [`Calculate the area of the triangle shown below.

4.91 mm2
`], [`Determine the value of the discriminant for the quadratic function:
y = x2 + 3x - 4
`]: [`>25`], [`

Remove brackets and simplify:
(z - 2)(2z2 + z - 3)
`]: [`2z3 - 3z2 - 5z + 6`], [`Remove brackets and simplify:
4(a2 + 1) - 2a(a - 1)
`]: [`2a2 + 2a + 4`], [`Calculate the gradient of the line FG:



Simplify a9 ÷ a4
`]: [`a5`], [`Ellie paid £24·75 for a pair of trainers in a sale.
The discount in the sale was 45%.
Calculate the original price of the trainers.
`]: [`>£45`], [`

The parabola below has an equation of the form:
y = (x - a)2 + b.
Identify the equation of the parabola.

y = (x - 1)2 + 2
`], [`Simplify 10n10 ÷ n3
`]: [`10n7`], [`Sol knows the lengths of two sides in a triangle, and an angle opposite one of the sides. He wants to calculate the size of another angle.
Which formula should he use?




Lisa opens a bank account which offers an interest rate of 3.8% and deposits £640 savings.
Which of the following can be used to calculate the balance in the account (assuming no further deposits or withdrawals) after 5 years?
`]: [`(1.038)5 × 640`], [`Solve the quadratic equation:
y = x2 - 4x - 45
`]: [`x = - 5, x = 9`], [`Calculate the volume of the cone part of the clown’s hat.



In a laboratory experiment, a scientist recorded the growth of bacteria over time. In one hour, the number of bacteria increased from 5000 to 5678.

Write the increase to two significant figures.
`]: [`>680`], [`Calculate the distance between Beta Island and Coral Island.

14.33 km
`], [`Solve tan xo = 0.268, where 0 ≤ x ≤ 360
`]: [`15o, 195o
`], [`



Simplify (p5)6
`]: [`p30`], [`The cans below are mathematically similar.
Calculate the height x.

Which of the following show the graph y = x(4 - x)
`]: [`
The following temperatures were recorded in Falkirk over a week.

Calculate the standard deviation of the temperatures.
`]: [`3.02o
`], [`Which of the following graphs represent y = cos xo - 1?
`]: [`
The number of views of a YouTube video over 5 days is as follows::

Determine the Interquartile range for the video views.
`]: [`>987`], [`Which of the following graphs represent y = sin xo - 3?
`]: [`
The shape shown is a regular dodecagon. Determine the size of the highlighted angle z.



The distance from the centre of a ferris wheel to the circular frame is 8 metres
The angle formed between two cars is 30o.
What is the length of the white arc?

A trigonometric identity is shown below.

What should appear on the right hand side of the equation?
`]: [`>1`], [`Remove brackets and simplify:
(z + 1)3
`]: [`z3 + 3z2 + 3z + 1`], [`

ABCDEFGH is a cuboid of length 48 cm, breadth 36 cm and height 42 cm.
Calculate the length of the diagonal DE.

The diagram shows a rectangular based pyramid.
Identify the coordinates of the point C.

Solve, algebraically, the system of equations
y + 7x = 24
4y - 7x = - 9
`]: [`x = 3, y = 3`], [`

Factorise:
20ab - 15ac
`]: [`>5a(4b - 3c)`], [`Solve the quadratic equation:
y = x2 - 2x + 1
`]: [`x = 1`], [`Pacman’s mouth is a radius of his circle-shaped body.
Pacman forms a tangent to the ground PQR, which meets Pacman at point Q. Calculate the length of OR.


Simplify -5t-5 × -t-2
`]: [`5t-7`], [`
Given that f(x) = 5x2 + 11, evaluate f(-3)
`]: [`>56`], [`A car dealership records the age of cars (A) and their resale value (V).

A line of the best fit has been drawn.
Find the equation of the line of best fit in terms of V and A.
`]: [`V = - 2A + 18
`], [`
Remove brackets and simplify:
4(x2 + 3) + 2x(x - 1)
`]: [`6x2 - 2x + 12`], [`Given that f(x) = 2x3 + 5, evaluate f(2)
`]: [`>21`], [`



Identify the missing trigonometric function(s) marked with an 'X' on the CAST diagram.

cos, sin and tan
`], [`

Factorise:
28xy + 35xy2 - 56x2y
`]: [`>7xy(- 8x + 5y + 4)`], [`

Find the resultant vector a + b.
`]: [`


Solve, algebraically, the system of equations
2x + 3y = 14
8x - 5y = 5
`]: [`x = 2.5, y = 3`], [`Identify the equation of the axis of symmetry of the graph with the equation y = (x + 12)(x + 8)
`]: [`>x = -10`], [`The parabola below has an equation of the form:
y = (x - a)2 + b.
State the values of a and b.

a = - 4
b = 5
`], [`Factorise:
25n2 - b2
`]: [`>(5n - b)(5n + b)`], [`

Owen buys a mountain bike for £445. The bike depreciates in value at the rate of 8% each year.

How much will Owen’s bike be worth after 4 years, to the nearest pound (£)?
`]: [`>£319`], [`Round 0.004562 to to 1 significant figure
`]: [`>0.005`], [`
Find the equation of the line joining points (1, 2) and (4, 4).
Give the equation in its simplest form.
`]: [`
The 18th hole at the Duncastle Country Golf Club features a bunker that is shaped like a sector of a circle.
The green keeper has measured the diameter of the bunker to be 18 metres.
What is the total area of the bunker?

A tunnel is a perfect circle, with radius 9 m. The floor forms a chord CE across the tunnel of length 14 m with a midpoint at D.
Calculate the vertical height DF from the floor to the roof of the tunnel through the tunnel centre O.

Simplify (4k)3
`]: [`64k3`], [`Caleb practised playing guitar for the following durations on a Saturday:

Calculate the standard deviation of Caleb's hourly guitar practice.
`]: [`19.76 minutes
`], [`Calculate the area of the remaining pizza if the diameter of the pizza is 32 cm.

Identify the gradient of the straight line with equation:
9y -3 = 27x
`]: [`>3`], [`The sine rule is shown below. Identify the values that have been removed at 1, 2, 3 and 4.



Simplify (2n)4
`]: [`16n4`], [`Identify the nature and coordinates of the turning point of the graph with the equation:
y = - (x - 10)2
`]: [`Maximum turning point at (10, 0)`], [`Max recorded the amount of money he spent each day while on a 5 day holiday in Spain:

Calculate the standard deviation of Max's daily spending.
`]: [`€42.98
`], [`Sophie kept track of the number of songs by Foo Fighters that she listened to on Spotify each day for a week.
The numbers were:

Calculate the standard deviation of the number of Foo Fighters songs Sophie listened to over the week.
`]: [`2.38 songs
`], [`The shapes below are mathematically similar. Calculate y.



The shapes below are mathematically similar.
What is the area of the smaller shape?



Factorise:
2x2 + 11x + 12
`]: [`>(2x + 3)(x + 4)`], [`

Factorise:
18xy + 21x
`]: [`>3x(6y + 7)`], [`Given the vectors p and q, which if the following shows 3p - q?


Which of the following graphs represent y = cos 2xo?
`]: [`
Solve the quadratic equation:
y = x2 - 5x + 6
`]: [`x = 2, x = 3`], [`The diagram shows a cube placed on top of a cuboid.
A is the point (7, 3, 8)
Identify the coordinates of the point B.

Which of the following graphs represent y = cos (x + 45)o?
`]: [`


Remove brackets and simplify:
(2x + 1)(x2 - 2)
`]: [`2x3 + x2 - 4x - 2`], [`Identify the nature and coordinates of the turning point of the graph with the equation:
y = (x - 7)(x + 3)
`]: [`Minimum turning point at (2, -25)`], [`

A biology class recorded the number of plant species found in two towns: Abercastle and Duncastle.
Which of the following statements make a valid comparison between the species counts in Abercastle and Duncastle?
Solve the quadratic equation:
7x2 + 2x - 10 = 0
`]: [`x = 1.06A trigonometric identity is shown below with the trigonometric functions replaced by P, Q and R.

Identify P, Q and R.
`]: [`P = tan
Q = sin
R = cos
`], [`Identify the equation of the axis of symmetry of the graph with the equation:
y = (x + 13)2 - 5
`]: [`>x = -13`], [`Calculate the volume in cubic metres (m3) of a cuboid with sides:
Express the following in the form (x + a)2 + b:
z2 + 16z + 32
`]: [`(z + 8)2 - 32`], [`Calculate the length of AC, giving your answer to the nearerst whole unit.

This ball has a radius of 6 m.

Calculate the volume of the ball to 1 decimal place.
`]: [`>904.8`], [`

A fast food chain has increased the size of their Flaming Inferno burger and it now weighs 157.5 g.

What was the original weight (g) of the Flaming Inferno?
`]: [`>140 g`], [`Solve, algebraically, the system of equations
5a + 3b = 15
6a - 5b = 61
`]: [`a = 6, b = - 5`], [`Which trigonometrical function has a period of 360o and cuts the x axis at 270o?
`]: [`y = cosxo
`], [`Factorise:
7a2 - 28b2
`]: [`>7(a - 2b)(a + 2b)`], [`

Evaluate k1
`]: [`>k`], [`Evaluate 601 × 60 - 71 × 61
`]: [`>18`], [`Calculate the length of KL.

60 mm
`], [`The shapes below are mathematically similar.
What is the volume of the smaller shape in cubic metres?

Express the following in the form (x + a)2 + b:
x2 - 8x + 25
`]: [`(x - 4)2 + 9`], [`Simplify (yz)20
`]: [`y20z20`], [`


Which of the following is the discriminant of the quadratic formula?
`]: [`b2 - 4ac`], [`Simplify 9t6 × 3t-3
`]: [`27t3`], [`Calculate the area of the top of this cake.



Solve, algebraically, the system of equations
2x + 3y = 7
3x - 2y = 4
`]: [`x = 2, y = 1`], [`Calculate the total compound interest earned on savings of £4,500 over 3 years when the interest rate is 0.6% per annum.
`]: [`>£81.49`], [`Calculate the length of AC.

12.57 cm
`], [`Find the equation of the line joining points (-2, 8) and (1, 5).
Give the equation in its simplest form.
`]: [`


State the period of y = cos xo.
`]: [`360o
`], [`Calculate the volume of this cone.






This is a sketch of the graph:
`]: [`y = sin 1⁄2xo
`], [`A plant nursery keeps track of the amount of fertiliser used (F) and the average height (H) of tomato plants.

A line of the best fit has been drawn.
Find the equation of the line of best fit in terms of F and H.
`]: [`H = 5F + 20
`], [`Remove brackets and simplify:
(3x - 2)(7 - 3x)
`]: [`-9x2 + 27x - 14`], [`Review the information in this article:

The mountain glacier currently has a volume of 500 km3.
What will be its volume in 7 years time?
`]: [`376 km3`], [`Factorise:
x2 + 8x + 15
`]: [`>(x + 5)(x + 3)`], [`
What is the amplitude of this graph?
`]: [`2
`], [`Calculate the area of the triangle shown below.

115.47 m2
`], [`



Remove brackets and simplify:
(6n - 3)(12 + 6n)
`]: [`36n2 + 54n - 36`], [`Use simultaneous equations to find the total cost of 5 cokes plus 5 lemonades.

The diagram shows a rectangular based pyramid.
Identify the coordinates of the point B.

Factorise:
14m2 - 10m
`]: [`>2m(7m - 5)`], [`A big wheel at a fun fair forms the shape of a regular icosagon (20 sides). Determine the size of the highlighted angle p.

Factorise:
20p - 12
`]: [`>4(5p - 3)`], [`

The parabola below has an equation of the form:
y = (x - a)2 + b.
State the value of a.

Calculate the sector area.

Moussa walks 5.2 km at a bearing of 135ofrom the Newsagent.
Parveen walks 6 km at a bearing of 260o from the Newsagent.
Calculate the distance MP between Moussa and Parveen.

9.94 km
`], [`Simplify (r9)5
`]: [`r45`], [`


The diagram shows a cube placed on top of a cuboid.
A is the point (9, 5, 7)
Identify the coordinates of the point B.

Simplify b8 × b-5
`]: [`b3`], [`Determine the number and nature of the roots of the graph below:

Factorise:
2y2 - 98
`]: [`>2(y - 7)(y + 7)`], [`



Simplify (9n7)2
`]: [`81n14`], [`

Factorise:
x2 + 3x + 2
`]: [`>(x + 2)(x + 1)`], [`During a week, a student recorded the number of minutes they spent on homework each day:

Calculate the mean time spent on homework per day.
`]: [`>84`], [`Find the equation of the line joining points (-4, -6) and (-1, -3).
Give the equation in its simplest form.
`]: [`
Factorise:
9t2 + 3t - 2
`]: [`>(3t - 1)(3t + 2)`], [`What are the roots of the quadratic equation y = (x + 4)(x + 7)?
`]: [`x = -4, x = -7`], [`Calculate the distance between Alpha Island and Beta Island.

106.43 km
`], [`Calculate the volume of this sphere.

The number of press-ups completed by each participant in a fitness challenge was noted:

Find the Interquartile Range for the number of press-ups completed.
`]: [`>6`], [`
Calculate the size of the angle at K.

40.3o
`], [`


Calculate the arc length.

Express the following in the form (x + a)2 + b:
x2 - 6x + 5
`]: [`(x - 3)2 - 4`], [`Part of the graph y = sin a (x + b)o is shown.
State the value of a.

A snowman’s head forms a perfect circle with radius 13cm. His nose is at the centre of the circle O. The snowman’s hat creates a chord AC of length 24 cm with midpoint B.
Calculate the distance OB from his nose to the midpoint of the chord formed by his hat.

The cosine rule is shown below. What has been removed at X?

cos A
`], [`Which colour represents the graph y = cos xo?


The sector shown has a 70o angle and a radius of 12 m.
Calculate the sector area.

Ravi buys a Seat Ibiza for £6200.
It depreciates in value at a rate of 8% each year.

Which of the following can be used to calculate the value of the car after 5 years?
`]: [`(0.92)5 × 6200`], [`



The diagram shows a cuboid.
Identify the coordinates of the point C.

Factorise:
72a - 56a2
`]: [`>8a(9 - 7a)`], [`Calculate the size of the angle at P.

73.27o
`], [`

Remove brackets and simplify:
5x2(x + 2) + 3x(x + 7)
`]: [`5x3 + 13x2 + 21x`], [`


Oban is located at latitude 56.41535 and longitude -5.47184.
What is Oban’s latitude when rounded to 4 significant figures?

Determine the number and nature of the roots of the graph below:



A straight line has equation -5x + 2y - 4 = 0
Find the y-intercept of this line.
`]: [`>2`], [`

Determine the value of the discriminant for the quadratic function:
y = 2x2 + 3x + 2
`]: [`>-7`], [`
Evaluate x0
`]: [`>1`], [`Mason buys a video games console for £399.
The console depreciates in value at a rate of 34% per year.
Mason sells the console at a price in line with depreciation after 2 years.
What is the difference between the price Mason paid for the console and the price he sold it for?
`]: [`£225.20`], [`
Find the resultant vector p - q.
`]: [`
Korner Koffee compares the price charged for a cup of coffee (P), to the average customer satisfaction rating out of 10 (R).

A line of the best fit has been drawn.
Find the equation of the line of best fit in terms of R and P.
`]: [`R = - 0.02 P + 10
`], [`

Factorise:
8n2 - 35n - 25
`]: [`>(8n + 5)(n - 5)`], [`Calculate the height of this cone if the volume is 288 cm3.

Solve 5 tan xo - 3 = 0, where 0 ≤ x ≤ 360
`]: [`31o, 211o
`], [`If O is the centre of the circle, calculate the size of angle BAD.

Solve 3 cos xo = 1, where 0 ≤ x ≤ 360
`]: [`70.5o, 289.5o
`], [`

Determine the number and nature of the roots of the quadratic function:
7x2 - 3x + 5 = 0
`]: [`No real roots`], [`Calculate the distance between Alpha Island and Beta Island.

18.49 km
`], [`

Solve, algebraically, this pair of simultaneous equations and hence give a value for x.
x + 2y = 15
3y = 19 - x
`]: [`>x = 7`], [`

Solve the quadratic equation:
x2 + 13x + 23 = 0
`]: [`x = - 2.11Factorise:
30y2 - 7y - 15
`]: [`>(5y + 3)(6y - 5)`], [`Solve the quadratic equation:
2x2 + 21x = 1
`]: [`x = 0.05Find the equation of the line joining points (4, 10) and (7, 19).
Give the equation in its simplest form.
`]: [`
Solve the quadratic equation 3x2 - 9x + 2 = 0
(Give the roots to 2 decimal places separated by a comma)
Simplify (n5)-2
`]: [`n-10`], [`Solve the quadratic equation:
3x2 - 11x + 1 = 0
`]: [`x = 3.57Factorise:
x2 - 400
`]: [`>(x - 20)(x + 20)`], [`Find the gradient of the straight line which passes through the points (-3, 3) and (2, -7)
`]: [`>-2`], [`


This is a sketch of the graph:
`]: [`y = 2 sin xo
`], [`Use simultaneous equations to find the total cost of 4 apples and a banana if:

A function is defined as f(x) = 5x - 2.
Given that f(a) = 23, calculate a.
`]: [`>5`], [`
Simplify 42a10 ÷ 6a4
`]: [`7a6`], [`Simplify 20n8 ÷ 4n5
`]: [`5n3`], [`
Find the vector a.
`]: [`
Calculate the volume of this sphere.

The circle below has a radius of 17 cm, a chord PR of length 30 cm, and a centre at O.
The point Q is the midpoint of the chord PR.

Calculate the length of OQ.
`]: [`>8`], [`

Calculate the size of the angle at Q.

58.31o
`], [`
This is the graph:
`]: [`y = cos xo`], [`Simplify 3m3 × 2m5 × 6m6
`]: [`36m14`], [`

Solve sin xo = 0.707, where 0 ≤ x ≤ 360
`]: [`45o, 135o
`], [`Part of the graph y = a sin xo + b is shown.
State the value of a.

Calculate the size of the angle at M.

138.8o
`], [`


Remove brackets and simplify:
(y + 1)(2y + 3)
`]: [`2y2 + 5y + 3`], [`A straight line has equation -5x - 5y + 25 = 0
Find the gradient of this line.
`]: [`>-1`], [`Factorise:
121bc - 33cd + 44ce
`]: [`>11c(11b - 3d + 4e)`], [`A trigonometric identity is shown below.

What should appear on the left hand side of the equation?
`]: [`cos2 xo
`], [`
Calculate the area in square metres of a rectangle with sides:
Factorise:
12ab2 + 15a2b
`]: [`>3ab(4b + 5a)`], [`The time (in minutes) it took for participants in a coding challenge to solve a problem was recorded. The times are:

Find the Interquartile Range of the time taken to solve the puzzle.
`]: [`>15`], [`A school's basketball team scored the following points in six games:

Calculate the mean number of points scored per game.
`]: [`>55`], [`Identify the coordinates of the turning point of the graph with the equation y = (2 - x)(x - 6)
`]: [`>(4, 4)`], [`
What is the population of the town of Weston when rounded to 3 significant figures?
`]: [`>1040`], [`ABCDPQRS is a cuboid.
Identify the coordinates of the point C.

Factorise:
16a + 24
`]: [`>8(2a + 3)`], [`Calculate the volume of all spotted cones.

Simplify (gh)9
`]: [`g9h9`], [`
Identify the equation of the axis of symmetry of the graph with the equation:
y = (x - 6)2
`]: [`>x = 6`], [`Express the following in the form (x + a)2 + b:
x2 + 4x - 9
`]: [`(x + 2)2 - 13`], [`A builder uses 11362 bricks to build a house.
What number of bricks were used when rounded to 3 significant figures?

Factorise:
13k + 15kr
`]: [`>k(15r + 13)`], [`Anya gets paid £339.20, which includes a bonus of 6%.
What is Anya’s basic wage before her bonus is added?
`]: [`>£320`], [`Solve the quadratic equation:
x2 - 3x - 5 = 0
`]: [`x = 4.19The postcard and painting below are mathematically similar.
Calculate the height x of the painting.



Remove brackets and simplify:
7z(z - 4) + 3(z + 10)
`]: [`7z2 - 25z + 30`], [`

What are the roots of the quadratic equation y = (x - 5)(2x - 3)?
`]: [`x = 5, x = 1.5`], [`Calculate the angle at x.

Remove brackets and simplify:
5(2 + b) - 3(4 + b)
`]: [`2b - 2`], [`On Irasmanuka Island:
Calculate the distance between Achron Mill and Baldon’s House.

44.79 km
`], [`During a school science experiment, a group of students measured the growth of a plant over 11 days.
The growth in millimeters was:

Determine the median growth of the plant.
`]: [`>8 mm`], [`Remove brackets and simplify:
(2p - 2)(p2 - 5p + 1)
`]: [`2p3 - 12p2 + 12p - 2`], [`Solve 4(2y + 10) -6(5 - y) + 7 = 3
`]: [`>y = -1`], [`Remove brackets and simplify:
(m + 7)2
`]: [`m2 + 14m + 49`], [`
Find the resultant vector p + q.
`]: [`
Which of the following graphs represent y = cos 4xo?
`]: [`
GadgetGrove is having a sale with 40% off all products.

Mohamed bought a new gaming console in the sale.
How much was the console originally?
`]: [`>£300`], [`

Determine whether the triangle below is right-angled.

Calculate the diameter of this cone if its volume is 167.55 cm3

Identify the equation of the axis of symmetry of the graph with the equation:
y = (x + 3)2 - 5
`]: [`>x = - 3`], [`An energy company compares the monthly electricity usage (E), with the monthly bill (B).

A line of the best fit has been drawn.
Find the equation of the line of best fit in terms of B and E.
`]: [`B = 0.25 E + 20
`], [`Given the vectors p and q, which if the following shows 2p + 3q?


Determine the number and nature of the roots of the quadratic function:
- 4x2 + 12x = 9
`]: [`One repeated real root`], [`Solve sin xo = 0.966, where 0 ≤ x ≤ 360
`]: [`75o, 105o
`], [`Solve, algebraically, the system of equations
3x + 4y = 5
- 2x + 5y = 12
`]: [`x = - 1, y = 2`], [`Remove brackets and simplify:
(h + 5)(h + 4)
`]: [`h2 + 9h + 20`], [`Remove brackets and simplify:
(y + 6)(y - 7)
`]: [`y2 - y - 42`], [`Faysal recorded the time it took to walk his dog on 6 separate occasions:

Calculate the standard deviation of Faysal's dog walking time.
`]: [`15.55 minutes
`], [`The following formula is used to calculate the compound interest earned on a bank account:
(1.07)4 × 20 - 20
What is the interest rate?
`]: [`7%`], [`Which of the following graphs represent y = sin (x - 45)o?
`]: [`



Solve, algebraically, the system of equations
x + 3y = 10
2x + 5y = 18
`]: [`x = 4, y = 2`], [`Factorise:
6m2 - 17m + 5
`]: [`>(3m - 1)(2m - 5)`], [`PR is a tangent to a circle with centre O and radius 12 cm. QR has a length of 16 cm.

Find the length of line OR.
`]: [`>20 cm`], [`Identify the coordinates of the turning point of the graph with the equation y = (5 - x)(3 - x)
`]: [`>(4, -1)`], [`


Calculate the volume of sphere with diameter 25 cm.
`]: [`8181 cm3`], [`Solve the quadratic equation:
y = x2 - 2x - 15
`]: [`x = - 3, x = 5`], [`Lisa noted the number of photos she took on her phone each day for a week:

Calculate the mean number of photos taken per day.
`]: [`>26`], [`The circle below has a radius of 17 cm and a chord AC of length 30 cm. The point B is the midpoint of the chord AC.
Calculate the length of chord BD.

Factorise:
3x2y2 + 6xy2 - 12x2y
`]: [`>3xy(xy + 2y - 4x)`], [`Calculate the area of the triangle shown below.

208.75 cm2
`], [`
How much cola (in ml) did the previous size of bottle contain?
`]: [`>340 ml`], [`

Factorise:
9p2 - 25
`]: [`>(3p - 5)(3p + 5)`], [`Part of the graph y = sin a xo - b is shown.
State the value of a.

The shapes below are mathematically similar. What is the length of x?

Determine the number and nature of the roots of the quadratic function:
y = 9x2 - 3x + 2
`]: [`No real roots`], [`Factorise:
x2 - y2
`]: [`>(x - y)(x + y)`], [`Remove brackets and simplify:
(8t + 3)(5t - 6)
`]: [`40t2 - 33t - 18`], [`Remove brackets and simplify:
(p + 2)(p + 3)
`]: [`p2 + 5p + 6`], [`Calculate x.

Solve 6b + 12 = 0
`]: [`>b = -2`], [`Remove brackets and simplify:
2(5d + 4) + 2(d - 1)
`]: [`12d + 6`], [`Factorise:
34xy - 85xz
`]: [`>17x(2y - 5z)`], [`

Factorise:
y2 - 11y + 18
`]: [`>(y - 2)(y - 9)`], [`

The parabola below has an equation of the form:
y = (x - a)2 + b.
Identify the equation of the parabola.

y = - (x + 2)2
`], [`Remove brackets and simplify:
(2b - 4)(5 - 3b)
`]: [`-6b2 + 22b - 20`], [`A straight line has equation -3x + y + 3 = 0
Find the gradient of this line.
`]: [`>3`], [`Points have been generated to graphically solve simultaneous equations:
y = 2x + 2 and y + x = 2

Identify A and B.
`]: [`A = 6
B = 4
`], [`

The sphere below has a radius of 4 cm.

Calculate the volume of the sphere to 1 decimal place.
`]: [`>268.1`], [`Calculate the total compound interest earned on savings of £450 over 5 years when the interest rate is 2.7% per annum.
`]: [`>£64.12`], [`A big wheel at a fun fair forms the shape of a regular icosagon (20 sides). Determine the size of the highlighted angle r.

NASA have built a city on Mars. The city is a rectangular shape, dimensions 1.5 × 103 m by 6.5 × 104 m.
Calculate the area of the city in square metres.



Find the resultant vector 2p + q.
`]: [`
Remove brackets and simplify:
y + 2(y - 5)
`]: [`3y - 10`], [`The simultaneous equations
y = 2x + 3 and y = 3 - x
have been solved graphically.
Which of the following graphs show the correct solution?
`]: [`
Solve tan xo = 1, where 0 ≤ x ≤ 360
`]: [`45o, 225o
`], [`A function is defined as f(x) = x2 + 5.
Given that f(a) = 41, and a >= 0, calculate a.
`]: [`>6`], [`


Find the equation of the line joining points (-1, -7) and (1, 3).
Give the equation in its simplest form.
`]: [`
Simplify:

tan2 xo
`], [`




Does the vertical fence post meet at a right angle with the horizontal fence post?





Simplify (10k5)2 ÷ 4k3
`]: [`25k7`], [`
Find the equation of the line joining points (-1, 3) and (3, 5).
Give the equation in its simplest form.
`]: [`
AB is a tangent to a circle with centre O and radius 21 m. AP is 18 m.

Find the length of line OA.
`]: [`>27.66 m`], [`Calculate the volume of the snooker ball.

The shape shown is a regular hexagon. Determine the size of the highlighted angle c.



Simplify (b5)4 ÷ b17
`]: [`b3`], [`Calculate the size of the angle at Q, giving your answer to the nearest degree.

Identify the nature and coordinates of the turning point of the graph with the equation:
y = (9 - x)(x + 3)
`]: [`Maximum turning point at (3, 36)`], [`Calculate the area of the top of this slice of cake.

The diagram shows a cuboid.
Identify the coordinates of the point C

Factorise:
p3 - 9p
`]: [`>p(p - 3)(p + 3)`], [`

Simplify n5 × n × n
`]: [`n7`], [`

Factorise:
6j - 14k
`]: [`>2(3j - 7k)`], [`Factorise:
2y2 - 5y - 7
`]: [`>(2y - 7)(y + 1)`], [`

Calculate length of side AC, giving your answer in units rounded to the nearest whole number.

A straight line has equation 5x - y - 5 = 0
Find the gradient of this line.
`]: [`>5`], [`Solve the quadratic equation x2 + 5x - 7 = 0
(Give the roots to 2 decimal places separated by a comma)
The triangles below are mathematically similar. What is the length of x?

Three boats are shown at A, B and C.

How far is boat C from boat A?
`]: [`8.09 km
`], [`Freya buys a skateboard for £95. The skateboard depreciates in value at the rate of 18% each year.

How much will Freya’s skateboard be worth after 3 years, to the nearest pound (£)?
`]: [`>£52`], [`Use simultaneous equations to find the length of a single brick.

Factorise:
b2 - 100c2
`]: [`>(b - 10c)(b + 10c)`], [`Calculate the gradient of the line EF:

PR is a tangent to a circle with centre O.

Calculate the radius of the circle.
`]: [`>4 cm`], [`

Factorise:
12p2 - 8p - 15
`]: [`>(6p + 5)(2p - 3)`], [`Solve the quadratic equation:
y = x2 - 10x + 16
`]: [`x = 2, x = 8`], [`A straight line has equation -7x + 4y + 8 = 0
Find the y-intercept of this line.
`]: [`>-2`], [`

The sector shown has a 300o angle and a radius of 5 mm.
Calculate the sector area.

Solve tan xo = - 1, where 0 ≤ x ≤ 360
`]: [`135o, 315o
`], [`Determine the number and nature of the roots of the quadratic function:
y = -6x2 + 7x + 3
`]: [`Two real and distinct roots`], [`Remove brackets and simplify:
7(q - 2) + 5(q + 6)
`]: [`12q + 16`], [`Remove brackets and simplify:
(z + 1)(z + 9)
`]: [`z2 + 10z + 9`], [`Given that f(x) = 3x2 - 4, evaluate f(3)
`]: [`>23`], [`When using the discriminant with y = x2 - 3x - 7, what are the values of a, b and c?
`]: [`a = 1, b = -3, c = -7`], [`The formula used to calculate the Enlargement Volume Scale Factor for mathematically similar shapes is shown below.
Identify x, y and z which have been removed from the formula.

x = larger shape
y = smaller shape
z = 3
`], [`



Determine whether the triangle below is right-angled.




If O is the centre of the circle, calculate the size of angle BAC.

Kwasi tracks the number of steps he walks in a day, recorded over a week as follows:

Calculate the Interquartile Range of Kwasi's daily step count.
`]: [`>1600`], [`
Which of the following graphs represent y = 4 cos xo?
`]: [`


What does the following quadratic graph tell us about the value of the discriminant?

Solve the quadratic equation:
6x2 - 35x = 2
`]: [`x = 5.89

Calculate the area of the triangle shown below, giving your answer in square units, rounded to the nearest whole number.

A circular plate has centre O and radius 18 cm. A napkin creates a chord PR with length 32 cm and midpoint Q.
Calculate the length of OQ.

Charlie's dog Alfie runs 27m from the park at a bearing of 278o.
Charlie goes searching for Alfie, running 16m from the park at a bearing of 031o.
Calculate the distance AC between Alfie and Charlie.

36.37 m
`], [`Simplify:
cos A tan A - sin A
`]: [`>0`], [`A river flows at a rate of 5 × 103 cubic metres per second.
If the river flows for 2.4 × 104 seconds, what is the total volume in cubic metres of water that has flowed?

Solve 7(x - 5) - 6 = 10 - 3(3x + 1)
`]: [`>3`], [`Round 0.0003846 to to 3 significant figures
`]: [`>0.000385`], [`Express the following in the form (x + a)2 + b:
y2 - 6y - 2
`]: [`(y - 3)2 - 11`], [`
This is a sketch of the graph:
`]: [`y = cos 4xo
`], [`
A student recorded the number of text messages they received each day for two weeks.
The numbers were:

Calculate the median number of text messages received per day.
`]: [`>8.5`], [`Evaluate k1m0n0p1r1
`]: [`>kpr`], [`Solve the quadratic equation:
y = x2 - 9x + 20
`]: [`x = 5, x = 4`], [`Identify the nature and coordinates of the turning point of the graph with the equation:
y = (x + 4)(x + 10)
`]: [`Minimum turning point at (-7, -9)`], [`
Remove brackets and simplify:
(m - 7)(m + 2)
`]: [`m2 - 5m - 14`], [`



The perfume bottles below are mathematically similar.
What is the volume of the larger bottle?

PQ is the diameter of a circle. The angle QPR is 64° and the angle QPS is 38°.
Calculate angle RQS.



Calculate the volume of this cone.



Round 4754 to to 2 significant figures
`]: [`>4800`], [`Calculate the area of the triangle shown below.

5.07 cm2
`], [`Factorise:
5x2 + 12x + 4
`]: [`>(5x + 2)(x + 2)`], [`A wildlife reserve introduced a population of 1200 deer this.
The deer population is expected to increase by 7% each year.

Which of the following can be used to calculate the number of deer that will have been introduced within 4 years?
`]: [`(1.07)4 × 1200`], [`Douglas paid £14·30 for a t-shirt in a sale.
The discount in the sale was 35%.
Calculate the original price of the t-shirt.
`]: [`>22`], [`Calculate the length of PQ.

8.88 m
`], [`Calculate the angle at y.



Elijah bought a collection of Michael Jordan trainers for £160 three years ago.
He sees an article online which shows the annual appreciation of the trainers.

How much are the trainers worth now?
`]: [`>£297.74`], [`Simplify (6p15)2
`]: [`36p30`], [`Calculate the volume of the traffic cone.

The sphere below has a radius of 1 cm.

Calculate the volume of the sphere to 1 decimal place.
`]: [`>4.2`], [`Which of the following graphs represent y = 4 sin xo?
`]: [`

Andrew buys a house for £300,000. It increases in value at the rate of 12.5% each year.
How much is it worth after 3 years?
`]: [`>£427,148.44`], [`Solve, algebraically, this pair of simultaneous equations and hence give a value for a.
2a - 3b = 16
a + 2b = - 6
`]: [`>2`], [`



Calculate the volume of the jewellery box.

Factorise:
y3 + y4 - y2
`]: [`y2(y2 + y - 1)`], [`The shape shown is a regular octagon. Determine the size of the highlighted angle b.

A rectangular based pyramid has the following dimensions:
Calculate the volume of the pyramid.
`]: [`90 cm3`], [`Identify the missing trigonometric function(s) marked with an 'X' on the CAST diagram.

cos
`], [`Remove brackets and simplify:
(x + 4)(x2 + 4)
`]: [`x3 + 4x2 + 4x + 16`], [`
This is a sketch of the graph:
`]: [`y = tan (x - 45)o
##id=button_2`], [`Remove brackets and simplify:
(2w + 1)(3w - 4)
`]: [`6w2 - 5w - 4`], [`Calculate the gradient of the line DE:

Calculate the area of the triangle shown below, giving your answer in square units, rounded to the nearest whole number.

Factorise:
x2 + 6x + 5
`]: [`>(x + 5)(x + 1)`], [`Arjun buys a mobile phone for £750.
It depreciates in value at a rate of 24% each year.
How much is it worth after 3 years?
`]: [`>£329.23`], [`Remove brackets and simplify:
3(p - 5) - p + 4
`]: [`2p - 11`], [`The triangles below are mathematically similar.
Calculate the length x.



Calculate the volume of the tent.



The cuboids below are mathematically similar.
What is the volume of the smaller cuboid?

Which of the following show the graph y = (x + 1)(x - 1)
`]: [`


This is the graph:
`]: [`y = tan xo`], [`

Simplify (z4)6 × z2
`]: [`z26`], [`Identify the roots of the equation:
y = (x - 9)(x + 3)
`]: [`x = 9, x = - 3`], [`

Which of the following graphs represent y = sin xo + 4?
`]: [`
Calculate the size of the angle at C, giving your answer to the nearest degree.

The cone below has a radius of 2 cm and a height of 5 cm.

Calculate the volume of the cone to 1 decimal place.
`]: [`>20.9`], [`Dan knows the lengths of all 3 sides in a triangle.
He wants to calculate the size of one of the angles. Which formula should he use?




Calculate the size of the angle at C, giving your answer to the nearest degree.

Which of the following graphs represent y = tan xo - 1?
`]: [`
Identify the gradient of the straight line with equation:
29 = 4y + 20x
`]: [`>-5`], [`Determine the value of the discriminant for the quadratic function:
5x2 - 10x + 5 = 0
`]: [`>0`], [`
A coral reef is losing its coral cover at a rate of 5% per year due to climate change.
If the reef has 1000 m2 of coral cover this year, how much coral cover will it have in 5 years time?
Round your answer to the nearest square metre (m2).
`]: [`>774`], [`

The number of new followers gained on a school's social media profile over 5 days is logged as:

Determine the Interquartile Range for the growth of the school's social media following.
`]: [`>8`], [`



Calculate the size of the angle at A.

57.9o
`], [`Solve 11 sin xo = - 3, where 0 ≤ x ≤ 360
`]: [`195.8o, 344.2o
`], [`

The cone below has a radius of 6 m and a height of 16 m.

Calculate the volume of the cone to 1 decimal place.
`]: [`>603.2`], [`

Factorise:
ab2 - 49ac2
`]: [`>a(b - 7c)(b + 7c)`], [`Part of the graph y = a cos (x - b)o is shown.
State the value of b.

Remove brackets and simplify:
(b - 2c2)(b2 - 3c)
`]: [`b3 - 2b2c2 - 3bc + 6c3`], [`Given the vectors p and q, which if the following shows 2p + q?


Which of the following graphs represent y = tan 3xo?
`]: [`
Two school football teams recorded their daily water intake over a period of 14 days.
Which of the following statements make a valid comparison between water intake of the two teams?
2 and 4
`], [`

Calculate the gradient of the line KL:

Determine whether the triangle below is right-angled.



Which colour represents the graph y = tan xo?


The number of minutes spent on video games each day by a class of teenagers (4B3) is recorded for one week:

Calculate the Interquartile Range the time spent gaming by 4B3.
`]: [`>40`], [`Identify the coordinates of the turning point of the graph with the equation y = (x + 3)(x - 5)
`]: [`>(1, -16)`], [`Factorise:
16a2 - 49b2
`]: [`>(4a - 7b)(4a + 7b)`], [`

The pyramid below has a base 10 cm by 8 cm and a height of 15 cm.

Calculate the volume of the pyramid.
`]: [`>400`], [`When using the discriminant with y + 5x = 3x2 + 2, what are the values of a, b and c?
`]: [`a = 3. b = -5, c = 2`], [`Calculate the size of the angle at B.

62.86o
`], [`Factorise:
y2 + 4y - 21
`]: [`>(y + 7)(y - 3)`], [`

Calculate the gradient of the line AB:


The simultaneous equations
y = 3x - 1 and 2x + y = 4
have been solved graphically.
Which of the following graphs show the correct solution?
`]: [`
Duncastle High School tracks the number of books read, B, and the writing score, W, of students.

A line of the best fit has been drawn.
Find the equation of the line of best fit in terms of B and W.
`]: [`W = B + 60
`], [`The shapes below are mathematically similar. Calculate x.

The number of hours spent on homework by a student during a two-week period is recorded as follows:

Calculate the Interquartile Range for the time spent on homework.
`]: [`>1.5`], [`

Remove brackets and simplify:
(p + 3)(p - 5)
`]: [`p2 - 2p - 15`], [`Find the equation of a straight line with gradient m = 5 which passes through the point (1, -3).
`]: [`
Factorise:
54ab2 - 12a2b
`]: [`>6ab(9b - 2a)`], [`The simultaneous equations
5y - 10 = 5x and y = - x
have been solved graphically.
Which of the following graphs show the correct solution?
`]: [`
Factorise:
25 - 16x2
`]: [`>(5 - 4x)(5 + 4x)`], [`Express the following in the form (x + a)2 + b:
x2 + 8x - 7
`]: [`(x + 4)2 - 23`], [`

Factorise:
x2 - 64
`]: [`>(x - 8)(x + 8)`], [`Calculate the volume of this sphere.

Part of the graph y = a cos (x - b)o is shown.
State the value of a.

Calculate the length of AC, giving your answer to the nearerst whole unit.





The formula used to calculate the Reduction Volume Scale Factor for mathematically similar shapes is shown below.
Identify x, y and z which have been removed from the formula.

x = smaller shape
y = larger shape
z = 3
`], [`
This is a sketch of the graph:
`]: [`y = 5 cos xo
`], [`Joanne buys a gold watch for £800. It increases in value at the rate of 7.5% each year.
How much is it worth after 5 years?
`]: [`>£1148.50`], [`A group of athletes' heart rates were monitored during two different workouts.
Which of the following statements make a valid comparison between the heart rates in Workouts A and B?
The rectangles below are mathematically similar.
What is the area of the smaller rectangle?

Factorise:
13a2 - 13b2
`]: [`>13(a - b)(a + b)`], [`

The following formula is used to calculate the compound interest earned on a bank account:
(1.05)10 × 50 - 50
What was the initial balance?
`]: [`£50`], [`Ben buys an e-bike for £185 less than the average price.
How much will Ben’s e-bike be worth after 6 years?



The circle below has a radius AO of 20 cm. P is the midpoint of chord BC and OP is of length 16 cm.
Calculate the length of chord BC.

Solve, algebraically, the system of equations
5y - 2x = 11
2y + 2x = - 4
`]: [`x = - 3, y = 1`], [`A lighthouse beam covers an angle of 120o and reaches a distance of 2km from the lighthouse.
Calculate the area of the sea that is illuminated.

A rectangular based pyramid has the following dimensions:
Calculate the volume of the pyramid.
`]: [`147 cm3`], [`

ABCDEFGH is a cuboid of length 40 mm, breadth 9 mm and height 12 mm.

Calculate the length of diagonal BG to 1 decimal place.
`]: [`>42.7 mm`], [`The arc shown has a 70o angle and a radius of 12 m.
Calculate the arc length.

The shape shown is a regular hexagon. Determine the size of the highlighted angle d.

The triangles below are mathematically similar.
What is the area of the smaller triangle?


Simplify y6 × y7
`]: [`y13`], [`

Factorise:
26de + 65ef
`]: [`>13e(2d + 5f)`], [`Identify the equation of the axis of symmetry of the graph shown.

Find the equation of a straight line with gradient m = -3 which passes through the point (-2, 7).
`]: [`




A function is defined as f(x) = x2 - 7.
Given that f(a) = 29, and a >= 0, calculate a.
`]: [`>6`], [`

Identify the missing rule in the quadrant marked with an 'X' on the CAST diagram.

360o - xo
`], [`Which of the following graphs represent y = sin 8xo?
`]: [`


ABCDEFGH is a cuboid of length 48 cm, breadth 20 cm and height 30 cm.
Calculate the length of the diagonal DE.

Factorise:
6x2 + 19x + 15
`]: [`>(2x + 3)(3x + 5)`], [`

Solve, algebraically, this pair of simultaneous equations and hence give a value for a.
3a + 3b = 21
6a - 4b = 22
`]: [`>5`], [`The parabola below has an equation of the form:
y = (x - a)2 + b.
Identify the equation of the axis of symmetry.

x = - 2
`], [`Calculate length of side PQ, giving your answer in units rounded to the nearest whole number.

Calculate the volume a cone with diameter 9 cm and height 13 cm.
`]: [`275.7 cm3`], [`Remove brackets and simplify:
11(y + 2) - 4(y + 7)
`]: [`7y - 6`], [`

The stars below are mathematically similar. What is the length of side x?

The parabola below has an equation of the form:
y = (x - a)2 + b.
State the value of a.

Simplify (2pqr)6
`]: [`64p6q6r6`], [`

Solve, algebraically, the system of equations
2x + 4y = - 6
3x + 3y = - 3
`]: [`x = 1, y = - 2`], [`Calculate the length of the remaining crust on this pizza if the diameter of the pizza is 12 cm.

Calculate the volume of this cone.

Part of the graph y = a sin xo + b is shown.
State the value of b.

The drawings of these two houses are mathematically similar.
If the height of the red door is 1.8 cm, what is the height of the green door?

A beach cleanup initiative compares the amount of rubbish collected (R) to the area of the beach cleaned (B).

A line of the best fit has been drawn.
Find the equation of the line of best fit in terms of R and B.
`]: [`R = 3B + 50
`], [`

Solve 7 cos xo + 5 = 0, where 0 ≤ x ≤ 360
`]: [`135.6o, 224.4o
`], [`Remove brackets and simplify:
6r(2r - 3) + 2r(r + 3)
`]: [`14r2 - 12r`], [`




Calculate the size of the angle at K.

42.06o
`], [`Solve 18 - (2y + 3) = 5(3y - 7) - 1
`]: [`>y = 3`], [`Remove brackets and simplify:
(y - 3)(4y2 - 2y - 1)
`]: [`4y3 - 14y2 + 5y + 3`], [`The envelopes below are mathematically similar.
What is the area of the larger envelope?

ABCDEFGH is a cube.

Identify the coordinates of the point A.
`]: [`>(4, 0, 0)`], [`The arc shown has a 60o angle and a diameter of 9 m.
Calculate the arc length.

Identify the roots of the equation:
y = (x - 5)(7 - x)
`]: [`x = 5, x = 7`], [`Determine whether the triangle below is right-angled.

Evaluate a × 50
`]: [`>a`], [`Determine the value of the discriminant for the quadratic function:
y = x2 + 2x - 8
`]: [`>36`], [`Evaluate p0q0r0
`]: [`>1`], [`Part of the graph y = sin a xo - b is shown.
State the value of b.

The parabola below has an equation of the form:
y = (x - a)2 + b.
Identify the equation of the parabola.

y = (x + 1)2 - 5
`], [`Remove brackets and simplify:
(b - 5)(5 - b)
`]: [`-b2 + 10b - 25`], [`A function is defined as f(x) = 6x + 4.
Given that f(a) = 40, calculate a.
`]: [`>6`], [`Calculate the length of BC.

5.05 mm
`], [`

A sponge cake is a perfect circle, with radius 14 cm. A slice of the cake has been cut away forming a chord PR of length 18 cm and a midpoint Q.
Calculate the length of QS.

A city park currently has 185 benches. Due to wear and tear, the number of benches is decreasing by 1% each year, and these are never replaced.
How many benches will the park have in 15 years time, to the nearest whole number?
`]: [`>159`], [`A cinema tracks the number of adverts shown before a film (A) and the audience's satisfaction rating out of 10 (R).

A line of the best fit has been drawn.
Find the equation of the line of best fit in terms of R and A.
`]: [`
Calculate the height of the pyramid.

Which of the following show the graph y = (x + 1)(x - 3)
`]: [`
The number of songs that Ellie streamed from Spotify over a week was recorded as:

What is the median number of songs played in a day?
`]: [`>27`], [`The base of a fish tank ABCD has length 35 cm and breadth 12 cm.
Calculate the length of diagonal CE if the height of the tank is 18 cm.

Calculate length of side AB, giving your answer in units rounded to the nearest whole number.





The pyramid below has a base 14 m by 11 m and a height of 18 m.

Calculate the volume of the pyramid.
`]: [`>924`], [`Part of the graph y = sin a (x + b)o is shown.
State the value of b.





Identify the equation of the axis of symmetry of the graph with the equation y = (1 - x)(x + 3)
`]: [`>x = -1`], [`Solve, algebraically, this pair of simultaneous equations and hence give a value for y.
3x - 4y = 12
2x + 4y = 28
`]: [`>3`], [`



ABCDPQRS is a cuboid.
Identify the coordinates of the point S.

Factorise:
9d - 54e + 63f
`]: [`>9(d - 6e + 7f)`], [`On the Island of Hrisar:
Calculate the distance between the Anvil House and the Castle.

14.61 km
`], [`The circle below has a radius of 30 m and a chord PR of length 36 m. The point Q is the midpoint of the chord PR.
Calculate the length of SQ.

Express the following in the form (x + a)2 + b:
z2 + 16z - 7
`]: [`(z + 8)2 - 71`], [`Factorise:
160a - 240b + 400c
`]: [`>80(2a - 3b + 5c)`], [`Given the vectors p and q, which if the following shows p - q?







Aisha walks 3.5 km on a bearing of 055o from Cath's house.
Ben walks 1.2 km on a bearing of 135o from Cath's house.
Calculate the distance AB between Aisha and Ben.

3.5 km
`], [`The shape shown is a regular decagon. Determine the size of the highlighted angle x.

Simplify z2 × z9
`]: [`z11`], [`Simplify d4 × d3 × d
`]: [`d8`], [`Use simultaneous equations to find:

Lollipop: 13g
Sweet: 8g
`], [`Express the following in the form (x + a)2 + b:
3x2 + 12x - 6
`]: [`3(x + 2)2 - 18`], [`Identify the gradient of the straight line with equation:
11y + 121 = 55x
`]: [`>5`], [`
Find the resultant vector a - b.
`]: [`
State the period of y = sin xo.
`]: [`360o
`], [`Charlotte logs her weekly training run distance (D) against her best weekly 10 km time (T).

A line of the best fit has been drawn.
Find the equation of the line of best fit in terms of T and D.
`]: [`T = - 0.2 D + 60
`], [`The photographs below are mathematically similar.
Calculate the length x of the smaller photograph.



Solve the quadratic equation:
- 3x2 - 15x + 3 = 0
`]: [`x = - 5.19Calculate the size of the angle at L.

20.45o
`], [`Which of the following graphs represent y = tan (x - 60)o?
`]: [`
Remove brackets and simplify:
(x - 1)(2x2 - 6x + 5)
`]: [`2x3 - 8x2 + 11x - 5`], [`Calculate the arc length.


Mosi gets paid £1288, which includes a bonus of 12%.
What is Mosi’s basic wage before his bonus is added?
`]: [`>£1150`], [`Factorise:
pq - 4qr
`]: [`>q(p - 4r)`], [`Find the gradient of the straight line which passes through the points (0, -1) and (4, 2)
`]: [`>0.75`], [`The circle below has a radius AO of 26 cm. P is the midpoint of chord BC and OP is of length 10 cm.
Calculate the length of chord BC.

The rectangles below are mathematically similar.
Calculate the length x.

Which of the following graphs represent y = cos xo + 2?
`]: [`


Factorise:
8ab + 7bc
`]: [`>b(8a + 7c)`], [`ABCDEF is a triangular prism.

Identify the coordinates of the point B.
`]: [`>(6, 7, 5)`], [`Factorise:
5x2 + 3x - 2
`]: [`>(5x - 2)(x + 1)`], [`

ABCDPQRS is a cuboid.
Identify the coordinates of the point B.

The time Stephen spent on his mobile devices was recorded over five days.
The hours are:

Determine the Interquartile Range for his daily screen time.
`]: [`>2`], [`Factorise:
4x2 + 4x + 1
`]: [`>(2x + 1)(2x + 1)`], [`

Solve the quadratic equation 3x2 + 7x - 11 = 0
(Give the roots to 2 decimal places separated by a comma)

This is the graph:
`]: [`y = sin xo`], [`The dimensions of the paintings below are mathematically similar.
Calculate y, the height of the smaller painting.

State the period of y = tan xo.
`]: [`180o
`], [`

Express the following in the form (x + a)2 + b:
x2 + 4x + 10
`]: [`(x + 2)2 + 6`], [`Identify the roots of the equation:
y = (4x - 1)(2x + 1)
`]: [`x = 0.25, x = - 0.5`], [`Solve cos xo = - 0.5, where 0 ≤ x ≤ 360
`]: [`120o, 240o
`], [`

Identify the y-intercept of the straight line with equation:
7x = 4y - 24
`]: [`>6`], [`The boxes below are mathematically similar.
Calculate the length x.



Find the gradient of the straight line which passes through the points (4, -1) and (6, -2)
`]: [`>-0.5`], [`
A rectangular bedroom floor ABCD has length 360 cm and breadth 270 cm.
Calculate the length of diagonal CE if the height of the bedroom is 1.5m.

A straight line has equation 5x + 4y - 12 = 0
Find the y-intercept of this line.
`]: [`>3`], [`Calculate the length of KL.

115.4 cm
`], [`Calculate the area of the triangle shown below.

103.43 mm2
`], [`Ali pays £39.60 for a meal in a restaurant.
The restaurant adds a 10% service charge to the price of the meal.
What was the price of the meal before the service charge?
`]: [`>£36`], [`Part of the graph y = sin (x + a)o + b is shown.
State the value of a.

The shape shown is a regular dodecagon. Determine the size of the highlighted angle x.


Determine the value of the discriminant for the quadratic function:
2x2 - 3 = 5x
`]: [`>49`], [`Solve the quadratic equation:
y = x2 + 11x + 30
`]: [`x = - 5, x = - 6`], [`Express the following in the form (x + a)2 + b:
y2 + 12y + 4
`]: [`(y + 6)2 - 32`], [`

Simplify:
sin3 xo + sin xo cos2 xo
`]: [`sin xo
`], [`Identify the nature and coordinates of the turning point of the graph with the equation:
y = (x - 5)(x - 3)
`]: [`Minimum turning point at (4, -1)`], [`
Find the resultant vector p + q.
`]: [`


In a reading speed test, students were timed on two different texts.
Which of the following statements make a valid comparison between the reading times for Text 1 and Text 2?
The dimensions of a tennis court are shown below.

Calculate the area of the tennis court.
`]: [`12x2 - 14x - 40`], [`Identify the missing trigonometric function(s) marked with an 'X' on the CAST diagram.

tan
`], [`

Solve, algebraically, the system of equations
3x - 2y = 11
7x + 8y = 51
`]: [`x = 5, y = 2`], [`

State the amplitude of y = tan xo.
`]: [`undefined
`], [`The shape shown is a regular decagon. Determine the size of the highlighted angle y.

Calculate the area of the triangle shown below, giving your answer in square units, rounded to the nearest whole number.

The arc shown has a 240o angle and a radius of 20 cm.
Calculate the arc length.

Calculate the total compound interest earned on savings of £12,000 over 4 years when the interest rate is 1.3% per annum.
`]: [`>£636.27`], [`

Visi Cinemas offer a 12% discount on tickets bought for films showing before 8pm.
Lauren buys a ticket to see Holiday Horror as part of the deal, and pays £11.00.
How much would it cost to see the same film after 8pm?
`]: [`>£12.50`], [`Calculate the sector area.

Determine the number and nature of the roots of the quadratic function:
y = -8x2 - 9x + 8
`]: [`Two real and distinct roots`], [`The parabola below has an equation of the form:
y = (x - a)2 + b.
Identify the equation of the parabola.

y = 3 - (x - 2)2
`], [`Calculate the volume of the cone-shaped nose of this rocket ship.

Factorise:
16a2bc2 + 24ab2c2
`]: [`8abc2(2a + 3b)`], [`

The shapes below are mathematically similar. What is the length of side x?

Anna knows the length of two sides in a triangle, and the size of the included angle between them.
She wants to calculate the length of the remaining side. Which formula should she use?




The sector shown has a 60o angle and a diameter of 5 m.
Calculate the sector area.





Remove brackets and simplify:
(x - 4)(2x2 + 3)
`]: [`2x3 - 8x2 + 3x - 12`], [`Solve the quadratic equation:
- 3x2 + 2x + 3 = 0
`]: [`x = - 0.72Remove brackets and simplify:
7(3 - 2x) - 2(2 + x)
`]: [`- 16x + 17`], [`Identify the equation of the axis of symmetry of the graph with the equation y = (7 - x)(1 - x)
`]: [`>x = 4`], [`The sector shown has a 240o angle and a radius of 20 cm.
Calculate the sector area.



Solve the quadratic equation 2x2 + x - 34 = 0
(Give the roots to 2 decimal places separated by a comma)


ABCDEFGH is a cube.

Identify the coordinates of the point G.
`]: [`>(1, 2, 2)`], [`

Calculate the length of PQ.

16.6 cm
`], [`Round 19834578 to to 3 significant figures
`]: [`>19800000`], [`Solve the quadratic equation:
x2 + 2x - 13 = 0
`]: [`x = 2.74Simplify (5y)2
`]: [`25y2`], [`Factorise:
3x2 - 75
`]: [`>3(x - 5)(x + 5)`], // HISTORY [`Which are accurate statements about the limitations of the Third Reform Act of 1884?
Which are accurate statements about the British electoral system before the 1832 Reform Act?
During the 1800s, what worsened the spread of infections and diseases in densely populated British urban areas?
`]: [`Poor rubbish collection and presence of vermin`], [`How did the development of railways impact coastal shipping as a form of transport?
`]: [`Railways became a more reliable option, as shipping was often delayed by storms or tides`], [`What was one of the long-term impacts of Chartism on British politics?
`]: [`Chartism inspired future working-class campaigns and contributed to later political reforms`], [`What was one benefit of the Factory Acts for children?
`]: [`It raised the minimum working age`], [`What was one key change brought about by the Second Reform Act of 1867?
`]: [`It enfranchised male householders in boroughs paying rent of £10 or more`], [`Who was the main speaker at the Peterloo protest in 1819?
`]: [`Henry Hunt`], [`How did the Second Reform Act affect parliamentary representation in Britain?
`]: [`It redistributed seats, giving more representation to industrial cities`], [`What was one challenge caused by the rapid growth of towns and cities in the early 19th century?
`]: [`Poorly constructed housing and overcrowding`], [`Why was Greenwich Mean Time (GMT) introduced with the expansion of railways?
`]: [`To synchronise train schedules across the country`], [`Which are accurate statements about how railways contributed to the growth of national industries?
Which developments helped improve hospital hygiene and patient recovery during the 19th century?
Which leader played a key role in passing the Second Reform Act?
`]: [`Benjamin Disraeli`], [`What was one effect of the gradual introduction of new technologies in coal mines?
`]: [`It reduced accidents and fatalities`], [`What was a significant cause of respiratory diseases such as asthma and bronchitis in Britain during the 1800s?
`]: [`Dampness and mould in poorly constructed homes`], [`During the 19th century, what health issues did workers face in textile mills?
`]: [`Lung diseases such as bronchitis`], [`Which Act of Parliament significantly expanded the electorate by giving voting rights to rural working-class men?
`]: [`The Third Reform Act, 1884`], [`What was one major outcome of the introduction of antiseptic methods in surgery during the 1860s?
`]: [`Survival rates improved as infections were reduced`], [`What was the role of health boards established in the 19th century?
`]: [`To ensure housing laws and sanitation regulations were followed`], [`What was one result of the abolition of the Window Tax in 1851?
`]: [`Homes were able to have larger windows without financial penalty`], [`What task did children known as "trappers" perform in coal mines before the 1842 Mines Act?
`]: [`Opening and closing ventilation doors`], [`During the 19th century, how did the appointment of factory inspectors impact working conditions?
`]: [`It made factory owners more accountable for worker safety`], [`How did the 1832 Reform Act impact the future of political reform in Britain?
`]: [`It laid the groundwork for future reforms`], [`How did the development of the railway network affect British society by the mid-19th century?
`]: [`It connected major cities, making travel for work and leisure easier`], [`Which of the following reforms were introduced by the 1872 Coal Mines Regulation Act?
Which groups were banned from working underground by the 1842 Mines Act?
`]: [`Women and boys under the age of 10`], [`Which are accurate statements about the competition between railways and canals in the 19th century?
During the 19th century, what was one of the risks associated with long shifts in factories?
`]: [`Exhaustion, increasing the likelihood of accidents`], [`Which are accurate statements about how railways impacted the working class in Britain?
How did the 1832 Reform Act address the imbalance in parliamentary representation?
`]: [`It redistributed seats to industrial towns and cities`], [`Which of the following was not one of the six demands of the People's Charter of 1838?
`]: [`Voting rights for women`], [`Which of the following improvements helped reduce accidents in coal mines?
Which are accurate statements about how seasonal weather changes affected canals as a form of transport during the 19th century?
What role did advancements in steam engine technology play in the development of railways?
`]: [`They made railways more efficient for transporting goods and people`], [`How did the government react to the Peterloo Massacre in 1819?
`]: [`It defended the actions of the magistrates and Yeomanry`], [`Which are accurate statements about the decline of toll roads (turnpikes) as railways expanded?
In Britain during the 1800s, which of the following factors contributed to the high incidence of respiratory diseases in urban areas?
How did pollution from factories affect residential areas in towns and cities?
`]: [`It lowered air quality and worsened living conditions`], [`During the 1800s, contaminated water supplies in urban areas often led to which waterborne diseases?
`]: [`Cholera and typhoid`], [`Which factors contributed to the poor physical health of coal miners?
What was the primary goal of the crowd gathered at the Peterloo Protest in Manchester in 1819?
`]: [`To demand political reform and greater representation in Parliament`], [`Which are accurate statements about how the expansion of the railway network impacted communication in Britain?
Which of the following were changes introduced by the Second Reform Act, 1867?
What was one limitation of the Second Reform Act of 1867?
`]: [`It excluded women from voting`], [`What was one reason the crowd included a large number of women and children at the Peterloo Protest in 1819?
`]: [`It demonstrated the broad support for reform across society`], [`Which UK city saw its population grow from 1.5 million to 2.5 million within a few decades?
`]: [`London`], [`How did miners gain some control over their working conditions under the 1872 Coal Mines Regulation Act?
`]: [`They could appoint their own safety inspectors`], [`How did the Third Reform Act of 1884 affect the British electorate?
`]: [`It increased the electorate from 2.5 million to 5.5 million men`], [`During the 19th century, which of the following made factory work particularly dangerous for children?
What was a common danger faced by children working in factories before the Factory Acts?
`]: [`They were at risk of serious accidents while cleaning machinery`], [`Which of the following were part of the reforms introduced by the 1878 Factory and Workshop Act?
Which of the following contributed to the rapid urbanisation of Britain and Ireland between 1811 and 1851?
Why were many houses cold, damp, and dark during the 1800s?
`]: [`They were built back-to-back with little ventilation`], [`Which of the following were included in the six demands of the People's Charter in 1838?
Which of the following was one of the six demands of the Chartists?
`]: [`Universal male suffrage`], [`What was one effect of the slum clearances in the 19th century?
`]: [`Improved living conditions for many families`], [`Which of the following improvements were achieved through factory reforms?
What role did the Peterloo Massacre play in the passing of the 1832 Reform Act?
`]: [`It demonstrated the need for reform to avoid unrest`], [`What was one reason for the growth of railways during the Industrial Revolution?
`]: [`Railways provided a faster and cheaper alternative to canals and roads`], [`Which of the following were outcomes of improved sanitation systems in the 19th century?
What was one improvement brought by the 1844 Factory Act?
`]: [`It limited working hours for women and children to 12 hours per day`], [`Which of the following were reasons for the Peterloo Massacre becoming a symbol of the struggle for political reform?
During the 19th century, what was one effect of the extreme noise in factories?
`]: [`Many workers suffered from hearing loss due to constant exposure`], [`Which of the following reforms did the Third Reform Act, 1884, introduce?
`]: [`It extended the voting qualifications in boroughs to counties`], [`Who gained the right to vote as a result of the 1832 Reform Act?
`]: [`Men who owned property worth £10 a year`], [`What was a significant danger caused by poor ventilation in coal mines?
`]: [`The build-up of dangerous gases like methane`], [`Which are accurate statements about the Chartist demands that focused on parliamentary reform?
Which of the following safety measures were introduced in coal mines during the 19th century?
Which of the following Chartist demands were eventually met through later reforms?
`]: [`Secret ballot and payment for MPs`], [`Which political movement in the 1830s and 1840s sought broader political reforms, including universal male suffrage and the secret ballot?
`]: [`Chartism`], [`Which Act was a significant milestone in extending the vote to more working-class men in urban areas?
`]: [`The Second Reform Act, 1867`], [`What was the significance of the Liverpool to Manchester line, which opened in 1830?
`]: [`It was the first to carry both passengers and goods`], [`Why were railways more efficient for transporting goods between industrial centres and markets?
`]: [`Railways offered more direct routes, reducing travel time`], [`What did the 1833 Factory Act introduce to improve conditions for children in factories?
`]: [`It required factory owners to provide two hours of education for child workers`], [`What was one long-term effect of child labour restrictions in factories?
`]: [`It improved children's health and education`], [`Why did vermin, such as rats, thrive in 19th-century urban areas?
`]: [`Rubbish and waste were left to pile up in the streets`], [`Which were factors that contributed to poor living conditions in urban areas during the early 19th century?
What was the impact of the Peterloo Massacre on the reform movement?
`]: [`It galvanised the reform movement, contributing to future parliamentary reforms`], [`What was the role of the Yeomanry during the Peterloo Massacre in 1819?
`]: [`To charge into the crowd with sabres drawn, causing panic`], [`What was the agreement that allowed the Third Reform Act of 1884 to pass in exchange for reforms to the redistribution of parliamentary seats?
`]: [`The Arlington Street Compact`], [`Which of the following were dangers faced by coal miners due to unsafe working conditions?
Under 19th century factory reforms, what was the main effect of the 1847 Ten Hours Act?
`]: [`It limited working hours for women and children to 10 hours per day`], [`How did local magistrates respond to the size of the gathering at Peterloo in 1819?
`]: [`They ordered the arrest of Henry Hunt and other speakers`], [`During the 1800s, which factors contributed to the frequent outbreaks of infectious diseases in urban areas?
Which were limitations of the 1832 Reform Act?
How did reforms in coal mines improve safety for workers?
Why was the standardisation of time across Britain necessary with the development of the railway network?
`]: [`It allowed for the coordination of train schedules nationwide`], [`Which of the following were public health reforms introduced by the Public Health Acts of 1848 and 1875?
Which are accurate statements about how railways impacted the growth of organised sports, such as football?
Which were contributing factors to malnutrition among children in British city slums?
What did the 1878 Factory and Workshop Act accomplish?
`]: [`It extended safety regulations and raised the minimum working age to 10`], [`What was a "rotten borough" in the context of the British electoral system before 1832?
`]: [`A parliamentary area with very few voters but still had MPs`], [`What technological improvement made coal mines safer by the end of the 19th century?
`]: [`Steam-powered ventilation fans`], [`What was one key impact of the Third Reform Act of 1884?
`]: [`It extended voting rights to working-class men in rural areas`], [`Which of the following were changes brought about by the 1832 Reform Act?
Which discoveries directly led to the reduction of infectious diseases in the 19th century?
What changes were made after the discovery of a link between cholera and water contamination in 1854?
`]: [`Water systems were improved, and waste was kept separate from drinking water`], [`What made railways more flexible for transporting goods across Britain compared to canals?
`]: [`Railways could cross mountains and rivers using bridges and tunnels`], [`How did the lack of proper sanitation systems impact urban areas during the 19th century?
`]: [`Open sewers contaminated water supplies`], [`Which are accurate statements about how the third Chartist petition to Parliament?
What was the purpose of the 1850 Mines Inspection Act?
`]: [`To appoint mine inspectors to enforce safety laws`], [`By 1850, how much of the British population lived in towns and cities?
`]: [`Over half`], [`What was one important result of Edward Jenner's medical breakthrough in 1798?
`]: [`It contributed to the prevention of a deadly disease`], [`What effect did limiting working hours under the Factory Acts have on workers?
`]: [`It gave them more time for rest and leisure`], [`During the 19th century, which were common health issues for factory workers due to working conditions?
What impact did improved sanitation systems have on public health?
`]: [`They reduced the risk of water contamination and disease`], [`Which technological advancement helped improve safety and efficiency in early railways?
`]: [`The invention of steam-powered locomotives`], [`Who were the leaders of the two factions of Chartism?
`]: [`William Lovett (moral force) and Feargus O'Connor (physical force)`], [`How did the Second Reform Act of 1867 affect the British electorate?
`]: [`It increased the electorate from 1.4 million to 2.5 million men`], [`What was a key benefit of James Young Simpson's medical discovery in the 1840s?
`]: [`Pain and the risk of death from shock were reduced`], [`Which law required that mines have at least two exits to improve safety?
`]: [`The 1862 Mines Act`], [`During the 1800s, how did overcrowding in slums contribute to high mortality rates among children?
`]: [`It made it easier for contagious diseases to spread`], [`What safety measure helped reduce the risk of explosions in coal mines after 1815?
`]: [`The introduction of the Davy Safety Lamp`], [`During the 1800s, which of the following were outcomes of poor sanitation in urban areas?
Which methods did the Chartists use to push for political reform?
Which laws helped enforce slum clearance and sanitation measures in the 19th century?
`]: [`The Public Health Acts`], [`What proportion of men in England could vote after the 1832 Reform Act?
`]: [`One in five`], [`During the 19th century, what was one of the greatest dangers faced by coal miners?
`]: [`Explosions caused by the build-up of flammable gases`], [`Which of the following were effects of railways on the food industry?
Which of the following were reasons for the decline of canals as a major transport system?
Which of the following contributed to the growth of railways during the Industrial Revolution?
How did the Third Reform Act address the imbalance in representation between urban and rural areas?
`]: [`By granting more representation to rural voters`], [`Which of the following contributed to better hygiene in towns and cities?
`]: [`The introduction of public baths and shared toilets`], [`What document outlined the six key demands of the Chartist movement?
`]: [`The People's Charter of 1838`], [`What was the impact of the Stockton to Darlington railway line, opened in 1825?
`]: [`It became the first railway to use steam locomotives`], [`Which of the following issues affected city residents during the period of rapid urbanisation?
What role did railways play in the growth of the newspaper industry?
`]: [`Railways helped national newspapers reach readers more quickly`], [`Which political leader played a crucial role in passing the Third Reform Act, 1884?
`]: [`William Gladstone`], [`How did the Reform League increase pressure on the government before the Second Reform Act?
`]: [`Mass demonstrations for greater political rights`], [`What was the primary goal of the Chartist movement in the 1830s and 1840s?
`]: [`To gain universal male suffrage and broader political reforms`], [`During the 19th century, which of the following were common punishments for factory workers?
In which area of the British Empire did Scots have a significant impact on the gold mining sector?
`]: [`Victoria, Australia`], [`Which were pull factors that attracted Italians to Scotland in the late 19th century?
Which is the best description of an 'Empire'?
`]: [`A group of nations ruled over by the emperor or government of one country`, `A group of nations ruled over by the emperor or government of one country`], [`What role did George Stephen play in Canada's development?
`]: [`He helped establish and run the Canadian Pacific Railroad`], [`Which are accurate statements about the impact of Irish immigrants to Scotland from the 1830s?
Why did the population increase in Ireland between 1800 and 1850 lead to economic problems?
`]: [`It reduced the amount of land available, making food production difficult`], [`Which cultural activities helped Scots maintain their traditions abroad?
Which accurately describe the negative experiences of Irish Catholic immigrants to Scotland from the 1830s?
Which of the following contributed to tensions between Lithuanian and Scottish workers?
Why did the terrain and climate pose problems for Scots emigrants in places like Canada and Australia?
`]: [`Scots struggled with extreme weather conditions such as severe winters and drought`], [`Which was true of the British Empire when it was at its height?
Which of the following were industries that benefited from immigrant labour in Scotland?
Which were industries in Scotland that expanded due to the British Empire?
Which of the following industries were popular among Italian immigrants in Scotland?
Which are accurate statements about the impact of Scots emigrants in their new homelands?
Which of the following cities became the centre of Scotland's Jewish population?
`]: [`Glasgow`], [`Why did some Lithuanians immigrants find themselves stranded in Scotland after arriving?
`]: [`They lacked funds for onward travel to their intended destination, America`], [`What was one source of tension between Italians and Scots during the late 19th and early 20th centuries?
`]: [`Italian Catholics clashed with Protestant Scots over religious practices`], [`Who was the first Prime Minister of Canada and one of the architects of Canadian Confederation?
`]: [`John A. Macdonald`], [`Which of the following helped Lithuanian immigrants settle in Scotland during the late 19th and early 20th centuries?
What was David Buick's major contribution to the American automobile industry?
`]: [`He founded Buick Motor Company`], [`At the height of the British Empire the world's largest jute mill was:
`]: [`The Camperdown Works in Dundee`], [`Why did many Scots settle in Victoria, Australia, during the 1850s?
`]: [`To find success in gold mining during the gold rush`], [`How did Scots influence education across the British Empire?
`]: [`They helped shape education systems, promoting broad access to education`], [`What was Robert McCracken known for in Australia?
`]: [`He founded a successful brewing company`], [`Which of the following were common businesses established by Italian immigrants in Scotland?
How did family ties influence the lives of Italian immigrants in Scotland?
`]: [`Family-run businesses created a strong sense of community and social support`], [`Why did some Jewish families in Scotland consider further emigration in the 1930s?
`]: [`Concerns about the rise of fascism in Europe led them to fear renewed persecution`], [`Which Scottish emigrant served as the Prime Minister of Australia three times and expanded the country's welfare state?
`]: [`Andrew Fisher`], [`Which were factors causing the emigration of Highland people south or abroad during the 1800s?
In New Zealand's Otago region, Scots were the dominant settler group and contributed to which industry?
`]: [`Large-scale sheep farming and wool production`], [`Which industries were Scots involved in around Sydney and rural New South Wales, Australia?
Which were ways in which the British Empire positively impacted Scotland's economy?
What was one major factor that made Lithuanians choose Scotland over other destinations?
`]: [`Scotland's existing Lithuanian communities and support networks`], [`What was one negative cultural impact Scottish settlers had on Indigenous populations?
`]: [`Scots settlers often forced Indigenous peoples off their ancestral lands`], [`Which Scots emigrant is famous for revolutionising global communication with the invention of the telephone?
`]: [`Alexander Graham Bell`], [`Which were problems in Ireland leading to large scale emigration to Scotland in the 19th century?
Which were factors that caused many Scots to emigrate between 1830s-1939?
How did Scottish migrants influence the financial systems of the British Empire?
`]: [`They were instrumental in building stable banking systems and investment firms`], [`Which of the following industries did Scots contribute to in Nova Scotia, Canada?
`]: [`Fishing, farming, and forestry`], [`How did Alexander Duff influence education in India?
`]: [`He founded Western-style education institutions`], [`Why did some Scottish emigrants often feel isolated in their new lands?
`]: [`Many were scattered across remote regions with few roads or communication links`], [`Which Scottish emigrant set up America's most famous detective agency?
`]: [`Allan Pinkerton`], [`Which of the following industries did Lithuanian immigrants primarily work in?
`]: [`Coal mining and ironworks`], [`What was a major push factor that caused Jews to leave Eastern Europe for Scotland?
`]: [`Persecution and restrictive laws`], [`How did Lithuanian immigrants maintain their cultural and religious practices in Scotland?
`]: [`By forming social clubs and societies and attending Roman Catholic churches`], [`Which industries did Scots help develop in India?
Which of the following were reasons Jewish immigrants fled to Scotland in the late 19th and early 20th centuries?
How did Scots contribute to infrastructure development across the British Empire?
`]: [`They were involved in building railways and telegraph systems`], [`Which of the following industries or trades did Jewish immigrants typically engage in due to their skills and experience?
Why did some young Scottish men emigrate?
`]: [`To avoid military service after the introduction of conscription`], [`Which Scottish cities benefited the most from Scotland's involvement in the British Empire?
`]: [`Glasgow and Edinburgh`], [`Which statements accurately describe the negative impact of the British Empire on Scotland?
What effect did Irish Catholic immigration have on Scotland's society?
`]: [`It contributed to religious divisions with Scottish Protestants and Irish Protestants`], [`What effect did the British Empire have on Scotland's urban areas?
`]: [`It led to rapid urban growth and the expansion of cities like Glasgow`], [`Which were push factors driving Italian emigration to Scotland in the late 19th century?
How did Scots contribute to the agricultural development of Canada?
`]: [`They adapted Highland farming practices to improve crop farming`], [`How did Scots influence the development of Wellington, New Zealand?
`]: [`They were involved in urban development, commerce, and government`], [`Which opportunities in new lands attracted Scottish emigrants between 1830s-1939?
`]: [`The gold rushes in California and Australia`], [`Why did the development of steamship travel contribute to Italian immigration to Scotland in the late 19th century?
`]: [`It made journeys between Italy and Scotland shorter and more affordable`], [`In what ways did the Empire create challenges for Scotland?
`]: [`It led to economic dependence on trade with colonies, making Scotland vulnerable to changes in global markets`], [`Which of the following pull factors attracted Lithuanian immigrants to Scotland?
`]: [`Industrialisation and job opportunities in coal mines and ironworks`], [`Which were factors that caused the Highland Clearances?
Which of the following were ways Italian immigrants contributed to Scottish society?
`]: [`Opening popular cafés and shaping Scottish culinary culture`], [`Which factors helped Jewish immigrants settle successfully in Scotland?
Which of the following added to the challenges of establishing homes in new territories for Scots emigrants?
`]: [`They had to construct shelters quickly due to extreme weather and danger from wildlife`], [`Which are accurate statements about the experiences of Irish immigrants to Scotland from the 1830s?
Which of the following were ways the British government and organisations assisted Scots in emigrating?
`]: [`Providing funds through the Empire Settlement Act and assistance from charities`], [`Which were key reasons Lithuanians fled from their homeland in the late 19th century?
`]: [`Military conscription into the Russian army and political repression`], [`Which of the following agricultural contributions did Scots make to Australia?
`]: [`They introduced merino sheep, revolutionising the wool industry`], [`Which are accurate statements about the role of the Catholic church in the lives of Irish immigrants to Scotland?
Which are accurate statements about the experiences of Irish immigrants to Scotland from the 1830s?
How did the Empire contribute to migration patterns in Scotland?
What was one key reason Jewish immigrants placed emphasis on education and entrepreneurship?
`]: [`They lacked language skills but believed in the importance of knowledge`], [`What was one consequence of World War I for Lithuanian immigrants in Scotland?
`]: [`They were pressured to return to Russia or join the British armed forces`], [`Which contributed to the social and cultural impact of the Empire on Scotland?
`]: [`The introduction of colonial goods such as tea, sugar, and tobacco`], [`What was a common social issue for Highland Scots emigrating to English-speaking countries?
`]: [`Gaelic speakers struggled to adapt in English-speaking regions`], [`Why did some Jewish immigrants originally intend to use Scotland as a stepping stone?
`]: [`They sought to move on to other destinations like the United States`], [`What role did Scottish churches play in emigrant communities abroad?
`]: [`They became central places for Scots to gather and maintain their cultural identity`], [`Which are accurate statements about the experiences of Irish immigrants to Scotland from the 1830s?
What role did Scots play in the development of Canada's British Columbia region?
`]: [`They were involved in fishing, lumber, and mining industries`], [`Why was Scotland an appealing destination for Jewish immigrants during the late 1800s and early 1900s?
`]: [`Scotland had less persecution and more religious freedom than many European countries`], [`How did the early Scot emigrant settlers in new lands impact those who arrived later?
`]: [`Early settlers had taken the best land near the coasts, leaving poorer land for later arrivals`], [`What was one of the key reasons many Irish people left Ireland between 1845 and 1848?
`]: [`To avoid the potato blight, which caused famine in Ireland`], [`Which are accurate statements about the impact of Scots emigrants in their new homelands?
Why were immigrant labourers sometimes seen as competitors by Scottish workers, especially in industries like coal mining?
`]: [`They were accused of driving down wages`], [`Which of the following factors contributed to some anti-Semitic attitudes towards Jewish immigrants?
`]: [`Jewish involvement in tailoring and tobacco led to accusations of undercutting prices and 'sweating'`], [`Which were factors in the emigration of Italian people to Scotland in the 19th century?
How did the Industrial Revolution in Britain affect the Irish economy?
`]: [`It led to fewer traditional jobs in Ireland due to cheaper British-produced goods`], [`Which of the following industries did Scots contribute to in Pennsylvania, United States?
`]: [`Steel and coal industries`], [`In what way did immigrants, especially Irish people, contribute to Scotland's political landscape?
`]: [`They helped set up Trade Unions and contributed to the formation of the Labour Party`], [`What role did Scots play in the development of Canada's Ontario's region?
`]: [`They were instrumental in agriculture, business, banking, and law`], [`Which social factor encouraged Scots to emigrate?
`]: [`Established Scottish communities abroad offering support`], [`How did improvements in transportation encourage Scots to emigrate between 1830s-1939?
`]: [`Steamships and railways made travel faster and more affordable`], [`Which factors helped Italian immigrants preserve their cultural traditions in Scotland?
Which group was most affected by poverty due to the land laws in Ireland during the early 19th century?
`]: [`Irish Catholic tenant farmers`], [`Which of the following were challenges that arose due to the growth of immigrant populations in Scotland's towns and cities?
`]: [`Overcrowded tenement housing and poor sanitation`], [`Which were factors in the large-scale emigration of Irish people to Scotland in the 19th century?
Which Scottish emigrant to New Zealand wrote the words to one of the country's national anthems, "God Defend New Zealand"?
`]: [`Thomas Bracken`], [`Which factors made it easier for Irish immigrants to settle in Scotland?
`]: [`Many Irish people had family already living in Scotland, who could help them find work and housing`], [`How did Scottish emigrants keep their language alive in their new homes?
`]: [`They continued to speak Gaelic and taught it to their children`], [`What role did Scots play in the fishing industry of Canada?
`]: [`They brought deep-sea fishing skills, especially in Nova Scotia`], [`Which Scottish figure played a key role in building Canada's railways?
`]: [`Sir Sandford Fleming`], [`Which of the following were economic challenges faced by Scottish emigrants in their new countries?
Why was Scotland an attractive destination for Irish immigrants during the Industrial Revolution?
`]: [`A wide range of industrial jobs were available in Scotland`], [`Which of the following was a major reason many Italians emigrated from Italy after 1871?
`]: [`Economic and social unrest caused by the unification of Italy`], [`How did Jewish communities in Scotland help preserve their cultural and religious identity?
`]: [`Through synagogues, schools and social clubs`], [`Which are accurate statements about the role of the Catholic church in the lives of Irish immigrants to Scotland?
Which economic opportunity attracted Scots to countries like Canada, Australia, and the USA?
`]: [`Higher wages and the opportunity to own cheap or free land`], [`Which were factors in the large-scale emigration of Irish people to Scotland in the 19th century?
How did immigrant communities help preserve their cultures in Scotland?
Which were factors in the large-scale emigration of Irish people to Scotland in the 19th century?
Which were ways that Scots emigrants preserved their traditional ways of life and Scottish identity?
What was the impact of Scots in the political administration of the British Empire?
`]: [`They took leading roles in colonial governance, shaping British imperial policy`], [`Why did some Scots emigrants decide to return to Scotland after emigrating?
`]: [`They could not adjust to the harsh conditions and found no steady employment`], [`What was John Muir's contribution to the USA?
`]: [`He created Yosemite and Sequoia National Parks`], [`Which were factors that caused many Scots to emigrate between 1830s-1939?
Which of the following groups of immigrants played key roles in Scotland's commercial and food industries?
How did Scottish industries benefit from the Empire?
`]: [`They gained access to a global market for their goods`], [`Which were push factors for Lithuanians emigrating to Scotland in the late 19th and early 20th centuries?
How did Highland landlords encourage emigration between 1830s-1939?
`]: [`By paying fares for evicted tenants to emigrate after clearing land for sheep farming`], [`What accurately describes the effect of British laws being applied in Ireland during the 1800s?
`]: [`They were biased against Catholics, leading to greater poverty`], [`Why did Italian immigrants face hostility in Scotland during periods of economic downturn?
`]: [`They were blamed for taking jobs and pushing up housing costs`], [`Why did some young Italian men emigrate to Scotland in the late 19th and early 20th centuries?
`]: [`To avoid compulsory military service in Italy`], [`Which are accurate statements about the experiences of Irish immigrants to Scotland in the 1800s.
Why did many Lithuanian immigrants eventually adopt Scottish customs and language?
`]: [`They were gradually absorbed into the broader Scottish population`], [`Which was a significant economic reason for Scots emigrating in the 19th century?
`]: [`Failure of crops and declining industries like fishing and farming`], [`Which of the following made emigration to Scotland easier for Jewish families during the late 19th century?
`]: [`Development of affordable steamship travel`], [`How did Irish immigrants contribute to Scotland's infrastructure?
`]: [`They were instrumental in building railways, roads, canals, and harbours`], [`Which are accurate statements about the experiences of Irish immigrants to Scotland from the 1830s?
Which were problems experienced by Scots emigrants when they reached their destinations abroad?
How did Scottish religious traditions spread throughout the British Empire?
`]: [`Scottish Presbyterians established churches and missions`], [`The Kerner commission in 1968 reported that:
`]: [`40% of all African-Americans lived in poverty##id=button_3`], [`Name a major Scottish football club which was formed by Irish Catholics in the 1800s.`]: [`>Celtic`], [`During transportation on ships, the ankles of enslaved people were bound together using metal contraptions known as ______`]: [`>Shackles`], [`Which statements about the use of tanks during WW1 are accurate?
Which 18th century slave ship captain campaigned against slavery in a pamphlet which provided eyewitness evidence against the slave trade and which shocked the public?
`]: [`John Newton`], [`Which were methods used to enforce the rule of the Russian Tsar at the turn of the 20th century?
Which slogan was adopted by the Black Power movement during the 1960s to encourage African Americans to take pride in their heritage?
`]: [`Black is Beautiful`], [`The statements below describe the impact of Irish immigrants on Scotland. Which are accurate?
Which are accurate statements about the Sit-ins campaign in America in 1960?
During WW1 factors contributed to the unpleasantness and misery of life in the trenches?
At which battle in 1308 did Robert Bruce defeat John Comyn, the Earl of Buchan?
`]: [`The Battle of Inverurie`], [`Between 1851-1870 what percentage of all iron ships in the world were produced on Clyde shipyards?
`]: [`70%`], [`During which month is Remembrance Sunday?`]: [`>November`], [`Which are true about the overall impact of Liberal reforms in the early 1900s?
Which are accurate accounts of the treatment of Jews in Nazi Germany?
Which are accurate accounts of Robert Bruce’s rise to power in Scotland?
Most peasants were unhappy with life in Russia at the turn of the 20th century because . . .
Which Scottish towns were destroyed by the invading English forces of King Henry VIII in 1544?
Which were recommendations of the 1942 Beveridge Report?
The Rowntree Report in 1901 established that:
In the summer of 1308, Robert Bruce destroyed enemy lands in north-east Scotland and murdered Comyn supporters. This action became known as:
`]: [`The Herschip of Buchan`], [`The statements below describe how the Catholic church played an important role in the lives of Irish immigrants to Scotland. Which are accurate?
Which English knight is Robert Bruce reported to have killed with an axe before the Battle of Bannockburn?
`]: [`Henry de Bohun`], [`Which Liberal reform in 1906 gave people the right to compensation for injuries sustained at work?
`]: [`Workmen’s Compensation Act`], [`The number of Scottish servicemen and women who died during WW1 is estimated to be:
`]: [`100,000 to 150,000`], [`Which accurately describe the impact of the slave trade on the Caribbean during the 18th and 19th centuries?
Which were factors in the decline of the Catholic Church in Scotland during the 16th century?
What caused the death of the Maid of Norway in 1290?
`]: [`She died from influenza on the journey from Norway to Scotland`], [`Which were factors in the large scale emigration of Irish people to Scotland in the 19th century?
Which statements about the impact of Liberal health reforms of the early 1900s are accurate?
Which legislation in 1957 supported the right of Black Americans to vote and enabled them to go to court if they could not vote freely?
`]: [`The Civil Rights Act`], [`German blitz bombing during WW2 created a change in social attitudes because:
Which were true of the Moray Regency in 16th century Scotland?
In August 1916, following a local recruitment campaign, sixteen Scottish footballers enlisted for military service joining the McCrae's Battalion. These men played for:
`]: [`Heart of Midlothian`], [`Which are accurate descriptions of Russia’s economic problems during World War One?
In 1914 which factors contributed to the belief that WW1 would be a short war?
Which services were provided free under the National Health Service in post-war Britain?
According to historical accounts, the most likely cause of Lord Darnley’s death in 1567 was . . .
`]: [`Strangulation`], [`Which accounts of the Battle of Bannockburn are accurate?
In which way did Elizabeth I of England contribute to the downfall of Mary Queen of Scots?
`]: [`Elizabeth bribed Scottish nobles and paid for rebellions against Mary`], [`Which statements about the impact of the National Health Service in post-war Britain are accurate?
Which statements about the use of machine guns during WW1 are accurate?
Which are accurate accounts describing the impact of the Russian Revolution of 1905?
Which were factors creating pressure on the government to tackle poverty in the early 1900s?
Which were examples of famous American Civil Rights protests in the 1950s and 60s?
Which were reasons for Mary Stuart’s move to France in 1548?
Which were factors contributing to the first Russian Revolution in February 1917?
Which were problems associated with poverty in Britain during the early 1900s?
The Booth Report into poverty published in 1903 was entitled:
`]: [`Life and Labour of the People in London`], [`The name given to the German Parliament building in 193 was the _______`]: [`>Reichstag`], [`Which were factors causing the race riots in northern American cities during the 1960s?
In 1297, which Scottish noble led a rebellion against King Edward, capturing castles at Urquhart, Inverness and Elgin?
`]: [`Andrew Moray`], [`Which were part of the government reforms in Russia following the revolution of 1905?
The following describe claims of Robert Bruce to the throne of Scotland. Which accounts are accurate?
For how many years was Mary Queen of Scots imprisoned while in England?
`]: [`19 years`], [`What was the name of the Bolshevik armed militia create by Leon Trotsky?`]: [`>Red Guard`], [`Which are accurate statements about the Freedom Rides in 1961?
Which group of Lords planned a Protestant Reformation in Scotland, challenging the authority of the Catholic Church?
`]: [`Lords of the Congregation`], [`Which were outcomes of the Spartacist revolt in 1919?
Which accounts of the Battle of Bannockburn are accurate?
The following statements describe the negative experiences of Irish Catholic immigrants to Scotland. Which are accurate?
In 1584 the uprising which led to the abduction and imprisonment of 15 year-old King James was known as:
`]: [`The Ruthven Raid`], [`The policy of enforcing Russian culture on ethnic minorities throughout the Russian empire was called:
`]: [`Russification`], [`Which 18th century Glasgow ‘Tobacco Lord’ used profits from slavery to build what is today the city’s Gallery of Modern Art?
`]: [`William Cunninghame`], [`Which are accurate accounts of the impact of hyperinflation on German people in 1923?
Which were reasons for Bolshevik victory in the Russian Civil War?
Which descriptions of the 1917 October Revolution in Russia are accurate?
What were true of churches in Nazi Germany?
Which accounts of the Siege of Berwick in 1296 are accurate?
The statements below describe how the Catholic church played an important role in the lives of Irish immigrants to Scotland. Which are accurate?
During the rise of the British Empire, which Scottish family made its fortune trading in tea?
`]: [`Lipton`], [`Which types of gas were used as a weapon during WW1 trench warfare?
In 1955, which Black American was arrested for refusing to give up her seat on a bus to a White passenger?
`]: [`Rosa Parks`], [`Which foreign words entered the British vocabulary through association with India and other Empire countries?
Which were Presbyterian policies promoted by John Knox in the 1560s?
To encourage large families, women in Nazi Germany were awarded a gold ‘Mother’s Cross’ if they gave birth to:
`]: [`8 children`], [`Which movement aimed develop boys into young adults who believed fully in Nazi ideals?`]: [`>Hitler Youth`], [`During the rise of the British Empire, which Scottish family made its fortune trading in jute?
`]: [`Cox`], [`At the start of WW1 which law gave the British Government unprecedented powers to intervene in people's lives?
`]: [`The Defence of the Realm Act`], [`Which were Liberal reforms of the early 1900s which aimed to improve the lives of young people?
Which are true about the impact of the Atlantic slave trade on British ports such as Liverpool and Bristol during the 18th century?
Which were typical inhabitants of a Scottish poorhouse in the early 1900s?
The Treaty of Versailles to end WWI was signed in:
`]: [`June 1919`], [`Which occurred following French and Belgian invasion of the Ruhr in 1923?
The Fundamental laws of state decreed that the Emperor of Russia was:
`]: [`Appointed by God`], [`Which statements are accurate about food rationing during WW2?
The impact of World War One on Russia led to the abdication of Tsar Nicholas II because . . .
Which factors contributed to the demise of William Wallace?
Which were outcomes of the Battle of Stirling Bridge?
Which are true about social changes affecting women during WW1?
Which saw huge increases in employment as a result of the growing British Empire?
Which were factors creating pressure on the government to tackle poverty in the early 1900s?
Which were true of the Russian Empire in the late 1800s?
Under Jim Crow laws, which measures prevented Black people from voting in elections in southern states?
Which Act in 1946 prevented workers from falling into poverty when they were sick or unemployed?
`]: [`National Insurance Act`], [`Which became the symbol representing Tsarist fear and oppression following the Russian revolution of 1905?
`]: [`Stolypin’s Neckties`], [`Which are accurate accounts of Robert Bruce’s rise to power in Scotland?
Which agreements formed part of the Treaty of Edinburgh-Northampton in 1328?
Which were ways that Scots emigrants preserved their traditional ways of life and Scottish identity?
Following the death of Hindenburg in 1934, the roles of German President and Chancellor were combined into a single post with the title:
`]: [`Der Fuhrer`], [`Which War Minister in 1914 led the Government’s military recruitment campaign?
`]: [`Lord Kitchener`], [`How was Linlithgow Castle captured by Robert the Bruce’s forces during his guerrilla campaign?
`]: [`Jamming the castle gate and portcullis with a haycart which had men hidden inside`], [`Which reforms were introduced by the Old Age Pension Act 1908?
Which are true about the overall impact of Liberal reforms in the early 1900s?
Which are true of the Golden Age of the Weimar 1923-29?
Which were factors that caused the Highland Clearances?
How was Roxburgh Castle captured by Robert the Bruce’s forces during his guerrilla campaign?
`]: [`Hiding men among cattle to approach the castle, then using rope ladders at night to scale walls`], [`At the turn of the 20th century, ordinary Russian people were unwilling to challenge the authority of the Tsar because . . .
Which group of revolutionaries challenged the Weimar government in 1919?
`]: [`The Spartacists`], [`Which were factors that determine the price an African enslaved person sold at auction?
Which were reasons for the successful abolition of the slave trade?
Which factors contributed to the coming to power of the National Socialist (Nazi) Party in Germany?
Which were problems experienced by Scots emigrants when they reached their destinations abroad?
Which was John Balliol’s first act as King of Scotland?
`]: [`To swear allegiance to King Edward as Overlord of Scotland`], [`Which report was published in 1942 which identified 'Five Giant Problems' to be tackled by the British Government?`]: [`>Beveridge Report`], [`Which were true of the Labour Exchanges of the early 1900s?
Which are accurate statements about Martin Luther King?
Which groups were deemed to be ‘undesirable’ in Nazi Germany and sent to concentration camps?
During the year 1584, who paid for the costs of keeping the young King James of Scotland in captivity?
`]: [`Elizabeth I`], [`Which were founding principles of Britain’s National Health Service when it was launched?
Which is NOT one of the post-war new towns created in Scotland?
`]: [`West Kilbride`], [`Which were problems that that led to the emigration of Lowland Scots in the 1800s and 1900s?
Which were reasons for French and Belgian invasion of the Ruhr area of Germany?
Which statements about the impact of food rationing during WW1 are accurate?
In 1892, which Black traveller was arrested for refusing to move from a seat on a train that had been reserved for a White person?
`]: [`Homer Plessey`], [`Which were part of the government reforms in Russia following the revolution of 1905?
In which ways did the Industrial Revolution lead to an increase in immigrants to Scotland?
Which are accurate statements about the events at Selma, Alabama in 1965?
Which statements about the Old Age Pension Act of 1908 are accurate?
Which statements about the impact of Italian immigration on Scotland are accurate?
Which were approaches used to enforce strict discipline on slave plantations?
At the height of the British Empire the world’s largest jute mill was:
`]: [`The Camperdown Works in Dundee`], [`In the early months of WW1 which factors contributed to the high levels of men volunteering for military service?
Which are accurate accounts of how captives were ‘processed’ by slave factories on the African coast?
Which are true about the overall impact of Liberal reforms in the early 1900s?
In 1892 the US Supreme Court ruled that it was acceptable to segregate Black and White people as long as equal facilities were provided. This became known as the . . .
`]: [`Separate but Equal Ruling`], [`Which were factors contributing to the downfall of Mary Queen of Scots?
Which were reasons for Germany’s opposition to the Treaty of Versailles?
Which were outcomes of the government reforms in Russia following the 1905 revolution?
Which legislation in 1911 introduced benefit payments for unemployed workers?
`]: [`The National Insurance Act`], [`Which were factors causing the mass migration of African Americans from southern states to northern cities in the 1920s and 30s?
Which accounts of the Battle of Falkirk in 1298 are accurate?
Which 18th century British pottery owner designed a wax seal that became an emblem for the abolitionist movement?
`]: [`Josiah Wedgewood`], [`Which reasons explain why the Bolsheviks were able to seize power in 1917?
The clause within the Treaty of Versailles which forced Germany to take responsibility for WWI was known as:
`]: [`the Guilt clause`], [`In the late 18th century, which member of Parliament made speeches opposing the slave trade and arguing the case for abolition?
`]: [`William Wilberforce`], [`The term which describes the biased or misleading information issued by the UK government during WW1 to influence public opinion against the Germans is _____`]: [`>Propaganda`], [`Which incident marked the start of Martin Luther King’s emergence as a Black civil rights leader?
`]: [`The Montgomery Bus Boycott`], [`Which accurately describe the successes of Labour government reforms following WW2?
Mary Queen of Scots secretary and trusted advisor was:
`]: [`David Riccio`], [`What name was given to the movement during WW1 which enabled women to work in agriculture?`]: [`>Land Army`], [`Which statements accurately describe the conditions of enslaved people on Caribbean plantations?
Which legislation in 1965 outlawed the discriminatory voting practices common in many southern states of America.
`]: [`The Voting Rights Act`], [`Which were problems associated with poverty in Britain during the early 1900s?
Which are accurate accounts of how Tsarist forces suppressed the Russian revolution of 1905?
The following accounts describe the capture and trial of William Wallace. Which are accurate?
Which were reasons for the decline of Roman Catholicism in Scotland during the 16th century?
Which statements about the use of military aircraft during WW1 are accurate?
Why did Edward I send an English army to attack the town of Berwick?
`]: [`Scotland had refused to join England’s war against France`], [`Which are true British farming and agriculture during and after WW1?
Which were factors in the emigration of Lowland Scots in the 1800s and 1900s?
Which were factors causing the mass migration of African Americans from southern states to northern cities in the 1920s and 30s?
Which are examples of Britain’s emerging industries of the 1920s and 30s?
Which factors contributed to the Scottish victory at the Battle of Bannockburn?
At which battle was Mary Queen of Scots finally defeated, forcing her to flee to England?
`]: [`Battle of Langside`], [`Which events occurred following Mary Stuart’s move to France in 1548?
Which statements about the impact of men returning home at the end of WW1 are accurate?
Which were approaches used to enforce strict discipline on slave plantations?
Which agreements formed part of the Treaty of Paris (The Auld Alliance) in 1296?
Shortly after commencement of WW1 the maximum age of volunteers signing up for military service was increased from:
`]: [`30 to 35`], [`Most peasants were unhappy with life in Russia at the turn of the 20th century because . . .
Which factors contributed to the Scottish victory at the Battle of Stirling Bridge?
The Declaration of Arbroath in 1320 . . .
In which ways did the Wall Street Crash bring an end the Golden Age of the Weimar?
Who was appointed at the Nazi Minister of Propaganda in 1933?
`]: [`Josef Goebbels`], [`Which accurately describe difficulties faced by Germany in 1918?
Which statements about the impact of Liberal reforms on young people are accurate?
In which year was the Ruhr area of Germany invaded by French and Belgian armies?
`]: [`1923`], [`The brutal and merciless behaviour of the Bolshevik secret police became known as the _____ _______`]: [`>Red Terror`], [`During WW1, what policy was introduced to ensure that everyone received an equal share of food?`]: [`>Rationing`], [`Which are accurate accounts of the treatment of Jews in Nazi Germany?
Which were 1930s propaganda slogans used to promote Nazi ideology?
What caused Scotland’s succession crisis following the death of King Alexander III?
`]: [`Alexander had no living children to succeed him as king`], [`Which were part of the government reforms in Russia following the revolution of 1905?
During Scotland’s succession crisis in 1290, Edward I was given the role of deciding the next Scottish King. This process was known as:
`]: [`The Great Cause`], [`The group of Scottish merchants who made enormous fortunes by trading in tobacco during the 18th century were known as:
`]: [`The Tobacco Lords`], [`In which year was the Treaty of Paris (the Auld Alliance) signed?
`]: [`1296`], [`Which were typical outcomes for UNSOLD African enslaved people at the end of an auction in the Americas?
Which are accurate descriptions of how African enslaved people were sold after arriving in the Americas?
Which were ways that King Henry VIII of England contributed to the growth of Protestantism in Scotland?
Which Treaty between Scotland and France agreed that Mary would marry the heir to the French throne?
`]: [`Treaty of Haddington`], [`Which were reasons for the successful abolition of the slave trade?
Which trade in Canada was dominated by Scots emigrants?
`]: [`Fur`], [`The statements below describe the impact of Irish immigrants on Scotland. Which are accurate?
What was the fate of the Early of Bothwell after he separated from Mary in 1567?
`]: [`Bothwell fled to Denmark where he was imprisoned and died 5 years later`], [`Which were causes of poverty in Britain during the early 1900s?
Many industrial workers were unhappy with life in Russia at the turn of the 20th century because . . .
Which are accurate statements about Malcolm X?
Which factors contributed to the Scottish victory at the Battle of Bannockburn?
Which are true about the rise to power of the National Socialists (Nazis) in Germany?
At the height of the British Empire, Scotland was famous for the production and exporting of:
Which reforms were introduced by the Children’s Act (Charter) of 1908?
Which best describes the main aim of the Bolshevik Party in 1917?
`]: [`For the working classes to liberate themselves from the control of the ruling classes`], [`Which were reasons for Elizabeth I keeping Mary Queen of Scots imprisoned in England?
During the rise of the British Empire, which Scottish family made its fortune manufacturing cotton thread?
`]: [`Coats`], [`The Booth Report in 1903 established that:
From 1933 onwards huge Nazi rallies were annually held outside which German city?
`]: [`Nuremburg`], [`Which Act was passed by the German Government in 1934 giving Hitler supreme power to act as a dictator?
`]: [`The Enabling Act`], [`Which were factors in the decline of the Catholic Church in Scotland during the 16th century?
Which are accurate accounts of the treatment of Jews in Nazi Germany?
Which were approaches used to enforce strict discipline on slave plantations?
Which statements accurately describe the conditions of enslaved people on Caribbean plantations?
Which are true about the impact of the slave trade on African societies during the 18th century?
Which were factors in the emergence of the Protestant faith in Scotland during the 16th century?
Specialist Nazi schools set up to train Germany’s future leaders were known as:
`]: [`Napolas`], [`Which were problems experienced by Scots emigrants when they reached their destinations abroad?
Which British ports became wealthy due to their long involvement in the Atlantic slave trade?
The statements below describe the experiences of Irish immigrants to Scotland in the 1800s. Which are accurate?
The following describe the ending of King John Balliol’s reign of Scotland. Which accounts are accurate?
Many Russian landowners kept order in the countryside on behalf of the Tsar. They were known as:
`]: [`Land Captains`], [`
This WW1 poster is an example of:
`]: [`War propaganda`], [`Which are accurate statements about the Black Power movement in America during the 1960s?
Which accurately describe the class system in Russia at the turn of the 20th century?
What arrangements were put in place to solve the succession crisis after the death of Alexander III?
`]: [`Guardians of the Realm were appointed to govern Scotland until a new monarch was crowned`], [`In the 1942 Beveridge Report, which word was used to describe the problem posed by poverty?`]: [`>Want`], [`Which explain the opposition Mary Stuart faced when she returned to Scotland as Queen?
Which 1930s youth movement prepared German girls for motherhood and becoming a good Nazi wife?
`]: [`League of German Maidens`], [`Someone appointed to act when a monarch is too young to be king or queen is known as . . . .`]: [`>Regent`], [`Which gas used during WW1 trench warfare caused chemical burns to the skin and blindness?
`]: [`Mustard gas`], [`Which are accurate statements about the Sit-ins campaign in America in 1960?
In which year were all political parties banned in Germany other than the National Socialist Party?
`]: [`1933`], [`In which year did William Wallace defeat the English at the Battle of Stirling Bridge?`]: [`>1297`], [`The _________ clause was a voting restriction designed to keep Black citizens from casting a ballot in southern US states.`]: [`>Grandfather`], [`Which contributed to Nazi Germany becoming a military state by 1939?
Which factors contributed to the Scottish victory at the Battle of Stirling Bridge?
Which British banks or insurance companies have their roots in the Caribbean slave trade?
Which were factors contributing to the Scots defeat at the Battle of Falkirk?
Which were tactics used by Suffragettes in the first part of the 20th century?
Which were factors leading to the increased support for civil rights in America after 1945?
Many Scots were opposed to joining King Edward of England’s war against France because:
Which Nazi-approved programme provided leisure activities such as holidays, theatre trips and concerts for loyal German workers?
`]: [`Strength Through Joy`], [`In which month of 1917 did the second Russian revolution take place?`]: [`>October`], [`Which religious movement played a prominent role at the beginning of the movement to abolish slavery?`]: [`>Quakers and Evangelicals`], [`Which Scots nobles took part in the Scottish resistance to Edward 1 in 1297?
Which were problems experienced by Scots emigrants when they reached their destinations abroad?
Which famous London buildings were built with profits made from the Atlantic slave trade?
Which were grounds for a man to be exempt from military service during WW1?
Which are accurate accounts of life under Germany’s National Socialist (Nazi) Government 1933-39?
Which were outcomes of the Dawes Plan in 1924?
At the height of the British Empire, which Scottish town was famous for the manufacture of cotton-based products?
`]: [`Paisley`], [`Which statements about the employment of women during WW1 are accurate?
Which are accurate descriptions of the conditions experienced by African enslaved people on the journey to the Americas?
At the Award of Norham in 1291, which Scots two nobles had the strongest claim to be chosen as the next King of Scotland?
`]: [`Robert Bruce and John Balliol`], [`Which intervention brought an end to Germany’s hyperinflation problem in 1923?
`]: [`The Dawes Plan`], [`Which were factors causing the mass migration of African Americans from southern states to northern cities in the 1920s and 30s?
Which descriptions of the 1917 February Revolution in Russia are accurate?
Which World War 2 slogan promoted two American victories - victory in the war abroad and victory against racism at home?
`]: [`Double V`], [`Which US event in 1968 lasted for six days, resulting in 34 deaths and 4,000 arrests?
`]: [`The Watts Riots in Los Angeles`], [`Which were factors causing the race riots in northern American cities during the 1960s?
Which factors contributed to the Scottish victory at the Battle of Bannockburn?
Which are true British coal mining during and after WW1?
Which factors contributed to the Scottish victory at the Battle of Stirling Bridge?
The statements below describe the experiences of Irish immigrants to Scotland in the 1800s. Which are accurate?
The first wave of immigrants to America came mainly from northern Europe and were known as:
`]: [`WASPS`], [`Which were ECONOMIC arguments against slavery promoted by 18th century abolitionists?
During WW1, if one side’s artillery killed or wounded its own men, the term used to describe such an event was:
`]: [`Blue on Blue`], [`Which was true of the British Empire when it was at its height?
Which accurately describe the impact of changes to US Federal Law up to 1968?
Which were viewed as negative aspects of new Weimar Republic in Germany?
How much did each British worker pay into the new unemployment benefit scheme in 1911?
`]: [`2.5 pence per week`], [`Whom did Edward I appoint as the next king of Scotland at the Award of Norham in 1292?`]: [`>John Balliol`], [`Which were reasons for America’s open door immigration policy from 1865 to 1900?
Which were reasons for Russia’s backwardness in agriculture at the turn of the 20th century?
Which are accurate statements about the impact of the Montgomery Bus Boycott in 1955?
Which occupations were exempt from conscription during WW1?
Which events followed the Munich Beer Hall Putsch?
Which statements about the influence of the Scottish Kirk in the 1580s are accurate?
Conscription during WW2 played an important role in changing social attitudes because:
Which statements accurately describe the social impact of World War Two?
Which accounts of the Battle of Stirling Bridge are accurate?
Which are accurate statements about Martin Luther King?
What was the outcome of the Russian Civil War in 1921?
`]: [`The Red Army was victorious`], [`Which accounts of the Munich Beer Hall Putsch are accurate?
Why did King Alexander’s death in 1286 create a succession crisis for Scotland?
`]: [`Many of the country's nobles wanted to be king, creating the prospect of civil war`], [`Which accurately describe changes in Scotland following victory at Bannockburn?
Which describes the first stage of the Triangular slave trade?
`]: [`Trade goods such as guns, textiles and rum were taken from Europe to Africa`], [`The high numbers of Russian and Polish immigrants arriving America during the early 1900s was due to:
The main purpose of WW1 government and press propaganda was to:
`]: [`promote patriotism and anti-German sentiment`], [`Which are accurate statements about the events at Selma, Alabama in 1965?
Which were causes of poverty in Britain during the early 1900s?
Which were factors contributing to the failure of the reforms introduced by the provisional Government under Kerensky in 1917?
Who was the Tsar of Russia between 1894 and 1917?
`]: [`Nicholas II`], [`Which facts about the burning of the German Reichstag are historically accurate?
Which were reasons for Mary Stuart’s move to France in 1548?
Which factors contributed to the rise of Adolf Hitler and the Nazis in Germany?
Which arguments supported Mary Stuart’s claim to the throne of England instead of Elizabeth?
Trade in which commodity fuelled the Scottish economy in the 18th and 19th centuries, making some Scottish families extremely wealthy?
`]: [`Tobacco`], [`The failure of which crop during the 1800s led to great famine in Ireland?`]: [`>Potato`], [`Which are accurate accounts of the Russian revolution in 1905?
Which were examples of racial segregation enforced by Jim Crow laws in southern states?
Which factors contributed to the murder of Queen Mary’s secretary David Riccio?
Which countries contributed to the second wave of immigrants to America in the early 1900s?
Which were problems that caused many Scots to emigrate during the 19th and 20th centuries?
Which were reasons for Protestants taking control of Scotland in 1560?
Which factors caused Americans to develop negative attitudes towards immigrants in the 1920s?
Which accounts of the Spartacist revolt in 1919 are accurate?
Which factors caused Americans to develop negative attitudes towards immigrants in the 1920s?
Which accounts of the Battle of Stirling Bridge are accurate?
The Booth Report in 1903 stated that around ___ percent of Londoners lived in abject poverty.
`]: [`30 percent`], [`What historical term describes Scotland’s relationship with England and France during the 1540s and 1550s?
`]: [`The Rough Wooing`], [`Which were viewed as positive aspects of new Weimar Republic in Germany?
Which Liberal government reform in 1911 aimed to improve the health of the British population?
`]: [`The National Insurance Act`], [`The Treaty of ________ pledged that Mary Queen of Scots would marry Francis, the French Dauphin.`]: [`>Haddington`], [`Which accounts of the Spartacist revolt in 1919 are accurate?
Which accounts of the Munich Beer Hall Putsch are accurate?
Which were causes of poverty in Britain during the early 1900s?
Which are accurate accounts of the Russian revolution at the Winter Palace in 1905?
Which Scottish emigrant from Falkirk moved to the Canada and made a fortune in the timber and shipping industries?
`]: [`Robert Dollar`], [`Which countries were at one time part of the British Empire?
In 1914 when the UK declared war with Germany the popular belief was that it would be over . . .
`]: [`by Christmas`], [`Which were factors causing the emigration of Highland people south or abroad during the 1800s?
Which were influential Protestant preachers during the 1540s and 1550s?
Which of the following industries employed women during WW1?
Which were reasons for the declining popularity of the Russian Royal family during the First World War?
Which accurately describe limitations of Labour government reforms following WW2?
Which award was given to Martin Luther King in 1964 for his contribution to civil rights and equality?
`]: [`The Nobel Peace Prize`], [`Which were outcomes of the government reforms in Russia following the 1905 revolution?
Which accounts of William Wallace’s early guerrilla campaigns against the English are accurate?
In his role as Guardian of Scotland, the MAIN aim of William Wallace was to . . . .
`]: [`Make Scotland an independent country`], [`Where was Mary Queen of Scots held captive during her trial in 1586?
`]: [`Fotheringay Castle`], [`Which were terms contained within the Treaty of Birgham?
Which are accurately describe the impact of the civil rights movement in America since 1970?
The following accounts describe the death of William Wallace. Which are accurate?
Which formed part of the Labour’s government’s post-war education reforms?
Which were examples of racial segregation enforced by Jim Crow laws in southern states?
Which are true of Ku Klux Klan’s activities in the US?
Which were skills and trades that Scots emigrants commonly brought to their new homelands?
Which were forms of resistance used by enslaved people on plantations?
Which were aims behind the government reforms in Russia after the 1905 revolution?
By 1905, there was growing opposition to Tsar Nicholas and the Russian government because . . .
During the 1800s, Highland landlords cleared their lands of people because they could make more money from:
Which events took place in Germany following the Reichstag fire?
Which accounts of the Battle of Bannockburn are accurate?
In 1934, Hitler commanded the secret police to murder 400 of his enemies. This notorious historical event became known as:
`]: [`The Night of the Long Knives`], [`Which were reasons for Russia’s industrial backwardness at the turn of the 20th century?
The 1942 Beveridge Report laid the foundations for . . .
`]: [`The Welfare State`], [`Which were factors contributing to the first Russian Revolution in February 1917?
At her trial in 1585 Mary Queen of Scots argued that she could not be accused of treason because
`]: [`She was not an English subject so the crime of treason did not apply to her`], [`Which accounts of the Battle of Stirling Bridge are accurate?
Which statements accurately describe the negative impact of the British Empire on Scotland?
Which descriptions of events leading up to the 1917 February Revolution in Russia are accurate?
The statements below describe the experiences of Irish immigrants to Scotland in the 1800s. Which are accurate?
Which were charities supporting the poor in Britain in the early 1900s?
Which were terms of the Treaty of Versailles?
How did Edward I reduce Scottish independence during John Balliol’s reign?
Which were true of the Labour Government’s 1946 National Insurance Act?
Which statements about the impact of Liberal reforms on the elderly are accurate?
At the start of WW1 which powers were given to the British government under new legislation?
Which were recommendations of the 1942 Beveridge Report?
Which important objects and symbols were removed by Edward I to prevent the crowing of a future king of Scotland?
Which were aims of the Treaty of Versailles?
Which accurately describe the impact of Mary Queen of Scots marriage to Lord Darnley?
Which were true about the impact of Liberal reforms to support the unemployed in the early 1900s?
Which factors contributed to the rise of Adolf Hitler and the Nazis in Germany?
Which are accurate accounts of the period following Robert the Bruce’s crowning?
Which statements accurately describe the impact of the slave trade on the Caribbean?
Which describes the second stage of the Triangular slave trade?
`]: [`Enslaved people were transported in ships from Africa to the Americas`], [`What caused the death of King Alexander III in 1286?
`]: [`He died after falling from his horse on a stormy night`], [`In 1562, which Scottish noble led a revolt in the Highlands against Mary Queen of Scots?
`]: [`Earl of Huntly`], [`The Rowntree Report in 1901 established a minimum level of income that poor people needed to survive. This became known as the . . .
`]: [`Poverty Line`], [`Which accurately describe the powers of the Russian Tsar at the turn of the 20th century?
During her first few years as monarch, Mary chose her half-brother to help govern Scotland. This person was:
`]: [`Earl of Moray`], [`Which were reasons for the opposition to Margaret, Maid of Norway becoming Queen of Scotland?
Which were reasons for Russia’s industrial backwardness at the turn of the 20th century?
Which are accurate accounts of William Wallace’s period as Guardian of Scotland?
Which statements about the role of Mary of Guise between 1554 and 1560 are accurate?
Which are accurate statements about Britain’s iron and steel industries during and after WW1?
Which explain the reasons for opposition to William Wallace as a leader?
Which were reasons for Bolshevik victory in the Russian Civil War?
Which statements about the impact of Italian immigration on Scotland are accurate?
Which are true about men who refused to take part in military service or support the war effort during WW1?
In the 18th century who became Liverpool’s richest person after investing his lottery winnings in the Atlantic slave trade?
`]: [`Thomas Leyland`], [`The majority of individuals who refused to perform military service during WW1 did so on the grounds of:
`]: [`Religious beliefs`], [`Following WW1, the Representation of the People Act in 1918 meant that:
`]: [`All men over 21 were given the vote`], [`Which are true of the Suffragettes movement in the early part of the 20th century?
Which were ways that France supported Scotland against England during the 1540s?
Which factors contributed to some women gaining the right to vote following WW1?
Which accounts of the Battle of Falkirk in 1298 are accurate?
Which are accurate accounts of Robert the Bruce’s guerrilla campaign against the English in 1307?
Which were methods used by those campaigning for the abolition of slavery?
Which were aims of the Poor Law system in the early 1900s?
Which statements about Mary Queen of Scots relationship with Scottish nobles are accurate?
Which are true about the impact of Labour’s post war housing reforms?
Which are true of the Suffragist movement in the early part of the 20th century?
Which accounts leading up to Battle of Falkirk in 1298 are accurate?
Which of the following explain the lack of opposition to the Nazi regime in Germany?
Which derisory name was given to King John Balliol by ordinary Scots?
`]: [`Empty Coat`], [`The aim of the violent revolt against the Weimar government in 1919 was to make Germany:
`]: [`a communist state`], [`The statements below describe the years following Scotland’s defeat at the Battle of Falkirk. Which are accurate?
Which Kaiser held power in Germany at the end of the First World War?
`]: [`Wilhelm II`], [`Which were true of the policy of Russification at the turn of the 20th century?
Historians estimate that ___ per cent of African enslaved people died before reaching the Americas.
`]: [`50 per cent`], [`Who served as Scottish Regent between 1554 and 1560 during Mary Stuart’s absence?
`]: [`Mary of Guise`], [`Which were reasons for Germany’s opposition to the Treaty of Versailles?
By 1905, there was growing opposition to Tsar Nicholas in Russia because . . .
Which were factors creating pressure on the government to tackle poverty in the early 1900s?
Women who worked in munitions factories during WW1 were known as ‘canaries’ because:
`]: [`Handling TNT explosive turned their skins yellow`], [`Many emigrants fled to Scotland during the 1800s to avoid persecution in their homelands. Such countries included:
Which church was formed in 1934 in opposition to the German Christian Church?
`]: [`The German Confessional Church`], [`Which were reasons for Germany’s opposition to the Treaty of Versailles?
By 1795 the port of Liverpool accounted for ____ per cent of the British slave trade.
`]: [`60 per cent`], [`Which contributed to Nazi Germany becoming a military state during by 1939?
Which were problems that that led to the emigration of many Lowland Scots in the 1800s and 1900s?
Elizabeth I was reluctant to sentence Mary Queen of Scots to death because:
`]: [`She feared the likely outrage of Catholic countries such as France and Spain`], [`During the 1905 protests in Russia, sailors from which battleship carried out a famous mutiny?
`]: [`Battleship Potemkin`], [`In which year was the policy of food rationing introduced during WW1?
`]: [`1917`], [`Which were events leading to the end of the First World War?
Historical accounts suggest the Earl of Bothwell was involved in Lord Darnley’s murder because . . .
Which are true of the Liberal Government’s 1911 unemployment benefit scheme?
The Scottish Civil War in 1308 was the result of:
`]: [`Military action by Robert Bruce to gain control over Scottish nobles`], [`At the start of WW1 which powers were given to the British government under new legislation?
Which were problems in Ireland leading to large scale emigration to Scotland in the 19th century?
Individuals who refused to perform military service during WW1 on the grounds of freedom of thought, conscience, or religion were called:
`]: [`Conscientious objectors`], [`Which were true about the Addison Housing Act of 1919?
What was the main aim of the emerging Protestant faith in Scotland during the 1540s and 1550s?
`]: [`To abolish control by the Pope and Church in Rome over Scotland`], [`Which accounts of William Wallace’s background are accurate?
Which Amendment of the American Constitution hold that: ‘No state shall make any law which shall reduce the rights of citizens of the United States’?
`]: [`The 14th Amendment`], [`Which describes the third stage of the Triangular slave trade?
`]: [`Goods produced by enslaved people, such as cotton and tobacco, were taken to Europe to be sold`], [`Which minority groups were targeted for sterilisation in Nazi Germany?
In which year was the German Reichstag burned down?
`]: [`1933`], [`Historians estimate that ___ million Africans were taken to the Americas as part of the slave trade.
`]: [`12 million`], [`In which year was the Treaty of Birgham signed:
`]: [`1290`], [`During WW1 which pests contributed to the ill health and discomfort of soldiers in trenches?
Which factors caused Americans to develop negative attitudes towards immigrants in the 1920s?
Which event occurred in Germany at the end of the First World War?
`]: [`A flu pandemic killed thousands of Germans`], [`Which are accurate descriptions of Russia’s economic problems during World War One?
Which accurately reflect life under Germany’s National Socialist (Nazi) Government 1933-39?
Which American cities experienced major race riots during the 1960s?
Which were true of the Labour Government’s 1948 National Assistance Act?
Which were reasons for the growing popularity of the Protestant faith in Scotland during the 16th century?
Which are accurate accounts of how captives were ‘processed’ by slave factories on the African coast?
Which accurately describe the experiences of new immigrants on arriving in America in the early 1900s?
Which are true about the impact of the civil rights protests at Birmingham, Alabama in 1963?
Which were limitations or drawbacks of the Labour government’s post-war reforms to address poverty?
In which ways did Edward I exercise power and control over Scotland during John Balliol’s kingship?
Which accurately reflect life under Germany’s National Socialist (Nazi) Government 1933-39?
Which factors caused resentment towards Catholic Church during the 1540s?
Which statements about the use of artillery during WW1 are accurate?
Which accounts of the Siege of Berwick in 1296 are accurate?
Which were Liberal reforms that aimed to improve the health of the British population?
Which were terms of the Treaty of Versailles?
During the 1920s Britain’s newly emerging industries were mainly located in:
`]: [`Central and Southern England`], [`During WW1 almost all production of jute took place in which Scottish city?`]: [`>Dundee`], [`In which year was the Society for Effecting the Abolition of the Slave Trade formed in London?
`]: [`1787`], [`The largest single employer of women during 1918 was:
`]: [`Munitions factories`], [`Which individuals were involved in the plot to murder of Mary’s secretary David Riccio?
The Siege of Berwick in 1296 was a significant event in Scottish history because . . .
`]: [`It is regarded as the first battle in the Scottish Wars of independence`], [`The title of the Rowntree Report into poverty, published in 1899 was:
`]: [`Poverty, a Study of Town Life`], [`Which Treaty between Scotland and England agreed that Mary would marry Edward, Henry VIII’s son?
`]: [`Treaty of Greenwich`], [`Which were reasons for the huge increase in immigrants to Scotland between 1830 and 1920?
The Truce (armistice) which ended the First World War was signed on:
`]: [`11th November 1918`], [`The chocolatier Seebohm Rowntree carried out research to establish levels of poverty in which British city?`]: [`>York`], [`Which factors contributed to the rise of Adolf Hitler and the Nazis in Germany?
What was the name of Russia’s secret police who enforced the rule of the Tsar in the late 1800s?
`]: [`Okhrana`], [`Which were benefits of the Labour government’s post-war reforms to address poverty?
Which were methods used by Europeans to capture African enslaved people during the 18th century?
Which accurately reflect Hitler’s view of the role of women in Nazi Germany?
Which organisation was established in 1933 to replace trade unions in Nazi Germany?
`]: [`The German Labour Front`], [`Which derisory nickname was given to Robert the Bruce after he fled Scotland in 1306?
`]: [`King Hob`], [`Which were factors in the large scale emigration of Irish people to Scotland in the 19th century?
Which were ways that Scots emigrants preserved their traditional ways of life and Scottish identity?
Which peace treaty in 1328 brought an end to the First Scottish Wars of Independence?
`]: [`The Treaty of Edinburgh-Northampton`], [`In which year was Britain's National Health Service launched?`]: [`>1948`], [`In which ways did Edward I exercise control over Scotland during John Balliol’s kingship?
Which accurately describe limitations of Labour government reforms following WW2?
Which Nazi trade union which guaranteed wages, work and holidays in return for loyalty to the Nazi Party?
`]: [`The German Labour Front`], [`Which were factors that caused many Scots to emigrate during the 1800s and 1900s?
The reports of Booth and Rowntree helped change attitudes towards poverty in Britain because:
Which event in 2020 sparked worldwide riots in response to racial discrimination against Black people in the USA?
`]: [`The murder of George Floyd`], [`Which small group of escaped enslaved people toured Britain in the 1780s to raise awareness about the brutality of slavery?
`]: [`Sons of Africa`], [`Which are true of methods used to enslave African natives during the 18th century?
Which accurately describe difficulties faced by Germany in 1918?
Which were typical inhabitants of a Scottish poorhouse in the early 1900s?
Which were reforms introduced by the provisional Government under Kerensky in 1917?
The following statements describe experiences of Scots emigrants in their new homelands. Which are accurate?
Which are true about the impact of the slave trade on African societies during the 18th century?
Which statements are correct about the Award of Norham in 1291?
John Balliol proved to be a weak King of Scotland because . . .
In the early 1900s which were common neighbourhoods in American cities reflecting their immigrant roots?
Which famous Scottish emigrant established iron and steel companies, making him the richest man in America?
`]: [`Andrew Carnegie`], [`Which accurately describe the impact of Caribbean trade on the British economy during the 18th and 19th centuries?
The Coal Mines Regulation Act 1908 set the maximum working day for miners at __ hours.
`]: [`8 hours`], [`Which African tribe established a wealthy empire supplying native Africans to European slave traders?
`]: [`Ashanti of the Gold Coast`], [`Which accurately describe the successes of Labour government reforms following WW2?
Which were true about the impact of the Civil War on the people of Russia?
Which were RELIGIOUS arguments against slavery promoted by 18th century abolitionists?
The following statements describe experiences of Scots emigrants in their new homelands. Which are accurate?
Which were factors in the large scale emigration of Irish people to Scotland in the 19th century?
The Union of Liberation formed in St Petersburg in 1904 demanded . . .
Which descriptions of the 1917 October Revolution in Russia are accurate?
Which are true of religion in Scotland during the 1540s?
Which are accurate statements about Malcolm X?
Which were viewed as positive outcomes of new Weimar Republic in Germany after WWI?
Which person led the Suffragette movement of the early 20th century?
`]: [`Emmeline Pankhurst`], [`Which are historical accounts relating to the murder of Lord Darnley in 1567?
Which are accurate statements about the Freedom Rides in 1961?
During WW1 common diseases suffered by soldiers during trench warfare included:
Which accurately describe events which followed the Scots victory at Bannockburn?
Which are true of the Presbyterian Second Book of Discipline in 1578?
In which year did Mary Stuart move from Scotland to France?
`]: [`1548`], [`The _______ were the elite Nazi uniformed militia in charge of protecting Germany from political enemies.
`]: [`Schutzstaffel`], [`The Treaty of _______ ended the First World War.`]: [`>Versailles`], [`Which statements about the Liberal government’s national insurance scheme of 1911 are accurate?
Which statements accurately describe the conditions of enslaved people on Caribbean plantations?
In which year were women over the age of 21 finally given the right to vote?
`]: [`1928`], [`What were main aims of Nazi economic policy between 1933 and 1939?
Images of Black student Elizabeth Eckford being bullied and threatened made national and world news headlines in 1957. This incident took place at:
`]: [`Little Rock High School`], [`The increase in women working during World War Two changed social attitudes because:
Which are true about the Labour government’s post war reforms to address unemployment?
Which plot against Elizabeth was Mary Queen of Scots accused of being involved in 1586?
`]: [`The Babington Plot`], [`What term was used to describe a wealthy class of Russian peasant who owned a large farm and employed other peasants? `]: [`>Kulak`], [`Which are accurate statements about the Montgomery Bus Boycott in 1955?
Which arguments supported Elizabeth’s claim to the throne of England instead of Mary Stuart?
Which were difficulties experienced by Mary Stuart when she returned to Scotland as Queen?
Which were HUMANITARIAN arguments against slavery promoted by 18th century abolitionists?
The impact of World War One led to the abdication of Tsar Nicholas II because . . .
Which were housing problems in Britain in the aftermath of WW2?
At Robert Bruce’s first parliament in 1308, the Scottish bishops absolved Bruce of his past sins, confirmed in a document known as:
`]: [`Declaration of the Clergy`], [`Which were reasons for the opposition to Margaret, Maid of Norway becoming Queen of Scotland?
What was Mary Stuart’s reason for not recognising the Treaty of Edinburgh?
`]: [`The Treaty ended her claim to be the rightful Queen of England`], [`The impact of World War One on Russia led to the abdication of Tsar Nicholas II because . . .
Which were factors that caused many Scots to emigrate during the 1800s and 1900s?
Which are accurate accounts of how Tsarist forces suppressed the Russian revolution of 1905?
What was the main reason that many Jewish immigrants came to Scotland between 1850 and 1920?
`]: [`To escape religious persecution`], [`The following describe Scottish resistance to Edward 1 in 1297. Which accounts are accurate?
The leader of the violent revolt against the Weimar Government in 1919 was:
`]: [`Rosa Luxemburg`], [`Which were groups opposed to the Nazi regime in Germany?
Which are accurate accounts describing the impact of the Russian Revolution of 1905?
The statements below describe the years following Scotland’s defeat at the Battle of Falkirk. Which are accurate?
Which 1772 court case is regarded by historians as being the start of the Abolitionist movement in Britain?
`]: [`The Somerset Case`], [`A successful revolt by enslaved people against French plantation owners led to the settlement of liberated enslaved people on which island?
`]: [`Haiti`], [`Which were true of poorhouses in Britain at the start of the 20th century?
Which reasons explain why the Bolsheviks were able to seize power in 1917?
Which two laws together represented ‘Affirmative Action’ by the US government in 1972?
Which statements about the impact of the events at Little Rock High School are accurate?
Which formed part of the Labour’s government’s post-war housing reforms?
Which are accurate statements about Britain’s Jute industry during and after WW1?
Which were ways that Scots emigrants preserved their traditional ways of life and Scottish identity?
The Labour government’s policy of nationalisation was criticised because:
In which Scottish Castle was Mary Queen of Scots imprisoned after defeat at Carberry Hill.
`]: [`Loch Leven Castle`], [`Which were factors contributing to the failure of the reforms introduced by the provisional Government in 1917?
In which year did Margaret, Maid of Norway, die?
`]: [`1290`], [`Which were factors leading to the increased support for civil rights in America after 1945?
Which were typical of the problems facing new immigrants arriving in America in the 1800s?
In the early 1900s it was believed that poor people had a responsibility to find their own way out of poverty. This attitude was known as:
`]: [`Self-help`], [`Which city is associated with the wealthy 18th century slave trader Edward Colston?
`]: [`Bristol`], [`Which are accurate statements about the events at Birmingham, Alabama in 1963?
Which were terms contained within the Treaty of Birgham?
Which factors made America an attractive destination for European immigrants in the 1800s?
Edward I chose John Balliol to be the next King of Scotland because . . .
`]: [`Balliol had a stronger claim than Bruce under Scots inheritance law`], [`Which of the following were subject to rationing throughout WW2?
Which were factors that brought about changes to Scotland’s housing after WW1?
Most Italian immigrants to Scotland were . .
`]: [`Catholic`], [`In the late 18th century, which prominent Abolitionist collected and publicised information about the terrible conditions on slave ships?
`]: [`Thomas Clarkson`], [`In the early 1900s which movement provided low cost food and other commodities for working class people?
`]: [`The Cooperative Society`], [`Which statements about the Russian monk Grigori Rasputin are accurate?
Which Nazi economic policy aimed to ensure that everyone who wanted to work had a job?
`]: [`The German Labour Service`], [`Which were examples of famous American Civil Rights protests in the 1950s and 60s?
Which of the following British industries declined following WW1?
Which are true about women’s suffrage campaigns during WW1?
`]: [`Women’ suffrage campaigns were suspended during WW1`], [`The movement to end the slave trade through political and other means was called:
`]: [`The Abolitionist Movement`], [`Which descriptions of the Chaseabout Raid in 1562 are accurate?
Which were areas of the Highlands where people were evicted or cleared from their homes by ruthless landlords?
How many Russian civilians died as a result of the Russian Civil War from 1917 to 1921?
`]: [`8 million`], [`Which are historical accounts relating to the murder of Lord Darnley in 1567?
Which were true of British poorhouses at the start of the 20th century?
Which are true of the Treaty of Edinburgh in 1560?
Which civil rights protest in 1960 led to racial desegregation in restaurants and cafes across America?
`]: [`Greensboro Sit-ins`], [`The Scottish Parliament passed new laws in 1584 which established royal supremacy over the Kirk. These laws were known as:
`]: [`The Black Acts`], [`Which accurately describe the problems in Britain’s education system after WW2?
Which occurred following French and Belgian invasion of the Ruhr in 1923?
At a slave auction, captives were kept together in an enclosure. The enclosure gate was opened and the buyers rushed in together and grabbed the enslaved people they wanted. This was known as a:
`]: [`Slave scramble`], [`Which historical evidence suggests that Lord Darnley was involved in the murder of David Riccio?
`]: [`Darnley’s dagger was found at the murder scene`], [`Which were amongst the Presbyterian policies promoted by Andrew Melville in the 1570s?
Which were reasons for Bolshevik victory in the Russian Civil War?
Which factors caused a succession crisis following the death of Margaret, Maid of Norway?
Which accurately describe the difficulties faced by Germany in 1918?
At the start of WW1 the British military recruitment campaign sought volunteers aged:
`]: [`19 to 30`], [`What percentage of Irish immigrants to Scotland between 1830 and 1900 were Catholic?
`]: [`75%`], [`Which is the best description of an ‘Empire’?
`]: [`A group of nations ruled over by the emperor or government of one country`], [`The compulsory enrolment for military service in a country's armed forces is called ______`]: [`>Conscription`], [`Which are accurate descriptions of how African enslaved people were prepared for sale after arriving in the Americas?
Who was the German President at the coming to power of the Nazi Party in 1933?
`]: [`Hindenburg`], [`Which were arguments used by those opposed to abolishing the slave trade?
Which statements about the impact of Jewish immigration on Scotland are accurate?
At the start of World War 1 many young men volunteered for military service because they saw it as their duty to defend King and country. This term for this is:
`]: [`Patriotism`], [`In the 1942 Beveridge Report, which word was used to describe the problem posed by unemployment?`]: [`>Idleness`], [`In which year was Mary Queen of Scots executed?`]: [`>1587`], [`Which were reasons for the growing unpopularity of the Roman Catholic Church in Scotland during the 16th century?
Which reforms were introduced by the Education Act of 1907?
The Bolshevik’s political beliefs were based on the ideas of which European philosopher?
`]: [`Karl Marx`], [`Which contributed to the deterioration of Mary Queen of Scots marriage to Lord Darnley?
In the 1800s living standards in Scotland were poor and in rural areas many lived in primitive accommodation known as:
`]: [`Blackhouses`], [`Which were reasons for the declining popularity of the Russian Royal family during the First World War?
Which were true of the education system in Nazi Germany during the 1930s?
Which were Liberal reforms that aimed to help the unemployed?
Which are accurate descriptions of the conditions experienced by African enslaved people on the journey to the Americas?
In which year was Mary Queen of Scots forced to abdicate (give up the throne)?
`]: [`1567`], [`Which were true of the education system in Nazi Germany during the 1930s?
Which statements explain the strong support for William Wallace as a leader?
Groups within the British Army where men could serve alongside their friends, neighbours and colleagues were known as:
`]: [`Pals Battalions`], [`During WW1 which product was used to manufacture sandbags, rope and nosebags for horses?`]: [`>Jute`], [`Which were true of the Labour Government’s 1946 Industrial Injuries Act?
What term was used to describe America’s immigration policy from 1865 to 1928?
`]: [`Open Door`], [`By 1916, the rate of inflation in Russia had reached . . .
`]: [`200%`], [`Which crop produced by enslaved people dominated the Caribbean economy during the 18th century?
`]: [`Sugar`], [`During the rise of the British Empire, which Scottish family made its fortune from exports in coal and steel?
`]: [`Weir`], [`In 1905 in Russia, a political movement called Marxism began to gather support. Marxism proposed that:
The letters sent to the Pope by Scottish nobles and senior clergy in 1320 became known as:
`]: [`The Proclamation of Arbroath`], [`Which shop workers’ rights were established by the 1911 Shops Act?
`]: [`Maximum working week 60 hours and a weekly half-day holiday`], [`Which were factors in the high death toll amongst African people as a consequence of the Atlantic slave trade?
Which were HUMANITARIAN arguments against slavery promoted by 18th century abolitionists?
Which statements about the impact of Jewish immigration on Scotland are accurate?
Which measures were part of the government reforms in Russia following the revolution of 1905?
Which battle in 1547 saw the Scottish army defeated with southern Scotland coming under English occupation?
`]: [`Battle of Pinkie`], [`Which occupations were exempt from conscription during WW1?
Which are accurate accounts of the treatment of Jews in Nazi Germany?
Which accurately describe the impact of Caribbean trade on the British economy during the 18th and 19th centuries?
Which are examples of Black Americans rising to high political office in American government?
Which are true of Ku Klux Klan’s activities in the US?
How was Perth Castle captured by Robert the Bruce’s forces during his guerrilla campaign?
`]: [`Soldiers wading across the river at night and scaling riverside wall with ladders`], [`In the early 1900s the British Government did not get involved in issues of poverty and hardship. This policy was known as:
`]: [`Laissez Faire`], [`Who did Alexander III name as his successor to the throne of Scotland?
`]: [`His granddaughter Margaret`], [`At the height of the British Empire, which Scottish town was famous for sugar production?
`]: [`Greenock`], [`Which descriptions of the Huntly Revolt in 1562 are accurate?
Which slogan was used by Lenin to gather support from ordinary Russian people in 1917?
`]: [`Peace, Land and Bread`], [`Which event held in Berlin in 1936 was intended by Hitler to showcase the superior athleticism of the German master race?`]: [`>The Berlin Olympic Games`], [`In 1945, parents with two or more children were eligible to receive weekly payments from the government. This was known as . . .`]: [`>Family allowance or child benefit`], [`Which are true of the Labour Exchanges of the early 1900s?
Which were true of the Russian Empire in the late 1800s?
Which are accurate descriptions of the experiences of African enslaved people on the journey to the Americas?
Which were reasons for the rise to power of Lenin and Trotsky in 1917?
Which statements are correct about the Award of Norham in 1291?
At which battle in 1308 did Robert Bruce defeat the MacDougalls, supporters of John Comyn?
`]: [`The Pass of Brander`], [`What was the name of the influential monk at the Russian Royal court during the Frist World War?`]: [`>Rasputin`], [`Which Russian figure became head of the provisional government in 1917?`]: [`>Kerensky`], [`A wax stamp for sealing envelopes became an emblem for the abolitionist movement in the late 1700s. It showed an African man, kneeling on the ground with chains on his arms along with the words:
`]: [`‘Am I not a man and a brother?’`], [`Under the Liberal unemployment benefit scheme in 1911, workers made unemployed were entitled to:
`]: [`7 shillings a week, for 15 weeks`], [`In 1966 which African American leader used the slogan ‘Black Power’ for the first time?
`]: [`Stokely Carmichael`], [`A survey of social conditions in 1903 concluded that ___ per cent of Londoners lived in poverty.
`]: [`30 per cent`], [`Which were arguments used by those opposed to abolishing the slave trade?
Which incident in 1955 resulted in the widespread boycott of a bus company and non-violent civil rights protests?
`]: [`Montgomery Bus Boycott`], [`The Presbyterian First Book of Discipline was rejected in 1560 because:
`]: [`Scottish nobles wouldn’t accept proposed changes to property ownership`], [`Which river did the English army need to cross to meet the Scots at the Battle of Stirling Bridge?`]: [`>River Forth`], [`Which were factors in the emigration of Italian people to Scotland in the 19th century?
Which is the most likely explanation for Mary Queen of Scots choosing Lord Darnley to be her husband?
`]: [`Darnley was an English Catholic and marriage strengthened Mary’s claim to the English throne`], [`What title is given to the chief minister and leader of the government in Germany?`]: [`>Chancellor`], [`What term describes the approach used by abolitionists trying to persuade members of Parliament to change slavery laws?
`]: [`Lobbying`], [`Which are true of religion in Scotland during the 1530s and 40s?
Which were true of the Morton Regency in 16th century Scotland?
The name of the contract which set out the terms of the marriage between Margaret, Maid of Norway and Edward II was:
`]: [`The Treaty of Birgham`], [`Which are accurate descriptions of events following the 1917 October Revolution in Russia?
Which event was every year in Nazi Germany to glorify war and the military?
`]: [`The Nuremberg Rally`], [`In the early 16th century Scotland was a:
`]: [`Catholic nation controlled by the Pope in Rome`], [`Which accurately describe the Kornilov Revolt in 1917 and its outcomes for the Bolsheviks?
During his kingship, John Balliol was referred to by the people of Scotland as:
`]: [`Toom Tabard`], [`Which Scottish emigrant set up America’s most famous detective agency?
`]: [`Allan Pinkerton`], [`Which is UNTRUE of the experiences of African enslaved people on the journey to the Americas?
`]: [`Being tied and manacled meant that there were no slave revolts during the middle passage`], [`Which famous economist argued the case against slavery in his 1776 book The Wealth of Nations?
`]: [`Adam Smith`], [`At the start of World War 1 many young men volunteered for military service because they saw their friends, neighbours and work colleagues enlist. This term for this is:
`]: [`Peer group pressure`], [`In which year did Mary Queen of Scots return to Scotland from France?
`]: [`1561`], [`The Beer Hall Putsch took place in:
`]: [`1923`], [`Which Scottish emigrant from Arbroath moved to the USA and set up a famous car manufacturing business?
`]: [`David Buick`], [`How many new towns were built in Scotland after WW2?`]: [`>5`], [`During which WW1 battle were most lives lost?
`]: [`The Somme`], [`Which legislation in 1964 banned discrimination on the basis of race in all public places in America?
`]: [`The Civil Rights Act`], [`Which reforms were introduced by the Children’s Act (Charter) of 1908?
Which are true of Ku Klux Klan’s activities and beliefs?
At the Award of Norham in 1291, which Scots nobles put forward a claim to be the next king of Scotland?
Which Protestant preachers of the 16th century are correctly matched with their nationalities?
Which factors led to increased demand for African slave labour on Caribbean sugar plantations during the 18th century?
Which statements accurately describe how Scotland benefitted from the British Empire?
Which are accurate accounts of Mary’s marriage to the Earl of Bothwell?
Which are true of the Liberal Government’s 1911 unemployment benefit scheme?
Which happened to Hitler in the aftermath of the Munich Beer Hall Putsch?
Which were true of conditions in British poorhouses at the start of the 20th century?
The Representation of the People Act in 1918 meant that a women had the right to vote as long as:
Which are accurate statements about the events at Little Rock High School in 1957?
How much did each British worker contribute to the new national insurance scheme in 1911?
`]: [`4 pence per week`], [`Introduced by the Liberal Government in 1908, what name was given to the places where workers went to seek information about jobs?`]: [`>Labour exchanges`], [`Which are accurate accounts of the trial of Mary Queen of Scots in 1586?
In which 1560 publication did John Knox set out his ideas for the new reformed Church in Scotland?
`]: [`The First Book of Discipline`], [`Which are historical accounts of Mary Queen of Scots execution?
Which of the following are famous empires from world history?
Which events leading to the surrender of King John Balliol are accurate?
Who was the Russian Prime Minister that led the government reforms following the 2005 revolution?
`]: [`Stolypin`], // GRAPHIC COMMUNICATION [`In desktop publishing, ______ space is the vertical space between columns.
Identify the missing term.
`]: [`>gutter`], [`Which of the following are features of a 3D CAD Illustration?
Which computing device has a large touch screen which allows for portable digital sketching?
`]: [`Tablet`], [`________ drawings show how a component with multiple parts fits together.
Identify the missing term.
`]: [`>Assembly`], [`In desktop publishing, reverse text is where . . .
`]: [`The colour of the text is lighter than the background colour`], [`Which drawing type is shown below?

What angle are hatch lines drawn at?
`]: [`45 degrees`], [`In 3D modelling, ______ array repeats a feature or sketch around an axis or along a PCD.
Identify the missing term.
`]: [`>Radial`], [`In desktop publishing, adding an explanation or comment to a text or diagram to a design is called . . .
`]: [`Annotation`], [`When rendering sketches to make them appear 3D it is important to identify a _____ source.
`]: [`>Light`], [`Which of the following are geometric shapes?
Which is NOT a form of render applied to a drawing to make the graphic look more realistic?
`]: [`Proportion`, `Perspective`], [`Fonts that have small strokes at the ends of each letter are _____ fonts.
Identify the missing term.
`]: [`>serif`], [`What does this symbol show?

What feature has been added to this graphic?

A CAM machine that cuts out shapes on to flat materials is a . . .
`]: [`>Laser cutter`], [`Which line type is this?

Which 3D modelling feature creates a straight edge, usually at 45 degrees, on the edge of an object?
`]: [`>Chamfer`], [`Which device allows the user to copy and save drawings, sketches and documents as digital files?
`]: [`Flatbed scanner`], [`Which constraint has been used to assemble these two parts?

There must be a ____ between the each view on an exploded view.
Identify the missing term.
`]: [`>Gap`], [`____ justified text has even spacing between words and a 'rough' edge on the right side.
Identify the missing term.
`]: [`>left`], [`What does this symbol show?

Which desktop publishing feature has been used in this graphic?

Which principle is being described here?
‘This prevents a design from looking flat. The designer uses layers to create the background, mid-ground and foreground elements.’
`]: [`Depth`], [`What does this symbol show?

Environmentally friendly inks are ____ and wax inks.
Identify the missing term.
`]: [`>Soy`], [`Graphics can be created in two ways: Manual and Digital. Which type are created on Desktop Publishing software?
`]: [`>Digital`], [`Small sketches or quick DTP mock ups to test out different layouts are known as . . .
`]: [`>thumbnails`], [`Preliminary graphics that allow the designer to test out different ideas and layouts for promotional graphics are known as:
`]: [`Thumbnails`], [`Whom in this list gains most benefit from 3D CAD illustrations?
`]: [`The Client, who is a non-graphics specialist`], [`Which form of text justification is shown below?

In computer-aided design, 3D views of an object are called _________ views.
Identify the missing term.
`]: [`>Pictorial`], [`_____ dimensions are used with circles and use a symbol of a circle with a line through it.
Identify the missing term.
`]: [`>Diameter`], [`Which 3D modelling function has been used alongside extrude here?

Which drawing type is shown below?

In CAD terminology a flat surface on a model is a . . .
`]: [`Face`], [`In desktop publishing, 'advancing' colours are ____ colours.
Identify the missing term.
`]: [`>warm`], [`Which drawing type is shown below?

Which of the following is a warm colour?
`]: [`Yellow-orange`], [`What is the name of this symbol?

In desktop publishing layout, the space along the bottom of a page is known as the _______.
Identify the missing term.
`]: [`>footer`], [`In CAD terminology, multiple components constrained together is:
`]: [`an Assembly`], [`Which type of graphic type is shown in this image? Preliminary, Production or Promotional?

What does this symbol show?

Name the type of personal computing device that you can take with you and use in different environments.
`]: [`>Laptop Computer`], [`Which line type is this?

_____ plans show the arrangement of rooms, position of the windows and doors, the types of internal and external walls.
Identify the missing term.
`]: [`>floor`], [`Which of the following is a square dimension?

Within a computing system, 2D and 3D CAM technologies are essentially:
`]: [`Output devices`], [`In graphic design, which of the following images demonstrates good line quality?
`]: [`
A printer that uses toner to burn text / images onto a page is a ______ printer.
Identify the missing term.
`]: [`>Laser`], [`Which drawing type is shown below?

Which 3D modelling function has been used alongside extrude here?

Which geometric form is created from this surface development?

In desktop publishing, a drop capital is where . . .
`]: [`the first letter in an article enlarged and positioned below the line`], [`Which orthographic view shows the side of an object?
`]: [`End elevation`], [`Similar to a drawing board, ____ CAD creates flat technical line drawings.
Identify the missing term.
`]: [`>2D`], [`Which form of dimensioning is used in the elevation?

Which type of graphic type is shown in this image? Preliminary, Production or Promotional?

Which type of graphic type is shown in this image? Preliminary, Production or Promotional?

What graphic types are represented in these images?

Exploded components must explode along the correct…
`]: [`>Plane`], [`What does this symbol show?

Which type of infographic is this?

In CAD-terminology, multiple parts constrained together is an . . .
`]: [`>Assembly`], [`This is an example of:

In CAD-terminology, a single part, like a single Lego block, is a...
`]: [`>Component`], [`The actual distance between two points, unaffected by foreshorting, is referred to as True ______.
Identify the missing term.
`]: [`>Length`], [`Designers aim to create _____ by combining different elements to create a sense of wholeness or cohesion in a spread.
Identify the missing term.
`]: [`>unity`], [`Fonts that do not have strokes at the ends of each letter are ____ _____ fonts.
Identify the missing two-word term.
`]: [`>sans serif`], [`In a computing system, what is an input device?
`]: [`A device connected to a computer that sends information to the computer`], [`Which type of graphic type is shown in this image? Preliminary, Production or Promotional?

The colour grey is associated with…
`]: [`Elegance`], [`When an object is drawn at its actual size the scale is _:1
State the value.
`]: [`>1`], [`In desktop publishing,____ ____ is where text moves out of alignment to accommodate images and shapes.
Identify the missing two-word term.
`]: [`>text wrap`], [`Under British Standards, all drawings must be created using which measuring system?
`]: [`Millimetres`], [`Which desktop publishing feature enables edge printing (no white edge) on printed spreads?
`]: [`Bleed`], [`The view that shows the front of an object is the ______.
Identify the missing term.
`]: [`>Elevation`], [`__ CAD modelling allows designers to create complex models including buildings and products in three dimensions.
Identify the missing term.
`]: [`>3D`], [`The name for the projection method used in the UK is _____ Angle Projection.
`]: [`>Third`], [`Which 3D modelling technique has been used here?

Hatch lines should be drawn at ____ degrees.
Identify the missing term.
`]: [`>45`], [`Which 3D modelling edit has been applied here?

____ ____ _____ a path is where text follows a set path to create interesting shapes.
Identify the missing three-word term.
`]: [`>flow text along`], [`What does this symbol show?

What are advantages of cloud storage?
What is the name of a 2D shape in CAD that can be turned into a 3D object by pulling or rotating it in a specific way?
`]: [`a Profile`], [`A production graphic view where parts have been offset along an access to show how components fit together is called an ________ isometric drawing.
Identify the missing term.
`]: [`>Exploded`], [`Which CAD feature is used to create cylindrical 3D solids by revolving a 2D sketch around a centre axis?
`]: [`>Revolve`], [`Which output device is often used to present graphic work to clients and design teams?
`]: [`Digital projector`], [`Hidden ______ lines show hidden outlines and edges.
Identify the missing term.
`]: [`>Detail`], [`Which 2D drawing tool has been used here?

The colour _____ is a tool that designers use to organise colour hues around a circle.
Identify the missing term.
`]: [`>wheel`], [`In 3D modelling, ___ array repeats a feature or sketch along two axis.
Identify the missing term.
`]: [`>Box`], [`Which of the following are sans serif font styles?

In desktop publishing, ______ justified text leaves 'rough' edges on both sides.
Identify the missing term.
`]: [`>centre`], [`What is the name for a variation of a colour created by mixing in white?
`]: [`Tint`], [`Which constraint has been used in the assembly of these two parts?

When printing graphics, which of the following processes would be environmentally friendly?
`]: [`Printing several graphics on one card with very small gaps between graphics`], [`In graphic design, Illustrations are:
`]: [`Promotional Graphics`], [`What 'S' are the common visual cues used on building sites to draw attention to hazards, fire equipment and safe conditions?
Answer: S-m--l-
`]: [`>Symbols`], [`Which are important when creating computer-aided illustrations of 3D CAD models?
Name the an output device that connects to a desktop compuuter and displays video, images and text.
`]: [`>A monitor`], [`Which infographic type is best suited to showing percentages?
`]: [`>Pie Chart`], [`Which are benefits of producing thumbnails at the start of a design?
The space around the outside of a spread is the . . .
`]: [`Margin`], [`Which 3D modelling feature allows 3D modelling edits to be copied and flipped on a plane?
`]: [`>Mirror`], [`Which type of graphic type is shown in this image? Preliminary, Production or Promotional?

Which form of text justification is shown below?

Which type of infographic is this?

_____ plans show the area boundary and outline of the new building.
Identify the missing term.
`]: [`>Site`], [`In graphic design, the accurate shape of a cut surface is called the ____ shape of the section.
`]: [`>True`], [`In order to prevent a design appearing flat, the designer uses layers to create an impression of _______.
Identify the missing term.
`]: [`>depth`], [`____ dimensions are where each single dimension is placed adjacent to the next dimension.
Identify the missing term.
`]: [`>Chain`], [`A _______ office is one that manages its documents digitally.
Identify the missing term.
`]: [`>Paperless`], [`Which of the following are advantages of CAD?
3D CAD ____________ is the process of applying materials, highlights and shadows to a CAD model and rendering it to create a realistic looking image of the model.
Identify the missing term.
`]: [`>Illustration`], [`Which of the following are potential drawbacks of CAD?
Which 2D drawing tool has been used here?

Which type of scale used for rendering 3D objects is shown below?

____ are used when dimensioning hexagonal shapes to show the dimension across the corners.
Identify the missing term.
`]: [`>Corners`], [`Which of the following are serif font styles?

___ point perspective drawing is a 3D pictorial view that shows an object from its edge.
Identify the missing term.
`]: [`>Two`], [`Which graphic type are these images?

Which are advantages of cloud computing?
Which of the following are geometric forms?
Sectional views give builders, roofers and joiners information about the building _____ used such as blockwork, brickwork and insulation board.
Identify the missing term.
`]: [`>materials`], [`Which desktop tool allows designers to save time when duplicating items?
`]: [`Copy and paste`], [`Which plan is often created at the scale 1:1250?
`]: [`Location Plan`], [`The geometric shape who's edge is equidistant to its centre point is called a . .
`]: [`>Circle`], [`What does this symbol show?

A4 paper is . . .
`]: [`Half the size of A3`], [`Which two computing devices are best suited to CAD Modelling and Desktop Publishing?
This symbol is a...

Which devices outputs digital formats to physical formats on paper?
`]: [`>Printer`], [`Which type of scale used for rendering 3D objects is shown below?

Which input device allows high quality images to be captured?
`]: [`>Digital camera`], [`Which of the following best describes the term "page layout" in the context of DTP?
`]: [`The process of arranging text and images on a page`], [`Which material is shown in this computer-aided illustration?

In CAD-terminology, a flat surface on a model is called a . . .
`]: [`>Face`], [`When an object is drawn at half its actual size the scale is 1:_
State the value.
`]: [`>2`], [`In desktop publishing, which kind of cropping leaves the image in a geometric shape with its background?
`]: [`Square Cropping`], [`Colours near each other on the colour wheel produce _________ colour schemes.
Identify the missing term.
`]: [`>harmonic`], [`In 3D modelling, the _____ constraint allows a face on one part to line up with the face of another part.
Identify the missing term.
`]: [`>Align`], [`A designer might combine opposite colours or different text elements on a spread to achieve the effect of _________.
Identify the missing term.
`]: [`>contrast`], [`Which infographic type is best at showing changes over time?
`]: [`>Line Graph`], [`Which 3D modelling feature keeps the material that occurs between a solid and the extrusion?
`]: [`>Intersect`], [`The geometric form that has the base of a circle which tapers up to a point is called a . . .
`]: [`>Cone`], [`This is an example of a:

Identify the feature labelled X.

Which line type is this?

What does this symbol show?

__________ and shadows allow CAD illustrations to appear realistic and show the surface texture of a model.
Identify the missing term.
`]: [`>Highlights`], [`Extrude and Revolve are 3D modelling . . .
`]: [`Features`], [`Which are advantages of producing thumbnails digitally rather than manually?
What does this symbol show?

Which colour is associated with royalty and peace?
`]: [`Violet/Purple`], [`Which device allows users to take high-quality images?
`]: [`Digital camera`], [`In desktop publishing, which kind of cropping leaves the image in a cut out around the shape leaving no background?
`]: [`Full Cropping`], [`Which device enables users to click, highlight and drag icons on a computer screen?
`]: [`Mouse`], [`Which of the following are advantages of 2D CAD over 3D CAD?
Which three are primary colours?
The view that shows the side of an object is the ___ ________.
Identify the missing term.
`]: [`>End Elevation`], [`What does this symbol show?

_____ dimensions are a measurement of a horizontal or vertical feature.
Identify the missing term.
`]: [`>Linear`], [`Which drawing type is shown below?

When dimensioning hexagonal shapes ____ Flats is used to show the dimension across the flat faces.
Identify the missing term.
`]: [`>Across`], [`Using 2D drawing tools creates a . . .
`]: [`Sketch`], [`Which feature of CAD be used to communicate effectively with non-graphic specialists?
`]: [`Rendered pictorial images`], [`In desktop publishing, the large area usually found near the top of the spread is the . . .
`]: [`Heading/Title Space`], [`Which form of text justification is shown below?

Which geometric form has two identical ends and joining faces which are rectangles?
`]: [`>Right prism`], [`Which desktop publishing feature is evident in this extract?

Which form of array is being used below?

The _____ scale is a tool used to identify light and dark. It most commonly displayed in a rectangle split into 5 boxes and rendered.
`]: [`>Tonal`], [`In desktop publishing, which of the 3 P’s do DTP thumbnails come under?
`]: [`Preliminary`], [`Which form of array is being used below?

What does this symbol show?

The geometric shape with 6 sides is a called a . . .
`]: [`>Hexagon`], [`Which principle is being described here?
‘Graphic elements are presented in opposite ways, for example using opposing colours or font styles.’
`]: [`Contrast`], [`Which 2-D drawing tool allows movement left and right, and up and down but does not change the angle being viewed?
`]: [`>Pan`], [`Which device enables the user to click, highlight and drag icons on a computer screen?
`]: [`>Mouse`], [`The colour red is associated with . . .
`]: [`Anger`], [`Graphic elements (text, graphics, lines, etc) are often _______ in an organised way to connect elements visually and to achieve a neat, structured appearance.
Identify the missing term.
`]: [`>aligned`], [`Which geometric form is created from this surface development?

This is an example of a:

Which input device allows a designer to sketch directly into their computer?
`]: [`>Graphics tablet`], [`The rules that should be followed when creating exploded drawings are:
Which principle is being described here?
‘Graphic elements are organised in a deliberate fashion in order to connect elements visually to achieve a neat, structured look.’
`]: [`Alignment`], [`Which type of graphics are created on drawing boards? Manual or digital?
`]: [`>Manual`], [`Which of the following design professionals are creators of production graphics?
What shapes use AF and AC for dimensioning?
`]: [`Hexagons`], [`What does this building site sign show?

_______ shapes are irregular and found in nature.
Identify the missing term.
`]: [`>organic`], [`The abbreviation BSI stands for . . .
`]: [`British Standards Institute`], [`Which type of infographic is this?

Which line type is this?

In graphic design, manual illustrations are an example of :
`]: [`Preliminary Graphics`], [`To help the environment it is best to use _____ paper.
Identify the missing term.
`]: [`>Recycled`], [`In graphic design, a 3D model is flattened in a way that shows how it can be folded back into shape. This is called surface __________<
`]: [`>Development`], [`This is an example of a:

Which inforgraphic type is best suited to displaying large amounts of data?
`]: [`>Table`], [`What does this building site sign show?

Which are potential disadvantages of introducing CAD to a design business?
Which colour would best be described natural, safe, earthy and reliable?
`]: [`>brown`], [`What does this symbol show?

At the end of the dimension lines and leader lines there is a long, narrow . . .
`]: [`>Arrowhead`], [`What is used to calculate the true size or shape of an object when its representation in an image is affected by foreshortening?
`]: [`True Length and True Shape`], [`Which of the following is a Radial dimension?

Which type of graphic type is shown in this image? Preliminary, Production or Promotional?

CAD aids communication with manufacturers because it can provide:
Which of the following is a diameter dimension?

Which of the following should be featured in a title block?
In desktop publishing, guidelines are set up by designers to aid _________ of graphic elements.
Identify the missing term.
`]: [`>alignment`], [`A tone is created by adding ____ to a pure hue.
Identify the missing term.
`]: [`>grey`], [`What does this symbol show?

A tint is created by adding _____ to a pure hue.
Identify the missing term.
`]: [`>white`], [`Which are features of desktop publishing software that make it helpful for producing promotional items?
____ lines are used to show the bends in an object that has been flattened into a 2D shape.
Identify the missing term.
`]: [`>Fold`], [`When an object is drawn to twice its actual size the scale is _:1
State the value.
`]: [`>2`], [`_____ working is where an employee has the option to work at home or another desirable location away from the company office.
Identify the missing term.
`]: [`>Remote`], [`Name the computing device which:
Which type of graphic type is shown in this image? Preliminary, Production or Promotional?

In computer-aided design, components and assemblies are often placed in an ___________ to help make the CAD illustrations appear more realistic.
Identify the missing term.
`]: [`>Environment`], [`Which 3D modelling technique has been used here?

What does this building site sign show?

_____ is the line type used to show visible edges and outlines.
Identify the missing term.
`]: [`>Outline`], [`Which principle is being described here?
‘One element on the spread catches the readers eye first and is at the top of visual hierarchy.’
`]: [`Dominance`], [`What does this symbol show?

Colours opposite one other on the colour wheel produce ________ colour schemes.
Identify the missing term.
`]: [`>contrasting`], [`Which 3D modelling edit has been applied here?

In graphic design, which are advantages of creating graphics manually?
Which three are secondary colours?
A _____ ____ should feature on every orthographic drawing to provide details about scale, date and page number.
Identify the missing term.
`]: [`>Title block`], [`What is the correct title for the view on the right, if the view on the left is the elevation.

Thumbnails can be created manually and _________.
Identify the missing term.
`]: [`>digitally`], [`In 3D modelling, ______ array repeats a feature or sketch along one axis.
Identify the missing term.
`]: [`>Linear`], [`Which of the following are advantages of 3D CAD?
The process of copying a colour from another place on a spread is called colour _______.
Identify the missing term.
`]: [`>picking`], [`In 3D modelling, the ______ ____ constraint is used in the assembly of cylindrical components.
Identify the missing term.
`]: [`>Centre axis`], [`In desktop publishing, the snap to grid feature . . .
`]: [`ensures that objects can be easily positioned in line with any existing objects on the screen`], [`Remote working is . . .
`]: [`Using computing technology to work outside of an office`], [`Easy to storage and retrieve drawings and files and easy to modify models and drawings are two __________ of CAD.
Identify the missing term.
`]: [`>Advantages`], [`Which are benefits of digital marketing over traditional printed marketing media?
A scale drawing of a mouse mat is made, using the scale of 1:10. The actual mouse mat would be:
In desktop publishing, the space between columns is the . . .
`]: [`Gutter Space`], [`Environmentally friendly inks are soy and ____ inks.
Identify the missing term.
`]: [`>Wax`], [`Which type of infographic is this?

For a company with global offices, a benefit of remote working is that . . .
`]: [`It improves collaboration between employees in different locations`], [`Which 2D drawing tool has been used here?

Which 3D modelling function has been used alongside extrude here?

Which 2D drawing tool has been used here?

In computer-aided design, wood, metal, plastic and glass are commonly used _________.
Identify the missing term.
`]: [`>Materials`], [`______ _____ is a line type used to show where a section has been created (2 words).
Identify the missing term.
`]: [`>Cutting plane`], [`Which 3D modelling edit is being applied here?

Which orthographic view shows the front of an object?
`]: [`Elevation`], [`What does this symbol show?

Which of the following is an angular dimension?

Graphics can be created in two ways: Manual and Digital. Which type are created on graphics tablets?
`]: [`>Digital`], [`Which input device enables sketches, drawings and other documents to be copied electronically, allowing them to be stored and edited digitally?
`]: [`>Scanner`], [`Which plan is often created at the scale 1:50 or 1:100?
`]: [`Floor Plan`], [`A device which enables the user to input text and numbers into a computer is called a ______.
Identify the missing term.
`]: [`>Keyboard`], [`Which method of communication is NOT common during remote working?
`]: [`Face-to-face meeting`], [`Which of the statements below are disadvantages of creating digital graphics?
Which form of dimensioning is used in this plan?

Identify the feature labelled X.

In orthographic projection, which view is the base view from which all other views are projected?.
`]: [`Elevation`], [`The colour green is associated with . . .
`]: [`Freshness`], [`Which primary colour is bright and cheerful?
`]: [`Yellow`], [`In desktop publishing, where an image extends off of the boundary of the page, the term for this is _____.
Identify the missing term.
`]: [`>bleed`], [`In computer-aided design, ____________ views show the elevation, end elevation and plan of a component or assembly.
Identify the missing term.
`]: [`>Orthographic`], [`In which ways can dimension be read on a page?
`]: [`Upright and turned clockwise`], [`Which device allows 3D objects to be scanned and turned into a 3D file?
`]: [`3D scanner`], [`Which graphic types are created with pencil and pen on paper? Manual or digital?
`]: [`>Manual`], [`Which colour would best be described as cool, restful, fresh and environmentally friendly?
`]: [`>green`], [`What is the term for a variation of a colour created by adding grey?
`]: [`Tone`], [`Posters, billboards and pull up banners are _____-page formats.
Identify the missing term.
`]: [`>single`], [`What is the term for a variation of a colour created by adding black?
`]: [`Shade`], [`In desktop publishing,_____ justified text leaves clean lines on each end but the spacing between words varies.
Identify the missing term.
`]: [`>fully`], [`This symbol is the ____ point
Identify the missing term.

Which 3D modelling feature removes material from a solid when extruding or revolving?
`]: [`>Subtract`], [`The _____ should be even between views in exploded views.
Identify the missing term.
`]: [`>Spacing`], [`Which car is sketched in proportion?
`]: [`
What does this symbol show?

In graphic design, sectional views are found in:
`]: [`Production Graphics`], [`Plans that show where a new building is placed in its surrounding neighbourhood is called a _____ plan.
Identify the missing term.
`]: [`>Location`], [`Which of the following is a cool colour?
`]: [`Blue-green`], [`Which form of array is being used below?

A shade is created by adding _____ to a pure hue.
Identify the missing term.
`]: [`>black`], [`Which colour would best be described cool, rich, regal and peaceful?
`]: [`>purple`], [`This symbol stands for . . .

What is the name of the line type labelled A-A on the view on the left.

In computer-aided design, the term for this type of view is . . .

In desktop publishing, mathematical shapes such as circles, squares and rectangles are . . .
`]: [`Geometric`], [`In desktop publishing, ___________ are added to thumbnails to explain the design or add a comment.
Identify the missing term.
`]: [`>annotations`], [`Which device enables the user to sketch directly into their computer?
`]: [`Graphics tablet`], [`Which drawing type is shown below?

What type of view is shown below?

Which form of dimensioning is used in the end elevation?

______ lines are used to show the middle of items that have an axis.
Identify the missing term.
`]: [`>Centre`], [`Which is true of 3D printing?
Identify the feature labelled X.

______ dimensions show the sizes from one starting point and are aligned above one another and evenly spaced.
Identify the missing term.
`]: [`>Parallel`], [`The best method of creating 3D sketches freehand is one and two point ___________.
`]: [`>Perspective`], [`Which of the following would use preliminary graphics in their work?
In desktop publishing, ________ are the text under an image to describe it or give credit.
`]: [`>captions`], [`___ point perspective drawing is a 3D pictorial view that shows an object face on.
Identify the missing term.
`]: [`>One`], [`Which drawing type is shown below?

Which drawing type is shown below?

Name the computing device which is:
__________ views show the inside of an object as if it has been cut along a plane.
Identify the missing term.
`]: [`>Sectional`], [`In graphic design, exploded Isometric drawings are an example of:
`]: [`Production Graphics`], [`What does this symbol show?

Which CAD feature takes a 2D shape and pulls it into a 3D form?
`]: [`>Extrude`], [`____ is one of the most essential elements of design. It has length, weight (thickness), and can be broken or solid.
Identify the missing term.
`]: [`>line`], [`In graphic design, graphs and charts are:
`]: [`Promotional Graphics`], [`_________ shapes are mathematical shapes which are perfect and regular.
Identify the missing term.
`]: [`>geometric`], [`Which drawing type is shown below?

What does this symbol show?

What does this symbol show?

Which of the following are creators of promotional graphics?
Where a shadow is added under an image or graphic to create depth within a layout, this is called a ____ _______.
Identify the missing two-word term.
`]: [`>drop shadow`], [`There must be a ____ between the edge of the view and the extension line.
Identify the missing term.
`]: [`>Gap`], [`Which 3D modelling feature creates material when extruding or revolving?
`]: [`>Add`], [`In a computing system, what is an output device?
`]: [`A device connected to a computer that has information sent to it`], [`In desktop publishing, the little boxes that appear around an item which allow you to manipulate its size are called _______.
`]: [`>handles`], [`Dimensions must sit ______ the dimension line.
Identify the missing term.
`]: [`>Above`], [`The ______ ends of the cutting plane should not intersect with the view.
Identify the missing term.
`]: [`>Thick`], [`In desktop publishing, copy and _____ is used by designers to save time and make exact copies of their work.
Identify the missing term.
`]: [`>paste`], [`Which type of graphic type is shown in this image? Preliminary, Production or Promotional?

Which type of graphic type is shown in this image? Preliminary, Production or Promotional?

Which type of graphic type is shown in this image? Preliminary, Production or Promotional?

In working drawing, all sizes must be in . .
`]: [`>Millimetres`], [`In CAD terminology a single part, like a single Lego block, is a . . .
`]: [`Component`], [`The ability to understand 3D objects and how they would appear from different angles is known as . . .
`]: [`Spatial awareness`], [`In desktop publishing, which element has both length and weight, can be broken or solid, and is used to connect elements visually?
`]: [`Line`], [`When using an inkjet or laser printer what can be done to ensure that printing is more environmentally friendly?
`]: [`Keep the background of documents white`], [`What does this symbol show?

____ dimensions are used where the shape is the same length and breath.
Identify the missing term.
`]: [`>Square`], [`_____ dimensions are used with arcs. They use a leader line and R.
Identify the missing term.
`]: [`>Radial`], [`In 3D modelling, the ____ constraint allows for a face on one part to be to be stuck to the face of another part in an assembly.
Identify the missing term.
`]: [`>Mate`], [`Which 3D modelling edit has been applied here?

To accurately render objects to appear realistic it is best to emulate the look of a ________ such as wood, metal or glass.
`]: [`>Material`], [`Which plan is often created at the scale 1:1200 or 1:250?
`]: [`Site Plan`], [`The method of showing 3D objects in a range of 2D views including the elevation, end elevation and plan is called _____________ projection.
`]: [`>Orthographic`], [`Which 3D modelling feature is used to remove material from inside a 3D model?
`]: [`>Shell`], [`Which view is shown here?

Which 2-D drawing tool enlarges a feature on screen so that small details appear bigger and are easier to work on?
`]: [`>Zoom`], [`A printer, mainly found in homes, which uses colour cartridges is an ______ printer.
Identify the missing term.
`]: [`>Inkjet`], [`In desktop publishing, 'receding' colours are ____ colours.
Identify the missing term.
`]: [`>cool`], [`Making objects transparent . . .
In desktop publishing, the ______ is the space around the outside of a page.
Identify the missing term.
`]: [`>margin`], [`Which constraint has been used in the assembly of these two parts?

Which type of graphic type is shown in this image? Preliminary, Production or Promotional?

In graphic design, concept sketches are an example of:
`]: [`Preliminary Graphics`], [`Which 2D drawing tool copies and positions duplicate objects without having to recreate them?
`]: [`Copy and Paste`], [`What does this symbol show?

What graphic types are these images?

What does this symbol show?

What 'P' is the name of a 2D shape in CAD that can be turned into a 3D object by extruding or revolving it?
Answer: P--f--e
`]: [`>Profile`], [`Which are benefits of a paperless office?
Which material is shown in this computer-aided illustration?

Which principle is being described here?
‘Combines different elements to create a sense of wholeness or cohesion in a spread. Different elements work together to help the reader make sense of the page.’
`]: [`Unity`], [`In graphic design, which are advantages of creating graphics digitally?
What does this symbol show?

Which of the following are right prisms?
Which orthographic view shows the top of an object?
`]: [`Plan`], [`A benefit of a touchscreen device is that . . .
`]: [`It does not require any input devices`], [`In sketching, the term for accurately representing the size and position of each part of an item in relation to the whole item is __________.
`]: [`>Proportion`], [`Which of the following media can be used to render to a drawing or sketch to add to the realism of the graphic?
When rendering spherical or cylindrical objects it is best to use a ________ when changing tones from light to dark to accurately represent this shape.
`]: [`>Gradient`], [`The term for any text longer than a few words is ________ text.
Identify the missing term.
`]: [`>extended`], [`Which colour would best be described as warm, exciting, passionate, dangerous and festive?
`]: [`>red`], [`What does this symbol show?

Which 3D modelling feature rounds the edge of an object to a specific radius?
`]: [`>Fillet`], [`Which line type is this?

____________ drawings are used to show room interiors. The true plan view is rotated and lines are projected up from this.
Identify the missing term.
`]: [`>Planometric`], [`Graphics can be created in two ways: Manual and Digital. Which type are created on Computer-Aided Design software?
`]: [`>Digital`], [`Which are advantages of producing thumbnails manually rather than digitally?
__________ drawings are 3D pictorial views that show an object projected at 30 degrees from an edge.
Identify the missing term.
`]: [`>Isometric`], [`In desktop publishing, what is usually displayed in the footer space?
`]: [`Page Number`], [`Which material is shown in this computer-aided illustration?

This symbol shows a ____.

Where data is stored online and is accessible over the internet, this is known as ______ storage (eg, Microsoft OneDrive).
Identify the missing term.
`]: [`>Cloud`], [`What does this symbol show?

In graphic design, roughs and visuals are an example of:
`]: [`Preliminary Graphics`], [`What is the correct definition of a 'common graphical language'?
`]: [`When people use the same standards (signs, symbols, CAD commands) across the world`], [`Which device enables the user to input text and numbers into a computer?
`]: [`Keyboard`], [`Which computing devices are portable?
What define the conventions and symbols that should be used to represent different types of information in a drawing?
`]: [`Standards`], [`Which geometric form is created from this surface development?

In desktop publishing, grids are used to aid _______ in a design.
Identify the missing term.
`]: [`>spacing`], [`In desktop publishing, _______ are vertical areas made of text, images and graphics.
Identify the missing term.
`]: [`>columns`], [`What does this symbol show?

_______ drawings are 3D pictorial views that show an accurate elevation, where the depth is projected back at 45 degrees and the depth is halved.
Identify the missing term.
`]: [`>Oblique`], [`In graphic design, which are disadvantages of creating graphics manually?
A designer has rendered this 3D graphic to give it a realistic appearance of:

High costs of hardware and specialist software to run the CAD program is a potential ___________ of Computer-aided design.
Identify the missing term.
`]: [`>Disadvantage`], [`The view that shows the top of an object is the _____.
Identify the missing term.
`]: [`>Plan`], [`Which areas of the 3Ps does CAD support?
Which line type is this?

Which 2D drawing tool has been used here?

CAM is an abbreviation for:
`]: [`Computer Aided Manufacture`], [`Which 2D drawing tool has been used here?

In graphic design, what view type is shown below?

In CAD-terminology, a starting point for sketching is a . . .
`]: [`>Work plane`], [`Name the type of personal computing device designed to fit on top of a typical office desk, and which is not portable.
`]: [`>Desktop Computer`], [`A view that is often used to show how parts are assembled together is an _____ view.
Identify the missing term.
`]: [`>Exploded`], [`A CAM machine that outputs 3D models is a . . .
`]: [`>3D Printer`], [`Understanding and identifying 3D objects in a variety of views is known as spatial _________.
`]: [`>Awareness`], [`When printing graphics, which of the following processes is not environmentally friendly?
`]: [`Printing on a larger scale than is required`], [`In CAD terminology a starting point for sketching is a . . .
`]: [`Work-plane`], [`Which are benefits of desktop publishing software over traditional design methods?
_____ lines are used to project sizes to different views. They are also used for dimension and leader lines.
Identify the missing term.
`]: [`>Projection`], [`Which material is shown in this computer-aided illustration?

Which drawing type is shown below?

Which of the following are features of 3D modelling?
Which of the following would be produced through 3D printing?
`]: [`Scaled prototypes`], [`In graphic design, freehand sketches are usually:
`]: [`Preliminary Graphics`], [`Which are benefits of digital advertising over traditional printed advertising media?
____ dimensions are shown with a curved dimension line and the degrees symbol is added after the number of degrees.
Identify the missing term.
`]: [`>Angular`], [`The British ________ Institute regulates the use of line types and symbols in Britain.
`]: [`>Standards`], [`One element on the spread catches the readers eye first and is at the top of visual hierarchy. In desktop publishing, the term for this is _________.
Identify the missing term.
`]: [`>dominance`], [`Which infographic type is best for showing patterns or trends?
`]: [`>Bar Chart`], [`Of the colours in the colour wheel, which would be most described as warm, cheerful and glowing?
`]: [`>yellow`], [`Which type of graphic type is shown in this image? Preliminary, Production or Promotional?

In desktop publishing, vertical areas of text and images are known as the . . .
`]: [`Column`], [`Name the output device that takes images generated by a computer displays them on a screen or wall.
`]: [`>Projector`], [`Desktop Publishing Thumbnails are an example of :
`]: [`Preliminary Graphics`], [`The use of drawing standards ____ communication across international boundaries.
Identify the missing term.
`]: [`>Aids`], [`In desktop publishing layout, the space along the top of a page is known as the _______.
Identify the missing term.
`]: [`>header`], [`In graphic design, logos are examples of:
`]: [`Promotional Graphics`], [`Identify the feature labelled X.

What type of weather front is indicated by this purple symbol??

Which of the following countries are experiencing slow population growth?
Which of the following countries are experiencing rapid population growth?
Slums or shanty towns located within or on the outskirts of Rio de Janeiro are otherwise known as?
`]: [`>Favelas`], [`
Which readings from Abercastle weather station are accurate?
Which of the following are likely to be located in an area of glaciated upland?
The grid lines that run across an OS map horizontally are called ______
`]: [`>Northings`], [`The distance of a location on the Earth from the equator is called:
`]: [`Latitude`], [`Which are ways that fan palms adapt to their tropical rainforest environment?
Which technology captures carbon dioxide (CO2) emissions pro¬duced from the use of fossil fuels in industrial processes for storage underground.
`]: [`Carbon Capture`], [`Which are examples of new farming technologies in developing countries such as India?
In developed countries such as the UK, which ethnic group is LEAST at risk of dying from coronary heart disease?
`]: [`White British`], [`Which are typical features of Tundra landscapes?
Measures of the distribution of income within a country are shown in the ______ Index.
`]: [`>GINI`], [`Which organisation’s role is to promote open and fair international trade, and reduce trade barriers?
`]: [`The World Trade Organisation (WTO)`], [`Which are government strategies for reducing the impact of climate change?
Which are ways that tundra plants adapt to their environment?
Which is true about the impact of malaria on developing countries?
Which contains information about population density and the political boundaries that exist between regions?
`]: [`Geographical atlas`], [`
Which symbol on an ordnance survey map is shown here?
`]: [`Castle`], [`Which are impacts of rapid population growth for a developing country such as Nigeria?

From this diagram of the UK’s main rivers, which is correct?
The negative impact of human activity on the Earth’s natural environment can be evidenced by:
Which of the following are true?
Which are true about the impact of changes to farming in developed countries?
Waterfalls are most likely to be found in the _______ course of a river.
`]: [`>Upper`], [`The weight of the air above us pushing down on earth is known as:
`]: [`Air pressure`], [`Which are accurate descriptions of the LOWER course of a river when compared with other stages?
Air pressure is measured in __________
`]: [`>Millibars`], [`Which is NOT an example of a regional trading alliance?
`]: [`North Atlantic Treaty Organization (NATO)`], [`On a map with a scale of 1:50,000, if the distance between two points on the map is 5 centimetres, what is the actual ground distance represented by those 5 centimetres?
`]: [`2.5 kilometres`], [`Which are reasons for the increased numbers of people leaving the countryside and moving into cities of developing world countries?
Limestone uplands are popular locations for tourism and recreation because:
Which feature is MOST likely to occur in the lower course of a river?
`]: [`Estuary`], [`Which two areas of the UK have the highest level of coronary heart disease?
Which are accurate descriptions of how how glaciation forms a U-shaped valley?
Farming that uses seeds which have been altered by scientific techniques is known as _______ modification.
`]: [`>genetic`], [`A steep, vertical, or near-vertical rock face along the coastline is a _______
`]: [`>Cliff`], [`
From the data about international visitors during the period 2005 to 2017, which statements are accurate?
Which are sources of land use conflict between commercial forestry and tourists?
Which are lifestyle strategies to reduce the impact of cardiovascular disease?
What does this symbol represent on a weather chart?

Limestone uplands are popular locations for tourism and recreation because:
Which are strategies for reducing the impact of malaria in developing countries?
As two glaciers erode either side of a ridge, the edge becomes steeper and the ridge becomes narrower. Over time this creates:
`]: [`an Arête`], [`Which are accurate statements about why coastal landscapes are ideal locations for certain types of industry :
A sheltered and curved coastal area where the land curves inward, creating a partially enclosed and calm water body is a ______
`]: [`>Bay`], [`In most UK cities the highest land values are to be found in:
`]: [`Central business district`], [`Which are impacts of rapid population growth for a developing country such as Nigeria?
Which of these is an area of glaciated upland in the UK?
`]: [`North West Highlands`], [`What does this weather symbol represent?

Which type of geological landform is displayed in this mountain image?


From this climate chart which statements are accurate?
The six-figure OS map reference for the green dot in the diagram is:

Which are possible consequences of climate change?
Which is NOT a tropical storm?
`]: [`Tsunami`], [`Which are true about the impact of trade on the people of a developing country?
Which are causes of volcanic activity?
What does this symbol represent on a weather chart?

What is the name of the campaign to promote cleaner beaches in tourist areas?
`]: [`>Blue flag`], [`Which are government strategies for reducing the impact of climate change?
Which river feature is displayed in this image?

Where a river crosses a band of harder rock this often leads to the formation of a _________
`]: [`>Waterfall`], [`Which of the following are true of high income countries such as the UK?
Waves pick up beach material and hurl them at the base of a cliff eroding the surface. This type of coastal erosion is known as:
`]: [`Corraision/abrasion`], [`Which are typical features of Tundra landscapes?
What is the name of the charge that Governments impose to off-set carbon emissions from tourist flights?
`]: [`>Carbon tax`], [`How the population is arranged in a given area according to variables such as age, race or sex is known as:
`]: [`Population distribution`], [`When large numbers of people visit the same place at any one time this is:
`]: [`Mass tourism`], [`The acidity in a river eventually wears away the softer rock on its bed and banks. This form of river erosion is called:
`]: [`Solution/corrosion`], [`On an OS map, thin, finger-like projections of land extending into the sea, often marked with sand dunes or beach symbols indicates a:
`]: [`Sand spit`], [`On an OS map contour lines that are very close together indicate:
`]: [`the terrain is steep`], [`Which facts are true about the international Fairtrade movement?
Which of the following is NOT a category of land use in cities?
`]: [`Industrial greenbelt fringe`, `CyberTech Hub`], [`Which are true of waterfalls?
Which are common features of a central business district of a city?
Which accurately describe the impact of volcanic eruptions?
On an OS map, a blue crescent shapes near the river, sometimes connected to the main river by a narrow channel is most likely to indicate:
`]: [`Oxbow lake`], [`DDT is a form of _________ sprayed in houses, over vegetation, and water sources because to kills mosquitos and their larvae.
`]: [`>Insecticide`], [`Which is an area of Upland Limestone in the UK?
Levees are most likely to be found in the _______ course of a river.
`]: [`>Lower`], [`Which are factors which mean that glaciated landscapes are suitable for farming?
Which are true of the impact of a tsunami on a region?
Which might be seen as opportunities arising from climate change?
Goods that a country buys from another country are called _______
`]: [`>Imports`], [`Which are accurate explanations for developed countries having lower death rates than developing countries?
Human activity has led directly to the extinction of _____ percent of the world’s plants?
`]: [`50 percent`], [`Which coastal landform is displayed in this image?

As a glacier moves over a landscape, abrasion scours out a basin shape on the mountain. This is known as:
`]: [`a Corrie`], [`Which are generally true of the UK’s trade balance?
Which unit of measurement do meteorologists use to describe air pressure?
`]: [`Millibars`], [`An area used mainly for new residential housing, as opposed to industrial and commercial buildings is classified as:
`]: [`New housing zone`], [`Which is NOT a reason for the growing number of city centre businesses relocating to the surrounding countryside?
`]: [`An increasing number of consumers prefer to get products and services online`], [`Equatorial environments are found:
`]: [`in both Southern and Northern hemisphere regions close to the Equator`], [`Which are disadvantages of international trade alliances such as the European Union?
Rising demand for rice worldwide has led to increases in the emission of which greenhouse gas?
`]: [`Methane`], [`In coastal areas a body of sand, gravel or fine sediment that sits above the water is known as a:
`]: [`sand bar`], [`The negative impact of human activity on the indigenous people of a Equatorial regions can be evidenced by:
Which are key features of a rural urban fringe compared with a city centre?
A city's rural urban fringe is most likely to be located:
A river’s deposition of silt and sand over a long period of time can lead to the creation of:
`]: [`a levee`], [`Which are factors that can cause the spread of HIV/AIDS?
The 2012 Fukushima earthquake occurred in which country?
`]: [`>Japan`], [`Which are strategies/approaches used to protect tundra environments?
Which is typical of a low pressure weather system?
Which are common health risks for people who take little or no physical inactivity?
Which are measures that can be taken to reduce the impact and damage caused by tropical storms?
Which type of map helps guide a driver from location to another?
`]: [`Road map`], [`During the process of freeze thaw weathering, the small rocks that build up on the slopes of mountainsides are known as:
`]: [`Scree`], [`Which are potential benefits of high yield variety seeds for farmers in developing countries such as India?
The main purpose of a map key or legend is:
`]: [`to explain the map’s symbols and scale`], [`A physical limit on the amount of a particular good that may be imported from abroad is called . . .
`]: [`>quota`], [`Scientific approaches for monitoring and predicting earthquakes includes the use of:
Which are reasons for businesses locating in the rural urban fringe than in the city centre?
Which are examples of the negative impact of human activity on the natural environment of an Equatorial region?
In which ways does a volcanic eruption impact on human activity?
Which type of landform is being created on the floor of this limestone cave?

Which type of graphic shows the age profile of a country’s population, differentiated by gender?
`]: [`>Population pyramid`], [`Changes in the tilt of the Earth’s axis means more sunlight in polar regions melting the ice caps. This climate change model is called:
Which have contributed to the growth of mass tourism during the past 50 years?

Give the four-figure grid reference for Robin Hood End on this OS map?
`]: [`>7036`], [`When two weather fronts combine with colder air pushed up below warmer air, this is known as:
`]: [`an occluded front`], [`Which are true of plants and vegetation in Equatorial regions?

What can be found at grid reference 713-363?
`]: [`Thurston Farm`], [`What is the name for the indigenous people who inhabit the Arctic tundra?
`]: [`>Inuit`], [`What does this symbol represent on a weather chart?

Which are examples of the negative impact of human activity on the indigenous people of Equatorial regions?
Coastal landscapes are popular locations for recreation because:
Which of the following are generally true about these locations in the UK?
On an OS map of a limestone region, what feature is often marked with a specific symbol, such as a small black dot or an underlined name?
`]: [`A cave`], [`Which are reasons why birth rates are falling worldwide?

What is indicated by this symbol on a UK ordnance survey map?
`]: [`Wildlife park`], [`Which of the following are true of developing countries?
Which are impacts of rapid population growth for a developing country such as Nigeria?
The disease known as AIDS is an acronym for:
`]: [`Acquired Immunodeficiency Syndrome`], [`This 4-stage diagram illustrate the creation of which type of landform?

Which are true of the European Union trading alliance?
A narrow ridge of rock which separates two valleys eroded by glaciation is called:
`]: [`>Arete`], [`Which are methods used to reduce traffic congestion in UK cities?
The typical weather that a Tropical Maritime air mass brings to the UK is:
`]: [`Warm and wet weather`], [`Which accurately describe potential benefits arising from volcanic eruptions?
Which are true about the impact of trade on the people of a developing country?
Which are accurate statements about the formation of a potholes?
Which feature is LEAST likely to occur in the middle course of a river?
`]: [`Ox-bow lake`], [`In upland limestone the difference between a cave and a cavern is:
Which international agreement in 2015 established a global framework for combatting climate change?
`]: [`The Paris Treaty`], [`Which are Economic indicators of a country’s development?
What does this symbol represent on a weather chart?

Developing countries have higher birth rates than developed countries due to:
In recent times the most deadly volcanic eruptions have occurred in:
`]: [`Indonesia`], [`Which are ways that tundra plants adapt to their environment?
Which is true of the impact of the 2011 Tōhoku tsunami?
Which types of land use would be indicated on an OS Map?
Which are typical features of Equatorial landscapes?
People in developed countries enjoy better living standards than those in developing countries because:
Which feature is MOST likely to occur in the upper course of a river?
`]: [`Waterfalls`], [`Which are typical features of a city’s Central Business District?
Which statements about the impact of mechanisation on farming in developed countries are accurate?
Which are potential benefits of biofuels for farmers in developing countries such as India?
Which is true about the impact of cardiovascular disease (CVD) in the UK?
The strong red line on this weather chart indicaes a ____ front.

From this map of UK rivers, which letter signifies the River Forth?

The main cause of the greenhouse gas nitrogen oxide is:
`]: [`Car exhausts`], [`Meanders are most likely to be found in the _______ course of a river.
`]: [`>Middle`], [`Which coastal landform is indicated at Point B on this OS map?

Which are examples of how inner city districts have undergone to improve physical and human environments?
Which are measures that can be taken to reduce the impact and damage caused volcanic eruptions?
Which term describes an upland landscape with distinctive surface patterning resembling paving blocks?
`]: [`>Limestone pavement`], [`Which are conditions that increase the likelihood of malaria in developing countries?
The scale and destructive force of earthquakes are measured using:
`]: [`a Seismometer`], [`River environments are ideal locations for farming and agriculture because:
Which are measures that can be taken to reduce the impact and damage caused by tropical storms?
When a wave breaks, trapped air in the joints and cracks of a cliff is compressed, causing erosion.
Which type of coastal erosion is being described?
`]: [`Hydraulic action`], [`Which are potential sources of land use conflict between tourists and providers of renewable energy?
Shanty towns known as favellas are located in which city?
`]: [`Rio de Janeiro`], [`The source area for the Polar Continental air mass which reaches the UK is:
`]: [`Northern Europe`], [`Which of the following are typical features of coastal landscapes?
A _______ is a mineral formation that rises from the floor of a cave.
`]: [`>Stalagmite`], [`The term which desctibes large numbers of tourists traveling to popular destinations is ____ ________
`]: [`>Mass tourism`], [`Which international agreement in 1997 established a global framework for controlling the emission of greenhouse gases?
`]: [`Kyoto Protocol`], [`Which are changes made to Britain’s central business districts in recent years to improve physical and human environments?
Which are dietary strategies to reduce the impact of cardiovascular disease?
Which are strategies for reducing the impact of malaria in developing countries?
Which are typical difficulties faced by inhabitants of shanty towns in the developing world?
Which are strategies to address trade inequalities experienced by poor or developing nations?
The standard unit of measurement for Wind Direction is:
`]: [`Compass direction`], [`Which are causes of trade inequality between countries?

Which is true of the population pyramid of Country B?
A prominent and narrow coastal landform that extends outward into the sea, often characterised by its steep cliffs and jutting presence is a …
`]: [`Headland`], [`Which are examples of farmers in developed countries diversifying their operations?
Which are considered to be advantages of GM farming methods?
A population pyramid shows:
`]: [`the age profile of a country’s population`], [`A pointed mountain peak with steep, triangular faces, typically formed at the intersection of multiple aretes is called a ….
`]: [`>Pyramidal peak`], [`Which are typical features the inner city district of an older city?
Which is NOT a reason for the growing number of city dwellers relocating to houses in the surrounding countryside?
`]: [`People in the suburbs are friendlier and more sociable than those who live in the city`], [`The area where the city meets the countryside is known as the _____ ______ fringe.
`]: [`>rural urban`], [`Which health conditions are far more common in developed than developing countries?
Which are typical land uses in Tundra regions?
Which are individual or household approaches to reducing energy consumption and carbon footprint?
Which are potential drawbacks of high yield variety seeds for farmers in developing countries such as India?
Which are factors contributing to the rise of eco tourism?
Which of the following are generally true?
When rocks that the river is carrying knock against each other, they break apart to become smaller and more rounded. This form of river erosion is called:
`]: [`Attrition`], [`Which are accurate statements about the effects/impact of HIV/AIDS in a developing country?
Which is NOT an Economic indicator of a country’s development?
`]: [`Population growth`], [`Which are reasons why birth rates are falling worldwide?
Which are possible consequences of climate change?
Which statements about the impact of chemical technologies on farming are accurate?
Which are examples of the negative impact of human activity on the natural environment of an Equatorial region?
Which are true about the impact of changes to farming in developed countries?
A mountain or ridge with a steep, blunt end that has been eroded by glaciers is known as a ______ spur.
`]: [`>Truncated`], [`Which are strategies that can be employed to reduce the negative impacts of mass tourism?
Which are strategies used to limit deforestation in Equatorial regions?
Which statements about the trade balances of developed and developing countries are accurate?
During glaciation, a ridge is cut off sharply by the by the straight-flowing glacier as it drives a path down a valley. This results in:
`]: [`a Truncated Spur`], [`Which the town in Alaska is the major base for oil-related and transportation industries?
`]: [`>Anchorage`], [`The term for goods that one country sells to another is _______
`]: [`>Exports`], [`Artificial river embankments are used to prevent a river from flooding its floodplain are known as:
`]: [`levees`], [`Which river feature is evident from this image?

Which famous volcanoes are correctly matched with their locations:
Which are true about the vegetation found in Tundra regions?
Which of these is NOT an area of glaciated upland in the UK?
`]: [`Yorkshire Dales`], [`The standard weather measurement for Wind speed is:
`]: [`>Knots`], [`Glacial mountain troughs with steep, straight sides and a flat or rounded bottom are called:
`]: [`U-shaped valleys`], [`The source area for the Tropical Maritime air mass which reaches the UK is:
`]: [`The Atlantic Ocean`], [`Which of the following are generally true?
Upland limestone regions are particularly suitable for sheep farming because:

From this line graph which of the following statements are true?
Which are possible disadvantages of anticyclones in Scotland?
Which are accurate descriptions of the MIDDLE course of a river when compared with other stages?
Eco-friendly fuel made from things like plants or waste are known as __________
`]: [`>Biofuels`], [`HIV (Human Immunodeficiency Virus) is a virus that attacks the body's ________ system.
`]: [`>Immune`], [`Melting permafrost in polar regions contributes to climate change because:
`]: [`large amounts of methane gas are released, increasing the greenhouse effect`], [`Which are true about the impact of depopulation in British rural landscapes?
Which of the following would be typical of land use in a glaciated landscape?

Which type of chart is shown in this image?
`]: [`Synoptic`], [`Volcanoes are commonly found at what type of plate boundaries?
Which are impacts of low population growth and an ageing population for a country such as Italy?
What does this symbol represent on a weather chart?

Which are accurate descriptions of how glaciated uplands are ideal locations for certain types of industry?

What type of valley is forms this landscape?
`]: [`U-shaped`], [`Which are disadvantages of organic farming methods?
The negative impact of human activity on the Earth’s natural environment can be evidenced by:
If left untreated, HIV can lead to the disease known as _________
`]: [`>AIDS`], [`The central area of a city with a mix of residential, commercial, and historic neighbourhoods is known as the _______ city.
`]: [`>Inner`], [`Which are typical challenges faced by inhabitants of shanty towns in the developing world?
_______ Rebellion is a radical activist group protesting against the lack of government action on climate change.
`]: [`>extinction`], [`Stents, aspirin and statins are used to help prevent problems cause by which major disease?
`]: [`>Heart disease`], [`Which is the way that people become infected by malaria?
`]: [`Mosquito bite`], [`Which are potential disadvantages of genetic modification (GM) in farming?
Which is true about the impact of malaria?
Which are a feature of an OS map?
From this map of UK rivers, which letter signifies the River Ouse?

On a topographic map with a scale of 1:25,000, if the distance between two contour lines is 20 millimetres, what is the actual elevation difference between those contour lines in meters?
`]: [`500 metres`], [`Which are typical features of a city’s Central Business District?
Which are potential solutions to overcome land use conflict between tourists and providers of renewable energy?
Which type of air mass is most likely to result in warm and wet weather in Scotland?
`]: [`Tropical Maritime`], [`Which are individual or household approaches to reducing energy consumption and carbon footprint?
A significant long-term change in the weather patterns of a region or the whole Earth is known as ______ change
`]: [`>climate`], [`Which are strategies/measures to reduce the spread of HIV/AIDS in developing countries?
Which is typical of a high pressure weather system?

What wind speed is indicated by this weather station symbol?
`]: [`33 to 37 knots`], [`Which is an area of Upland Limestone in the UK?
On an OS map, abrupt changes in contour lines near a river, especially where contour lines converge or change steepness, is most likely to indicate:
`]: [`Waterfall`], [`Which are negative effects of mass tourism?
Which continent is at LEAST risk of earthquakes?
`]: [`Antarctica`], [`Which are factors contributing to the rise of mass tourism?
Which of the following are true about contour lines on an OS Map?
Which are common secondary effects of an earthquake?
Which are factors causing inequalities in trade between developed and developing countries?
The standard unit of measurement for Cloud cover is:
`]: [`Okta`], [`Which are true about the vegetation found in Tundra regions?
Which teenager has led the worldwide campaign to protest against the lack of action on what activists have termed ‘the climate crisis’?
`]: [`>Greta Thunberg`], [`Which factors have contributed to the overconsumption of the Earth’s scarce resources?
Which are used approaches to monitoring and predicting tropical storms?
Which are common features of a city’s rural urban fringe?
Which is NOT a typical feature of a city’s Central Business District?
`]: [`Derelict land`], [`On an OS map, which are indicators of potential land use conflicts?
The blue line on this weather chart indicaes a ____ front.

What rock feature is created when waves break through a cave to the other side of the headland ?
`]: [`>Arch`], [`Which is NOT true of organic farming?
`]: [`It results in higher crop yields`], [`Which are impacts of low population growth and an ageing population for a country such as Italy?
Which statements about the Central Business District of a city are accurate?
Which areas of a city are most likely to be demolished to accommodate motorways and ring roads?
`]: [`The Inner City`], [`Devices placed in fields by farmers to monitor soil moisture, temperature, and nutrient levels are called _____ _______
`]: [`>smart sensors`], [`Which are reasons for falling death rates worldwide between 1960 and 2020?
The percentage of adults in a country who can read and write is known as the ______ rate
`]: [`>literacy`], [`Which are strategies/measures to address the problems associated with heart disease in developed countries?
Anticyclones are associated with:
`]: [`calm, fine weather`], [`The figure 457-289 in relation to an OS map refers to:
`]: [`Grid reference`], [`Which of the following are likely to be located in an area of glaciated upland?
Which are examples of how farms can engage in agribusiness to generate more income?
Which are potential drawbacks of new farming technologies in developing countries such as India?
Anticyclones are associated with:
Which of these activities is NOT an example of agribusiness?
`]: [`Changing to organic methods of farming`], [`When two or more countries agree terms to help them trade with each other, this is known as:
`]: [`a trade alliance`], [`Which of the following are generally true about differences in climate within regions of the UK?
Which coastal landform is displayed in this image?

A spot height of 300 on an ordnance survey map indicates:
`]: [`The highest point on the map is 300 metres at that grid reference`], [`Which are common features of a city’s suburbs?
What does this symbol represent on a weather chart?

The main cause of global warming today is:
`]: [`The Greenhouse effect`], [`Which are approaches used to limit the impact of human activity on the Tundra?
Which are typical features of Tundra landscapes in the summer?
Which of these world regions is at high risk from tsunamis?
Which are ways that liana vines adapt to their tropical rainforest environment?
Which glaciated landform is indicaed by letter B?

Which are strategies used to improve the lives of people living in shanty towns?
Which are methods used to reduce traffic congestion in city centres?
Which famous cheeses are associated with upland limestone regions of the UK?
_______ is a tropical disease transmitted to humans through the bite of infected female mosquitoes.
`]: [`>Malaria`], [`Which are potential benefits of genetic modification (GM) in farming?
The sea's pH dissolves the rock on a limestone cliff face. This type of coastal erosion is known as:
`]: [`Chemical weathering`], [`Developing countries have higher death rates than developed countries due to:
A slum area like the one pictured in this developing city is known as a ______ Town

Population distribution is higher in flat, low lying landscapes than in mountainous regions because:
A government tax placed on goods imported from abroad is called . . . .
`]: [`>tariff`], [`Which of the following are true?
Which are reasons for tropical rainforest trees having buttress roots?
Which are measures that can be taken to reduce the impact and damage caused by earthquakes?
Which are reasons why death rates are high many developing countries?
The negative impact of human activity on the Innuit natives of the Tundra can be evidenced by:
Which feature is MOST likely to occur in the middle course of a river?
`]: [`Meander`], [`Explain why out-of-town shopping centres and retail parks have led to the decline of retail in city centres?

Based on the chart, which is true about high-income countries between 2000 and 2019.?
The term used to describe a bend, loop, or winding in the channel of a river is:
`]: [`meander`], [`Which are true of earthquakes?
On an Ordinance Survey map, upland limestone features are identifiable through:
Which of these world regions is at the greatest risk of coastal flooding due to climate change?
`]: [`Bangladesh and Indonesia`], [`Which are measures that can be taken to reduce the impact and damage caused by earthquakes?
Rocks and pebbles carried by the waves smash into each other, wearing each other away and gradually becoming smaller, rounder and smoother. This type of coastal erosion is known as:
`]: [`Attrition`], [`Which are significant factors contributing to heart (cardiovascular) disease in developed countries?
Which are changes made to Britain’s central business districts in recent years with the aim of improving both physical and human environments?
The large exposed blocks of limestone in a limestone pavement are called:
`]: [`Clints`], [`Which are measures that can be taken to predict or reduce the impact of volcanic eruptions?
Which industries are commonly associated with upland limestone regions of the UK?
Which coastal landform is displayed in this image?

The day-to-day conditions of the atmosphere at a particular place or time is generally known as:
`]: [`Weather`], [`Which are accurate descriptions of how geological processes form an arete?

Which is true of the population pyramid of Country A?
Which are methods used to reduce traffic congestion in city centres?
Which are national programmes or agencies which support rural farmers in Scotland?

What level of cloud cover is indicated by this weather station symbol?
`]: [`6 oktas`], [`Which of these are regions of the world at risk from tropical storms?
Which are potential disadvantages for UK farmers of introducing new and automated farming technologies?
Which are reasons why developing countries have high birth rates?
Developing countries account for ____ percent of world cases of HIV/Aids.
`]: [`95%`], [`The slum/shanty town area called Dharavi is located in which Indian city?
`]: [`>Mumbai`], [`Which are actions taken to improve the lives of inhabitants of the shanty towns of Rio de Janeiro and Mumbai?
In limestone regions, water moves around underground and emerges in different places depending on the weather and amount of rain. This process is called:
`]: [`Intermittent drainage`], [`Which are true of plants and vegetation in Equatorial regions?
Which of the following are generally true?
Tundra environments are found:
`]: [`In Northern hemisphere regions close to the Arctic`], [`A sharp, knife-edged ridge found in mountainous regions, resulting from the erosion of two neighbouring corries is:
`]: [`an Arête`], [`Which are accurate descriptions of how volcanic eruptions are caused at destructive plate boundaries?
Which are true of the impact of eco-tourism?
Which are negative effects of mass tourism on popular holiday destinations?
Stalactites and stalagmites are most likely to be found in which type of UK landscape?
`]: [`Upland limestone`], [`What does this symbol represent on a weather chart?

Which is NOT a Social indicator of a country’s development?
`]: [`Gross Domestic Product`], [`Which body of water accounts for 80 percent of all the world’s tsunamis?
`]: [`Pacific Ocean`], [`Which are true about malaria?
Which is NOT a reason for lower death rates in developed countries?
`]: [`More caring governments`], [`Which are factors contributing to the rise of eco tourism?
Imran has booked a guided wildlife safari holiday in a national park, where he will observe and learn about local fauna and flora. This is an example of:
`]: [`Eco tourism`], [`Which of these locations in Scotland is likely to have the lowest rainfall?
`]: [`Perth`], [`Which geological feature is created by ocean waves forcing their way into cracks in the cliff face through hydraulic action?
`]: [`>Cave`], [`Coastal landscapes are excellent locations for location of renewable energy producers because:
Which of the following is true of V-shaped valleys?
`]: [`They are only found in hilly or mountain areas`], [`Which accurately describe the impact of volcanic eruptions?
Which have contributed to the growth of mass tourism during the past 50 years?
Which are true of the world’s major Equatorial regions?
Which of the following are typical of land use in upland limestone landscapes in the UK?
In geography, the difference in elevation between two points on a landscape is known as:
`]: [`Relief`], [`Which are accurate statements about differences between developed countries and developing countries?

From this graph showing deforestation in the Brazilian Amazon, which statements are accurate?
Which are methods used to reduce traffic congestion in UK cities?
The total value of goods and services produced by a country in a year is called ______ ______ product. (2 words)
`]: [`>gross domestic`], [`Which are examples of inner-city urban regeneration?
The most common secondary hazard created by an earthquake is?
`]: [`Fires`], [`Which are methods used by scientists to monitor and predict volcanic activity?
Every year millions of visitors flock to Disneyland in Florida. This term for this is:
`]: [`Mass tourism`], [`Hot air begins at lower altitudes and rises, leading to the formation of clouds.
What type of weather does this describe?
`]: [`a depression`], [`The number of babies born per 1000 of the population is know as the ______ rate.
`]: [`>birth`], [`Which are potential sources of land use conflict between farmers and tourists?
Which feature is LEAST likely to occur in the lower course of a river?
`]: [`V-shaped valley`], [`Which of the following are categories of land use in towns and cities?
Which are advantages of pedestrianised streets in a city’s central business district?
They encourage higher footfall and increased sales for shops
It is much safer for pedestrians as there are no cars
Fewer vehicles improves air quality for those living or working in CBD
It encourages street cafes and other community activities
`]: [`1, 2, 3 and 4`], [`Which are examples of strategies to encourage responsible tourism?
Developing countries tend to have lower economic growth than developing countries because:

What wind speed is indicated by this weather station symbol?
`]: [`8 to 12 knots`], [`Which of the following are examples of chemical technology used in farming?
Which are examples of new farming technologies in developing countries such as India?
Which are strategies to reduce trade inequalities between countries?
Which are accurate descriptions of river landscapes:
Tropical cyclones are formed above . . .
`]: [`the Indian ocean`], [`From this map of UK rivers, which letter signifies the River Shannon?

Which are strategies/approaches used to protect tropical rainforest regions such as the Amazon?
A _____ is a natural underground cavity or passage formed by the dissolution of limestone rock over time.
`]: [`>cave`], [`From this OS map extract, state the relief at 766-358

Which are true of developing countries such as Rwanda, compared with developed countries?

From the data provided about the population of this country, which statements are correct?
Fuel burning cars emit _______ oxide, which traps heat far more than carbon dioxide.
`]: [`>Nitrous oxide`], [`Increased rice production in Asia is a major contributor to which greenhouse gas?
`]: [`>Methane`], [`A river erodes downwards creating a steep sided valley. What name is give to this type of valley?
`]: [`>V-shaped valley`], [`Which coastal feature is created when hard rock is eroded more slowly than softer rock?
`]: [`>headland`], [`Which are reasons why death rates are falling globally?
Huge volcanic eruptions can cause climate change as a result of:
`]: [`volcanic dust in the atmosphere shielding the Earth from the Sun’s insolation`], [`After many cycles of freezing and thawing lumps of rock are broken off the surface of a glaciated landscape. This process is known as:
`]: [`Freeze thaw weathering`], [`Which are accurate statements about the creation of stalactites and stalagmites?
The typical weather that a Polar Continental air mass brings to the UK is:
`]: [`Cold and dry weather`], [`A large volume of air which travels from one area of the Earth to another is known as:
`]: [`>Air mass`], [`Which weather is most likely to be the result of a warm front moving in to the UK?
`]: [`Rise in temperature followed by rain`], [`
What is indicated by this feature on a UK ordnance survey map?
`]: [`Scale`], [`The starting point of a river is known as the _______
`]: [`>Source`], [`Which are strategies used to improve the lives of people living in shanty towns?
Which are examples of strategies which aim to regenerate inner-city urban areas?
Chlorofluorocarbons and aerosols deplete the Earth's _______ layer.
`]: [`>ozone`], [`Which type of transportation occurs when rocks and minerals are dissolved by water and carried along by the river?
`]: [`Solution`], [`On an OS map, sections of the river where the blue line appears to loop and curve along its course indicates:
`]: [`Meander`], [`Which are measures that can be taken to reduce the impact and damage caused by tropical storms?
The spread of housing and business areas into the surrounding countryside or greenbelt is known as:
`]: [`Urban sprawl`], [`Which are true about the impact of modern farming technology in developing countries?
Which are accurate statements about the effects/impact of HIV/AIDS in a developing country?
Which are ways that the orangutang has adapted to the tropical rainforest environment?
Which of the following is NOT an air mass?
`]: [`Arctic Continental`], [`In the Scottish Highlands, a horseshoe-shaped valley or basin that has been formed through glacial erosion is better known as?
`]: [`>Corrie`], [`In older cities, the area is near the centre often associated with low incomes, poor housing and amenities is termed:
`]: [`The Inner City`], [`Which facts are correct about the Fairtrade movement?
Tropical typhoons are formed above . .
`]: [`the Pacific ocean`], [`What type of weather front is indicated by this purple symbol??
`]: [`>Occluded`], [`Which are typical land uses of an Equatorial region?
Which are factors contributing to rural depopulation in farming regions of the UK?
Which of these is NOT a process of river erosion?
`]: [`Traction`], [`In which ways does deforestation play a role in contributing to natural hazards and disasters?
In coastal areas a steep, vertical column of rock formed by wave erosion is known as:
`]: [`a stack`], [`Which country in the world generates the most income from travel and tourism?
`]: [`USA`], [`Which glaciated landform is indicaed by letter A?

Which are true of the impact of eco-tourism?
Alternating bands of hard rock (eg, granite) and soft rock (eg, sandstone) that run perpendicular to the shoreline creates a _________ coastline.
`]: [`>Discordant`], [`Which of the following are generally true?
Which are strategies employed to improve the lives of inhabitants of shanty towns of Rio de Janeiro and Mumbai?
Which geographical feature is formed when water erodes soft rock faster than hard rock in the upper stages of a river ?
`]: [`>Waterfall`], [`Which are accurate descriptions of the UPPER course of a river when compared with other stages?
Which are accurate descriptions of the impact of rural depopulation in the UK?
What term describes farmers using farmland to earn money from non-farming activities such as holiday homes and fishing permits?
`]: [`>agribusiness`], [`The strength and destructive force of an earthquake is measured on which scale?
`]: [`>richter`], [`Natural river embankments which are formed when a river floods leaving deposits of silt and other material are known as:
`]: [`levees`], [`Which upland limestone feature is shown in this picture?

Which are typical features of a city’s rural urban fringe when compared with inner city residential areas?
In coastal areas a low ridge of sand or shingle extending from the shore across a bay or a river estuary is known as?
`]: [`>Sand spit`], [`Which of these is NOT an Equatorial region?
`]: [`Middle East, eg Egypt`], [`Which are accurate descriptions of how polar bears adapt to their environment?
Which are benefits of international trade alliances such as the European Union?
The weather that an Arctic Maritime air mass is most likely to bring to the UK is:
`]: [`Very cold weather`], [`Which correctly describe stages that lead to an earthquake?
Which are reasons to explain the large-scale destruction of Equatorial rain forests?
On an OS coastline map, contour lines converge into a point, indicating an elevated landform extending toward the sea. This indicates a ___________
`]: [`>Headland`], [`Which are positive effects of mass tourism?
On an OS map, brown/orange lines with numbers on them are _______ lines.
`]: [`>Contour`], [`Which are stages in the development of a tropical storm?

Which international movement to support developing countries is represented by this logo?
`]: [`Fairtrade`], [`When motorists have to pay a fee for driving in the central zones of a city this is called _______ charging.
`]: [`>congestion`], [`The main cause of a tsunami is:
`]: [`earthquakes and volcanic eruptions`], [`Which are examples of how inner city districts have undergone to improve physical and human environments?
Which developed country has the highest rate of death from cardiovascular disease in the world?
`]: [`Russia`], [`Which are impacts of low population growth and an ageing population for a country such as Italy?
Which location in UK is likely to have the highest rainfall?
`]: [`York`], [`The main type of coastal erosion that forms a sea cave is:
`]: [`Hydraulic action`], [`The force of water carried by a river eventually wears away the softer rock on its bed and banks. This form of river erosion is called:
`]: [`Hydraulic action`], [`The source area for the Polar Maritime air mass which reaches the UK is:
`]: [`The North Atlantic Ocean`], [`Which are typical advantages of anticyclones in Scotland?
The main aims of eco-tourism include:
Which are reasons for falling death rates worldwide?

This pie chart shows the composition of a country’s employment by sector. Which statements are true?
Which are potential drawbacks of biofuels for farmers in developing countries such as India?
Which are individual or household approaches to reducing energy consumption and carbon footprint?
Ridges or projections that typically extend from the sides of U-shaped valleys are known as:
`]: [`Truncated spurs`], [`Which are valid explanations for the decline of retail in the centre of towns and cities?
What does this symbol represent on a weather chart?

Bands of different types of rock in a cliff face (eg, clay and sandstone) are eroded by the sea at different rates. This process leads to the formation of:
`]: [`Headlands and Bays`], [`Hurricanes are formed above which ocean?
`]: [`the Atlantic ocean`], [`A crescent-shaped water body detached from the main river channel, formed from an abandoned meander is called an ______ _______
`]: [`>Oxbow lake`], [`Which major disease in developing countries results from mosquito bites?
`]: [`>Malaria`], [`Which are factors which mean that glaciated landscapes are suitable for commercial forestry?
Which coastal landform is displayed in this image?

When plants have their DNA altered artificially by scientists this process is called:
`]: [`Genetic modification`], [`Which type of landform (indicated by the arrows) has been created by the movement of the river?

Which geological feature is displayed in this image?

The main types of development located in the rural-urban fringe include:
Which are true of the trading balances of developed and developing countries?
Which are true of developing countries such as Ethiopia, when compared with developed countries?
Rare earth minerals such as copper, lithium and cobalt have been depleted due to the rising demand for:
`]: [`smart phones`], [`When large pieces of bedload material carried by a river wear away its banks and bed, this process of river erosion is called:
`]: [`Abrasion/corrasion`], [`The 2011 Tōhoku earthquake and tsunami affected which world region?
`]: [`Japan`], [`Which is true of tropical storms?
The incorrect disposal of refrigerators leads to the emission of which greenhouse gas?
`]: [`Chlorofluorocarbons (CFCs)`], [`The international movement ensuring that producers in poor countries receive a guaranteed price for their crop is called:
`]: [`>Fair trade`], [`
The six-figure OS map reference for point B in the diagram is:
`]: [`697-303`], [`Which distinctive landform is shown in this image?

Which weather is most likely to be the result of a cold front moving in to the UK?
`]: [`Rain showers`], [`Which geological feature is formed when a river cuts through the neck of a meander?
`]: [`>Oxbow lake`], [`The six-figure OS map reference for the green dot in the diagram is:

Which is NOT true of hurricanes?
`]: [`Hurricanes occur only in the USA and Caribbean`], [`Which are possible disadvantages of agribusiness?

Which readings from Duncastle weather station are accurate?
Rising demand for beef and dairy products has led to increases in which greenhouse gas?
`]: [`Methane`], [`The term describing the average number of years a person can expect to live is _____ ________ (2 words)
`]: [`>Life expectancy`], [`Population distribution is higher in areas with an abundance of natural resources because:
Give the six-figure reference for Park Farm on this OS map.

Plants in Tundra regions are mostly:
`]: [`short with dark leaves`], [`What weather system is represented on this chart?

The world’s most active volcanic area – the Ring of Fire – is located is which region?
`]: [`The Pacific Ocean`], [`The term used to describe of the long-term pattern of weather in a particular area is:
`]: [`>Climate`], [`Which are factors contributing to the rise of mass tourism?
The burning of fossil fuels leads to the emission of which greenhouse gas?
`]: [`>Carbon dioxide`, `Carbon dioxide`], [`During floods the river cuts through the neck of a large meander creating an …........
`]: [`>oxbow lake`], [`Which are Social indicators of a country’s development?
With which disease is obesity most closely linked in developed countries?
`]: [`Heart disease`], [`The number of babies per 1000 of the population who die before their first birthday is known as the infant _______ rate.
`]: [`>Mortality`], [`The term to describe trapping and securely storing carbon dioxide emissions from industrial activities to reduce their environmental impact is ______ ________
`]: [`>Carbon capture`], [`Which are common features of tropical storms?
Rising sea-levels, ice loss in Antarctica and global warming are all indicators of:
`]: [`Climate change`], [`The average number of individuals living in a particular area, eg 100 people per square kilometre is known as:
`]: [`Population density`], [`Which type of geological landform is displayed in this mountain image?

Give the six-figure reference for Rook Hall on this OS map.

In weather systems, which are true of a warm front?
Which is are potential causes of a tsunami?
Which disease causes most deaths in developed countries?
`]: [`Heart disease`], [`Which statements about the impact of the Fukushima earthquake in 2012 are accurate?
On an OS map of a limestone region, areas with minimal vegetation, marked with close, parallel contour lines indicating a flat or gently undulating surface are most likely to be:
`]: [`Limestone pavements`], [`On an Ordnance Surveymap, which landform would appear as a pointed and steep mountain summit, typically represented by converging contour lines?
`]: [`>Pyramidal peak`], [`Which are common features of an inner city district of a city?
Which are arguments used in favour of organic farming methods?
Which are potential sources of land use conflict between farmers and tourists?
Which glaciated landform is indicaed by letter D?

Which are factors contributing to malaria in developing countries?
In an upland limestone landscape rain water creates deep fissures or cracks which are called:
`]: [`Grykes`], [`Which are potential advantages of new farming technologies in developing countries such as India?
Which are medical intervention strategies to reduce the impact of cardiovascular disease?
Which are strategies used to reduce the impact of the earthquakes?
A country's inflation rate and wealth inequality are 2 examples of ________ indicators of development
`]: [`>Economic`], [`High cholesterol increases the risk of serious illness or death because:
The term describing clearing or cutting down large areas of forests, often to make way for agriculture or urban development, is __________
`]: [`>Deforestation`], [`Which are accurate statements about the formation of a limestone pavement?
The source area for the Arctic Maritime air mass which reaches the UK is:
`]: [`The Arctic Ocean`], [`
From the population pyramid of Country B which assumptions are accurate?
Which of the following is a global strategy for managing climate change?
`]: [`The Paris Agreement`], [`Which are factors causing inequalities in trade between developed and developing countries?
Which are true of developed countries such as the Germany, compared with developing countries?
Which are causes of depopulation in British rural landscapes:
The standard unit of measurement for Precipitation is:
`]: [`Millimetres`], [`Which of the following are UK-wide or national approaches to managing climate change?
The term for the inset on a map that explains the symbols and provides a scale is . . . .
`]: [`>legend`], [`
From this diagram of the UK’s main rivers, which is correct?
Which are reasons for inhabitants locating in the rural urban fringe than in the city centre?
Which are benefits resulting from human activity in the Tundra?
What geological term is used to describe the landform where three or more corries and arêtes meet?
`]: [`>Pyramidal peak`], [`Which are measures that can be taken to predict or reduce the impact of volcanic eruptions?
Which are strategies/measures to reduce the spread of HIV/AIDS in developing countries?
Which glaciated landform is indicaed by letter C?

Which type of air mass is most likely to result in very cold weather in the UK?
`]: [`Arctic Maritime`], [`As a river transports the rocks downstream, the channel becomes wider and deeper creating a:
`]: [`V-shaped valley`], [`Which modern approaches have increased farming output (yield) in developing countries?
Which are reasons why death rates are falling globally?
From this OS map extract, state the name of the farm at 697-363

A series of waves caused by earthquakes or undersea volcanic eruptions is known as a ______
`]: [`>Tsunami`], [`Which of these is NOT a Tundra region?
`]: [`Tibet and Nepal`], [`Which of the following are common land uses of river landscapes in the UK?
Which are approaches used by some governments to limit population growth?
State the four-figure grid reference for point P on this map.

Which are true about ox-bow lakes?
Developing crops with improved traits, such as resistance to pests, diseases, or adverse weather conditions is called________ ___________
`]: [`>Genetic modification`], [`Which are typical features of a city’s Central Business District?
Which are major communicable diseases leading to deaths in developing countries?
Waves, containing sand and pebbles, force their way into cracks in the cliff face. Over time waves grinds away at the rock until the cracks become:
`]: [`a cave`], [`Which of the following are generally true?

What is indicated by this symbol on an ordnance survey map?
`]: [`Mountain bike trail`], [`Which are reasons why developing countries have high birth rates?
Which are positive effects of mass tourism?
On an OS map, contour lines tightly packed together, often forming a semi-circular or armchair shape located on the sides of mountains indicates which type of landform?
`]: [`Corrie`], [`Overconsumption of the Earth’s scarce resources has resulted in:
Which are true of the European Union trading alliance?
A wealthy country agrees to forego (write off) the trading deficit owed to it by a developing country. The term for this is:
`]: [`Debt relief`], [`Which are reasons to explain the large-scale destruction of Equatorial rain forests?
A sudden violent shaking of the ground as a result of movements within the earth's crust is called __________
`]: [`>Earthquake`], [`Which are positive effects of mass tourism?
A narrow, sharp ridge between two glacial valleys or corries, often with steep sides is called . . . .
`]: [`>Arete`], [`Which is NOT a direct consequence of an earthquake?
`]: [`Torrential rain causes severe flooding and disruption`], [`Which of the following industries are typical of Equatorial regions?
Which are strategies/approaches used to protect tropical rainforest regions such as the Amazon?
Which are factors causing inequalities in trade between developed and developing countries?
Which coastal landform is displayed in this image?

Which statements about the impact of volcanic activity on the world’s climate are accurate?
Which coastal landform is displayed in this image?

The system in which vehicles are required to pay a fee for entering certain areas of a city during specific times, aimed at reducing the volume of traffic and improving air quality is called ________ ________ (2 words)
`]: [`>Congestion charging`], [`An area of countryside is in demand by farmers but it is also required for new housing. Where there are not enough resources to meet all needs on the land this can lead to:
`]: [`Land use conflict`], [`Which type of sedimentary rock is made up of horizontal blocks called bedding planes and vertical cracks called joints?
`]: [`>Limestone`], [`Which is the UK government policy which aims to support farming and agriculture following Brexit?
`]: [`The Agriculture Act 2020`], [`What term is used to describe a steep, vertical column of rock formed by ocean wave erosion?
`]: [`>Stack`], [`Which are national policy initiatives to support farmers in Scotland?
Which changes to central business districts aim to reduce reducing carbon emissions and pollution?
Which are true of a tsunami?
Which are true of the European Union trading alliance?
In developing countries, which technological breakthrough has boosted crop yields in areas where the land is not fertile?
`]: [`High yield variety seeds`], [`Which of the following is NOT a form of coastal erosion in the UK?
`]: [`Hydrothermal`], [`State the four-figure grid reference for point H on this map.


From the data provided about the population of Japan, which statements are correct?
Where the value of a country's trade exports is lower than its imports, this results in a . . . . .
`]: [`>Trade deficit`], [`Which are ways that global warming is likely to affect Scotland in the years ahead?
Which of these IS a process of river erosion?
`]: [`Hydraulic action`], [`A _____ is a mineral formation that hangs from the ceiling of a cave.
`]: [`>Stalactite`], [`Which of these industries would NOT be typical of land use in a coastal landscape?
`]: [`Forestry`], [`When different groups disagree on how to use the same piece of land due to competing interests this is know as ______ _____ _______ (3 words)
`]: [`>Land use conflict`], [`Heavy, cold air begins at higher altitudes and descends toward the Earth's surface.
This describes:
`]: [`an anticyclone`], [`The term used to describe an increase in average temperatures of the Earth over a period of time is ______ _______
`]: [`>Global warming`], [`From this OS map extract state which feature is found at 727-351

Which are examples of cash crops exported by developing countries?
Which type of air mass is most likely to result in warm and dry weather in Scotland?
`]: [`Tropical Continental`], [`As a glacier moves over a landscape it pulls out chunks of rock leaving behind a jagged and rugged surface. This process is called:
`]: [`Plucking`], [`Which of the following industries benefit from location near to a river?
Which continent is at the greatest risk from the effects of climate change?
`]: [`Africa`], [`A sudden drop in temperature, increasing winds, rain and thunder are likely to be the result of:
`]: [`a cold front`], [`The main reason for governments introducing strategies to limit population growth is:
`]: [`to reduce the demand on limited resources`], [`Which are impacts of low population growth and an ageing population for a country such as Italy?
Which are strategies used to limit deforestation in Equatorial regions?
Which of these cities is at LEAST risk of earthquakes?
`]: [`Rome – Italy`], [`The grid lines that run up and down an OS map vertically are called _______
`]: [`>Eastings`], [`Which are approaches used to limit the impact of human activity on the Tundra?
In coastal areas a body of sand, gravel or fine sediment that sits above the water is known as?
`]: [`>Sand bar`], [`The negative impact of human activity on the Tundra’s natural environment can be evidenced by:
Which are negative effects of mass tourism?
Which are accurate descriptions of why glaciated landscapes are popular locations for recreation?
Which is NOT an example of a trade alliance?
`]: [`The World Trade Organisation (WTO)`], [`Which are causes of trade inequality between countries?
Which are common problems associated with life in shanty towns?
A raised embankment or wall built alongside a river to prevent flooding and protect nearby areas is called a ________
`]: [`>Levee`], [`Which feature of an upland limestone landscape is being explored in this picture?

Which are accurate statements about the effects/impact of HIV/AIDS in a developing country?
Which US tech entrepreneur created a charitable foundation to eradicate malaria in developing countries?
`]: [`>Bill Gates`], [`When cows belch, they release substantial quantities of ______ gas contributing to the greenhouse effect.
`]: [`>Methane`], [`
Which river feature is particularly evident from this OS map extract?
`]: [`Oxbow lake`], [`Which features on an OS map would indicate rural-urban fringe?
Which of the following are typical features of an upland limestone landscape?
Increased cattle farming worldwide is a major contributor to which greenhouse gas?
`]: [`>Methane`], [`In international trade, which are true of tariffs and quotas?
Which of the following is an air mass?
A graph that shows the age and gender distribution of a population, with younger ages at the bottom and older ages at the top is called a Population ______
`]: [`>Population pyramid`], [`New housing zones are most likely to be located:
`]: [`In suburbs or rural fringe of a city`], [`Potholes, swallow holes and caverns are most likely to be found in which type of landscape?
`]: [`Upland limestone`], [`Corries are geological features formed through:
`]: [`Glaciation`], [`What is the main geological factor in the creation of a U-shaped valley?
`]: [`Glacial erosion`], [`Which is NOT a reason for higher death rates in developing countries?
`]: [`Religion`], [`On a map, the ratio between real life sizes and how many times it has been shrunk to fit it on the map is called _____
`]: [`>Scale`], [`The term which describes the buying and selling of goods between countries is _______
`]: [`>Trade`], [`Amy is a tourist visiting a protected rainforest to observe wildlife and support conservation efforts. This is an example of:
`]: [`Eco tourism`], [`Which are examples of strategies to encourage responsible tourism?
Where the value of a country's trade exports are greater than its imports, this results in a . . . . .
`]: [`>Trade surplus`], [`What term describes the geological shape of this valley?

Which are negative effects of mass tourism?
Which are significant factors contributing to coronary heart (cardiovascular) disease in developed countries?
A ________ is a small, bowl-shaped hole in limestone rock, created by the erosive action of water and sediment.
`]: [`>pothole`], [`Which are typical features of a city’s Central Business District?
A country's Literacy rate and infant mortality level are 2 examples of ________ indicators of development
`]: [`>Social`], [`Which of these world regions is at the greatest risk of famine due to drought?
`]: [`Somalia and South Sudan`], [`Which is true of caves in an upland limestone landscape?
Which statements about the impact of trade on the environment of a developing country are accurate?
Which are naturally occurring factors affecting climate change?
Which are reasons why death rates are high many developing countries?
Which are naturally occurring causes of climate change?
Which are measures that can be taken to reduce the impact and damage caused by earthquakes?
Population distribution is lower in mountainous areas than in flat, low lying regions because:
The typical weather that a Tropical Continental air mass brings to the UK is:
`]: [`Warm and dry weather`], [`Which are potential solutions to overcome land use conflict between tourists and farmers?
Which are advantages for UK farmers of introducing new farming technologies?
From this map of UK rivers, which letter signifies the River Clyde?

Which are measures that can be taken to reduce the impact and damage caused by tsunamis?
The 2010 Eyjafjallajökull volcanic eruptions took place in which country?
`]: [`Iceland`], [`
The four-figure OS map reference for grid point A in the diagram is:
`]: [`7130`], [`Climate influences population distribution because humans prefer to avoid:
Which are strategies/measures to address the problems associated with heart disease in developed countries?

What is indicated by this symbol on a UK ordnance survey map?
`]: [`Zoo`], [`In weather, which are features of a depression?
On a road map with a scale of 1 inch representing 10 miles, if the distance between two cities on the map is 4 inches, what is the actual driving distance between those two cities in miles?
`]: [`10 miles`], [`Which statements about the impact of mechanisation on farming in developed countries are accurate?
Potholes are distinctive features of which type of landscape?
`]: [`Upland limestone`], [`Interest free loans to poor communities in developing countries to help set up very small businesses is known as:
`]: [`Microfinance`], [`An area of low pressure which moves from west to east in the northern hemisphere is called . . .
`]: [`>depression`], [`Some UK farmers diversify their operations to include services such as farm shops, holiday accommodation and camping permits. Another term for this is:
`]: [`Agribusiness`], [`In older cities the area termed the Inner City is usually located:
`]: [`Near to the centre and the sites of old industries`], [`Harder sandstone areas of a sea cliff are more resistant to wave erosion and jut out into the sea to form:
`]: [`Headlands`], [`Areas of slower and faster water flow cause different rates of erosion and causes a river to shift across its floodplain. This creates:
`]: [`meanders`], [`Which mountain feature is formed after several corries are eroded from their sides leaving a sharp central point?
`]: [`Pyramidal peak`], [`River environments are popular locations for travel and tourism activities because:
A high pressure weather system is also described as:
`]: [`an anticyclone`], [`Which are strategies for reducing the impact of malaria in developing countries?
Which are possible consequences of climate change?
The annual United Nations Climate Change Conference is known by which 3 letters?
`]: [`>COP`], [`Which distinctive landform is shown in this limestone landscape?

Which of the following is NOT a naturally occurring factor affecting climate change?
`]: [`Deforestation`], [`What percentage of global deaths from malaria occur in sub-Saharan Africa?
`]: [`90 percent`], [`Which is NOT a feature of a tropical storm?
`]: [`High geometric pressure`], [`A low pressure weather system is also described as:
`]: [`a depression`], [`
From this graph which of the following statements are true about population growth in Brazil?
Which are generally true about the nature of exports between developed and developing countries?
Which are examples of how inner city districts have undergone to improve physical and human environments?
On an Ordnance Survey map, which landform would appear as a broad, open trough with gently curving or U-shaped contour lines?
`]: [`U-shaped valley`], [`Which are causes of trade inequality between countries?
Which are examples of the negative impact of human activity on the Tundra’s natural environment?
Which is NOT an example of mechanisation in farming?
`]: [`Chemical fertilisers and pesticides to increase crop yields`], [`In weather systems, which are true of a cold front?

Based on the chart above, which diseases saw a decline in deaths between 2000 and 2019?
Which are accurate descriptions of how polar bears adapt to their environment?
Which are examples of the negative impact of human activity on the Tundra’s natural environment?
Large, bowl-shaped hollows located on the north and north-east facing slopes of mountains are known as:
`]: [`Corries`], [`
Which coastal feature is indicated at point A on this OS map?
`]: [`Headland`], [`Which diseases are much more common in developing countries than in high income economies?
When a ridge is cut off sharply by a straight-flowing glacier this creates:
`]: [`a Truncated Spur`], [`On a hiking map with a scale of 1:50,000, if you need to find the distance of a trail that measures 3.5 centimetres on the map, what is the actual trail distance?
`]: [`1.75 kilometres`], [`On an Ordnance Survey, which landform is indiated by a narrow, elongated ridge-like feature, often indicated by closely spaced contour lines running between two valleys or corries?
`]: [`>Arete`], [`Which are strategies/approaches used to protect tundra environments from oil spills?
Which are strategies that can be employed to reduce the negative impacts of mass tourism?
Which of the following are typical features of coastal landscapes?
Volcanic eruptions can be cause by the movement of the Earth's _______ plates.
`]: [`>tectonic`], [`What term describes tourism which involves people visiting fragile, unspoilt areas that are usually protected?
`]: [`>Eco-tourism`], [`Which are strategies used to attract people back to city centre shopping and leisure?
Which are typical land uses of an Equatorial region?
When a river curves, bends, or winds in the channel of a river this is known as a __________
`]: [`>Meander`], [`Which type of tropical storm can be seen in this satellite image?

Which is NOT a landform that would be found on an OS map in an upland limestone region?
`]: [`Arete`], [`In coastal areas a sand bar or spit that connects an island to the mainland is known as a:
`]: [`tombolo`], [`Which are true of developed countries such as the UK, compared with developing countries?
Which regions was affected by the devastating tsunami of December 2004?
Which of a region’s industries is likely to be LEAST impacted by volcanic activity?
`]: [`Telecommunication`], [`Which are typical features of anticyclones?
Which of the following is a naturally occurring cause of climate change?
`]: [`Changes to oceanic circulation which warm and cool the oceans`], [`In coastal areas a low ridge of sand or shingle extending from the shore across a bay or a river estuary is known as a:
`]: [`spit`], [`Which statements about the potential impact of a tropical storm are accurate?
Which are ways that the orangutang has adapted to the tropical rainforest environment?
Which are factors which make a city’s urban/rural fringe a more suitable location for new housing than the inner city?
Which are accurate statements about the process of forming upland limestone?
As a glacier moves over a landscape, rocks which get stuck in the ice grind away the bedrock smoothing and deepening the landscape. This process is known as:
`]: [`Abrasion`], [`Softer clay areas of a sea cliff are more vulnerable to wave action - the rocks eroding backwards faster to form:
`]: [`Bays`], [`The source area for the Tropical Continental air mass which reaches the UK is:
`]: [`Southern Europe and North Africa`], [`Building massive dams can lead to earthquakes because:
`]: [`the huge water mass applies pressure on the Earth’s surface beneath`], [`State the four-figure grid reference for point G on this map.

What does this symbol represent on a weather chart?

In depression, which are true of a warm front?
Waves breaking through a cave to the other side of the headland form a coastal shape known as:
`]: [`an arch`], [`
From the population pyramid of Country A which assumptions are accurate?
What does this symbol represent on a weather chart?

Which guide is most likely to be used by hillwalkers and army soldiers?
`]: [`Ordnance survey map`], [`
Which feature of a glaciated landscape is indicated by the red arrows in this picture?
`]: [`Truncated Spur`], [`The typical weather that a Polar Maritime air mass brings to the UK is:
`]: [`Cold and wet weather`], [`Smoking tobacco is a significant risk factor for cardiovascular and other serious diseases because:
Which of the following is true of how V-shaped valleys are formed?
A natural opening in the ground, typically found in limestone landscapes, where surface water flows underground into cave systems or underground streams, disappearing from the surface.
What land form is being described above?
`]: [`Swallow hole`], [`The growing of crops without the use of artificial chemicals, such as fertilisers and pesticides is known as . . . .
`]: [`>Organic farming`], [`The name for a type of region characterised by extreme cold, low temperatures, and a lack of trees due to permafrost and a short growing season is _________
`]: [`>tundra`], [`Which are accurate descriptions of shanty towns?
Which are strategies to reduce trade inequalities between countries?
From this map of UK rivers, which letter signifies the River Tay?

Which are true about the impact of modern farming technology in developing countries?
Which type of air mass is most likely to result in cold and wet weather in Scotland?
`]: [`Polar Maritime`], [`On an OS map of a limestone region, circular or oval depressions, often marked with contour lines converging into a closed loop are most likely to indicate:
`]: [`Swallow holes`], [`Which are human factors influencing population distribution in a region?
Which are strategies/measures to reduce the spread of HIV/AIDS in developing countries?
Which are true of developing countries such as Tanzania, compared with developed countries?
Which type of air mass is most likely to result in cold and dry weather in the UK?
`]: [`Polar Continental`], [`Which are accurate explanations for developed countries having lower birth rates than developing countries?
Which are examples of strategies to encourage responsible tourism?
Devices equipped with cameras and sensors used by farmers for aerial surveillance of crops are called _______
`]: [`>Drones`], [`An opening on the Earth’s surface that allows hot lava, ash, and gases to escape is called . . .
`]: [`>volcano`], [`Which are true of developed countries such as France, compared with developing countries?
What features on an OS map would indicate the inner city?
The commercial and business centre of a city is known as the ______ ______ ______ (3 words)
`]: [`>Central Business District`], [`What does this weather symbol represent?

Which are changes made to Britain’s central business districts in recent years with the aim of improving both physical and human environments?
Which are true of volcanoes?
Translate this occupation into English:
Translate to French:
Lawyer
`]: [`>avocat`], [`Translate to French:
Nurse
`]: [`>infirmier`], [`Translate the following sentence into French. The verb phrase is in bold to help you.
George was tall and handsome.
`]: [`George était grand et beau`], [`Je parle un peu polonais. À mon avis, apprendre une langue améliore la confiance en soi.
Which language does this student speak?
`]: [`Polish`], [`Translate this English phrase to French:
My father supports me
`]: [`Mon père me soutient`], [`Listen to the audio.
What does the school have?
`]: [`Many old classrooms`], [`Complete the sentence using the correct form of the verb 'ALLER' and the infinitive.
Ma mère ______ ______ une revue.
`]: [`va lire`], [`What do people do at la fête de Cannes?
`]: [`They watch films`], [`Listen to the audio.
Which subject is being studied?
`]: [`Science`], [`Listen to the audio.
What should students not do at this school?
`]: [`Use mobile phones in class`], [`Translate to English - travailler means to:
`]: [`>work`], [`Listen to the audio.
What does she think makes a good friend?
Bonjour, je suis Valérie. Nous allons souvent au cinéma car c'est passionnant.
Which hobby is Valérie describing?
`]: [`Going to the cinema`], [`Je m'appelle Matthieu. Selon moi, ma professeur de langues est aussi fantastique que ma professeure de dessin.
What does Matthieu say about his teachers?
`]: [`His Languages teacher is as fantastic as his Art teacher`], [`Replace the English adjective with the correct French adjective.
Mes parents sont assez fun.
`]: [`amusants`], [`Translate from French to English:
J’ai toujours rêvé d’habiter en Pologne.
`]: [`I have always dreamed of living in Poland`], [`Bonjour, je m'appelle Valerie. Je pense que ma professeur d'espagnol est moins geniale que mon professeur d'allemand.
What does Valerie say about her teachers?
`]: [`Her Spanish teacher is less cool than her German teacher`], [`Listen to the audio:
Where is Marseille located?
`]: [`At the seaside`, `South of France`], [`Pour garder en forme, j'essaie de faire de l'exercice.
In which way does this person keep in shape?
`]: [`Doing exercise`], [`Translate the following sentence into French. The verb phrase is in bold to help you.
This bracelet would be worth more, but it’s broken.
`]: [`Ce bracelet vaudrait plus, mais c’est cassé`], [`What colour of hair does this person have?
J'ai les cheveux roux et j'ai les yeux bleus.
`]: [`Red`], [`Listen to the audio.
What does the school have?
`]: [`A modern assembly hall`], [`Dans mon collège écossais nous devons porter un uniforme, mais dans une école française ils ne doivent pas porter l’uniforme.
Explain how this student compares their Scottish school with a French school.
`]: [`Students in their Scottish school have to wear uniform, students in a French school don't`], [`Listen to the audio.
How often does Georges go to the mountains?
`]: [`Every day`], [`Translate the activity to English:
de la randonnée
`]: [`hiking`], [`Listen to the audio.
Where would Raymond like to live?
`]: [`In the country`], [`Which answer would fill the gap with the correct form of the future tense of the verb in brackets?
______ un hamburger demain. (tu / manger)
`]: [`mangeras`], [`J'adore les films de guerre et j'aime aussi les films d'action.
Which film genre does this person say they also like?
`]: [`Action`], [`Translate this French phrase to English:
Mon frère me soutient
`]: [`My brother supports me`], [`Je m'appelle Jean-Paul. Dans mon collège, nous devons respecter les autres.
What do students at Jean-Paul's school have to do?
`]: [`Respect others`], [`En ce moment il y a beaucoup de pollution car il y a trop d'usines.
What is the environmental problem being described here?
`]: [`Pollution`], [`Which social media app does this person use to meet new people?
`]: [`Skype`], [`Translate this French phrase to English:
Je m'entends bien avec ma famille
`]: [`I get on well with with my family`], [`Dans mon collège idéal, les professeurs seraient sympas.
What would this student like to have in their ideal school?
`]: [`Nice teachers`], [`Listen to the audio.
What does she think makes a good friend?
Listen to the audio:
Where is Edinburgh located?
`]: [`East of Scotland`, `In the centre`], [`What is the correct form of the verb (in brackets) required to complete the sentence?
J’ ______ une nouvelle voiture. (acheter)
`]: [`achèterais`], [`Which of the following shows the negative meaning of this sentence?
Alice aime le sport.
`]: [`Alice n'aime pas le sport`], [`Who is Gabrielle?
Je m'appelle Sophie et ma grand-mère s'appelle Gabrielle.
`]: [`Sophie's grandma`], [`Translate into English:
vacances
`]: [`>holidays`], [`Je m'appelle Amélie. Je n'ai pas de travail, mais j'aide à la maison je cuisine le dîner.
How does Amélie help at home?
`]: [`Cooks the dinner`], [`Translate to English:
caractères
`]: [`>characters`], [`Which answer would fill the gap with the correct form of the future tense of the verb in brackets?
Les méchants ______ très punis. (être)
`]: [`seront`], [`Listen to the audio.
Where did Lola do her week's work experience?
`]: [`Office`], [`Je m'appelle Ariktha. Au travail, les clients sont impolis.
Who is Ariktha describing as unpleasant?
`]: [`Her clients`], [`Bonjour, je m’appelle Lisa. J'ai trouvé le film un peu long mais j'ai vraiment aimé les acteurs et l'histoire.
What does Lisa say about the movie?
`]: [`It was too long`], [`What is the correct form of the verb (in brackets) required to complete the sentence?
J’______ un livre sur ma vie. (écrire)
`]: [`écrirais`], [`Bonjour, je m'appelle Valérie. Je suis fan de mon professeur de musique car il a un bon sens de l'humour.
Why does Valerie like her Music teacher?
`]: [`He has a good sense of humour`], [`Beaucoup de footballeurs sont de bons modèles à suivre car ils soutiennent diverses organisations caritatives.
From the sentence, why are many footballers good role models?
`]: [`They support various charity organisations`], [`Translate to English:
J'ai vu un film
`]: [`>I watched a film`], [`Listen to the audio.
What would this student like to have in their ideal school?
`]: [`Lessons which start at 9am`], [`Je voudrais postuler à la poste de maître-nageur parce que je voudrais travailler avec les enfants.
Why does this person want to apply for the job as a lifeguard?
`]: [`They want to work with children`], [`Translate into English:
examens
`]: [`>exams`], [`Listen to the audio.
Where did she meet her best friend?
`]: [`Primary school`], [`Listen to the audio.
What colour of blazer does this student wear to school?
`]: [`Purple`], [`Listen to the audio.
What is wrong with Jade?
`]: [`She is is ill`], [`Dans mon collège idéal, les professeurs seraient compréhensifs.
What would this student like to have in their ideal school?
`]: [`Understanding teachers`], [`Listen to the audio.
Why does Baptiste say that he wants to live abroad?
`]: [`To meet new people`], [`What colour of hair does Sofia say she has in the following sentence?
Salut, je m'appelle Sofia et j'ai les cheveux blonds.
`]: [`Blonde`], [`Translate the following sentence into French using the present tense. The present tense phrase is in bold.
We drink Coca Cola on the weekends.
`]: [`Nous buvons du coca les week-ends`], [`Which of the following is the correct translation of:
you live (habiter)
`]: [`tu habites`], [`Listen to the audio:
Where is Marburg located?
`]: [`In the countryside`, `West of Germany`], [`Parfois, je regarde les films d’horreur avec mon grand-père.
Which genre of film does this person watch with their grandad?
`]: [`>Horror`], [`Listen to the audio.
What does Baptiste say he would like to do?
`]: [`Live abroad`], [`Bonjour, je m’appelle Lisa. J'ai vraiment aimé le livre parce que les personnages étaient amusants.
What does Lisa think about the book?
`]: [`She really liked it`], [`Listen to the audio.
Where did André do his work experience?
`]: [`Sports centre`], [`Rearrange the words to make a sentence with a modal verb.
internet / je / surfer / sur / l’ / ce / veux / soir
`]: [`Ce soir je veux surfer sur l’internet`], [`Je m'appelle Ariktha. Au travail, les clients sont impolis.
How does Ariktha describe her colleagues?
`]: [`Rude`], [`Salut, je suis Rachel. Quand il fait beau, je joue au golf et quand il fait mauvais, je joue de la guitare.
When does Rachel play guitar?
`]: [`When it is bad weather`], [`Dans ma région, il y a beaucoup d'embouteillages parce qu'il y a trop de voitures dans les rue.
What is the cause of the environmental problem being described here?
`]: [`Too many cars in the street`], [`J'aimerais habiter en Italie puisque on peut se promener dans les parcs.
Why does this person want to live in Italy?
`]: [`To walk in the parks`], [`Complete the sentence using the correct form of the verb 'ALLER'.
Mon frère et ma sœur ______ avoir un hamburger avec des légumes pour le dîner.
`]: [`vont`], [`Why does the person argue with their younger sister?
Je m'appelle Catherine. J'ai décidé que je veux continuer mes études pour apprendre beaucoup.
Why has Catherine decided to continue her studies?
`]: [`To learn a lot`], [`Complete the sentence using the correct form of the verb 'ALLER'.
Ma mère ______ manger le steak avec les frites.
`]: [`va`], [`Translate this English phrase to French:
I trust my mother
`]: [`Je me confie à ma mère`], [`Translate the following sentence into French. The verb phrase is in bold to help you.
On Sunday morning, I fell from my bike.
`]: [`Le dimanche matin, je suis tombé de mon vélo.`], [`Who plans to go earn lots of money if they pass their exams?
Rearrange the following words to make a sentence with a negative phrase.
ne / rien / faites / vous
`]: [`Vous ne faites rien`], [`J'utilise TikTok pour passer le temps.
What does this person use TikTok for?
`]: [`Pass the time`], [`Listen to the audio and translate.
Listen to the audio.
When does Amélie work as a babysitter?
`]: [`At the weekend`], [`Parfois, je mange du fast food.
What does this person do that is unhealthy?
`]: [`Eat junk food`], [`Listen to the audio.
Which subject is being studied?
`]: [`Art`], [`Je voudrais postuler pour le poste de maître-nageur car je voudrais travailler avec les enfants.
Which job does this person want to apply for (answer in English)?
`]: [`>Lifeguard`], [`Translate this phrase into English.
`]: [`I don't believe in the traditional family`], [`Listen to the audio.
What is Zoé's part-time job?
`]: [`Waitress`], [`Je m'appelle Daniel. Dans ma classe de français, nous utilisons un tableau interactif pour utiliser un dictionnaire sur internet.
What does Daniel's French class use the interactive whiteboard to do?
`]: [`Use the online dictionary`], [`Listen to the audio.
When does Emma play basketball?
`]: [`When it is hot`], [`Translate the following sentence into French using the present tense. The present tense phrase is in bold.
Sarah needs a dictionary.
`]: [`Sarah nécessite un dictionnaire`], [`Translate this occupation into English:
Bonjour, je suis Valérie. Nous allons souvent au cinéma car c'est passionnant.
How does Valérie describe going to the cinema?
`]: [`Exciting`], [`Je ne me sens pas bien, j’ai mal à la gorge.
Which part of their body is sore?
`]: [`>Throat`], [`Which of these adjectives best describe Amélie?
Je voudrais postuler à la poste de réceptionniste parce que je voudrais travailler avec les gens.
Why does this person want to apply for the job as a receptionist?
`]: [`They want to work with people`], [`Listen to the audio.
What does she think makes a good friend?
Salut, je m'appelle Antoine. J'aime ma professeur d'allemand parce qu'elle ne se fâche jamais.
Why does Antoine like his German teacher?
`]: [`She never gets angry`], [`Listen to the audio.
What does she think makes a good friend?
Translate the following sentence into French. The verb phrase is in bold to help you.
The windows were open and the door was closed
`]: [`Les fenêtres étaient ouvertes et la porte était fermée`], [`Listen to the audio.
Why does Raymond prefer to live in the city?
`]: [`There is a lot of culture`], [`Je m'appelle Gabrielle. Dans mon collège on doit porter une chemise, un pull et les pantalons.
Which of the following does Gabrielle wear to school?
Translate the school subject into English:
la musique
`]: [`>Music`], [`Je promène les chiens. Ils me paient cent livres par mois.
How much does the dog walker earn?
`]: [`£100 per month`], [`Which of the following would fill the gaps using the correct part of AVOIR and the past participle for the verb shown in brackets?
Martin et Michel ____ ____ jaloux de nous. (être)
`]: [`ont / été`], [`Je m'appelle Jean-Paul. Dans mon collège, on doit être ponctuel.
What do students at Jean-Paul's school have to do?
`]: [`Be on time`], [`J'ai toujours rêvé de habiter en Espagne.
This translates into English as _____________________ in Spain.
What is the missing phrase?
`]: [`I have always dreamed of living`], [`York est une ville loin de la montagne.
How is York described?
`]: [`A city away from the mountains which is very beautiful`], [`Listen to the audio.
Why does Alexandre dream of being a journalist?
`]: [`They have a lot of long holidays`], [`Translate the following sentence into French. The verb phrase is in bold to help you.
They will not burn.
`]: [`Ils ne brûleront pas`], [`What is the correct form of the verb (in brackets) required to complete the sentence?
Je ______ ces livres sur l'étagère. (mettre)
`]: [`mettrais`], [`Name the festival:
La Semaine de la Mode
`]: [`>Fashion week`], [`Listen to the audio.
Which job has Amélie always wanted to do?
`]: [`Soldier`], [`Listen to the audio.
Why does Fatima like Languages?
`]: [`They are easy`], [`Le mari de ma sœur est mon...
`]: [`beau-frère`], [`Translate the following phrase to French:
An ideal father
`]: [`un père idéal`], [`Listen to the audio.
At what time is the Science class?
`]: [`Half past ten`], [`Voyager en avion est plus rapide que voyager en voiture.
What is being said?
`]: [`Travelling by plane is faster than travelling by car`], [`Which of the following is the correct translation of:
Sometimes I travel to Switzerland with my parents
`]: [`Parfois, je voyage en Suisse avec mes parents`], [`Complete the sentence using the correct past participle of the verb in brackets.
Et toi, tu as ____ le fiim. (regarder)
`]: [`regardé`], [`Translate the following sentence into French. The verb phrase is in bold.
You (+1) studied French last night.
`]: [`Vous avez étudié le français hier soir.`], [`Listen to the audio.
What did Lola learn on her work experience?
`]: [`How to answer the phone`], [`Listen to the audio.
Which of the following best matches what Thomas is saying.
`]: [`There is nothing to do for young people`], [`Listen to the audio.
Where did Émilie do her week's work experience?
`]: [`Shop`], [`How old is the person speaking?
Listen to the audio.
Why does Marianne want to visit lots of different countries?
`]: [`To swim in the sea`], [`Which of the following is the correct translation of:
I drink (boire)
`]: [`je bois`], [`Choose the correct translation:
Tu crois
`]: [`you believe`], [`Listen to the audio.
When does Théo deliver newspapers?
`]: [`Before school`], [`Je m'appelle Ahmad. La bonne chose est qu’apprendre une langue améliore tes perspectives du travail.
What does Ahmad say is the good thing about learning languages?
`]: [`Improves your job prospects`], [`Parfois le week-end, je joue au tennis avec mes amis.
When and with whom does this person play tennis
`]: [`On weekends with their friends`], [`Je m'appelle Eléna. Quand j'aurai dix-huit ans, j'espère travailler pour gagner de l'argent.
Why does Eléna want to work?
`]: [`To earn money`], [`Je m'appelle Daniel. J'utilise l’ordinateur pour avoir accès aux sites web pour les langues.
How does Daniel access language websites?
`]: [`Using the computer`], [`Which of the following is the correct translation of:
you talk (parler)
`]: [`tu parles`], [`Listen to the audio.
What did Émilie learn on her work experience?
`]: [`How to speak to customers`], [`Je vais voyager à pied car ce n'est pas loin.
Why is this person planning to travel on foot?
`]: [`It isn't far`], [`Which social media app does this person use to contact their family?
`]: [`Instagram`], [`Translate the activity to English:
de l’escalade
`]: [`climbing`], [`J'adore les documentaires et les émissions sportives, mais je déteste les feuilletons.
Which type of TV program does this person hate?
`]: [`Soap operas`], [`Translate to French:
I stay in a hotel
`]: [`Je reste dans un hôtel`], [`Complete the following sentence using the correct form of the modal verb in brackets.
On ____ regarder un film, si tu ____. (pouvoir / vouloir)
`]: [`peut / veux`], [`L'actrice Angelina Jolie est un bon modèle à suivre car elle lutte contre la pauvreté.
From the sentence, why is Angelina Jolie a good role model?
`]: [`She fights against poverty`], [`Translate the following sentence into French. The verb phrase is in bold to help you.
I will visit some castles in Belgium next summer.
`]: [`Je visiterai des châteaux au Belgique l’été prochain`], [`Salut, je suis Valérie. Je ne danse jamais à la classe de danse car c'est cher.
Why does Valérie say she never go dancing at the dance class?
`]: [`It is expensive`], [`Listen to the audio.
Why has Zoé always wanted to be a doctor?
`]: [`They earn a lot of money`], [`Listen to the audio.
What does Abdul say about Business?
`]: [`It's his favourite subject`], [`Translate the following sentence into French. The verb phrase is in bold to help you.
They would eat all the cake.
`]: [`Ils mangeraient tous le gâteau`], [`Why does the person argue with their older brother?
Normalement après le collège, je joue au foot avec mes amis.
When, and with whom does this person play football?
`]: [`After school with their friends`], [`J'ai toujours rêvé d'habiter en Espagne car on peut y manger de la nourriture délicieuse.
Why does this person want to live in Spain?
`]: [`To eat delicious food`], [`Translate to English:
une piscine
`]: [`A swimming pool`], [`Bonjour, je suis Isabelle. Parfois je fais de la natation et de l'équitation.
What are Isabelle's hobbies
Translate to French:
Germany
`]: [`>Allemagne`], [`Listen to the audio.
Why has Amélie always wanted to be a soldier?
`]: [`Every day is different`], [`Listen to the audio.
What does Guillaume do as a part-time job?
`]: [`Work in a shop`], [`Translate to French:
England
`]: [`>Angleterre`], [`Listen to the audio.
What is Guillaume's dream job?
`]: [`Flight attendant`], [`Listen to the audio.
What does Mathieu say his city had lots of in the past?
`]: [`Green space`], [`Play the clip.
Why does he think marriage is important?
`]: [`His parents are married`], [`Dans mon pays, il y a une perte d'électricité parce que nous n'éteignons pas les lumières quand nous sortons d'une salle.
What is the environmental problem being described here?
`]: [`Waste of electricity`], [`Which of the following would fill the gaps using the correct part of AVOIR and the past participle for the verb shown in brackets?
Vous ____ ____ ‘au revoir’ à Madame Dupont ? (dire)
`]: [`avez / dit`], [`Listen to the audio.
At what time is the History class?
`]: [`Five to eleven`], [`Je n'aime pas Twitter parce que nous pouvons être victimes d’intimidation.
What does this person not like about Twitter?
`]: [`There is bullying`], [`Listen to the audio.
Which of the following does Thomas say can be visited in his town?
Translate to French:
Wales
`]: [`>Pays de Galles`], [`Listen to the audio.
When did Olivia go on holiday?
`]: [`Last year`], [`Listen to the audio.
On which day are French and Spanish studied?
`]: [`Every day`], [`Je pense que le mariage est très important car c'est un engagement à rester toujours avec votre partenaire.
Why does this person think marriage is important?
`]: [`He believes in commitment to a partner`], [`Translate the following sentence into French. The verb phrase is in bold to help you.
On Saturday night, I arrived at the concert at 7pm.
`]: [`Le samedi soir je suis arrivé au concert à sept heures.`], [`Translate the following sentence into French. The verb phrase is in bold to help you.
I would want the car but it’s not my choice.
`]: [`Je voudrais la voiture mais ce n’est pas ma choix`], [`Listen to the audio.
How often did Marianne go swimming?
`]: [`Every night`], [`Listen to the audio.
Why does Sarah say she wants to live in the United States?
`]: [`To try the food`], [`Which of these adjectives best describe Louis?
Bonjour, je m'appelle Sébastien. Je ne recommanderais pas ce livre parce qu'il ne se passe rien d'intéressant.
Why would Sébastien not recommend the book?
`]: [`Nothing interesting happens in it`], [`Je m'appelle Ahmad. Dans mon travail, mon patron est aimable.
How does Ahmad describe his boss?
`]: [`Nice`], [`Salut, je suis Valérie. Je ne danse jamais à la classe de danse car c'est cher.
Which hobby is Valérie describing?
`]: [`Dancing at a dance class`], [`Translate the following sentence into French using the present tense. The present tense phrase is in bold.
You work every night in a shop.
`]: [`Tu travailles chaque nuit dans un magasin`], [`Listen to the audio.
How long has Marcel known his best friend?
Translate this English phrase to French:
I have a good time with my friend
`]: [`Je m'amuse bien avec mon ami`], [`Translate to French:
boat
`]: [`>bateau`], [`Sarah est timide.
Which of these adjectives best describe Sarah?
`]: [`shy`], [`Listen to the audio.
What does Sarah say she would like to do?
`]: [`Live in the United States`], [`Je fais du babysitting. Je gagne dix livres par semaine.
How much does the babysitter earn?
`]: [`£10 per week`], [`Dans mon collège idéal les professeurs ne donneraient pas trop de devoirs.
What would this student like to have in their ideal school?
`]: [`Teachers who don't give too much homework`], [`La sœur de mon père est ma...
`]: [`tante`], [`Translate to English:
l'ordinateur
`]: [`>the computer`], [`Listen to the audio.
What is Alexandre's dream job?
`]: [`Journalist`], [`Bonjour, je m’appelle Sébastien. J'ai été déçu par la fin du livre.
What did Sébastien think of the book?
`]: [`He was disappointed in the ending`], [`Translate this phrase into English.
`]: [`I think marriage is important`], [`Listen to the audio.
What does Alexandre do as a part-time job?
`]: [`Wash cars`], [`Complete the following sentence using the correct form of the modal verb in brackets.
Nous ____ rester ici jusqu’à midi. (devoir)
`]: [`devons`], [`Listen to the audio.
What is forbidden in this student's school?
`]: [`To chew gum`], [`Translate the following sentence into French. The verb phrase is in bold to help you.
You will come with me on holidays.
`]: [`Tu viendras avec moi en vacances`], [`Cette année, j'étudie cinq matières, y compris l'espagnol et les sciences.
What is this student telling you?
`]: [`This year they are studying five subjects including Spanish and Science`], [`L'été prochain, je passerai mes examens.
What is this student telling you?
`]: [`Next summer they are going to sit their exams`], [`Translate the following sentence into French. The verb phrase is in bold to help you.
We will write you postcards.
`]: [`Nous vous écrirons des cartes postales`], [`Translate the following sentence into French. The verb phrase is in bold to help you.
My father was a farmer.
`]: [`Mon père était agriculteur`], [`Bonjour, je m'appelle Georges. Je déteste l’histoire parce que je pense que c'est ennuyeux.
Why does Georges hate History?
`]: [`It's boring`], [`Listen to the audio.
Why does Marcelle like Instagram?
`]: [`It's fast`], [`La fille de mon fils est ma...
`]: [`petite-fille`], [`Voyager en train est plus confortable que voyager en bateau.
What is being said?
`]: [`Travlling by train is more comfortable than travelling by boat`], [`Je ne me sens pas bien, j’ai mal aux pieds.
Which part of their body is sore?
`]: [`>Feet`], [`Listen to the audio.
When does Emma go swimming?
`]: [`When it is cold`], [`Listen to the audio.
Where does Jorge go every day?
`]: [`The mountains`], [`Translate this English phrase to French:
I get on well with my older sister
`]: [`Je m'entends bien avec ma sœur ainée`], [`Salut, je m'appelle Matthieu. J'aime ma professeur d'histoire parce qu'elle a de fortes attentes.
Why does Matthieu like his History teacher?
`]: [`She has high expectations`], [`Complete the sentence using the correct form of the verb 'ALLER' and the infinitive.
Nous ______ ______ dans la mer.
`]: [`allons nager`], [`Je m'appelle Sara. Dans mon collège, il faut porter l'uniforme scolaire..
What do students at Sara's school have to do?
`]: [`Wear school uniform`], [`Replace the English adjective with the correct French adjective.
J'ai un frère. Il est boring.
`]: [`ennuyeux`], [`Je m'appelle Eléna. Quand j'aurai dix-huit ans, j'espère travailler pour gagner de l'argent.
At what age does Eléna hope to work?
`]: [`18`], [`Listen to the audio:
Where is San Sebastian located?
`]: [`In the mountains`, `North of Spain`], [`Translate to French:
We are going to stay in a caravan
`]: [`Nous allons rester dans une caravane`], [`Listen to the audio.
What did Louis learn on his work experience?
`]: [`To be responsible`], [`Translate into English:
étudier
`]: [`>study`], [`Translate the following sentence into French. The verb phrase is in bold to help you.
The monster had two heads.
`]: [`Le monstre avait deux têtes`], [`Listen to the audio.
What kind of TV shows does this person like to watch with their family?
`]: [`>Crime`], [`Who is Joachim?
Je m'appelle Hector. Mon beau-père s'appelle Joachim. Mon grand-père s'appelle Daniel.
`]: [`Hector's step-father`], [`Listen to the audio.
When did Marc go on holiday?
`]: [`Last summer`], [`Translate to English:
une salle d’ordinateurs
`]: [`A computer room`], [`Bonjour, je m’appelle Lisa. J'ai vraiment aimé le livre parce que les personnages étaient amusants.
What does Lisa like about the book?
`]: [`The characters were funny`], [`Listen to the audio.
What was the town like in the past?
`]: [`More dirty`], [`Listen to the audio.
What is wrong with Jade?
`]: [`Her throat hurts`], [`Listen to the audio.
Where does Raymond prefer to live?
`]: [`In the city`], [`Pour garder la forme, j'essaie de manger des fruits et des légumes.
In which way does this person keep in shape?
`]: [`Eating fruit and vegetables`], [`Listen to the audio.
Why would Raymond like to live in the country?
`]: [`There is less noise`], [`Pour rester en bonne santé, j'essaie de ne pas manger de fast food.
In which way does this person stay in good health?
`]: [`Not eating fast food`], [`Translate the following sentence into French. The verb phrase is in bold to help you.
I would leave immediately.
`]: [`Je partirais immédiatement`], [`Four students have provided information about their schools as follows:
Rachel: C'est une college féminin dans le centre de l'Italie.
Jean: Mon collège s’appelle La Olive Academy. C'est dans l'ouest de l'Espagne.
Lucie: Mon collège s’appelle Achieve High School. C’est un collège mixte.
Vidal: Mon collège c’est un collège masculin. C'est dans le sud de l'Angleterre sur la côte.
Which of these statements is true?
`]: [`Vidal's school is near the seaside, Lucie goes to a mixed school`], [`Listen to the audio.
Which hobby is Michel describing?
`]: [`>Cycling`], [`Which of the following would fill the gaps using the correct part of AVOIR and the past participle for the verb shown in brackets?
Ma copine ____ ____ faire la vaisselle avant de sortir. (devoir)
`]: [`a / dû`], [`Listen to the audio.
How does Michel describe cycling?
`]: [`Fun`], [`Listen to the audio.
Why does this festival interest Baptiste?
`]: [`It is full of colour`], [`Listen to the audio.
Which subject is being studied?
`]: [`German`], [`Which social media app does this person use to share photos?
`]: [`Facebook`], [`Complete the following sentence using the correct form of the modal verb in brackets.
____ - vous m’expliquer la route, s’il vous plaît ? (pouvoir)
`]: [`pouvez`], [`Listen to the audio.
What does she think makes a good dad?
`]: [`A dad who is supportive`], [`Bonjour, je suis Caroline. Je ne joue jamais au foot avec mes amis.
How often does Carolina play football?
`]: [`Never`], [`Listen to the audio.
How often does Michel play the keyboard?
`]: [`Rarely`], [`Complete the sentence using the correct past participle of the verb in brackets.
On a ____ très tard. (manger)
`]: [`mangé`], [`Complete the sentence using the correct form of the verb 'ALLER'.
J'adore les œufs donc je ______ manger une omelette.
`]: [`vais`], [`Listen to the audio.
What should students not do at this school?
`]: [`Be rude`], [`What colour of eyes does Sebastian have.
Bonne nuit, je m'appelle Sebastian et j'ai les yeux verts.
`]: [`Green`], [`Listen to the audio.
What is wrong with Jade?
`]: [`She has a sore head`], [`Translate the following phrase to Spanish:
Alice is my best friend.
`]: [`Alice est ma meilleure amie`], [`Dans ma région, il y a beaucoup d'embouteillages parce qu'il y a trop de voitures dans les rue.
What is the environmental problem being described here?
`]: [`Traffic jam`], [`Translate the following sentence into French. The verb phrase is in bold.
They sold the car last year.
`]: [`Ils ont vendu la voiture l’année dernière.`], [`Listen to the audio.
What did André learn on his work experience?
`]: [`To work in a team`], [`Bonjour, je suis Valérie. Nous allons souvent au cinéma car c'est passionnant.
How regularly does Valérie go to the cinema?
`]: [`Often`], [`Listen to the audio.
What would this student like to have in their ideal school?
`]: [`A modern gym`], [`Which of the following is the correct translation of:
From time to time I stay in Scotland with my school
`]: [`De temps en temps je reste en Ecosse avec mon école`], [`Rio de Janeiro est une grande ville proche de la plage, et assez sale.
How is Rio de Janeiro described?
`]: [`A city near the beach which is quite dirty`], [`Listen to the audio.
When does Emma play drums?
`]: [`When it is stormy`], [`Je m'appelle Guillaume. Je n'ai pas de travail, mais j'aide à la maison en rangeant ma chambre.
How does Guillaume help at home?
`]: [`Tidies his bedroom`], [`Which of the following would fill the gaps using the correct part of AVOIR and the past participle for the verb shown in brackets?
Moi, je n’____ pas ____ y aller avec les autres. (pouvoir)
`]: [`ai / pu`], [`Which of the following would fill the gaps using the correct part of ETRE and the past participle for the verb shown in brackets?
Ils ____ ____ au collège à neuf heures. (arriver)
`]: [`sont / arrivés`], [`Isabelle est désagréable.
Which of these adjectives best describe Isabelle?
`]: [`nasty`], [`Je m'appelle Louis. Dans mon collège je voudrais porter une veste, un jean et les baskets.
Which of the following would Louis like to wear to school?
Listen to the audio.
Which of the following does Thomas say can be visited in his town?
Listen to the audio.
What does the school have?
`]: [`Many large classrooms`], [`Listen to the audio.
Why would Raymond like to live in the country?
`]: [`There is less pollution`], [`Choose the correct translation:
Nous buvons
`]: [`we drink`], [`Translate the following sentence into French. The verb phrase is in bold to help you.
My pen didn’t work.
`]: [`Mon stylo ne marchait pas`], [`Listen to the audio.
What does Sébastien say is in his town?
`]: [`Market`], [`Which answer would fill the gap with the correct form of the future tense of the verb in brackets?
______ au cinéma ce week-end. (je / aller)
`]: [`j’irai`], [`How many siblings does Alphonse have?
J'ai toujours rêvé d'habiter en Grèce parce qu'on peut améliorer sa langue.
Why does this person want to live in Greece?
`]: [`To improve their language`], [`Who is Matthéo?
Je vais faire de vélo parce que c'est mieux pour l'environnement.
Why is this person planning to travel by bike?
`]: [`It's better for the environment`], [`Where does Karina live?
Pour rester en bonne santé, j'essaie de ne pas boire d'alcool.
Why does this person not drink alcohol?
`]: [`To stay in good health`], [`Je ne pense pas que je peux supporter YouTube car c'est une perte de temps.
What can this person not stand about YouTube?
`]: [`It is a waste of time`], [`Je m'appelle Alexandre. Si j'étudie les sciences, je travaillerai dans un hôpital.
What did Alexandre say?
`]: [`He will work in a hospital if he studies science`], [`Complete the sentence using the correct form of the verb 'ALLER' and the infinitive.
Je ______ ______ au foot sur la plage avec mes amis.
`]: [`vais jouer`], [`Replace the English adjective with the correct French adjective.
Mes parents sont assez kind.
`]: [`sympas`], [`Listen to the audio.
What was the town like when Mathieu was younger?
`]: [`More quiet`], [`Pendant mon temps libre, je joue souvent au basket avec mon frère.
Which sport does this person play, and with whom?
`]: [`Basketball with their brother`], [`Bonjour, je m’appelle Étienne. J'aime jouer au basket avec mes amis.
Which sport does Étienne enjoy playing?
`]: [`>Basketball`], [`Dans mon pays, il y a une perte d'électricité parce que nous n'éteignons pas les lumières quand nous sortons d'une salle.
What is the cause of the environmental problem being described here?
`]: [`Not turning the lights off when leaving the room`], [`Dans mon collège en Écosse il y a vingt-cinq élèves dans chaque classe.
What does this student say about their Scottish school?
`]: [`There are 25 students in a class`], [`Listen to the audio.
Which hobby is Michel describing?
`]: [`Playing the keyboard`], [`Bonjour, je m'appelle Georges. Je déteste l'Éducation Physique et Sportive parce que je pense que c'est ennuyeux.
Which subject does Georges hate?
`]: [`PE`], [`Salut, je m'appelle Fabienne. Je n'aime pas la géographie car je ne suis pas doué pour ça.
Which subject does Fabienne not like?
`]: [`>Geography`], [`Je m'appelle Catherine. J'ai décidé que je veux continuer mes études pour apprendre beaucoup.
What has Catherine decided to do?
`]: [`Continue her studies`], [`How many siblings does Alice have?
Translate the school subject into English:
le dessin
`]: [`>Art`], [`Which of the following would fill the gaps using the correct part of AVOIR and the past participle for the verb shown in brackets?
Tu ____ ____ le journal sur la table? (mettre)
`]: [`as / mis`], [`Listen to the audio.
What colour of polo shirt does this student wear to school?
`]: [`Yellow`], [`Listen to the audio.
What would this student like to have in their ideal school?
`]: [`A heated pool`], [`Je déteste les émissions de musique parce qu'elles sont ennuyeuses.
Why does this person say that they hate music programs?
`]: [`They are boring`], [`Translate this occupation into English:
Complete the sentence by filling in both the correct form of the verb avoir, and the past participle.
Vous ____ ____ un livre à lire. (choisir)
`]: [`avez / choisi`], [`Name the festival:
La fête de Lumières
`]: [`>The festival of lights`], [`Bonjour, je m'appelle Zendaya. Je suis fan de mon professeur de maths parce qu'il me fait penser.
Why does Zendaya like her Maths teacher?
`]: [`He makes her think`], [`Listen to the audio.
What does Georges say he would like to do?
`]: [`Travel the world`], [`Listen to the audio.
Which of the following does Thomas say can be visited in his town?
Complete the sentence using the correct form of the verb 'ALLER'.
Mon père ______ choisir le poisson. Il adore les fruits de mer.
`]: [`va`], [`Which audio plays the correct translation for:
In my class I read a book called Alice in Wonderland.
`]: [`Je ne me sens pas bien, j’ai mal aux dents.
Which part of their body is sore?
`]: [`>Teeth`], [`Je n'aime pas Facebook parce que ça vous rend accro.
What does this person not like about Facebook?
`]: [`It gets you hooked`], [`Dans mon collège en France nous finissons à quatre heures de l'après-midi.
What does this student say about their French school?
`]: [`They finish at 4pm`], [`Je m'appelle Antoine. Je crois que mon professeur d'informatique est plus ennuyeux que mon professeur d'éducation physique.
What does Antoine say about his teachers?
`]: [`His Computer Science teacher is more boring than his PE teacher`], [`Listen to the audio.
What colour of polo shirt does this student wear to school?
`]: [`Red`], [`Translate the following sentence into French. The verb phrase is in bold to help you.
Mary had a little lamb.
`]: [`Mary avait un petit agneau`], [`Listen to the audio.
Why does Marcelle prefer TikTok?
`]: [`It's fun`], [`Which answer would fill the gap with the correct form of the future tense of the verb in brackets?
Mon meilleur ami me ______ un cadeau pour mon anniversaire. (donner)
`]: [`donnera`], [`Salut, je suis Pierre. Je n'aime pas la géographie parce que je ne suis pas doué pour ça.
Why does Pierre not like Geography
`]: [`They are not good at it`], [`Which answer would fill the gap with the correct form of the future tense of the verb in brackets?
Ma mère ______ avec beaucoup d'attention. (conduire)
`]: [`conduira`], [`Parfois, je regarde des films de guerre avec mon grand-père..
Which genre of film does this person watch with their grandad?
`]: [`>War`], [`Who plans to go to university if they pass their exams?
Listen to the audio.
Which subject is being studied?
`]: [`History`], [`Translate to French:
France
`]: [`>France`], [`Listen to the audio.
Where did Louis do his work experience?
`]: [`School`], [`Translate this French phrase to English:
Je m'amuse bien avec mes parents
`]: [`I have fun with my parents`], [`Listen to the audio.
What is Amélie's part-time job?
`]: [`Babysitter`], [`Je m'appelle Sara. Dans mon collège, nous devons écouter les profs.
What do students at Sara's school have to do?
`]: [`Listen to the teachers`], [`Le fils de mon père est mon...
`]: [`frère`], [`Translate to English:
une bibliothéque
`]: [`A library`], [`Listen to the audio.
Where did Olivia go on holiday?
`]: [`Germany`], [`La chanteuse Taylor Swift est une bonne modèle à suivre car elle travaille en défense des animaux.
From the sentence, why is Taylor Swift a good role model?
`]: [`She works in defence of animals`], [`What colour of eyes does this person have?
J'ai les cheveux roux et j'ai les yeux bleus.
`]: [`Blue`], [`Je m'appelle Alexandre. Je n’ai pas de travail, mais j’aide à la maison, je fais le repassage.
How does Alexandre help at home?
`]: [`Irons the clothes`], [`Listen to the audio.
Which of the following does Sébastien say are in his town?
`]: [`Bowling alley`], [`Pour s’occuper de l’environnement on devrait:
What advice is being given to help look after the environment?
Listen to the audio.
When does Zoé work as a waitress?
`]: [`When they need her`], [`Je m'appelle Camille. Dans mon collège, nous devons porter des chaussures noires, mais je voudrais porter des bottes marron.
What does Camille have to wear to her school?
`]: [`Black shoes`], [`Translate to French:
money
`]: [`>argent`], [`Translate the following sentence into French. The verb phrase is in bold.
She closed the door 15 minutes ago.
`]: [`Elle a fermé la porte il y a quinze minutes.`], [`Translate to French:
University
`]: [`>l’université`], [`Bonjour, je m'appelle Georges. Je déteste l'Éducation Physique et Sportive parce que je pense que c'est ennuyeux.
What does Georges say about PE?
`]: [`They hate it`], [`Complete the sentence using the correct form of the verb 'ALLER'.
Nous ______ boire de l'eau gazeuse.
`]: [`allons`], [`Dans mon collège français les cours commencent à huit heures et demie, mais dans ma école écossaise, les cours commencent à neuf moins vingt.
How much later in the day does the student in the Scottish school start, when compared to a French school??
`]: [`10 minutes`], [`Complete the sentence by filling in both the correct form of the verb avoir, and the past participle.
Hier, Luc ____ ____ ses devoirs très tard. (finir)
`]: [`a / fini`], [`Translate to English:
avion
`]: [`>plane`], [`Listen to the audio.
On which day of the week is Art?
`]: [`Monday`], [`Listen to the audio.
Which of the following does Sébastien say are not in his town?
Listen to the audio.
What does Mathieu say his city had nothing of in the past?
`]: [`Rubbish`], [`Pendant mon temps libre, je joue souvent au basket avec mon frère.
When does this person play basketball?
`]: [`In their spare time`], [`Play the clip.
Why does he think marriage is not important?
`]: [`He is not religious`], [`Listen to the audio and translate:
Listen to the audio.
When does Emma go to the cinema?
`]: [`When it is raining`], [`Translate the following sentence into French. The verb phrase is in bold to help you.
My cat would speak in my dreams.
`]: [`Mon chat parlerait dans mes rêves`], [`Listen to the audio.
What is not allowed in this student's school?
`]: [`To run in the corridors`], [`Translate to French:
The book
`]: [`>le livre`], [`J'utilise WhatsApp pour organiser les sorties avec mes amis.
What does this person use WhatsApp for?
`]: [`Organise outings with friends`], [`Translate this occupation into English:
What nationality is Cedric?
Complete the sentence by filling in both the correct form of the verb avoir, and the past participle.
Samedi soir, elles ____ ____ et dansé avec leurs amis. (chanter)
`]: [`ont / chanté`], [`De temps en temps, je regarde les films de science fiction avec mes amis.
Which genre of film does this person watch with their friends?
`]: [`>Science fiction`], [`Listen to the audio.
On which day of the week is German?
`]: [`Tuesday`], [`Translate to French:
Italy
`]: [`>Italie`], [`Rearrange the words to make a sentence with a modal verb.
Australie / cette / nos / voyager / en / parents / veulent / année
`]: [`Cette année nos parents veulent voyager en Australie.`], [`Translate this occupation into English:
Si j'ai de bonnes notes, je trouverai un bon travail.
What is this student telling you?
`]: [`If they have good grades they will find a good job`], [`Pour garder la forme, j'essaie de faire du sport, mais malheureusement je ne vais jamais à la gym.
What does this person say that they do not do which would help them keep on shape?
`]: [`Go to the gym`], [`Rearrange the following words to make a sentence with a negative phrase.
n’ / classe / aime / dans / personne / je / ma
`]: [`Je n’aime personne dans ma classe`], [`Translate to English:
Je suis allé en vacances
`]: [`>I went on holiday`], [`Translate to English:
un terrain de jeux
`]: [`A playground`], [`Pour rester en bonne santé, j'essaie de faire du sport.
In which way does this person stay in good health?
`]: [`Doing sport`], [`Listen to the audio.
What kind of TV shows does this person like to watch with their friends?
`]: [`>Cartoons`], [`Translate into English:
rêvé de
`]: [`>dreamed of`], [`Translate this occupation into English:
De temps en temps, je regarde les films d'amour avec mes amis.
Which genre of film does this person watch with their friends?
`]: [`>Love`], [`Listen to the audio.
Why does Georges want to travel the world?
`]: [`To appreciate the culture`], [`Je m'appelle Sofie. Dans ma classe d'français, nous utilisons la radio en ligne pour écouter de la musique français.
What does Sofie's French class use the online radio to do?
`]: [`Listen to French music`], [`Je m'appelle Daniel. J'utilise l’ordinateur pour avoir accès aux sites web pour les langues.
What does Daniel use the computer to do?
`]: [`Access language websites`], [`Which audio plays the correct translation for:
In my class I watched a movie called Batman.
`]: [`Listen to the audio and translate:
J'aimerais habiter en Italie car on peut devenir plus indépendant.
Why does this person want to live in Italy?
`]: [`To become more independent`], [`Je m'appelle Ahmad. Mes professeurs diraient qu’apprendre une langue améliore tes perspectives du travail.
What do Ahmad's teachers say improve your job prospects?
`]: [`Learning languages`], [`Listen to the audio.
When does Guillaume work in a shop?
`]: [`Once a week`], [`Translate the following sentence into French using the present tense. The present tense phrase is in bold.
I speak French in class.
`]: [`Je parle français en classe`], [`Translate from French to English:
J’ai toujours rêvé d’habiter au Pays Bas.
`]: [`I have always dreamed of travelling to the Netherlands`], [`Je m'appelle Ahmad. Dans mon travail, mon patron est aimable.
Who is Ahmad describing as nice?
`]: [`His boss`], [`Bonjour, je suis Isabelle. Parfois, je fais de l'escalade et des randonnées.
What are Isabelle's hobbies
Pour être vert on devrait:
What advice is being given to help look after the environment?
Bonjour, je suis Isabelle. Parfois, je joue de la batterie et du clavier.
Which musical instruments can Isabelle play?
Listen to the audio.
What does the school have?
`]: [`A small canteen`], [`Translate the following sentence into French. The verb phrase is in bold to help you.
We will wear shorts every day.
`]: [`Nous porterons les pantalons courts chaque jour`], [`Translate this French phrase to English:
Je ne m’entends bien avec ma famille.
`]: [`I don’t get on well with my family`], [`Para protèger l’environnement on devrait:
What advice is being given to help look after the environment?
Listen to the audio.
Why does Marcelle like Twitter?
`]: [`It's free`], [`Je m'appelle Mathilde. Dans l'entreprise où je travaille, mes collègues sont désagréables.
How does Mathilde describe her colleagues?
`]: [`Unpleasant`], [`Je m'appelle Sofie. J'utilise un iPad pour jouer aux jeux de vocabulaire.
What does Sofie use the iPad to do?
`]: [`Play vocabulary games`], [`Listen to the audio.
How long did Lola work in an office for?
`]: [`A week`], [`Listen to the audio.
What would this student prefer to wear to school?
`]: [`Blue jeans`], [`Listen to the audio.
What was the town like in the past?
`]: [`More clean`], [`Which of the following would fill the gaps using the correct part of ETRE and the past participle for the verb shown in brackets?
Elle ___ ____ avec Pierre hier soir. (sortir)
`]: [`est / sortie`], [`What is the correct form of the verb (in brackets) required to complete the sentence?
Jean ______ une fête, mais ce n'est pas son anniversaire. (avoir)
`]: [`aurait`], [`Dans mon collège français les cours commencent à huit heures pile, mais dans mon collège écossais, les classes commencent à huit heures et quart.
How much later in the day does the student in the Scottish school start, when compared to a French school?
`]: [`15 minutes`], [`Translate to French:
train
`]: [`>train`], [`Listen to the audio.
What does Marianne say she would like to do?
`]: [`Visit lots of different countries`], [`Nice est une grande ville près de la plage, plutôt bruyante.
How is Nice described?
`]: [`A city near the beach which is quite noisy`], [`Listen to the audio.
Identify all of the languages being studied.
Je ne me sens pas bien, j’ai mal à la tête.
Which part of their body is sore?
`]: [`>Head`], [`Which of the following would fill the gaps using the correct part of ETRE and the past participle for the verb shown in brackets?
Il ____ ____ au concert. (venir)
`]: [`est / venu`], [`De mon point de vue, je déteste TikTok car il est dangereux.
What does this person hate about TikTok?
`]: [`It is dangerous`], [`Listen to the audio.
Why does Raymond prefer to live in the city?
`]: [`Life is fast`], [`Maintenant, il y a trop de sacs en plastique car il n'y a pas assez de centres de recyclage.
What is the cause of the environmental problem being described here?
`]: [`Not enough recycling centres`], [`Listen to the audio.
Which job has Zoé always wanted to do?
`]: [`Doctor`], [`Replace the English adjective with the correct French adjective.
J’ai une soeur. Elle est sporty.
`]: [`sportive`], [`Four students have provided information about their schools as follows:
Rachel: C'est une college féminin dans le centre de l'Italie.
Jean: Mon collège s’appelle La Olive Academy. C'est dans l'ouest de l'Espagne.
Lucie: Mon collège s’appelle Achieve High School. C’est un collège mixte.
Vidal: Mon collège c’est un collège masculin. C'est dans le sud de l'Angleterre sur la côte.
Which of these statements is false?
`]: [`Lucie goes to a mixed school, Vidal goes to school in Wales`], [`Listen to the audio.
What does she think makes a good partner?
`]: [`A partner who makes them laugh`], [`Translate the following sentence into French. The verb phrase is in bold.
I bought a shirt yesterday.
`]: [`J’ai acheté un t-shirt hier.`], [`Which of these adjectives best describe Gabriel?
Pour garder la forme, j'essaie d'aller à la gym.
Why does this person go to the gym?
`]: [`To keep in shape`], [`What is la fête Nationale known as in English?
`]: [`Bastille Day`], [`Listen to the audio.
What kind of TV shows does this person like to watch with their family?
`]: [`>Cooking`], [`Je dois réviser toutes mes matières.
What is this student telling you?
`]: [`They have to revise all their subjects`], [`Translate from English to French:
cycling
`]: [`>cyclisme`], [`Translate this occupation into English:
Listen to the audio.
What is Abdul's favourite subject?
`]: [`Business`], [`Choose the correct translation:
Je bois
`]: [`I drink`], [`Salut, je suis Rachel. Quand il fait beau, je joue au golf et quand il fait mauvais, je joue de la guitare.
When does Rachel play golf?
`]: [`When it is good weather`], [`Translate into English:
sujets
`]: [`>subjects`], [`Listen to the audio.
On which day of the week is Science?
`]: [`Wednesday`], [`Translate to English:
Nous sommes restées dans une villa
`]: [`We stayed in a villa`], [`Listen to the audio.
What does Sarah say about the Formula One Grand Prix?
`]: [`It is dangerous`, `She wouldn't like to go`], [`Listen to the audio.
What is wrong with Jade?
`]: [`She is tired`], [`Play the clip.
What does she think is important?
`]: [`Marriage`], [`Dans mon collège en Écosse les professeurs sont plus strictes qu’en France.
What does this student say about their school?
`]: [`The teachers are more strict than the teachers in France`], [`Dans mon collège en France il y a trente-cinq élèves dans chaque classe.
What does this student say about their French school?
`]: [`There are 35 students in a class`], [`Listen to the audio.
Why does Abdul like Business?
`]: [`It is interesting`], [`Listen to the audio.
What did Marianne do every night?
`]: [`Swimming`], [`Listen to the audio and translate.
Who plans to look for a job if they pass their exams?
L'acteur Ryan Gosling est un bon modèle à suivre car il utilise sa célébrité pour aider les autres.
From the sentence, why is Ryan Gosling a good role model?
`]: [`He uses his fame to help others`], [`Listen to the audio.
What does Max say about speaking French?
`]: [`He can speak a little French`], [`Translate to French:
bike
`]: [`>vélo`], [`Pour être vert on ne devrait pas:
What advice is being given to help look after the environment?
Listen to the audio.
Why does Guillaume dream of being a flight attendant?
`]: [`They can talk to lots of different people`], [`Listen to the audio and translate.
Bonjour, je m’appelle Alicia. J'aime regarder le hockey sur glace avec mes amis.
Which sport does Alicia enjoy watching?
`]: [`>Ice hockey`], [`Je m'appelle Eléna. Quand j'aurai dix-huit ans, j'espère travailler pour gagner de l'argent.
What does Eléna hope to do when she is 18?
`]: [`Work`], [`How does Lisa describe herself in the following sentence?
Salut, je m'appelle Lisa et je suis grande.
`]: [`Tall`], [`Bonjour, je suis Camille. Je joue souvent au ping-pong avec ma sœur.
How often does Camille play table tennis?
`]: [`Often`], [`Which of the following is the correct translation of:
you-all talk (parler)
`]: [`vous parlez`], [`Listen to the audio.
What does Sébastien say he would like to have in his town in the future?
`]: [`Bookshop`], [`Which of the following is the correct translation of:
we drink (boire)
`]: [`nous buvons`], [`Which of these adjectives best describe Camille?
Pour rester en bonne santé, j'essaie de manger des fruits et des légumes, mais malheureusement je fume de temps en temps.
What does this person do that is unhealthy?
`]: [`Smoke`], [`Listen to the audio.
What does Théo do as a part-time job?
`]: [`Deliver newspapers`], [`Translate this French phrase to English:
Je m’énerve avec ma mère.
`]: [`I get angry with my mum`], [`Listen to the audio and translate.
Translate to English:
Je suis resté dans une auberge de jeunesse
`]: [`I stayed in a youth hostel`], [`Which of the following is the correct translation of:
you-all live (habiter)
`]: [`vouz habitez`], [`Translate this occupation into English:
Complete the sentence using the correct past participle of the verb in brackets.
Nous avons ____ notre mère. (attendre)
`]: [`attendu`], [`Bonjour, je m'appelle Zendaya. Je pense que mon professeur de commerce est plus amusant que mon professeur d'anglais.
What does Zendaya say about her teachers?
`]: [`Her Business teacher is funnier than her English teacher`], [`Je parle un peu de polonais. A mon avis apprendre un langue améliore ta confiance en soi.
What, in their opinion, does this student think learning languages will do?
`]: [`Increase your confidence`], [`Translate this occupation into English:
Which of the following shows the negative meaning of this sentence?
Thomas gagne cinq euros par heure.
`]: [`Thomas ne gagne que cinq euros par heure`], [`Listen to the audio.
At what time is the Art class?
`]: [`Quarter past ten`], [`Listen to the audio.
How does Michel describe playing the keyboard?
`]: [`>Boring`], [`Chamonix est une ville près de la montagne, c’est très touristique.
How is Chamonix described?
`]: [`A town near the mountains which is very touristy`], [`Translate the following phrase to French:
A good mum
`]: [`une bonne mère`], [`Je cherche un travail de serveuse car j'ai des compétences variées.
Which job does is this person looking for (answer in English)?
`]: [`>Waitress`], [`Listen to the audio.
What was the town like when Mathieu was younger?
`]: [`More noisy`], [`Je voudrais postuler pour le poste de réceptionniste parce que je voudrais travailler avec les gens.
Which job does this person want to apply for (answer in English)?
`]: [`>Receptionist`], [`Maintenant, il y a trop de sacs en plastique car il n'y a pas assez de centres de recyclage.
What is the environmental problem being described here?
`]: [`Plastic bags`], [`Bonjour, je m'appelle Antoine. Je ne supporte pas ma professeur de religion parce qu'elle nous donne beaucoup de devoirs.
Why does Antoine not like his Religion teacher?
`]: [`She gives lots of homework`], [`Listen to the audio.
Which of the following does Sébastien say are in his town?
`]: [`Shops`], [`Listen to the audio.
What colour of blazer does this student wear to school?
`]: [`Black`], [`Listen to the audio.
What does this student have to wear to school?
`]: [`Skirt`], [`Listen to the audio.
Identify all of the languages being studied.
Which social media app does this person use to chat and send messages?
`]: [`Twitter`], [`Listen to the audio.
What would this student like to have in their ideal school?
`]: [`A modern library`], [`How does Sebastian describe himself in the following sentence?
Bonsoir, je m'appelle Sebastian et je suis petit.
`]: [`Short`], [`Je cherche une travaille comme serveuse car j’ai des compétences variées.
Why is this person looking for a job as a waitress?
`]: [`They have various skills`], [`Listen to the audio.
On which day of the week is History?
`]: [`Thursday`], [`Translate to French:
Scotland
`]: [`>Écosse`], [`J'adore les documentaires et les émissions sportives, mais je déteste les feuilletons.
Which two TV genres does this person say they love?
Je m'appelle Zoé. Je n'ai pas de travail, mais j'aide à la maison je promène le chien.
How does Zoé help at home?
`]: [`Walks the dog`], [`Listen to the audio.
Which of the following does Thomas not say can be visited in his city?
`]: [`Cinema`], [`Je m'appelle Diane. Si j'ai assez d'argent, je voyagerai en Amérique du Sud.
What did Diane say?
`]: [`If she has enough money she will travel in South America`], [`Pour s’occuper de l’environnement on ne devrait pas:
What advice is being given to help look after the environment?
Who is Daniel?
Je m'appelle Hector. Mon beau-père s'appelle Joachim. Mon grand-père s'appelle Daniel.
`]: [`Hector's grandfather`], [`What colour of hair does this person have?
What is the correct form of the verb (in brackets) required to complete the sentence?
Je ne ______ pas aucune partie de ma vie. (changer)
`]: [`changerais`], [`J'ai toujours rêvé d'habiter en Allemagne et en Suède.
Identify all of the places that this person dreams of living.
`]: [`Germany and Sweden`], [`Listen to the audio.
At what time is the German class?
`]: [`Ten o'clock`], [`Pour moi, un bon père est quelqu'un en qui je peux avoir confiance.
What does this person think makes a good father?
`]: [`A dad who they can confide in`], [`Translate this occupation into English:
Listen to the audio.
What is Fatima's favourite subject?
`]: [`Languages`], [`What colour of hair does Lisa have?
Which of the following is the correct translation of:
Often I go on holiday to Germany with my friends
`]: [`Souvent, je vais en vacances en Allemagne avec mes amis`], [`Translate this French phrase to English:
Je me confie à ma sœur
`]: [`I trust my sister`], [`Translate to French:
Spain
`]: [`>Espagne`], [`Listen to the audio.
Which hobby is Michel describing?
`]: [`Singing in a choir`], [`Listen to the audio.
Which of the following does Sébastien say are not in his town?
`]: [`Post office`], [`How old is the person speaking?
Listen to the audio.
Why is Marcelle a fan of Snapchat?
`]: [`It's easy to use`], [`Translate to French:
Teacher
`]: [`>professeur`], [`Complete the sentence using the correct form of the verb 'ALLER' and the infinitive.
Mon jeune frère ______ ______ un château de sable sur la plage.
`]: [`va construire`], [`En ce moment il y a beaucoup de pollution car il y a trop d'usines.
What is the cause of the environmental problem being described here?
`]: [`Factories`], [`Listen to the audio.
Which festival interests Baptiste?
`]: [`Bastille Day`], [`Who plans to travel the world if they pass their exams?
Which of the following shows the negative meaning of this sentence?
Il y a deux chambres dans la maison.
`]: [`Il n’y a que deux chambres dans la maison`], [`Translate to French:
Doctor
`]: [`>médecin`], [`Choose the correct translation:
Vous croyez
`]: [`you-all believe`], [`Translate the following sentence into French. The verb phrase is in bold to help you.
We would love to swim in the sea.
`]: [`Nous aimerions nager dans la mer`], [`Complete the sentence using the correct form of the verb 'ALLER' and the infinitive.
Mes parents ______ ______ un jeu de mots croisés.
`]: [`vont faire`], [`Bonjour, je m’appelle Lisa. J'ai trouvé le film un peu long mais j'ai vraiment aimé les acteurs et l'histoire.
What does Lisa like about the movie?
`]: [`The actors and the story`], [`Translate the activity to English:
de la planche à voile
`]: [`wind surfing`], [`Je m'appelle Camille. Dans mon collège, nous devons porter des chaussures noires, mais je voudrais porter des bottes marron.
What would Camille like to wear to school?
`]: [`Brown boots`], [`Je m'appelle Mathilde. Dans l'entreprise où je travaille, mes collègues sont désagréables.
Who is Mathilde describing as unpleasant?
`]: [`Her colleagues`], [`Listen to the audio.
When did she meet her best friend?
`]: [`Three years ago`], [`Translate the following sentence into French. The verb phrase is in bold to help you.
The cat was black and white.
`]: [`Le chat était noir et blanc`], [`Listen to the audio.
What kind of TV shows does this person like to watch with their family?
`]: [`>Sport`], [`Listen to the audio.
Where did Marc go on holiday?
`]: [`England`], [`Translate the following sentence into French. The verb phrase is in bold to help you.
We wore uniforms to school.
`]: [`Nous portions des uniformes au collège`], [`J'adore les films de guerre et j'aime aussi les films d'action.
Which film genre does this person say they love?
`]: [`War`], [`Listen to the audio.
When does Alexandre wash cars?
`]: [`After school`], [`Selon moi, une mauvaise mère est quelqu'un qui ne me soutient pas.
What does this person think makes a bad mother?
`]: [`A mum who doesn't support them`], // DESIGN AND MANUFACTURE [`As part of the design team, the role of the manufacturer is to _________ the final product.
`]: [`>Manufacture`], [`To generate design ideas, drawing an unbroken line, often with rounded corners or edges is called pencil for a _____
`]: [`>walk`], [`What is a coping saw used for?
`]: [`To cut curved lines in wood`], [`When working with plastics, what is a round file used for?
`]: [`To finish and shape small rounded holes or edges`], [`Facts and statistics collected together for reference or analysis is known as _____
`]: [`>Data`], [`When preparing wood for a finish, what would you use to remove pencil marks and blemishes?
`]: [`Sand paper`], [`The name of the vice that is attached to a woodwork bench is called a ________ vice
`]: [`>bench`], [`When working on the centre lathe, what it a centre bit used for?
`]: [`For creating a small hole in the centre of the metal before using a twist drill bit`], [`Retailers often the first people in the design team to know . . .
`]: [`Whether a product is selling or not`], [`At which stage of the design process would isometric sketches be used?
`]: [`Exploring and refining ideas`], [`Which of the following it NOT a property of ABS?
`]: [`It rusts`], [`The Nike tick, McDonald's golden arches and the name Apple are all examples of product ________
`]: [`>branding`], [`Punching involves a steel punch being forced through a piece of sheet metal to create an identically sized _______ in the sheet.
`]: [`>hole`], [`Which metalwork tool is this?

Which of the following images shows an orthographic sketch?
`]: [`
Why might varnish be chosen as a suitable finish for wood?
`]: [`It protects the wood without changing its colour dramatically`], [`In the design team, the ________ sells the product to the consumer, in shops or online.
`]: [`>Retailer`], [`Which of the following is the correct definition of aesthetics?
`]: [`The look or appearance of the product`], [`What is the name of this woodwork tool?

At which stage of the design process would exploded and assembled sketches most commonly be used?
`]: [`Plan for manufacture`], [`Polishing is the ______ last step in finishing the edges of plastic.
`]: [`>last`], [`Sending out questions to a specific group of people, your target market, to find out more about them is called a ________
`]: [`>survey`], [`Why is a mortise and tenon joint commonly used when structural support is required?
`]: [`Because it is strong`], [`‘Resistant to wear, tough, hard, very strong, describes which metal?
`]: [`High speed steel`], [`What is the name of this tool?

What kind of task might a designer complete as part of the design team?
`]: [`Creating a range of possible designs for the product`], [`What information is normally contained in a design brief?
Which one of the following is a disadvantage of using injection moulding?
`]: [`The tools and equipment are expensive to buy`], [`Which of the following is NOT a way to join wood?
`]: [`Welding`], [`In woodwork, what is the purpose of a smoothing plane?
`]: [`To remove small shavings from wood to smooth the surface`], [`Epoxy resin is an example of a type of ______ that can be used to join plastic.
`]: [`>adhesive`], [`Which of the following is NOT a way to identify that a product has been rotationally moulded?
`]: [`Injection marks`], [`What does the process of blueing do to steel?
`]: [`It adds a protective blue coat of oil to the steel`], [`Which of the following images shows an oblique sketch?
`]: [`
For which of the following purposes can you use a g-clamp?
When is a lap / corner rebate joint used?
`]: [`When two pieces of wood meet at 90 degrees`], [`A written document which asks people a series of questions about the product after they have seen and/or used it is called a ____________
`]: [`>Questionnaire`], [`Brass has what kind of finish?
`]: [`Shiny`], [`‘How the product feels or looks like it would feel.’ describes which area of aesthetics?
`]: [`Texture`], [`‘How long the product is made to last under normal use,’ describes which aspect of performance?
`]: [`Life expectancy`], [`In woodwork, what is a mortise gauge used for?
`]: [`Marking two lines parallel to an edge`], [`What is a Forstner bit used for?
`]: [`To drill flat bottomed holes in wood & plastic`], [`Which centre lathe process is used to remove pieces from the metal being turned?
`]: [`Parting off`], [`At which stage of the design process would a scale drawing most commonly be used?
`]: [`Exploring ideas`], [`A die cuts an _______________ thread in metal
`]: [`>external`], [`Which tool is used to remove waste wood from a wood joint or edge?
`]: [`Bevel edge chisel`], [`Which of the following products are NOT made through one-off production?
`]: [`Flat pack furniture`], [`At which stage of the design process would oblique sketches be used?
`]: [`Exploring and refining ideas`], [`Which machine is used to cut thin wood and plastic in intricate shapes?
`]: [`Fret / scroll saw`], [`At which stage of the design process would sectional sketches most commonly be used?
`]: [`Plan for manufacture`], [`Copper is a good conductor of . . .
`]: [`Heat & electricity`], [`In product design, which of the following is an evaluation technique?
`]: [`Comparing the design to other products`], [`‘The name, term, design, symbol, or any other feature that makes one seller's product distinct from those of other sellers’.
Which area of market is being described in the above statement?
`]: [`Branding`], [`Which of the following are the benefits of using computer aided manufacture?
Parallel turning ___________ the diameter of the metal being turned.
`]: [`>reduces`], [`Aluminium is……..?
`]: [`Strong but light`], [`What is the correct definition of ‘technology push’?
`]: [`When new technologies are used to manufacture products and then ‘pushed’ onto the market`], [`Which joining method could be used to attach plastic to wood?
`]: [`Screws`], [`What is a disadvantage of using vacuum forming?
`]: [`The plastic can warp during the heating process`], [`In woodwork, what is a marking gauge used for?
`]: [`Marking lines parallel to an edge`], [`Which centre lathe process has been completed in the photo shown?

Scale drawings are used to better visualise ___________ and work out sizes for assembly.
`]: [`>Proportion`], [`One point perspective sketching is a type of 3D sketch where all lines connect to a _________ vanishing point
`]: [`>Single`], [`Which wood finish applies a colour to the wood but still allows the grain to be seen?
`]: [`Stain`], [`Identify the sectional sketch from the images shown
`]: [`
The types of saw that can be used to cut straight lines on metal are hacksaws and ________ hacksaws.
`]: [`>junior`], [`In product design, the ______ of a pencil would be able to write and draw.
`]: [`>Function`], [`The three key stages of brainstorming are; planning, _________ and summarising.
`]: [`>Conducting`], [`Which of the following images shows an example of the idea generation technique ‘pencil for a walk’?
`]: [`
Chipboard has a relatively __________ surface.
`]: [`>smooth`], [`Which of the following is NOT a product that is made through vacuum forming?
`]: [`Bottles`], [`In product design, comparing a new design to similar ______ and identifying differences and similarities is an evaluation technique.
`]: [`>Products`], [`Sketches which show the front view of a product with one side and top projected backwards at 45 degrees are called _______ sketches
`]: [`>oblique`], [`Which correctly defines the function of a product?
`]: [`What a product is designed to do`], [`How is a brainstorming session normally completed?
`]: [`As a group`], [`Which of the following are benefits of 3D printing?
Why might vacuum forming be used instead of other types of manufacturing processes?
`]: [`Products can be made relatively quickly`], [`What is the name of this tool?

A _________ sketch show the product as if it has been cut and a part removed.
`]: [`>sectional`], [`‘High heat, impact resistant and tough’ are properties that describe which thermoplastic?
`]: [`Polystyrene`], [`Which centre lathe process has been completed in the photo shown?

What is the name of the tool used to create chamfers on the edges of wood?
`]: [`Jack plane`], [`Exploded views help to communicate to the manufacturer . . .
A lap joint is a suitable joint to use at the corners of a wooden box. A _____ joint could also be used.
`]: [`>dowel`], [`Models that look exactly like the final design on the outside but have no working or moving parts are known as _____ block models.
`]: [`>Block models`], [`The strength required to push the 'boil' button would need to be considered when designing the kettle. Which area of ergonomics is being considered in this statement?
`]: [`>Physiology`], [`Which of the following is a disadvantage of using computer aided manufacture?
`]: [`If a part of the machine breaks down, all production stops`], [`A manual rendered illustration is a __________ drawing of the final product created by hand by the designer.
`]: [`>Realistic`], [`Designers and manufacturers can reduce their impact on the environment by using __________ materials
`]: [`>Recycled`], [`Which of the following is a property of spruce?
`]: [`Strong`], [`What is the name of the power tool shown in the photo?

Which of the following products CANNOT be 3D printed?
`]: [`Clothing`], [`Getting the people who will use or buy the product to try it out and share their thoughts is known as:
`]: [`A user trial`], [`In metalwork, what is a round file used for?
`]: [`To finish and shape small rounded holes or edges`], [`What is a hand vice used for?
`]: [`Holding material, particularly metal, securely when drilling`], [`Which of the following steps does NOT take place as part of morphological analysis?
`]: [`Sketch an idea to go in each row`], [`Which of the following would be considered when looking at a product’s performance?
The name of the machine used to heat plastic in a straight line is called a ______ heater
`]: [`>strip`], [`As part of the design team, the rose of the manufacturer is to _________ the final product.
`]: [`>Manufacture`], [`Where do retailers typically sell their products?
`]: [`Online and in stores`], [`Which of the following is a drawback of 3D printing?
`]: [`The process is quite slow`], [`The first step in hardening and tempering involves heating the high speed steel until it is ____ hot
`]: [`>red`], [`What is the name of this tool?

Which of the following is NOT a benefit of using standard components?
`]: [`They come in lots of colours`], [`What is the name of this tool?

Which of the following would NOT be used in metal plating?
`]: [`Acrylic`], [`Wax can protect wood against . . .
`]: [`Staining`], [`What type of wood is plywood?
`]: [`Manmade board`], [`Anthropometric _____ tables display information about the human dimensions of the target market.
`]: [`>Data`], [`What is a sectional sketch used for?
`]: [`To show interior details of a product`], [`Which of the following products could be made through die casting?
`]: [`Golf clubs`], [`Which of the following is an advantage of sand casting?
`]: [`Large parts can be created`], [`An isometric sketch is a 3D view of an object showing all three dimensions and all three _______ in one view.
`]: [`>Surfaces`], [`The term ________ is about how people interact physically with the products they use.
`]: [`>Ergonomics`], [`Due to the rise in use of manufacturing technologies, there has been a reduction in workforce, mainly in mass manufacturing industry, resulting in people losing _____
`]: [`>Jobs`], [`What are standard components?
`]: [`Individual parts or components made in very large quantities`], [`What kind of advice can the manufacturer bring to the design team?
`]: [`Whether the product can be manufactured`], [`When evaluating product design, questionnaires are often used along with which other evaluation technique?
`]: [`User trials`], [`Google, Bing and Yahoo are examples of ______ ________
`]: [`>Search engines`], [`A models constructed from cheap, readily available materials to allow designers to create their initial ideas in 3D is called a ______ model.
`]: [`>sketch`], [`In metalwork, what are tinsnips used to cut or trim?
`]: [`Thin sheet metal`], [`Which one of these products is NOT made through injection moulding?
`]: [`Traffic cones`], [`Which of the following is created through the process of annealing?
`]: [`Metal wire`], [`‘Creating multiple choice options, direct questions and/or extended questions then asking a number of people to complete them.’
Which research technique is being described in the statement above?
`]: [`Surveys`], [`Why would a designer use an orthographic drawing during the design process?
`]: [`To communicate with the manufacturer and show dimensions of each part of the product`], [`In product design, a ________________ highlights the necessary information that has to be included in the design.
`]: [`>Specification`], [`‘Round pegs of wood are attached in holes in one piece of wood and glued into corresponding holes in another.’ This describes which wood joint?
`]: [`Dowel Joint`], [`How can a specification be used to evaluate a finished product?
`]: [`By determining whether the final design meets the points defined in the specification`], [`Why might a manufacturer choose not to use a laser cutting process?
`]: [`It can have a high energy consumption`], [`At which stages of the design process are annotated sketches used?
`]: [`Initial and exploring ideas`], [`When annealing, the metal is heated then cooled _______ to make it softer and easier to work with.
`]: [`>slowly`], [`What are knock down fittings?
`]: [`Mechanical joints that can be used temporarily or permanently`], [`What is a prototype?
`]: [`A model which is as close to the final product as possible`], [`The emergence of design technologies has had an impact on . . .
Non-ferrous metals do not ______
`]: [`>rust`], [`In metalwork, what are dies used to cut?
`]: [`External threads`], [`The views included in an orthographic drawing are an elevation, end elevation and ______
`]: [`>Plan`], [`Which of the following are ways that designers can reduce the environmental impact of their products?
Which is an example of the type of task that a manufacturer might undertake as part of the Design team?
`]: [`Informing the designer which manufacturing processes would be suitable for their product`], [`Marketing teams use information from market ___________ to find out how to appeal to their target market best
`]: [`>research`], [`The performance of a product is about how ____ it does what it is designed to do
`]: [`>well`], [`Which of the following definitions describes a user trial?
`]: [`Getting the people who will use or buy the product to try it out and share their thoughts`], [`In metalwork, what are taps used to cut?
`]: [`Internal threads`], [`How are knock down fittings used to assemble products?
`]: [`With simple tools such as hammers and screwdrivers`], [`Which of the following is NOT a step that would be taken when setting up the centre lathe?
`]: [`Make sure that the wood is secure between the centres`], [`Which description accurately explains the centre lathe process of facing off?
`]: [`Levelling the end of the piece of metal`], [`Red pine is a type of ______ wood
`]: [`>soft`], [`Which of the following are ways that manufacturers can reduce the environmental impact of their products?
A drawback of manufacturing technologies is . . .
`]: [`The equipment can be very expensive to buy and set up`], [`CAD models be used . . .
In the Design team, the __________ is the potential buyer of the new product.
`]: [`>Consumer`], [`Why might paint be chosen as an appropriate finish for wood?
`]: [`It comes in lots of colours`], [`Which of the following is a property of MDF?
`]: [`Easily machined`], [`Nails are often used to strengthen weak ________
`]: [`>joints`], [`Thermoplastics can be reheated and __________
`]: [`>reshaped`], [`Identify the two point perspective sketch from the images shown
`]: [`
Which of the following products can be made through sand casting?
Thin _____ plastic is used during the vacuum forming process.
`]: [`>sheet`], [`Which of the following is NOT a way to join metal?
`]: [`Knock down fittings`], [`In product design, which of the following activities would be carried out through measuring and recording?
When considering shape in the design of a product, which areas of the product should be looked at?
`]: [`The overall shape and different parts or features`], [`The term ________ is where parts of the design (colours, pattern, textures) are opposites or stand out from one another.
`]: [`>Contrast`], [`Which piece of equipment is used to hold large parts of material securely while gluing?
`]: [`Sash cramp`], [`A 3D view of an object showing all three dimensions and all three sides in one view is called an _______ sketch..
`]: [`>Isometric sketch`], [`A model made to be as close as possible to the final design, using the manufacturing methods that would be used for the final product is known as a _________
`]: [`>Prototype`], [`Which of the following statements describes how asking questions can be used to complete research?
`]: [`Asking people’s opinions and views about the product to be designed`], [`Which of the following is NOT a step taken to prepare metal for a finish?
`]: [`Sand down the edges with sand paper`], [`What does the designer provide to the design team?
`]: [`The inspiration and creative input`], [`How can you identify if a product has been die cast?
`]: [`Ejector marks`], [`How should plastic edges be filed?
`]: [`Cross filed then draw filed`], [`Which of the following statements does NOT apply to a design specification?
`]: [`list of materials with sizes that are needed to manufacture a product`], [`Which is the correct definition of One-Off production?
`]: [`The method used to produce single items to a customer’s specification`], [`When a steel punch is forced through a piece of sheet metal to create an identically sized hole in the sheet, this process is called ________
`]: [`>punching`], [`What is the name of this drill bit?

Oblique sketches show the _______ view of a product with one side and top projected backwards at 45 degrees.
`]: [`>Front`], [`Which of the following statements describes morphological analysis?
to help create unusual shapes to inspire a design
`]: [`Structured way of generating new ideas with columns filled with possible options for the design`], [`What is a CAD render?
`]: [`computer generated model, digitally rendered to look as realistic as possible`], [`What is the name of this tool?

The three key stages of brainstorming are planning, conducting and ____________
`]: [`>Summarising`], [`Ease of use is about how ______ it is to use the product
`]: [`>easy`], [`When working with plastics, what is a square file used for?
`]: [`To finish and shape small square holes or edges`], [`Outside callipers are used to measure the ___________ diameter of a work piece.
`]: [`>outside`], [`The term _______ is where parts of the design (colours, pattern, textures) match or fit in with one another.
`]: [`>Harmony`], [`The process of melting metal at the joint of two other pieces of metal is called _________
`]: [`>welding`], [`‘Heats plastic to make it pliable and suitable to shape around a former.’ Which piece of machinery is being described here?
`]: [`Oven`], [`Ro generate design ideas, drawing an unbroken line, often with rounded corners or edges is called pencil for a _____
`]: [`>walk`], [`What are sketch models used for?
When making a scale model, the model is created on a smaller, or sometimes larger, scale but all _________________ are kept the same
`]: [`>Proportions`], [`User ______ reflect the whole process of using a product from start to finish.
`]: [`>trips`], [`Which tool is used for measuring dimensions on wood?
`]: [`Steel rule`], [`Which metal is most commonly used during hardening and tempering?
`]: [`High speed steel`], [`Products made through rotational moulding are always ______ inside.
`]: [`>hollow`], [`Why is it important to consider colour choice when designing a product?
`]: [`Colours can evoke certain feelings and associations`], [`How can you raise the grain on solid wood before applying a finish?
`]: [`By adding a light wash of water`], [`In product design, the team will review the ________ to determine whether the final design meets the planned features.
`]: [`>Specification`], [`Which of the following adhesives is NOT suitable for use on plastic?
`]: [`PVA glue`], [`Which of the following is the correct definition of physiology?
`]: [`How the body functions and its capabilities`], [`What is the name of the machine shown in the photo?

How do products sold as flat pack help reduce environmental impact?
`]: [`More can be transported from the factory at one time, reducing emissions from transport vehicles`], [`Anthropometrics is…..
`]: [`The physical dimensions of different parts of the human body`], [`‘Demand for the product from consumers,’ describes which aspect of market?
`]: [`Market pull`], [`The advancement of touch screen technology is an example of technology ________
`]: [`>Technology push`], [`When is a cross halving joint is used?
`]: [`When two pieces of wood cross at right angles`], [`What is a disadvantage of rotational moulding?
`]: [`It can be quite a slow process`], [`What is the purpose of using the process punching?
`]: [`To create holes to accommodate screws, bolts and other fixings`], [`Which tool is used to cut straight lines in sheet metal?
`]: [`Guillotine`], [`Thermosetting plastics CANNOT be . . .
`]: [`Reheated and reshaped`], [`Which of the following is an advantage of using rotational moulding?
`]: [`It provides a uniform wall thickness but with thicker corners`], [`Exploded views show the _________ parts of an object that make up its assembly. spaced out so each part can be seen clearly and in line with the connecting part.
`]: [`>Separate`], [`Which of the following are properties of melamine formaldehyde?
`]: [`It resists some chemicals and stains`], [`Which of the following are features of manufacturing technologies?
Which of the following products are NOT made through mass production?
`]: [`Cakes`], [`An _________ view show all the different parts of the product fitted together.
`]: [`>Assembled`], [`A thin layer of solid wood applied to a man made board to improve the appearance is called a ___________
`]: [`>veneer`], [`What is the name of this tool?

What is the claw part of a claw hammer used for?
`]: [`Removing nails from wood`], [`Why are annotated sketches used during the design process?
`]: [`To get ideas down quickly with as much information needed to clarify the sketch`], [`A ______ saw could be used to cut intricate details in plastic.
`]: [`>coping`], [`What kind of task would marketing teams be likely to undertake?
`]: [`Designing advertisements for the product`], [`A tap cuts an _______________ thread in metal.
`]: [`>internal`], [`Mould _______ lines are one way to identify that a product has been injection moulded.
`]: [`>split`], [`What is often needs to be applied to metal before paint?
`]: [`Primer`], [`Which of the following points would NOT be considered when looking at a product’s safety?
`]: [`Whether the packaging for the product is recyclable`], [`Which tool should be used to cut plastic?
`]: [`Coping saw`], [`When would a designer use a scale model during the design process?
`]: [`When building a full size model is impractical`], [`The scraper tool is easy to use but does not give a good ______
`]: [`>finish`], [`The increased demand for more readily available gluten free products is an example of market ______
`]: [`>Market pull`], [`What member of the Design team gives feedback about the needs and wants relating to a product?
`]: [`The consumer`], [`Mild steel is easy to …..?
`]: [`Weld`], [`Which of the following is an example of using data during product design?
`]: [`Using anthropometric information`], [`What is an abrafile used for?
`]: [`Cutting curved lines in plastic`], [`One point _________ sketching is a type of 3D sketch where all lines connect to a single vanishing point
`]: [`>perspective`], [`After a product has been sand cast, it will have a ______ surface texture.
`]: [`>rough`], [`In a design team, the designer is the person who ________ and develops the product.
`]: [`>Designs`], [`A ________ amount of products need to be manufactured to make die casting an affordable process.
`]: [`>large`], [`What is a half round file used for in metalwork?
`]: [`To finish and shape rounded edges`], [`Block models look exactly like the final design on the outside but have no _________ or moving parts
`]: [`>Working`], [`What can block models be used for?
A centre ______ is used to mark centres for drilling on metal.
`]: [`>punch`], [`Which of the following is NOT a suitable joining method for plastic?
`]: [`Mortise and tenon joint`], [`Red pine is a suitable softwood to be used for a shelving unit. Name another suitable softwood that could be used.
`]: [`>spruce`], [`Getting people who will use or buy the product to try it out and share their thoughts is known as a _____ _____
`]: [`>User trial`], [`For which of the following reasons are scale drawings used?
Two point perspective sketching has 2 ________ points and lets you sketch objects at any angle.
`]: [`>vanishing`], [`In produce design, ________ sketches are quick sketches with notes added for further explanation.
`]: [`>annotated`], [`Which of the following is NOT a benefit of laser cutting?
`]: [`It is very quick to complete`], [`What can oblique views help the designer to do?
`]: [`Visualise their idea more clearly`], [`Urea Formaldehyde is which type of plastic?
`]: [`Thermosetting`], [`Which type of questions are often used in questionnaires?
`]: [`Multiple choice`], [`What does a scale model allow the designer to do?
When working with plastics, what is a half round file used for?
`]: [`To finish and shape rounded edges`], [`Why are prototypes created?
What does a self-tapping screw do when screwed into metal?
`]: [`It cuts its own thread`], [`What is the gouge tool used for when using the woodwork lathe?
`]: [`General turning and heavy removal of waste wood`], [`On a woodwork lathe, which of the following is NOT a step that would be taken when preparing a blank for turning?
`]: [`Saw the corners off each end of the blank`], [`In product design, the term to describe the people who will be buying or using the product and the promotion and selling of products is ________
`]: [`>Market`], [`Ferrous metals rust. True of False?
`]: [`True`], [`Measuring and ________ is one of the techniques used when researching product design.
`]: [`>Recording`], [`_______ is applied to wood with a brush and leaves a clear finish where the grain is still visible.
`]: [`>varnish`], [`Why would a countersink drill bit be used?
`]: [`To fit the head of countersink screws in or when riveting`], [`What are knock down fittings most commonly used to assemble?
`]: [`Flat pack furniture`], [`Which of the following images shows an isometric sketch?
`]: [`
What is a cross pein hammer used for?
`]: [`Hitting pins into wood`], [`Durability is . . .
`]: [`The ability of the product to withstand wear and tear`], [`Hardboard is not _________ resistant.
`]: [`>water`], [`In product design, what kind of problems can models be used to solve?
`]: [`ergonomic, functional and aesthetic problems`], [`Which of the following is NOT a step that would be taken when creating a pencil for a walk?
`]: [`Use a ruler to create some straight edges`], [`What is the name of this vice?

What is a machine vice used for?
`]: [`Holding material securely when drilling`], [`Which of the following it NOT an advantage of die casting?
`]: [`Very large parts can be manufactured`], [`What is stainless steel resistant to?
`]: [`Rust`], [`At which stage of the design process would a manual rendered illustration most commonly be used?
`]: [`When presenting ideas to clients or customers`], [`Which of the following is NOT an advantage of using injection moulding?
Which of the following products would NOT be made through hardening & tempering?
`]: [`Nails`], [`Which of the following properties describes ash wood?
`]: [`Tough`], [`When are scale drawings used?
`]: [`When it is physically impossible to create a drawing to full size`], [`Which of the following is NOT an example of a standard component?
`]: [`Paint`], [`In product design, how can search engines be used for research?
`]: [`To gather relevant information about the product being designed`], [`What kind of wood is red pine?
`]: [`Softwood`], [`The smallest hand grip size would need to be considered when deciding the diameter of the handle. Which aspect of ergonomics is being considered in this statement?
`]: [`>Anthropometrics`], [`What is a flat file used for in metalwork?
`]: [`To finish and shape straight edges`], [`Why might sand casting not be a suitable process to use?
`]: [`The sand leaves a bad surface finish`], [`In metalwork, what is a square file used for?
`]: [`To finish and shape small square holes or edges`], [`Which of the following is a property of beech wood?
`]: [`It finishes well`], [`At which stage of the design process would a CAD render most commonly be used?
`]: [`When presenting ideas to clients or customers`], [`What is a scriber used for in metalwork?
`]: [`To mark lines on metal`], [`What are isometric sketches most often used for during the design process?
`]: [`To present ideas to customers and clients`], [`Which of the following products can be made through laser cutting?
`]: [`Etched drinking glasses`], [`In metalwork, what are odd leg callipers used for?
`]: [`To mark lines parallel to an edge`], [`A design ________ is the starting point for a design.
`]: [`>Brief`], [`A drawback of using standard components is that they may not be _______ on time from the supplier.
`]: [`>delivered`], [`Acrylic products are easily __________
`]: [`>cleaned`], [`What are the three stages involved in completing a user trip?
Which of the following is a safety check that must be performed on the woodwork lathe before turning it on?
`]: [`Ensure that the wooden blank is secure between the two centres`], [`What is a mortise machine used for?
`]: [`To cut mortise joints in wood`], [`Dip coating is a process where metal is covered in a _______ coating.
`]: [`>plastic`], [`3D printing involves printing successive _______ of material.
`]: [`>layers`], [`When working with plastics, what is a flat file used for?
`]: [`To finish and shape straight edges`], [`Which wood joint is shown in the photo?

Which of the following is NOT a benefit of using CAD models during the design process?
`]: [`They allow the designer to test ergonomics`], [`Which of the following is a property of Cast Iron?
`]: [`Strong`], [`In metalwork, what is the purpose of dividers?
`]: [`To mark circular shapes on metal`], [`Which of the following is NOT a reason why graphics is used during the design process?
`]: [`To test materials and manufacturing techniques`], [`What is the name of this tool?

What are some of the benefits of using brainstorming?
What do assembled views help to communicate to the manufacturer?
`]: [`What the finished product will look like`], [`What is computer aided manufacture?
`]: [`Computer-controlled machines, which create an exact replica of the digitally designed product`], [`Which of the following is NOT a reason why point perspective sketches may be used during the design process?
`]: [`To communicate with the manufacturer`], [`Using knock down fittings can save a customer ______ when they are building their furniture.
`]: [`>time`], [`At which stage of the design process would point perspective sketches be used?
`]: [`Refining ideas and presenting ideas to clients`], [`Which of the following is NOT an example of a user trial?
`]: [`Asking people from the target market to comment on an existing product and what they would change about it`], [`Identify the one point perspective sketch from the images shown
`]: [`
Two point perspective sketching has ____ vanishing points and lets you sketch objects at any angle.
`]: [`>Two`], [`The three key stages of brainstorming are; __________, conducting and summarising
`]: [`>Planning`], [`What is Mass production?
`]: [`When identical products are manufactured in large quantities`], [`‘How our mind and senses work and react,’ describes which aspect of ergonomics?
`]: [`Psychology`], [`Having the light be green when the product is on and red when it is off would help the user know if the product is on or off. Which area of ergonomics is being considered in this statement?
`]: [`>Psychology`], [`What is the name of this tool?

Which role do marketing teams play as part of the design team?
`]: [`Developing advertising and promotion strategies for the product`], [`What is the purpose of a band saw?
`]: [`To cut large pieces of material quickly and accurately`], [`Which of the following properties does polypropylene have?
Which equipment is used to help bend metal at 90 degrees?
`]: [`Bending bars`], [`A computer generated model, digitally rendered to look as realistic as possible is called a ____ render.
`]: [`>CAD`], [`Which centre lathe process reduces the diameter of the metal being turned?
`]: [`Parallel turning`], [`How might consumers assist other members of the design team?
`]: [`By giving feedback about their needs and wants`], [`For which of the following reasons are models used during the design process?
What are the belt and disc sanders used for?
`]: [`To smooth edges of wood and trim small parts from edges`], [`Which wood joint is shown in the photo?

Oak is a type of ____ wood
`]: [`>hard`], // COMPUTING [`During evaluation, a database is said to be fit for purpose if:`]: [`it meets the end-user and functional requirements`], [`Database output is accurate if...
`]: [`the actual results match the expected results`], [`A database is fit for purpose if it...
State the type of loop shown in the design below.

The program below uses the running total in a loop algorithm to add together 5 numbers entered by the user.

Which of the following statements has been removed from line 2?
`]: [`
The number 0.00035981 is stored using floating point representation as 0.35981 x 10-3
Identify the exponent
`]: [`>-3`], [`An extract from the design of a program is shown below.

Lines 4 and 5 use a technique known as C____________. What is the missing term?
`]: [`>Concatenation`], [`A computer stores a word using extended ASCII codes to represent each character. The word is stored as 112 114 111 99 101 115 115 111 114.
What is the word?
`]: [`>processor`], [`Wagtail Dog Walking Services are designing a new website. The site should have a link from the home page to a Prices page listing the different services available. Customers should be able to send a message to Wagtail by clicking a button on the Prices page. The home page will show photographs of customer dogs being walked and customers will have the option to purchase photos by adding them to a virtual basket. In order to purchase photographs, users must be logged in to the site, and there should be a sign up / login button at the top of every page.
Which of the following are end user requirements for this website?
Which of the following is a primary key?
`]: [`

Which of the following is an advantage of external CSS over internal CSS?
`]: [`Can style multiple web pages`], [`An extract from the design of a program is shown below.

Which lines of the program use an assignment statement?
`]: [`41 and 42`], [`What would be the expected output of the program shown below if the user entered "platinum" for loyalty card and 20 for bill?

The 6 stages of the software development process are shown below. Identify the missing stage.
Which of the following best describes the Evaluation stage of the software development process?
`]: [`Review the program to check that it is fit for purpose`], [`
The program above contains an example of which type of error?
`]: [`Syntax`], [`Sandeep writes the following CSS rule to set the font of all paragraph elements to Helvetica size 12.

Identify the CSS code that has been removed.
`]: [`>font-family`], [`The part of the computer system which carries data between the processor and memory, and addresses from the processor to memory, are called:
`]: [`Buses`], [`Which of the following CSS rules will align all h1 elements to the right?
`]: [`
What is meant by referential integrity?
`]: [`all of the foreign keys in a table must link to a primary key in a related table`], [`
The design for a CAR database table is shown above.
An SQL query is required to update the colour of all Ford Mondeo cars to blue. Which of the following shows the correct SQL query?
`]: [`
Duncastle Medical Practice are designing a database for their business. Which of the following are entities that might be a part of the database design?
Soundz Music are designing a website to sell music downloads for upcoming artists. Users visiting the website can hear 30 second samples of each song, and can leave artist reviews.
Which of the following might be an end-user requirement for this website?
`]: [`Add song to basket`], [`Golden Sun Holidays are designing a database for their business. Which of the following are attributes that might be a part of the database design?
A simple quiz game asks the user a question with an answer which can be either true or false. The user enters whether they think the correct answer is true or false using the keyboard.
Give one example of normal test data that could be used when testing the program.
`]: [`>true`], [`An array is used to store the names of 5 students:

State the output of the following code:

What is the CSS property used to set the text colour?
`]: [`color`], [`
Which of the following HTML statements will embed this file on a web page?
`]: [`
Duncastle United Football Club are designing a new database to record details of season ticket holders. Office staff should be able to add supporters to, and delete supporters from the system, and update their details as required. It should be possible to search for a season ticket holder by surname, output all season ticket holders sorted by seat number, and show the details of all season ticket holders with tickets in a specific section of the stadium.
Which of the following are end-user requirements for this database?
The program below uses input validation to ensure response is either 'P' or 'Q'.

Which of the following statements has been removed from line 13?
`]: [`

The sample information provided for the SCHOOL entity above should be used to produce a data dictionary.
What information should be added at X?

An extract from a program is shown below.

Name the part of the computer system used to transfer high_score from main memory to the processor
`]: [`>Data bus`], [`State one logical operator used in the following program code.

Which of the following statements is true?
Efficient code:
`]: [`uses if statements that exit when the condition has been met`, `uses arrays instead of multiple variables`], [`The program below uses input validation.

Which of the following represent the program outputs when the program is run on 4 separate occasions with the inputs:
ABC, 123, ABC123 and XYZ ?


Which of the following is an attribute that would be stored for the vector graphic shown above?
`]: [`Fill colour`], [`
Which of the following is a CSS selector used in the code above?
`]: [`h1`], [`
Which type of validation has been applied to the Fuel field in this example?
`]: [`Restricted choice check`], [`An extract from the design of a program is shown below.

State the data type of the variable mailing_answer.
`]: [`Character`], [`
What would be the expected output if the following SQL query was run on the DOG table shown above?



Which type of hyperlink is Services?
`]: [`Internal`], [`
The design for a CAR database table is shown above.
An SQL query is required to delete all silver and grey cars from the table. Which of the following shows the correct SQL query?
`]: [`
Cora writes the following CSS class:

Which of the following correctly applies Cora's CSS class to an HTML div element?
`]: [`
How many bits are required to store the word 'cat' using extended ASCII codes?
`]: [`24`], [`The wireframe for a computer program is shown below.

Which part of the user-interface design is labelled with an 'X'?
`]: [`User input`], [`Which graphic file format can have over 16 million colours and a transparent background?`]: [`PNG`], [`Alice embeds an audio file on her web page using the following HTML code:

State the type of addressing that Alice has used.
`]: [`>Relative`], [`An extract from the design of a program is shown below.

Identify a string variable that has been used in the design.
`]: [`user_name`], [`Nikolai adds a hyperlink to her web page using the following HTML code:

State the type of addressing that Nikolai has used.
`]: [`>absolute`], [`
What will be displayed on a web page using this HTML code?
`]: [`
Name one entity shown in this entity relationship diagram

Which of the following is true.
The lower the resolution of an image is, it will have:
`]: [`worse image quality, smaller file size`], [`DVLA use a database to store information about drivers and their cars.
The database consists of the following two tables.

An SQL query has been written to display the registration, make, model and colour of all red Ford cars. Complete the missing SQL:
SELECT registration, make, model, colour
FROM Car
WHERE make = "Ford"
--- ------ = "Red";
Thomas writes the following CSS rule to set the background colour of all p elements to sky blue.

Identify the CSS code that has been removed.
`]: [`>background-color`], [`How many bits are required to store the word 'hello' using extended ASCII codes?
`]: [`40`], [`Which of the following is NOT a non-printable ASCII character?
`]: [`@`], [`An extract from the design of a program is shown below.

State the output when the variables hold the following values:

Which type of validation is shown in this example?
`]: [`Field length check`], [`Catwalk Clothing Store are designing a new website. The Home page should show show a link to the Shop page along the top. An image of a t-shirt alongside an image of a pair of trainers should be shown underneath the link followed by the company name in a large font. Information about the company should appear below comany name, and a photograph of the Clothing Retailer of the Year award which the company won recently should appear at the bottom of the page.
Which of the following would be a suitable wireframe for the Catwalk Clothing home page?
`]: [`
An extract from the design of a program is shown below.

State the data type of the variable response.
`]: [`Character`], [`Grant runs an online shop selling T-shirts. He is designing a database to store information about each order. When creating an order record, he wants the 'quantity' field to limited to a number between 1 and 10.
What type of validation should Grant apply to the 'quantity' field?
`]: [`>Range validation`], [`
The sample information provided for the OWNER entity above should be used to produce a data dictionary.
What information should be added at X and Y?

X: PK
Y: Yes
`], [`Which of the following describes how a bitmapped graphic is stored?
`]: [`array of pixels`], [`Wagtail Dog Walking are designing a database for their business. Which of the following are entities that might be a part of the database design?

Which part of a processor has an interrupt line?
`]: [`Control Unit`], [`Billy has written HTML to play an mp3 audio file of a lightning sound effect on his web page. The following code was used to embed the audio on the page.

Identify the HTML tag that has been removed.
`]: [`>audio`], [`Which of the following statements is true:
A primary key?
`]: [`uniquely identifies a record in a database`], [`Artur writes the following CSS rule to set the font of all <h1> elements to Calibri size 24.

Identify the CSS code that has been removed.
`]: [`>font-size`], [`Holly works in a doctors' surgery. She is designing a database to store information about patients. She wants the 'title' field to limit data input to: Mr, Mrs, Ms, Miss, Dr or Professor.
What type of validation should she apply to the 'title' field?
`]: [`>Restricted choice check`], [`
What is the name of the program which converts Python code into binary so that the program can be run by a computer?
`]: [`Translator`], [`A program asks the user to enter the salary for each of 20 employees in a company and then displays the total salary bill for the company.
What is the name of the standard algorithm which is used to carry out this process?
`]: [`>Running total`], [`
Which of the following statements is true in relation to the program output above?
`]: [`The program is not robust`], [`Which of the following is a foreign key?
`]: [`

Duncastle United Football Club are designing a new website so that supporters can find out information about the team. Supporters should be able to search for player by squad number and send a player a message when viewing their page. The website should have a competition page which lets supporters submit their prediction for the result of the next Duncastle United match.
Which of the following are end user requirements for this website?


What would be the expected output if the following SQL query was run on the DOG table shown above?



Which of the following would be suitable as Exceptional test data for the program shown above?
A program loops through an array of 25 cities displaying each one.
What is the name of the standard algorithm which is used to carry out this process?
`]: [`>Traversing an array`], [`Which CSS rule has been applied to the paragraph on the web page shown below?

Which of the following CSS rules will align all <p> elements to the centre?
`]: [`
State the output after this program has been run with the user input 1.


The design for a STUDENT database table is shown above.
An SQL query is required to update the class of all the students who scored more than 80 in the test to 5X1. Which of the following shows the correct SQL query?
`]: [`
Which part of a computer system carries data from memory to be used by the processor?
`]: [`Data bus`], [`Name the standard algorithm that has been used in the following program.


Which of the following could be used as Extreme test data for the program shown above?
`]: [`abc123`], [`Holly works in a doctors' surgery. She is designing a database to store information about patients. She wants to limit the data entered in the 'next of kin' field to 30 characters.
What type of validation should she apply to the 'next of kin' field?
`]: [`>Field length validation`], [`When drawing a flow chart, which shape is used to show variable initialisation?`]: [`
The 6 stages of the software development process are shown below. Identify the missing stage.
What would be the expected output of the program shown below if the user entered "gold" for loyalty card and 28 for bill?

Wagtail Dog Walking Services have designed a website with the following pages:
Additional information:
Which of the following correctly shows the navigational structure of the website?
`]: [`
Name the HTML tag used to define a paragraph
`]: [`>p`], [`Name one primary key shown in this entity relationship diagram


The sample information provided for the SCHOOL entity above should be used to produce a data dictionary.
What information should be added at X?

Identify the predefined function shown in this structure diagram.


What would be the expected output if the following SQL query was run on the STUDENT and SCHOOLS tables shown above?


An extract from the design of a program is shown below.

Identify a 1-D array of type integer that has been used in the design.
`]: [`photo_likes`], [`Suzanne is developing a database for a supermarket. Which of the following is an entity that might be a part of her database design?`]: [`product`], [`Name the HTML tag used to display music or a sound on a web page
`]: [`>audio`], [`Name one primary key shown in this entity relationship diagram

Cerys is designing a database for a popular mobile phone company to store information about different mobile phones. Each phone has a unique model code which Cerys will use as a primary key.
Which of the following is the correct way to show the primary key in her design?
`]: [`

What would be the expected output if the following SQL query was run on the SCHOOLS table shown above?


What would be the expected output of the program shown below if the user entered "platinum" for loyalty card and 50 for bill?


The sample information provided for the DOG entity above should be used to produce a data dictionary.
What information should be added at X and Y?

X: PK
Y: FK
`], [`
Suggest a suitable primary key for the STUDENT table.
`]: [`Candidate Number`], [`A program design is shown in the flow chart below.

The program is run, and the user enters their name as 'Joe'. What will the program output be?
`]: [`JoeThe pseudocode design for a program is shown below.

State the value held in the variable lives at the end of the program if the user input was:

The design for a CAR database table is shown above.
An SQL query is required to insert a record for a Ford Mondeo with registration LC60 GTR. Which of the following shows the correct SQL query?
`]: [`
What would be the expected output of the program shown below if the user entered "Portugal" for country and "autumn" for season?


How could the program code above be written in a more efficient way?
`]: [`Use an if statement that exits when the condition is met`], [`An extract from the design of a program is shown below.

State the data type of the variable guess.
`]: [`Integer`], [`Where, in an HTML document, should <audio> and <video> tags be placed?
`]: [`In the <body> tag`], [`Which type of CSS has been used below?


Eva writes the following CSS rule to set the text colour of all h4 elements to dark green.

Identify the CSS code that has been removed.
`]: [`>h4`], [`Which of the following best describes the Testing stage of the software development process?
`]: [`Check that the program works as expected and has no errors`], [`Name the security system that protects a network against unauthorised access.
`]: [`Firewall`], [`An extract of the record cards used by Catwalk Clothing Stores is shown below.

What does X represent in the following Entity Relationship Diagram?

CSS is used to style HTML as shown below.

Which of the following shows the resulting web page?
`]: [`
The pseudocode design for a program is shown below.

Identify the line number containing a conditional statement.
`]: [`>7`], [`Which CSS rule has been applied to the h1 heading on the web page shown below?

An extract from the design of a program is shown below.

State the data type of the variable average.
`]: [`Real`], [`Name the HTML tag used to display an unordered list on a web page
`]: [`>ul`], [`A computer program asks the user to enter the month of the year numerically where 1 = January, 2 = February, 3 = March etc.
Which of the following would be suitable as exceptional test data?
`]: [`14`], [`Wagtail Dog Walking are designing a database for their business. Which of the following are attributes that might be a part of the database design?
The number 0.045 is stored using floating point representation.
Identify the mantissa and exponent.
`]: [`Mantissa: 45Which of the following best describes an interpreter?
`]: [`translates source code into machine code one line at a time`], [`State the name of this shape when stored as a vector graphics object

Which of the following should be included on a wireframe for a website design?
`]: [`file formats of the media`], [`A program should display a message to say whether or not a 12A film is suitable for a child to view. The film is suitable if:
A structure diagram has been produced to solve this problem, but two elements have been removed as shown at (1) and (2).

What are the values of 1 and 2?
`]: [`1 = YesAn extract from the design of a program is shown below.

State the output when the variable colour stores the value 'blue'.
`]: [`>Primary`], [`
What would be the expected output if the following SQL query was run on the DOG table shown above?


Harry has uses an external CSS file "my-style.css" to style the HTML on a web page. Harry has written the following HTML to link the external CSS file to his web page:

Identify the HTML tag that has been removed.
`]: [`>link`], [`Suzanne is developing a database for a supermarket. Which of the following might be an attribute of the PRODUCT entity?`]: [`price`], [`
Which of the following HTML statements will embed this file on a web page?
`]: [`
Name the most suitable attribute type for the field Mileage in the CAR table.


What would be the expected output if the following SQL query was run on the DOG table shown above?


An extract from the design of a program is shown below.

State the output when the variables hold the following values:

Which of the following HTML statements will embed this audio file on a web page?
`]: [`
What would be the expected output of the following pseudocode program if the user inputs are: subtract, 5, 2?


Which type of error will occur when the program above is run?
`]: [`Logic`], [`A program is needed to calculate the average and highest rainfall over 3 months. A possible interface for the program is shown below:

Which of the following is a process which will be carried out by the program?
`]: [`Calculate highest rainfall`], [`Holly works in a doctors' surgery. She is designing a database to store information about patients. She wants to ensure that the patient's contact telephone number is always entered when creating their database record.
What type of validation should she apply to the 'contact telephone number' field?
`]: [`>Presence check`], [`Which of the following is the HTML tag used to format a paragraph?
`]: [`<p>`], [`The website below was tested.

Why did it fail?
`]: [`Not all text and graphics display correctly`], [`
Which part of this diagram of a computer system is shown coloured green?
`]: [`Memory`], [`State the value of result after this program has been run.

Which CSS rule has been applied to the h1 heading on the web page shown below?

An extract from the design of a program is shown below.

What will the output from the program be when it reaches line 16?
`]: [`20Name the HTML tag used to display an ordered list on a web page
`]: [`>ol`], [`
The sample information provided for the SCHOOL entity above should be used to produce a data dictionary.
What information should be added at X and Y?

X: Text
Y: Number
`], [`
Name the method (X) which has been used to make the program code more readable.
`]: [`White space`], [`Which data type would be used to store the following value: 3.14`]: [`>Real`], [`Convert the binary number 00100110 to denary.
`]: [`38`], [`Name the translator that translates the program source code one line at a time`]: [`>Interpreter`], [`Duncastle United Football Club have designed a new website. During the analysis stage it was agreed that the home page should provide a brief history of the club with an image of the stadium, and provide links to player information and the club shop where supporters can be purchase replica kits and other items.

Which of the following is true?
`]: [`The website IS fit for purpose`], [`A computer game generates a random number and asks the user to guess what it is. The random number can be either 1, 2 or 3.
Give one possible extreme test data value that could be used when testing the program
`]: [`>1`], [`
Which of the following is an attribute that would be stored for the vector graphic shown above?
`]: [`Co-ordinates`], [`
Which type of validation is shown in this example?
`]: [`Range check`], [`How many bytes are required to store the word 'world' using extended ASCII codes?
`]: [`5`], [`Which type of validation should be used on a SCHOOL table to ensure that the School Roll attribute is between 1 and 2500?
`]: [`Range check`], [`A program should ask the user to enter 2 numbers and output which of the numbers is the smallest.
What is the Purpose of this software development problem?
`]: [`Output the smallest number from 2 numbers entered by the user`], [`When the mouse pointer moves over the image of a zebra on this web page, the image increases in size.

Which JavaScript event has been used?
`]: [`onmouseover`], [`Which graphic file format uses lossless compression and supports transparency?`]: [`>PNG`], [`Which pre-defined function could be used to select the balls for a lottery program?
`]: [`>random`], [`During the analysis phase, the inputs, processes and outputs are known as the __________ requirements.
State the missing term
`]: [`>functional`], [`Suzanne is developing a database for a cinema chain. Which of the following is an entity that might be a part of her database design?`]: [`film`], [`Count the vector shapes in this image.

4 lines
8 ellipses
2 polygons
Following testing, a software developer decides to revisit and improve the program design. This can happen because the software development process is _________
What is the missing term?
`]: [`Iterative`], [`The web page below makes use of the following HTML tags: <h1> <h3> <h4> <p> <img>

Identify the page element which uses the <h4> tag.
`]: [`Option B`], [`During analysis, the purpose and functional requirements of a program are agreed as follows:
Purpose: A program should take as input a number between 1 and 5 and display the square of that number.
Functional requirements:
The finished program is shown below.

Which of the following is true?
`]: [`The program IS NOT fit for purpose`], [`The web page below makes use of the following HTML tags: <h1> <h3> <h4> <p> <img>

Identify the page element which uses the <h1> tag.
`]: [`Option A`], [`The flow chart below shows the design of a computer program.

What would be output, if the user entered the number 27 and then the number 12?
`]: [`>15`], [`Ecosse Gaming have a database which stores information about their users and the results of any online games that they have played.
The database consists of the following two tables.

An SQL query is required to display the gameID, score and duration for all games played by the user ZAKMAN. The result should be displayed in order of duration, with the shortest game time being shown first.
Which SQL statement would produce the correct result?
`]: [`
HTML has been used to produce the following web page:

The HTML is shown below.

Identify the HTML tag that has been removed.
`]: [`>li`], [`A program is needed to calculate the average and highest rainfall over 3 months. A possible interface for the program is shown below:

Which of the following are outputs from the program?

The sample information provided for the SCHOOL entity above should be used to produce a data dictionary.
What information should be added at X?

A program should accept as input a number between 1 and 6, and output whether the number is odd or even.
A structure diagram has been produced to solve this problem.

Identify the missing conditional loop marked (X).
`]: [`While number not 1 to 6`], [`DVLA use a database to store information about drivers and their cars.
The database consists of the following two tables.

An SQL query has been written to display the full details of all of the drivers in the database with 6 or more penalty points. Complete the missing SQL:
SELECT *
FROM Driver
WHERE ------------------;

This image uses 24 bits to represent each pixel. What would be the effect of reducing the number of bits to 8?
`]: [`Less colours in the image`], [`During which stage of the software development process are the functionality and interface set out?`]: [`>Design`], [`
How could the program code above be written in a more efficient way?
`]: [`Use complex instead of simple conditions`], [`The flow chart below shows the design of a computer program.

State one possible output from this program.
`]: [`>2`], [`What is the purpose of applying a presence check to a database field?`]: [`To ensure that data is entered in a field`], [`
What is the output from this program?
`]: [`163.065`], [`
Which of the following could be used as Exceptional test data for the program shown above?
`]: [`6`], [`A program is needed to calculate the average and highest rainfall over 3 months. A possible interface for the program is shown below:

Which of the following are processes that will be carried out by the program?
Name the HTML tag used to display an image on a web page
`]: [`>img`], [`Wagtail Dog Walking Services are designing a new database. The office staff should be able to add and delete owner and dog records. They should also be able to update dog records with the date of their last booster injection, sort all dogs alphabetically by breed, and output all owners along with their contact telephone numbers.
Which of the following are functional requirements for this database?
Which of the following best describes the Design stage of the software development process?
`]: [`Use tools such as pseudocode and structure diagrams to set out the program functionality`], [`What is the name of the id selector shown in the CSS below?

An extract from the design of a program is shown below.

Identify all of the lines of the program which use an assignment statement.
`]: [`11, 12, 14`], [`
Which type of error will occur when the program above is run?
`]: [`Execution`], [`A program design is shown in the flow chart below.

How many times will the program display 'hello world'?
`]: [`10`], [`The wireframe for a computer program is shown below.

Which part of the user-interface design is labelled with a 'Y'?
`]: [`Computer output`], [`State the type of loop shown at line 35 in the design below.

What is the arithmetic operator used when multiplying one value by another?
`]: [`>*`], [`Which of the following must an organisation do in order to comply with GDPR?`]: [`store data securely`, `provide access to data held about an individual at the individual's request`], [`Which part of a computer system is used to store used to store data, programs and the operating system?
`]: [`Memory`], [`What will be displayed when this program has been run?

An extract from a computer program is shown below.

Name the part of the processor which will carry out the logical AND operation.
`]: [`ALU`], [`When drawing a flow chart, which shape is used to show the program start / end?`]: [`
An extract from the design of a program is shown below.

What is the value stored in the variable total when the program reaches line 16?
`]: [`16`], [`Which of the following symbols is used in the definition of a CSS id?`]: [`# (hash)`], [`A photograph has a colour depth of 16 bits. What does this mean?`]: [`It uses 16 bits to store the colour for each pixel`], [`
What would be the expected output if the following SQL query was run on the SCHOOLS table shown above?


What value will the variable score hold once this program has been run?


What would be the expected output if the following SQL query was run on the DOG table shown above?


A computer stores a word using extended ASCII codes to represent each character. The word is stored as 112 121 116 104 111 110.
What is the word?
`]: [`>python`], [`An extract from the design of a program is shown below.

What will the output from the program be when it reaches line 17?
`]: [`1An extract from a program is shown below.

Name the part of the computer system used to carry the memory location of high_score from the processor to the main memory
`]: [`>Address bus`], [`Anya writes the following CSS rule to centrally align all h1 elements.

Identify the CSS code that has been removed.
`]: [`>center`], [`Which of the following diagrams shows the DOG and OWNER tables correctly linked?
`]: [`
An extract of the record cards used by Catwalk Clothing Stores is shown below.

What does X represent in the following Entity Relationship Diagram?


A program should calculate the total of 100 numbers entered by the user.
A structure diagram has been produced to solve this problem.

Identify the missing process marked (X).
`]: [`Set total to 0`], [`Convert 221 to binary.
`]: [`11011101`], [`Which of the following CSS rules will set the colour of all h1 elements to blue?
`]: [`
Which of the following is the HTML tag used to embed the file basketball.mp4 on a web page?
`]: [`video`], [`A program is needed to calculate the weekly wage of a company's employees. A possible interface for the program is shown below:

Which of the following are inputs to the program?
An extract from the design of a program is shown below.

State the data type of the variable off_screen.
`]: [`>Boolean`], [`The pseudocode design for a program is shown below.

State the value held in the variable lives at the end of the program if the user input was:
The pseudocode design for a program is shown below.

State the value held in the variable total_A at the end of the program.
`]: [`21`], [`During the analysis stage, the functional requirements set out which of the following?
`]: [`Inputs, processes and outputs`], [`A real number is stored in a computer’s memory as a ________ and an ________.
Identify the missing terms.
`]: [`Mantissa and Exponent`], [`A program asks the user to enter their age and expects the input as a whole number.
Which of the following would be suitable as normal test data?
`]: [`37, 48, 102`], [`When drawing a flow chart, which shape is used to show a process?`]: [`
An extract from the design of a program is shown below.

State the data type of the variable correct.
`]: [`Boolean`], [`Wagtail Dog Walking Services are designing a new website. The Home page should show Wagtail Dog Walking Services as a heading, followed by 2 rows of 3 photographs of different dogs being walked. A short paragraph describing the business should appear below the photographs. An internal link to Services should be shown at the foot of the page, with an external link to The Kennel Club www.kclub.co.uk shown below that.
Which of the following would be a suitable wireframe for the Wagtail home page?
`]: [`
What is the result of Condition 1 AND Condition 2 if:
Where, in an HTML document, should <p> and <h1> tags be placed?
`]: [`In the <body> tag`], [`HTML has been used to produce the following web page:

The HTML is shown below.

Identify the HTML tag that has been removed.
`]: [`>li`], [`DVLA are designing a database to store information about drivers and their cars. Extracts from the Car and Driver tables are shown below.

A query is required to display the registration of all cars and the name of the driver. The result should be sorted by the registration A-Z.
Which of the following is the correct query design?
`]: [`
Which part of a computer system tells memory which memory location is being written to?
`]: [`Address bus`], [`During which stage of the software development process are the documents from the other stages gathered together?`]: [`>Documentation`], [`Which type of validation should be used on a STUDENT table to ensure that the Name attribute is a maximum of 20 characters?
`]: [`Field length check`], [`DVLA are designing a database to store information about drivers and their cars. Extracts from the Car and Driver tables are shown below.

A query is required to display all of the silver cars in the CAR table. All available fields should be displayed.
Which of the following is the correct query design?
`]: [`
What is the src attribute used for within an <audio> tag?
`]: [`Gives the location of the audio file`], [`The pseudocode design for a program is shown below.

State the value held in the variable total_B at the end of the program.
`]: [`15`], [`Jamie writes the following CSS rule to set the font of all paragraph elements to Arial size 10.

Identify the CSS code that has been removed.
`]: [`>p`], [`In computer programming, what is the purpose of a translator?`]: [`To convert a computer program code into binary`], [`An extract from the design of a program is shown below.

What will the output from the program be when it reaches line 16?
`]: [`12`], [`Alexis is producing a website for her own company. Which of the following would not comply with the Copyright, Designs and Patents Act (1988)?
`]: [`She downloads a music video from a video sharing site and publishes it on her own website`], [`Ecosse Gaming have a database which stores information about their users and the results of any online games that they have played.
The database consists of the following two tables.

An SQL query is required to display the username and score for all games that had a score of 4000 or more.
Which SQL statement would produce the correct result?
`]: [`
Identify the message which X has replaced in the following diagram.


Which of the following HTML statements will display this list on a web page?
`]: [`
Where, in an HTML document, should links to CSS and JavaScript files be placed?
`]: [`In the <head> tag`], [`State one logical operator used in the following program code.

State the value of result after this program has been run with the user input X.


State the output from this program if the user inputs 'Sunny day'.
`]: [`>9`], [`A program is needed to display film recommendations. A possible interface for the program is shown below:

Which of the following shows the correct processes which will be carried out by program?
`]: [`
Convert the binary number 11110000 to denary.
`]: [`240`], [`Which of the following is an example of the Boolean data type?`]: [`True`], [`Ki downloads a music track from the Internet and publishes it on one of the pages on her own website.
Which act has Ki not complied with in publishing the music on her site?
`]: [`Copyright, Designs and Patents Act`], [`
The design for a STUDENT database table is shown above.
An SQL query is required to update all of the students in class 3X2 to 4X2. Which of the following shows the correct SQL query?
`]: [`

Which of the following HTML statements will display this picture on a web page?
`]: [`

Which of the following HTML statements will display this list on a web page?
`]: [`
What would be the expected output of the program shown below if the user entered 2800 for score 1 and 700 for score 2?

An extract from the design of a program is shown below.

Identify a 1-D array of type integer that has been used in the design.
`]: [`rating`], [`What is the term used to describe the number of pixels in an image?`]: [`>Resolution`], [`What will happen if an attribute size is too small?
`]: [`Some data will be lost`], [`Sara has written the program below.

What should Sara use to make her code more readable?
`]: [`Meaningful variable names`], [`During which stage of the software development process is the program code written?`]: [`>Implementation`], [`Which of the following diagrams correctly identifies where the HTML <p> tag has been used on the web page?
`]: [`


Name the method (Y) which has been used to make the program code more readable.
`]: [`Indentation`], [`An extract from the design of a program is shown below.

State the output when the variables hold the following values:
An extract from the design of a program is shown below.

What will the output from the program be when it reaches line 30?
`]: [`@
What will be the output from this program if the user inputs the following data:
The Caledonia Marathon organisers use a database to store details of runners entered in the race. An extract of the Runners table is shown below:

State the attribute type that would be most suitable for the Races Won field
`]: [`>Number`], [`An extract from the design of a program is shown below.

Identify a boolean variable that has been used in the design.
`]: [`discount`], [`Alex has written a program which is a version of the board game battleships. He evaluates his program and decides that it is robust.
What does this mean?
`]: [`It can handle all inputs without crashing`], [`
What is the web page design shown above known as?
`]: [`Low-fidelity Prototype`], [`
Which of the following could be used as Normal test data for the program shown above?
Which of the following would NOT be involved when testing a web page?
`]: [`Checking HTML has internal commentary`], [`A working computer program is shown below:

Which of the following could be described as the Purpose of this program?
`]: [`The program should ask the user to enter two numbers and then display the total of the numbers`], [`DVLA are designing a database to store information about drivers and their cars. As part of the database design they are going to produce a data dictionary.

Some additional information:
What should go in the box marked G?
`]: [`It should be left blank`], [`Which of the following CSS rules will set the font of all h1 elements to Verdana , size 20px?
`]: [`

State the output from this program if the user inputs 1.76.
`]: [`>1.8`], [`
Suggest a suitable foreign key for the STUDENT table to link it to the SCHOOL table.
`]: [`School Code`], [`
Which type of validation is shown in this example?
`]: [`Presence check`], [`The pseudocode design for a program is shown below.

State the output from this program if the user enters:

The design for a STUDENT database table is shown above.
An SQL query is required to display the Forename and Surname of all of the pupils in 2X2 and 2X3. Which of the following shows the correct SQL query?
`]: [`
Sandeep writes the following CSS rule to set the background colour of all div elements to pale green.

Identify the CSS code that has been removed.
`]: [`>div`], [`Which data type would be used to store the following value: True`]: [`>Boolean`], [`Byte Repairs fix hardware devices including computers, tablets and game consoles. They have produced a website with the following pages:
Additional information:
Which of the following correctly shows the navigational structure of the website?
`]: [`
Which type of validation should be used on a CUSTOMER table to ensure that the customer postcode is always entered?
`]: [`Presence check`], [`
What would be the expected output if the following SQL query was run on the DOG table shown above?


State the type of error that will occur at line 3 when the following code is run

An extract from the design of a program is shown below.

State the data type of the variable circumference.
`]: [`>Real`], [`Which of the following best describes the Documentation stage of the software development process?
`]: [`Collect the documents which are generated at each phase of the software development process`], [`What is the largest positive denary integer that can be stored using 8 bits?`]: [`255`], [`
What would make the program code above more readable?
`]: [`White space`], [`Leeanne writes the following CSS id:

Which of the following correctly applies Leeanne's CSS id to an HTML div element?
`]: [`

Which of the following HTML statements will display this picture on a web page?
`]: [`
A program should ask the user to enter the length and breadth of a rectangle. It should calculate and display the perimeter and area of the rectangle.
Which of the following correctly shows the processes for this program?
`]: [`
DVLA use a database to store information about drivers and their cars.
The database consists of the following two tables.

An SQL query has been written to increase the number of penalty points for the driver with licence number AGFR5121DF to 6. Complete the missing SQL:
UPDATE Driver
SET penaltyPoints = 6
----- -------------- - ------------;
The web page below makes use of the following HTML tags: <h1> <h4> <p> <a>

How many times has the <p> tag been used on the page?
`]: [`4`], [`A program design is shown in the flow chart below.

How many times will the program display 'hello world'?
`]: [`There is an error - it will keep displaying 'hello world' for as long as the program is running`], [`
The program above is run, and produces the output shown below.

Which of the following statements have been removed from line 4?
`]: [`
The web page below makes use of the following HTML tags: <h1> <h3> <h4> <p> <img>

Identify the page element which uses the <p> tag.
`]: [`Option C`], [`Tony writes the following CSS class called summary:

He uses the summary class to style the following HTML div element:

Identify the HTML code that has been removed.
`]: [`>class`], [`
What would be the expected output if the following SQL query was run on the DOG table shown above?


What is required to convert encrypted text back to the original data?
`]: [`Secret key`], [`State the value of result after this program has been run with the user input A.

What is the alt attribute used for within an <img> tag?
`]: [`Gives some alternative text to be displayed when the image does not load`], [`
How could the program code above be written in a more efficient way?
`]: [`Use a repeat loop`], [`Which data type would be used to store the following value: '*'`]: [`>Character`], [`Sean has written a program which calculates the average wage of employees in his company. When he runs the program he sees the following error message:
error at line 10: print(wage
State the type of error that has occurred.
`]: [`>Syntax error`], [`What would be the expected output of the program shown below if the user entered "silver" for loyalty card and 240 for bill?

When using the HTML <title> tag, where does the title actually appear?
`]: [`In the browser tab`], [`Which of the following are the main purposes of Copyright, Designs and Patents Act?
What is the purpose of this program?

An extract from the design of a program is shown below.

Explain what is happening in line 12 of the program.
`]: [`The value 0 is assigned to the variable score`], [`An extract from the design of a program is shown below.

State the data type of the variable school.
`]: [`String`], [`Name the most suitable attribute type for the field Prefect in the Student table.

What is the src attribute used for within an <img> tag?
`]: [`Gives the location of the image file`], [`A program should accept as input the scores of both teams in a football match, and then output the result of the match. The pseudocode for the program is shown below.

Which of the following statements have been removed from line 5?
`]: [`
What is the name of the field that is a primary key from one table which is used in a second table to link the tables together?
`]: [`>Foreign key`], [`Name the most suitable attribute type for the field Last MOT in the CAR table.

State the value of result after this program has been run with the user input 2.

The following program uses the running total within a loop algorithm to total 5 numbers entered by the user. What code has been blanked out?


What would be the expected output if the following SQL query was run on the SCHOOLS table shown above?


Which of the following HTML statements will display a hyperlink to the file home.html?
`]: [`
A computer program asks the user to enter the month of the year numerically where 1 = January, 2 = February, 3 = March etc.
Give one possible extreme test data value that could be used when testing the program
`]: [`>1`], [`
The design for a STUDENT database table is shown above.
An SQL query is required to display the Forename and Surname of all of the students in the table. The result should be given in alphabetical order of student surnames A-Z. Which of the following shows the correct SQL query?
`]: [`
Which of the following is the correct way to write external CSS?
`]: [`
Which part of a processor is a fast temporary storage location?
`]: [`Register`], [`Scottish Athletics are designing a database to hold details of all Scottish running clubs and their member runners. Extracts from the Runner and Running Club tables are shown below.
A query is required to display the bib number and name of all runners who pay more than £20 fees. The results should be ordered by bib number (biggest to smallest).
Which of the following is the correct query design?
`]: [`
The wireframe for a computer program is shown below.

Which part of the user-interface design is labelled with a 'Y'?
`]: [`Computer prompt`], [`Which of the following should be checked when testing a web page?
What would be the expected output of the following pseudocode program if the user inputs are: 612, 612?

CSS is used to style HTML as shown below.

Which of the following shows the resulting web page?
`]: [`
Duncastle United Football Club have designed a website with the following pages:
Additional information:
Which of the following correctly shows the navigational structure of the website?
`]: [`
The bit-mapped image below has a bit depth of 8

What is meant by the bit depth?
`]: [`The number of bits used to store the colour for each pixel`], [`CSS is used to style HTML as shown below.

Which of the following shows the resulting web page?
`]: [`
Lucy has written HTML to provide a hyperlink from a page on her website to the BBC News page. The following code was used to create the hyperlink.

Identify the HTML code that has been removed.
`]: [`>href`], [`Identify the predefined function shown in this flow chart.

A computer program asks the user to enter a numeric rating for a film using the following key: 1 = terrible, 2 = bad, 3 = ok, 4 = good and 5 = excellent.
Give one possible extreme test data value that could be used when testing the program
`]: [`>1`], [`How is a bit-mapped image represented on a computer system?
`]: [`The colour of each pixel is stored as a binary value`], [`The 6 stages of the software development process are shown below. Identify the missing stage.
A program should ask the user to enter 10 different ratings for a local restaurant as integers between 1 and 5. It should calculate and display the lowest, highest and average rating for the restaurant.
Which of the following is NOT a process for this program?
`]: [`count the number of dishes available`], [`An array is used to store the names of 5 students:

State the output of the following code:

Why is a translator needed to convert source code into machine code?
`]: [`computers understand machine code and not source code`], [`The wireframe for a computer program is shown below.

Which part of the user-interface design is labelled with a 'Z'?
`]: [`User input`], [`An extract from the design of a program is shown below.

State the output when the variables hold the following values:
The pseudocode design for a program is shown below.

Which of the following statements have been removed from line 5?
`]: [`

The design for a CAR database table is shown above.
An SQL query is required to display the Registration of all Ford and Vauxhall cars. Which of the following shows the correct SQL query?
`]: [`
How many bits are required to store the word 'Java' using extended ASCII codes?
`]: [`>32`], [`Which of the following are attributes which describe a vector shape?

What will be the output from this program?
`]: [`No LikesName one entity shown in this entity relationship diagram


Which of the following statements is true in relation to the program output above?
`]: [`The program is not robust`], [`DVLA are designing a database to store information about drivers and their cars.
Which of the following might be an end-user requirement for this database?
`]: [`Option to add a new car record to the database`], [`Which of the following would be best stored using a 1-D array data structure?`]: [`The daily rainfall in Scotland for the past 28 days`, `All of a student's test scores throughout the year`], [`Ecosse Gaming have a database which stores information about their users and the results of any online games that they have played.
The database consists of the following two tables.

An SQL query is required to display the game ID, duration and platform for all games played.
Which SQL statement would produce the correct result?
`]: [`

DVLA use a database to store information about drivers and their cars.
The database consists of the following two tables.

An SQL query has been written to show all the cars owned by drivers with 3 penalty points or more. Complete the missing SQL:
SELECT registration, make, model
FROM Car, Driver
WHERE Car.licenceNumber = --------------------
AND penaltyPoints >= 3;

What would be the expected output if the following SQL query was run on the DOG table shown above?


An extract of the record cards used by Catwalk Clothing Stores is shown below.

What does X represent in the following Entity Relationship Diagram?

Three different HTML heading tags have been used to produce the page shown below.

The following code was used to create the page.

Identify the HTML tag that has been removed.
`]: [`>h5`], [`A program should accept as input a number between 1 and 6, and output whether the number is odd or even.
A structure diagram has been produced to solve this problem.

Identify the missing selection marked (X).
`]: [`Is number 1, 3 or 5?`], [`
What is the output from this program?
`]: [`3.73`], [`State the type of CSS which has been used below:

State the pre-defined function that has been used in the following program

A 1-D array is used to store the number of students in classes at Duncastle Primary School:

State the output of the following code:

Other than processes, name one other element identified as part of the functional requirements of a software development problem.
`]: [`>Inputs`], [`State one logical operator used in the following program code.


Suggest a suitable foreign key for the CAR table to link it to the OWNER table.
`]: [`Licence Number`], [`Lisa tests a program that she has written and is confident that it can handle all inputs without crashing unexepectedly.
What term would Lisa use to describe her program when evaluating it?
`]: [`>Robust`], [`Which of the following statements about memory is true`]: [`Each memory location is identified by a unique address`], [`What would be the best size for the Postcode attribute?

The program below uses input validation.

Which of the following represent the program outputs when the program is run on 4 separate occasions with the inputs:
W, X, Y and Z?

DVLA use a database to store information about drivers and their cars.
The database consists of the following two tables.

An SQL query has been written to display the registration, make and model for all cars in the database. Complete the missing SQL:
SELECT registration, make, model
---- Car;
Name the most suitable attribute type for the field Registration in the CAR table.

This diagram shows the implementation phase of the software development process being revisited after testing.

Which word can be used to desribe the software development process?
`]: [`Iterative`], [`The computer memory is also known as RAM. What does RAM stand for?`]: [`>Random Access Memory`], [`An extract of the record cards used by Catwalk Clothing Stores is shown below.

What do X and Y represent in the following Entity Relationship Diagram?

X: STORE
Y: STAFF
`], [`State the type of loop shown in the design below.

Which pre-defined function could be used to show the average daily weather temperature to 1 decimal place?
`]: [`>round`], [`Duncastle United Football Club are designing a new database to record details of season ticket holders. Office staff should be able to add supporters to, and delete supporters from the system, and update their details as required. It should be possible to search for a season ticket holder by surname, output all season ticket holders sorted by seat number, and show the details of all season ticket holders with tickets in a specific section of the stadium.
Which of the following are functional requirements for this database?
Name the most suitable attribute type for the field Mobile in the Student table.

The number 202.0202 is stored using floating point representation.
Identify the mantissa and exponent.
`]: [`Mantissa: 2020202Name a foreign key shown in this Entity Relationship Diagram.

What is the result of Condition 1 AND Condition 2 if:
Which of the following help reduce the amount of energy used by a computer system?
Amena is designing a web page. She begins by producing a wireframe to show a rough layout of the page.
Next she produces a more detailed sketch of the page to include any actual text and sketches of images.
What is the name for the second design technique that Amena has used?
`]: [`>Low-level prototype`], [`What is the name for the legislation which sets out rules for the protection of data?
`]: [`>GDPR`], [`Suzanne is developing a database for a cinema chain. Which of the following might be an attribute of the FILM entity?`]: [`duration`], [`DVLA use a database to store information about drivers and their cars.
The database consists of the following two tables.

An SQL query has been written to display the name and penalty points for all drivers in the database sorted by penalty points from most to least. Complete the missing SQL:
SELECT name, penaltyPoints
FROM Driver
ORDER BY penaltyPoints ----;
An extract from the design of a program is shown below.

State the output when the variables hold the following values:
The pseudocode design for a program is shown below.

Which of the following statements have been removed from line 3?
`]: [`
The program below uses the running total in a loop algorithm to add 10 ratings entered by the user.

Which of the following statements has been removed from line 1?
`]: [`
What happens to the contents of RAM when a computer is powered off?
`]: [`Cleared`], [`An extract from the design of a program is shown below.

State the output when the variables hold the following values
A program should ask the user to enter their month of birth as a number i.e. 1 for January, 2 for February etc.
Identify all of the rows in the following test table which show Extreme test data.

During analysis, the purpose and functional requirements of a program are agreed as follows:
Purpose: A program should take as input a number between 1 and 5 and display the square of that number.
Functional requirements:
The finished program is shown below.

Which of the following is true?
`]: [`The program IS fit for purpose`], [`Which of the following help reduce the amount of energy used by a computer system?

The design for a STUDENT database table is shown above.
An SQL query is required to display the Forename and Surname of all students with a Test Score of 50 or higher. Which of the following shows the correct SQL query?
`]: [`
Which part of a computer system is a block of storage locations connected to the processor by the data bus and address bus?
`]: [`Memory`], [`An extract from the design of a program is shown below.

State the data type of the variable hit.
`]: [`Boolean`], [`Name the type of addressing used in the following HTML statement.

Billy has written HTML to play an mp4 video file of his band's last gig on his web page. The following code was used to embed the video on the page.

Identify the HTML tag that has been removed.
`]: [`>video`], [`HTML has been used to produce the following web page:

The HTML is shown below.

Identify the HTML tag that has been removed.
`]: [`>div`], [`Ecosse Gaming have a database which stores information about their users and the results of any online games that they have played.
The database consists of the following two tables.

An SQL query is required to display the gameID, username and score for all games. The result should be displayed in order of score, with the highest score being shown first.
Which SQL statement would produce the correct result?
`]: [`
What value will the variable score hold once this program has been run?

Which of the following statements about JPEG files are true?
The program below uses input validation.

Which of the following represent the program outputs when the program is run on 4 separate occasions with the inputs:
-50, -20, 0 and 40?

What would be the expected output of the program shown below if the user entered 2?

A program is needed to display film recommendations. A possible interface for the program is shown below:

Which of the following shows the correct inputs for the program?
`]: [`
Aaron records a video of his cat and uploads it to his website.
Why does Aaron not have to worry about infringing the Copyright, Designs and Patents Act?
`]: [`Aaron is the copyright owner`], [`What is the exponent operator?
`]: [`^`], [`
Which type of hyperlink is Kennel Club UK?
`]: [`External`], [`What is the purpose of this program?

Ask the user to enter a bill and deposit
Calculate a tip as 10% of the bill
Calculate the amount due by adding the tip to the bill and subtracting the deposit
DVLA are designing a database to store information about drivers and their cars. As part of the database design they are going to produce a data dictionary.

Some additional information:
What should go in the box marked E?
`]: [`length = 20`], [`The following HTML shows the basic structure of a web page. Identify the HTML tag that has been removed.

An extract from the design of a program is shown below.

Identify an integer variable that has been used in the design.
`]: [`num_adults`], [`Which of the following is NOT a binary number?
`]: [`
A program should ask the user to enter two numbers. It should check whether number 2 is greater than number 1, and if it is not, ask for the numbers again. The program should then calculate the difference between number 2 and number 1.
A flow chart has been produced to solve this problem.

Identify the missing decision marked (X).
`]: [`number 2 > number 1?`], [`What is the name of the field that is used to uniquely identify a record in a database?
`]: [`>Primary key`], [`State the value of final_message after this program has been run with the user input as follows:

Which of the following CSS rules will set the background colour of all div elements to lavender?
`]: [`
State the word which X has replaced in the following diagram.


What is the process of converting data and messages into a format that cannot be read by unauthorised people known as?
`]: [`Encryption`], [`Holly works in a doctors' surgery. She is designing a database to store information about patients. She wants the 'number of children' field to be limited to a number between 0 and 12.
What type of validation should she apply to the 'number of children' field?
`]: [`>Range validation`], [`Which part of a processor has a reset line to reset the contents of the registers?
`]: [`Control Unit`], [`
The design for a CAR database table is shown above.
An SQL query is required to display the Registration of all red cars. Which of the following shows the correct SQL query?
`]: [`
Wagtail Dog Walking Services are designing a new database. The office staff should be able to add and delete owner and dog records. They should also be able to update the address and mobile number on an existing owner record, sort all dogs alphabetically by breed, and output all dogs in the database along with their owner name.
Which of the following are functional requirements for this database?
What would be the expected output of the following pseudocode program if the user inputs are: multiply, 8, 6?

The number 17551.227 is stored using floating point representation.
Identify the mantissa and exponent.
`]: [`Mantissa: 17551227The following HTML shows the basic structure of a web page. Identify the HTML tag that has been removed.

Golden Sun Holidays are designing a database for their business. Which of the following are entities that might be a part of the database design?
What would be the expected output of the following pseudocode program if the user inputs are: 13, 17?

A program should ask the user to enter a test score and display a message using the following rules:
The program design is shown in the following flow chart.

Identify the decision marked 'Y'.
`]: [`test score >= 10?`], [`Wagtail Dog Walking Services have designed a new website. During the analysis stage it was agreed that the site should have a link from the Home page to a Book Now page to let customers book their dog in for a walk, and a link to a Contact page. Other than these links, the Home page should show only the name of the company and photographs of dogs.

Which of the following is true?
`]: [`The website IS NOT fit for purpose`], [`
The sample information provided for the SCHOOL entity above should be used to produce a data dictionary.
What information should be added at X and Y?

X: 8
Y: 25
`], [`Joanna adds a hyperlink to her web page using the following HTML code:

State the type of addressing that Joanna has used.
`]: [`>Relative`], [`The Caledonia Marathon organisers use a database to store details of runners entered in the race. An extract of the Runners table is shown below:

State the attribute type that would be most suitable for the Pro field
`]: [`>Boolean`], [`Convert the binary number 00101001 to denary.
`]: [`41`], [`What would be the expected output of the program shown below if the user entered 3?


This image uses 8 bits to represent each pixel. What would be the effect of increasing the number of bits to 16?
`]: [`More colours available`], [`A 1-D array of type String is used to store the names of basketball teams:

Explain why this program would generate a syntax error?
`]: [`An array should use square brackets: []`], [`Why would a conditional loop be used when writing code?
`]: [`It is not known how often the loop will execute`], [`Lara wants to write a CSS id selector named body-text.
Which of the following is the correct way to write the id selector?
`]: [`#body-text`], [`The program below uses input validation to ensure rating is a number between 1 and 5.

Which of the following statements has been removed from line 13?
`]: [`
Lin writes the following internal CSS class.

Identify the HTML code that has been removed.
`]: [`>style`], [`Duncastle United Football Club are designing a new website so that supporters can find out information about the team, including statistics and photos of every player. The website should have a sign up / login button available on every page. It will access and store data in a database with User and Player tables.
Which of the following are functional requirements for this website?

The program above contains an example of which type of error?
`]: [`Syntax`], [`What is the name for the graphical representation of entities in a database that shows their relationship to each other?`]: [`>Entity Relationship Diagram`], [`A database stores information about The Caledonia Marathon.
The table Runner stores all runners entered in the race.
The table Running Club stores information about each running club.
Part of the information stored in each table is shown below.

Identify a suitable foreign key to link the Runner table to the Running Club table
`]: [`>Club ID`], [`DVLA use a database to store information about drivers and their cars.
The database consists of the following two tables.

An SQL query has been written to show all the cars owned by drivers with 3 penalty points or more. Complete the missing SQL:
SELECT registration, make, model
---- ----- ------
WHERE Car.licenceNumber = Driver.licenceNumber
AND penaltyPoints >= 3;
What will happen if an attribute size is too big?
`]: [`Storage space is used unnecessarily`], [`Leigh writes the following CSS id which she names summary:

She uses the summary id to style the following HTML div element:

Identify the HTML code that has been removed.
`]: [`>id`], [`State the output after this program has been run with the user input 2.

The Caledonia Marathon organisers use a database to store details of runners entered in the race. An extract of the Runners table is shown below:

State the attribute type that would be most suitable for the DOB field
`]: [`>Date`], [`Which of the following statements about JPEG files are true?
The pseudocode design for a program is shown below.

When run, the program produces the following output:

Which of the following statements have been removed from line 2?
`]: [`
Name the HTML tag used to display an unordered list item on a web page
`]: [`>li`], [`The pseudocode design for a program is shown below.

Which of the following statements have been removed from line 13?
`]: [`
An extract from the design of a program is shown below.

State the data type of the variable share.
`]: [`Real`], [`A program should ask the user to enter their month of birth as a number i.e. 1 for January, 2 for February etc.
Identify all of the rows in the following test table which show Exceptional test data.

Lori has developed a web page to showcase a dress that she has designed. When the mouse pointer hovers over the image of the dress, the image changes to show how the dress looks from the back.
State the type of coding that Lori has used to implement this.
`]: [`>JavaScript`], [`State the type of loop shown in the design below.

State the CSS selector used in the following code

An extract from a computer program is shown below:

Name the part of the processor which will calculate the total in line 4
`]: [`>ALU`], [`
What would be the expected output if the following SQL query was run on the DOG table shown above?


Name one foreign key shown in this entity relationship diagram


Suggest a suitable primary key for the CAR table.
`]: [`Registration`], [`What is the result of Condition 1 OR Condition 2 if:
A program asks the user to enter a password between 6 and 8 characters with at least one number, one symbol and one letter.
Which of the following would be suitable as normal test data?
`]: [`7a%1B2N`], [`
The sample information provided for the SCHOOL entity above should be used to produce a data dictionary.
What information should be added at X?

An extract from the design of a program is shown below.

State the data type of the variable surname.
`]: [`>String`], [`The flow chart below shows the design of a computer program.

Name the predefined function which has been used.
`]: [`>random`], [`Which graphic file format has a colour palette of 256 colours and supports animation?`]: [`>GIF`], [`
Which of the following HTML statements will embed this audio file on a web page?
`]: [`
A program should ask the user to enter their age between 18 and 65.
Identify all of the rows in the following test table which show Normal test data.

Duncastle United Football Club are designing a new database to record details of season ticket holders. Office staff should be able to add supporters to, and delete supporters from the system, and update their details as required. It should be possible to search for a season ticket holder by surname, output all season ticket holders sorted by seat number, and show the details of all season ticket holders with tickets in a specific section of the stadium.
Which of the following are end-user requirements for this database?

What would make the program code above more readable?
`]: [`Internal commentary`], [`What would be the best size for Department attribute?

The program below traverses an array of countries and displays each in turn.

Which of the following statements has been removed from line 3?
`]: [`

What would be the expected output if the following SQL query was run on the SCHOOLS table shown above?


An extract from the design of a program is shown below.

State the data type of the variable message_B.
`]: [`String`], [`DVLA use a database to store information about drivers and their cars.
The database consists of the following two tables.

An SQL query has been written to display all of the silver cars in the database. Complete the missing SQL:
SELECT *
FROM Car
----- colour = "Silver";
Duncastle United Football Club are designing a new website so that supporters can find out information about the team. Each player in the squad will have a page with a photo and statistics. Every page should have a link to the club shop where supporters can be purchase replica kits and other items by adding them to a virtual basket and then visiting the online checkout.
Which of the following are end user requirements for this website?
State the pre-defined function that has been used in the following program

Which of the following should be tested in terms of consistency on a web page?
Billy has written HTML to display the image of a golfer on his web page. The following code was used to show the image.

Identify the HTML code that has been removed.
`]: [`>src`], [`Name a primary key shown in this Entity Relationship Diagram.

What is the name of the class selector shown in the CSS below?

Amir is playing a computer game when suddenly the program stops and displays the message 'Unexpected error - program halting'.
State the type of error that has occurred.
`]: [`>Execution error`], [`Which CSS rule has been applied to the h1 heading on the web page shown below?

What is the purpose of the HTML <div> tag?
`]: [`To define a division in an HTML document`], [`Which pre-defined function could be used to show the number of characters in a postcode?
`]: [`>length`], [`A social network has thousands of users, each with a unique username. They following information is stored about each user:

Each user can post messages to the social network, and these are displayed as follows.

Which entity relationship diagram correctly shows the relationship between the users and the posts they make on the social network?
`]: [`

Cerys is designing a database for a popular mobile phone company to store information about different mobile phones. Each phone has a unique model code which Cerys will use as a primary key in the PHONE table linking to a foreign key in the MANUFACTURER table.
Which of the following is the correct way to show the foreign key in her design?
`]: [`
A program should ask the user to enter their month of birth as a number i.e. 1 for January, 2 for February etc.
Identify all of the rows in the following test table which show Normal test data.

Scottish Athletics are designing a database to hold details of all Scottish running clubs and their member runners. As part of the database design, Scottish Athletics are going to produce a data dictionary.

What should go in the box marked C?
`]: [`>Date`], [`A program should accept two numbers as input, and output which number is bigger or whether they are equal.
A structure diagram has been produced to solve this problem.

Identify the missing process marked (X).
`]: [`Display numbers are equal`], [`An extract from the design of a program is shown below.

State the output when the variable score stores the value 87.
`]: [`>Lose`], [`An extract from the design of a program is shown below.

State the data type of the variable product.
`]: [`>Integer`], [`Which of the following would be stored using the integer data type?`]: [`The number of students in a class`], [`An extract from the design of a program is shown below.

State the output when the variables hold the following values:
What is the CSS property used to align text?
`]: [`text-align`], [`Which of the following is true.
The higher the sample rate of a song, it will have:
`]: [`better audio quality, larger file size`], [`
The design for a STUDENT database table is shown above.
An SQL query is required to display the Forename, Surname and Class of all of the students in the class 4X4. Which of the following shows the correct SQL query?
`]: [`
Sam has written HTML to provide a hyperlink from the home page to page 2 of his web page. The following code was used to create the hyperlink.

Identify the HTML code that has been removed.
`]: [`>a`], [`Which CSS rule has been applied to the web page shown below?

The pseudocode design for a simple guessing game is shown below.

Which of the following statements have been removed from line 7?
`]: [`
The 6 stages of the software development process are shown below. Identify the missing stage.
The pseudocode design for a program is shown below.

State the output from this program if the user enters:

Which typed of error has occurred?
`]: [`Execution`], [`Which line of the program below contains a syntax error?

A 1-D array is used to store the number of students in classes at Duncastle Primary School:

State the output of the following code:

Which of these vector graphic shapes is a polygon?
`]: [`
`],
[`Which of the following CSS rules will set the font of all p elements to Times New Roman, size 8px?
`]: [`

What is the name of the program which converts source code into machine code so that the program can be run by a computer?
`]: [`Translator`], [`State the value of result after this program has been run with the user input 4.

Complete the sentence below by identifying the missing term
Tables in a relational database are linked by matching the foreign key from one table to the ******* *** in a related table
`]: [`>primary key`], [`Name the standard algorithm that has been used in the following program


The design for a STUDENT database table is shown above.
An SQL query is required to display The Forename and Surname of any pupils in 5X1 whose Test Score was above 75. Which of the following shows the correct SQL query?
`]: [`
Name the security system which commonly protects private networks connected to the Internet.
`]: [`Firewall`], [`A program is required to validate a postcode entered by the user. A valid postcode must be between 6 and 8 characters in length.
A structure diagram has been produced to solve this problem.

Identify the missing process marked (X).
`]: [`Get postcode`], [`What would be the expected output of the program shown below if the user entered 5?

Wagtail Dog Walking Services are designing a new website. The site should have a link from the home page to a Booking page which lets customers book their dog in for a walk. The home page will show photographs of customer dogs being walked, and users will be able to 'like' individual photos by clicking a small heart icon.
Which of the following are end user requirements for this website?

The design for a CAR database table is shown above.
An SQL query is required to display all fields for all of the cars in the table. Which of the following is the correct SQL query?
`]: [`
Harry has uses an external CSS file "my-style.css" to style the HTML on a web page. Harry has written the following HTML to link the external CSS file to his web page:

Identify the HTML tag that has been removed.
`]: [`>head`], [`
What would be the expected output if the following SQL query was run on the SCHOOLS table shown above?


Where is external CSS stored?
`]: [`In a separate stylesheet file`], [`Which of the following statements about PNG files are true?
Raheem has written HTML to play an mp3 audio file of a bass line on his web page. The following code was used to embed the audio on the page.

Identify the HTML code that has been removed.
`]: [`>source`], [`Why do computer systems have a negative impact on the environment?
`]: [`Computers require power / energy to run`], [`A program is required to validate a postcode entered by the user. A valid postcode must be between 6 and 8 characters in length.
A structure diagram has been produced to solve this problem.

Identify the condition missing from the while loop (X).
`]: [`postcode length < 6 OR > 8`], [`DVLA use a database to store information about drivers and their cars.
The database consists of the following two tables.

An SQL query has been written to add B Platt of 13 King's Way, Kelso to the Driver table. Their licence number is ATFE6328PL and they have 9 penalty points. Complete the missing SQL:
INSERT INTO Driver (licenceNumber, name, address, penaltyPoints)
------ ("ATFE6328PL", "B Platt", "13 King's Way, Kelso", 9);
The passport office store details about each traveller to whom they issue a passport. An example of the information held on a traveller is as follows:

Each passport issued has a unique passport number, the name of the issuing country and the date issued. A traveller can have only one passport.
Which entity relationship diagram correctly shows the relationship between a traveller and their passport?
`]: [`

An extract from the design of a program is shown below.

State the output when the variables hold the following values
How many bytes are required to store the word 'dog' using extended ASCII codes?
`]: [`3`], [`Complete the statement.
Tables in a relational database are linked by matching...
`]: [`the foreign key from one table to the primary key in a related table
`], [`Lois wants to use an photograph which she has found online on her own web site.
Which of the following could Lois do in order to comply with the Copyright, Designs and Patents Act?
Which type of validation should be used on a COMPANY table to ensure that the Number of Employees attribute is between 1 and 1000?
`]: [`Range check`], [`DVLA use a database to store information about drivers and their cars.
The database consists of the following two tables.

An SQL query has been written to add a black Ford Kuga registration SL18 GTR. The car has done 13143 miles and is registered to the driver with licenceNumber ATFE6328PL. Complete the missing SQL:
------ ---- Car (registration, make, model, colour, mileage, licenceNumber)
VALUES ("SL18 GTR", "Ford", "Kuga", "Black", 13143, "ATFE6328PL");
Ecosse Gaming have a database which stores information about their users and the results of any online games that they have played.
The database consists of the following two tables.

An SQL query is required to display the username and score for all users with Premium accounts.
Which SQL statement would produce the correct result?
`]: [`
HTML has been used to produce the following web page:

The HTML is shown below.

Identify the HTML tag that has been removed.
`]: [`>ol`], [`An extract from the design of a program is shown below.

Identify an integer variable that has been used in the design.
`]: [`lottery_ball`], [`The website below was tested.

Why did it fail?
`]: [`Not all links and navigation work correctly`], [`What would be the expected output of the program shown below if the user entered 600 for score 1 and 1200 for score 2?

Grant runs an online shop selling T-shirts. He is designing a database to store information about his customers. He wants to ensure that the 'customer forename' field limits the number of characters which can be entered to 14.
What type of validation should Grant apply to the 'customer forename' field?
`]: [`>Field length validation`], [`Which of these vector graphics shapes is an ellipse?
`]: [`
`],
[`An extract from the design of a program is shown below.

State the output when the variables hold the following values
A program asks the user to enter their age.
Which of the following would be suitable as exceptional test data?
`]: [`One`], [`
What will be the output from this program if the user inputs the following data:
The 6 stages of the software development process are shown below. Identify the missing stage.

Which typed of error has occurred?
`]: [`Logic`], [`Which of the following statements is true?
A foreign key:
`]: [`is a primary key from a different table`], [`How many bits are required to store the word 'CPU' using extended ASCII codes?
`]: [`>24`], [`HTML has been used to produce the following web page:

The HTML is shown below.

Identify the HTML tag that has been removed.
`]: [`>ul`], [`Kevyn has developed a web page to share football training tips. The page has several images. When the mouse pointer rolls over an image, the image doubles in size. When the mouse pointer rolls away from the image again, the image returns to its normal size.
State the name of the event that has been used to implement the image returning to its normal size.
`]: [`>onmouseout`], [`Which of these linked tables demonstrate referential integrity?
`]: [`


Which of the following is a CSS selector used in the code above?
`]: [`my-block`], [`Beth writes the following CSS rule to set the background colour of all div elements to orange.

Identify the CSS code that has been removed.
`]: [`>orange`], [`
Which type of validation is shown in this example?
`]: [`Presence check`], [`Convert the binary number 00011011 to denary.
`]: [`27`], [`An extract from two linked tables used by Puppy Power Dog Training is shown below.

A query should be designed to find the owners who have had dog training. The result should show the forename, surname and postcode, and be ordered alphabetically A-Z by surname.
Which of the following shows the correct query design?
`]: [`
DVLA use a database to store information about drivers and their cars.
The database consists of the following two tables.

An SQL query has been written to display the registration and mileage of all the cars in the database which have been driven for less than 50000 miles. Complete the missing SQL:
SELECT registration, mileage
FROM Car
WHERE ----------------;

Name the method (W) which has been used to make the program code more readable.
`]: [`Internal commentary`], [`Which type of validation should be used on a SCHOOL table to ensure that the School Category attribute can be only nursery, primary or secondary?
`]: [`Restricted choice check`], [`Which of the following is a non-printable ASCII character?
`]: [`TAB`, `Carriage return`], [`Name the standard algorithm that has been used in the following program.

Greenhouse Gardening Services have designed a new website. During the analysis stage it was agreed that the site should include an online shop to allow customers to buy plants and flowers by clicking the Buy Now button on any product page. Each product page should also include the product name, description, image and price.

Which of the following is true?
`]: [`The website IS fit for purpose`], [`What would be the expected output of the program shown below if the user entered 3?


The design for a STUDENT database table is shown above.
An SQL query is required to display the Forename, Surname and Test Score of all of the students in the table. The result should be sorted by Test Score (from highest to lowest). Which of the following shows the correct SQL query?
`]: [`
Anthony writes a program which takes as input two exam scores. The program is meant to display 'pass' if the total of the two scores is 75 or more, or 'fail' if the total of the two scores us less than 75.
When Anthony tests his program he enters 35 for the first test score and 52 for the second test score. The program displays 'fail'.
State the type of error that has occurred.
`]: [`>Logic error`], [`Which type of validation should be used on a FILM table to ensure that the user can only enter up to 3 characters on the Certificate field?
`]: [`Field length check`], [`Soundz Music are designing a website to sell music downloads for upcoming artists. Users visiting the website can hear 30 second samples of each song, and can leave artist reviews.
Which of the following would NOT be an functional requirement for this website?
`]: [`budget for develpment £5000`], [`Which of the following statements about PNG files are true?
A binary digit (bit) can be:
`]: [`a 1 or a 0 only`], [`
What will be the output from this program?
`]: [`31
What would be the expected output if the following SQL query was run on the DOG table shown above?


DVLA use a database to store information about drivers and their cars.
The database consists of the following two tables.

An SQL query has been written to display the registration, make, model and colour of all white and silver cars. Complete the missing SQL:
SELECT registration, make, model, colour
FROM Car
WHERE colour = "White"
-- ------ = "Silver";
Scottish Athletics are designing a database to hold details of all Scottish running clubs and their member runners. As part of the database design, Scottish Athletics are going to produce a data dictionary.

What should go in the box marked A?
`]: [`>PK`], [`
The design for a CAR database table is shown above.
An SQL query is required to update the car with registration LC61 TTF to automatic. Which of the following shows the correct SQL query?
`]: [`
The 6 stages of the iterative software development process are shown below. Identify the missing stage.
An extract from the design of a program is shown below.

Identify a character variable that has been used in the design.
`]: [`response`], [`Anna writes the following CSS rule to set the text colour of all h2 elements to crimson.

Identify the CSS code that has been removed.
`]: [`>crimson`], [`Ben sends his friend Harry an email. Ben knows that his email software will convert the message into a format that cannot be read by anyone online except Harry.
What is this security precaution called?
`]: [`>Encryption`], [`A program should ask the user to enter their age between 18 and 65.
Identify all of the rows in the following test table which show Extreme test data.

Which type of validation should be used on a RESTAURANT table to ensure that the Restaurant Category attribute can be only take-away or sit-in?
`]: [`Restricted choice check`], [`Abi has developed a web page to share information about her new puppy called Cookie. When the mouse pointer hovers over an image of Cookie, the image changes to a different picture of him.
State the name of the event that Abi has used to implement this.
`]: [`>onmouseover`], [`
What would be the expected output if the following SQL query was run on the SCHOOLS table shown above?


Patrice writes the following CSS id which he names intro:

He uses the intro id to style the following HTML paragraph element:

Identify the HTML code that has been removed.
`]: [`>intro`], [`
Which of the following statements is true in relation to the program output above?
`]: [`The program is not robust`], [`Where on a web site should the <link> tag be placed?
`]: [`In the head section of a web page`], [`Ecosse Gaming have a database which stores information about their users and the results of any online games that they have played.
The database consists of the following two tables.

An SQL query is required to display the username and password for the user "blueberry".
Which SQL statement would produce the correct result?
`]: [`
Magnus writes the following CSS rule to right align all h3 elements.

Identify the CSS code that has been removed.
`]: [`>text-align`], [`Which of the following shows the correct structure of an HTML web page?
`]: [`
Wagtail Dog Walking Services are designing a new website. The site should have a link from the home page to a Prices page listing the different services available. Customers should be able to login to the site to see photographs of their dog being walked. There should be a sign up / login button at the top of every page. The site will be required to access and store data in a database with User and Dog tables.
Which of the following are functional requirements for this website?
Peter is designing a program and he produces the following sketch to show the expected screen layout.

What is the name for this type of diagram?
`]: [`>Wireframe`], [`Duncastle United Football Club are redesigning their web site. The About Duncastle United page should have a suitable heading followed by a paragraph summarising the history of the club. A photograph of the club stadium should be displayed next to a paragraph describing it's features and when it was built. At the bottom of the page there should be a photograph of the current manager and captain, and along the top of the page there should be links to 3 other pages on the website: Home, Squad and Shop.
Which of the following would be a suitable wireframe for the About Duncastle United page?
`]: [`

Which of the following could be used as Normal test data for the program shown above?
`]: [`abc123!`], [`
Which of the following HTML statements will display this picture on a web page with the dimensions as shown?
`]: [`
A working computer program is shown below:

Which of the following could be described as the Purpose of this program?
`]: [`The program should ask the user to enter their name, and then display the number of letters in their name`], [`A database stores information about Global Technologies Ltd.
The table Employee stores all of the company employees.
The table Department stores information about the different departments in the organisation.
Part of the information stored in each table is shown below.

Identify a suitable foreign key to link the Employee table to the Department table
`]: [`>Department ID`], [`
The design for EMPLOYEE and BRANCH database tables are shown above.
An SQL query is required to use an equi-join to display the names of all employees with the name of the branch in which they work. Which of the following shows the correct SQL query?
`]: [`
State the pre-defined function that has been used in the following program

Count the vector shapes in this image.

2 rectangles
3 ellipses
3 polygons
Duncastle United Football Club have designed a new website. During the analysis stage it was agreed that the home page should provide a brief history of the club with an image of the stadium, and provide links to player information and the club shop where supporters can be purchase replica kits and other items.

Which of the following is true?
`]: [`The website IS NOT fit for purpose`], [`An extract from two linked tables used by Duncastle Education Department is shown below.

A query should be designed to display all the Duncastle Academy students. The result should show their forename, surname and class in order of surname Z-A.
Which of the following shows the correct query design?
`]: [`
A 1-D array is used to store the daily temperature in Duncastle for 7 days as follows:

The temperature array is an array of type ____
What is the missing term?
`]: [`real`], [`The number 21763.221 is stored using floating point representation as 0.21763221 x 105
Identify the mantissa
`]: [`>21763221`], [`
The sample information provided for the OWNER entity above should be used to produce a data dictionary.
What information should be added at X and Y?

X: None, leave blank
Y: 8
`], [`What would be the expected output of the program shown below if the user entered 1200 for score 1 and 1400 for score 2?


How could the program code above be written in a more efficient way?
`]: [`Use a repeat loop`], [`The program below uses the running total in a loop algorithm to add together the ages of 100 people entered by the user.

Which of the following statements has been removed from line 4?
`]: [`
When the mouse pointer moves away from the image of a zebra on this web page, the image decreases in size.

Which JavaScript event has been used?
`]: [`onmouseout`], [`
The design for a CAR database table is shown above.
An SQL query is required to display the Make, Model and Colour of all of the cars in the table. The result should be sorted by Colour, in alphabetical order A-Z. Which of the following shows the correct SQL query?
`]: [`
DVLA use a database to store information about drivers and their cars.
The database consists of the following two tables.

An SQL query has been written to delete the car with registration HM20 6TP. Complete the missing SQL:
------ ---- ----
WHERE registration = "HM20 6TP";
An extract from two linked tables used by Puppy Power Dog Training is shown below.

A query should be designed to find any owners of dogs named 'Patch'. The result should show the owner surname and postcode.
Which of the following shows the correct query design?
`]: [`
During analysis, the purpose and functional requirements of a program are agreed as follows:
Purpose: A program should take as input the name of the user and then display whether the name has an odd or even number of letters.
Functional requirements:
Output from the finished program is shown below.

Which of the following is true?
`]: [`The program IS fit for purpose`], [`
The design for a CAR database table is shown above.
An SQL query is required to display the Registration of all Automatic cars with a Mileage below 20000. Which of the following shows the correct SQL query?
`]: [`

Which typed of error has occurred?
`]: [`Logic`], [`Duncastle United Football Club are designing a new website so that supporters can find out information about the team. There should be links from the home page to a results page, the league table page and a squad page. Every page should have a link to the club shop where supporters can be purchase replica kits and other items by adding them to a virtual basket and then visiting the online checkout.
Which of the following are functional requirements for this website?
What would be the expected output of the following pseudocode program if the user inputs are: add, 17, 4?

Ecosse Gaming have a database which stores information about their users and the results of any online games that they have played.
The database consists of the following two tables.

An SQL query is required to display all the User fields for users with username jamie101, blueberry or ZAKMAN.
Which SQL statement would produce the correct result?
`]: [`
An extract from the design of a program is shown below.

Lines 4 and 5 are A_________ statements. What is the missing term?
`]: [`>Assignment`], [`The ASCII code for the letter 'a' is 97. Which word would be represented by the following ASCII codes:
103 101 109`]: [`gem`], [`Which part of a computer system tells memory which memory location is being read from?
`]: [`Address bus`], [`Convert 108 to binary.
`]: [`01101100`], [`During evaluation, a website is said to be fit for purpose if:`]: [`it meets the end-user and functional requirements`], [`A program should calculate the average of 5 numbers entered by the user.
A structure diagram has been produced to solve this problem.

Identify the missing process marked (X).
`]: [`Add number to total`], [`Which of the following is the least important HTML heading tag?
`]: [`<h6>`], [`A file is made smaller so that it can be streamed more quickly. What is the technique of reducing the file size called?`]: [`>Compression`], [`DVLA are designing a database to store information about drivers and their cars. As part of the database design they are going to produce a data dictionary.

Some additional information:
What should go in the box marked B?
`]: [`>FK`], [`
Which part of this diagram of a computer system is shown coloured orange and blue?
`]: [`Buses`], [`Name the most suitable attribute type for the field Automatic in the CAR table.

DVLA are designing a database to store information about drivers and their cars. As part of the database design they are going to produce a data dictionary.

Some additional information:
What should go in the box marked C?
`]: [`>N`], [`An extract from the design of a program is shown below.

Identify a 1-D array of type string that has been used in the design.
`]: [`usernames`], [`An image has a resolution of 204800. What does this mean?`]: [`There are 204800 pixels in the image`], [`Which of the following is an advantage of external CSS?
`]: [`An external CSS rule can be applied to multiple web pages`], [`What would be the best size for Surname attribute?


What would be the expected output if the following SQL query was run on the DOG table shown above?


Greenhouse Gardening Services have designed a new website. During the analysis stage it was agreed that the site should include an online shop to allow customers to buy plants and flowers by clicking the Buy Now button on any product page. Each product page should also include the product name, description, image and price.

Which of the following is true?
`]: [`The website IS NOT fit for purpose`], [`The flow chart below shows the design of a computer program.

What would be output, if the user entered their first name as Anna, and last name as Lee?
`]: [`>Lee-Anna`], [`Which is the most important (largest) HTML heading tag?`]: [`>h1`], [`Which of the following is a binary number?
`]: [`
Scottish Athletics are designing a database to hold details of all Scottish running clubs and their member runners.
Which of the following might be an end-user requirement for this database?
`]: [`Option to sort all runners by their number of race wins (highest to lowest)`], [`
What is the output from this program?
`]: [`11`], [`Convert the binary number 00011111 to denary`]: [`>31`], [`State one logical operator used in the following program code.

Andrew writes the following CSS class called intro:

He uses the intro class to style the following HTML paragraph element:

Identify the HTML code that has been removed.
`]: [`>intro`], [`A computer stores a word using extended ASCII codes to represent each character. The word is stored as 01100011 01101111 01100100 01100101.
What is the word?
`]: [`>code`], [`Wagtail Dog Walking Services are designing a new website. The site should have a link from the home page to a Prices page listing the different services available. Customers should be able to send a message to Wagtail by clicking a button on the Prices page. The home page will show photographs of customer dogs being walked and customers will have the option to purchase photos by adding them to a virtual basket. In order to purchase photographs, users must be logged in to the site, and there should be a sign up / login button at the top of every page.
Which of the following are functional requirements for this website?
Which of the following should be checked when testing a web page?
State the type of loop shown in the design below.

Global Technologies Ltd use a database to store details of their employees. An extract of the Employees table is shown below:

Identify a suitable primary key for the employee table
`]: [`>Employee ID`], [`When the mouse pointer moves over the image of a tiger on this web page, it changes to the picture of a lion.

Which type of coding has been used?
`]: [`JavaScript`], [`A program asks the user to enter their forename. The program checks to see if the forename contains 10 or more characters and if it does it displays an error message. The program then repeatedly asks the user to enter their forename until they enter a forename of less than 10 characters.
What is the name of the standard algorithm which is used to carry out this functionality?
`]: [`>Input validation`], [`What is a sketch of a web page that includes actual text and sketches of images and videos known as?
`]: [`Low-level prototype`], [`
Which type of validation is shown in this example?
`]: [`Restricted choice check`], [`The website below was tested.

Why did it fail?
`]: [`Inconsistent use of fonts`], [`An extract from the design of a program is shown below.

State the output when the variable score stores the value 220.
`]: [`>Win`], [`Which of the following is true.
The lower the sample rate of a song, it will have:
`]: [`worse audio quality, smaller file size`], [`Duncastle United Football Club are designing a new database to record details of season ticket holders. Office staff should be able to add supporters to, and delete supporters from the system, and update their details as required. It should be possible to search for a season ticket holder by surname, output all season ticket holders sorted by seat number, and show the details of all season ticket holders with tickets in a specific section of the stadium.
Which of the following are functional requirements for this database?

The design for a STUDENT database table is shown above.
An SQL query is required to display the Forename, Surname and Class of all of the students in the table. Which of the following shows the correct SQL query?
`]: [`
An extract from the design of a program is shown below.

Identify a 1-D array that has been used in the design.
`]: [`test_scores`], [`Which of the following HTML statements will display a hyperlink to the site letsachieve.co.uk?
`]: [`
State the type of CSS which has been used below:


What would be the expected output if the following SQL query was run on the DOG table shown above?


During analysis, the purpose and functional requirements of a program are agreed as follows:
Purpose: A program should ask the user to enter 3 numbers and display the total of those numbers.
Functional requirements:
Output from the finished program is shown below.

Which of the following is true?
`]: [`The program IS fit for purpose`], [`From the ERD shown, how can the relationship between CAT and OWNER be described?

An extract from a computer program is shown below.

Name the part of the processor which will calculate the value of total.
`]: [`ALU`], [`What is the CSS property used to set the background colour?
`]: [`background-color`], [`Which of the following statements about GIF files are true?
What kind of loop is used to repeat a block of code a specific number of times?
`]: [`>Fixed loop`], [`Which data type would be used to store the following value: 'z'`]: [`>Character`], [`A program should ask the user to enter 10 different ratings for a local restaurant as integers between 1 and 5. It should calculate and display the lowest, highest and average rating for the restaurant.
Which of the following would be an output from this program?
`]: [`average rating`], [`In database design, what is the name for an item of information that relates to particular entity?`]: [`>Attribute`], [`Identify the output marked 'Y' in the following flow chart.

What would be the expected output of the following pseudocode program if the user inputs are: 6, 3?

Which line of the program below contains a syntax error?

Name the type of addressing used in the following HTML statement.

Grant runs an online shop. He is designing a database to store information about his customers. He wants to ensure that the customer's email address is always entered when creating their record.
What type of validation should Grant apply to the 'email address' field?
`]: [`>Presence check`], [`An extract from the design of a program is shown below.

Identify a boolean variable that has been used in the design.
`]: [`win`], [`Which of the following is an example of the real data type?`]: [`4.00`, `3.75`], [`An extract from two linked tables used by Duncastle Education Department is shown below.

A query is required to display the school and postcode for any school with a roll more than 500 but under 1000 students.
Which of the following shows the correct query design?
`]: [`
A program asks the user to enter their age, and continues to ask them to enter their age until they enter a number between 5 and 105.
What is the name of the standard algorithm which is used to carry out this functionality?
`]: [`>Input validation`], [`Which CSS rule has been applied to the paragraph on the web page shown below?


Which of the following could be used as Extreme test data for the program shown above?
`]: [`3`], [`Which of the following are the rights of an individual under GDPR?

Name the method (Z) which has been used to make the program code more readable.
`]: [`Meaningful variable names`], [`How many elements can a CSS id selector style on a single web page?
`]: [`Only 1`], [`DVLA are designing a database to store information about drivers and their cars. As part of the database design they are going to produce a data dictionary.

Some additional information:
What should go in the box marked F?
`]: [`Restricted choice: list of 12 colours`], [`A program should display the result of a random coin toss 5 times. The design for this program is shown below.

Which of the following statements have been removed from line 2?
`]: [`
Wagtail Dog Walking Services have designed a new website. During the analysis stage it was agreed that the site should have a link from the Home page to a Book Now page to let customers book their dog in for a walk, and a link to a Contact page. Other than these links, the Home page should show only the name of the company and photographs of dogs.

Which of the following is true?
`]: [`The website IS fit for purpose`], [`A program should ask the user to enter a test score and display a message using the following rules:
The program design is shown in the following flow chart.

Identify the decision marked 'X'.
`]: [`test score >= 16?`], [`DVLA are designing a database to store information about drivers and their cars.
Which of the following would NOT be a functional requirement for this database?
`]: [`An entity-relationship diagram will be used to design the tables and their relationships`], [`Lily clicks a hyperlink on a web page which takes her to a webpage on a completely different website. Name the type of hyperlink which Lily has clicked.`]: [`>External`], [`Name one attribute shown in this entity relationship diagram


How could the program code above be written in a more efficient way?
`]: [`Use an array`], [`
Suggest a suitable primary key for the EMPLOYEE table.
`]: [`National Insurance Number`], [`Which part of a computer system compares numbers e.g. 5 > 4?
`]: [`ALU`], [`State the pre-defined function that has been used in the following program

During analysis, the purpose and functional requirements of a program are agreed as follows:
Purpose: A program should take as input the name of the user, and then display whether the name has an odd or even number of letters.
Functional requirements:
Output from the finished program is shown below.

Which of the following is true?
`]: [`The program IS NOT fit for purpose`], [`
A program is required to generate a random number between 1 and 100.
The statement above describes the _______ of a software development problem.
What is the missing term?`]: [`Purpose`], [`
Which type of validation is shown in this example?
`]: [`Range check`], [`Name the standard algorithm that has been used in the following program

The pseudocode design for a program is shown below.

When run, the program produces the following output:

Which of the following statements have been removed from line 13?
`]: [`
Wagtail Dog Walking Services are designing a new database. The office staff should be able to add and delete owner and dog records. They should also be able to update dog records with the date of their last booster injection, sort all dogs alphabetically by breed, and output all owners along with their contact telephone numbers.
Which of the following are end-user requirements for this database?
Three different HTML heading tags have been used to produce the page shown below.

The following code was used to create the page.

Identify the HTML tag that has been removed.
`]: [`>h1`], [`Name the standard algorithm that has been used in the following program

Stephen has downloaded a photograph from another website and has published it on the home page of his own website withoiut seeking permission.
Which act has Stephen not complied with in publishing the photograph on his own website?
`]: [`>Copyright, Designs and Patents Act`], [`John writes a program to calculate the fuel consumption for a car on a journey. He writes notes above each block of code explaining what it does so that he can understand it at a later date.
What technique has John used?
`]: [`Internal commentary`], [`What is the term to used describe every foreign key in a table linking to a primary key in a related table`]: [`>Referential integrity`], [`Greenway Gardening have designed a website with the following pages:
Additional information:
Which of the following correctly shows the navigational structure of the website?
`]: [`
State the CSS selector used in the following code

How many elements can a CSS class selector style on a single web page?
`]: [`Multiple`], [`An extract from the design of a program is shown below.

State the output when the variables hold the following values
Which line of the program below contains a syntax error?

During analysis, the purpose and functional requirements of a program are agreed as follows:
Purpose: A program should ask the user to generate 2 random numbers between 1 and 6, and multiply them together.
Functional requirements:
The finished program is shown below.

Which of the following is true?
`]: [`The program IS fit for purpose`], [`The following HTML shows the basic structure of a web page. Identify the HTML tag that has been removed.

Name the standard algorithm that has been used in the following program

The wireframe for a computer program is shown below.

Which part of the user-interface design is labelled with an 'X'?
`]: [`Computer prompt`], [`State the ASCII code for the upper case letter A
`]: [`>65`], [`Ahmed purchases a new TV online. He pays for the TV by entering his credit card details which are sent to the online store.
What security precaution have the store put in place to ensure that Ahmed's bank details are not accessed by anyone else?
`]: [`>Encryption`], [`Raheem has written HTML to play an mp4 video file of an interview with a Scottish author on his web page. The following code was used to embed the video on the page.

Identify the HTML code that has been removed.
`]: [`>type`], [`An extract from the design of a program is shown below.

Identify a string variable that has been used in the design.
`]: [`winning_message`], [`Which of the following is the most important HTML heading tag?
`]: [`<h1>`], [`Sam has written HTML to display the image of a panda on her web page. The following code was used to show the image.

Identify the HTML tag that has been removed.
`]: [`>img`], [`Name the security system which monitors network traffic and uses a set of rules to decide if a message can pass or is blocked
`]: [`Firewall`], [`A program should calculate the total of 100 numbers entered by the user.
A structure diagram has been produced to solve this problem.

Identify the missing process marked (X).
`]: [`Get number`], [`An extract from the design of a program is shown below.

Identify a 1-D array of type string that has been used in the design.
`]: [`category`], [`Name the standard algorithm that has been used in the following program

The pseudocode design for a program is shown below.

When run, the program produces the following output:

Which of the following statements have been removed from line 13?
`]: [`
A program is needed to calculate the average and highest rainfall over 3 months. A possible interface for the program is shown below:

Which of the following is an input to the program?
`]: [`Month 1 rainfall`], [`A program should ask the user to enter 10 different ratings for a local restaurant as integers between 1 and 5. It should calculate and display the lowest, highest and average rating for the restaurant.
What are the inputs for this program?
`]: [`10 ratings between 1 and 5`], [`Name the HTML tag used to link to external CSS files
`]: [`>link`], [`Harry clicks a hyperlink on a web page which takes him to another page on the same site. Name the type of hyperlink which Harry has clicked.`]: [`>Internal`], [`Scottish Athletics are designing a database to hold details of all Scottish running clubs and their member runners. As part of the database design, Scottish Athletics are going to produce a data dictionary.

What should go in the box marked B?
`]: [`>FK`], [`Which of the following is true.
The lower the colour depth of an image, it will have:
`]: [`less colours and a smaller file size`], [`A program is needed to calculate the weekly wage of a company's employees. A possible interface for the program is shown below:

Which of the following are processes that will be carried out by the program?
What will be displayed when this program has been run?


The design for a CAR database table is shown above.
An SQL query is required to display the Make and Model of all cars with a mileage below 500. Which of the following shows the correct SQL query?
`]: [`
What would be the expected output of the following pseudocode program?

Which of the following statements about WAV files are true?
An extract from the design of a program is shown below.

Identify a 1-D array of type Boolean that has been used in the design.
`]: [`has_pool`], [`The rectangle below is stored as a vector graphic.

Which of the following is NOT an attribute of the object
`]: [`Perimeter`], [`During which stage of the software development process is the program reviewed to check that it is fit for purpose?`]: [`>Evaluation`], [`When the mouse pointer moves away from the multicoloured word on this web page, the text becomes black.

Which type of coding has been used?
`]: [`JavaScript`], [`An extract from the design of a program is shown below.

Identify an integer variable that has been used in the design.
`]: [`score`], [`
How could the program code above be written in a more efficient way?
`]: [`Use complex instead of simple conditions`], [`The following program uses the running total within a loop algorithm to total 5 numbers entered by the user. What code has been blanked out?

An extract from the design of a program is shown below.

State the data type of the variable code_1.
`]: [`>Character`], [`Why is the software development process said to be iterative?
`]: [`Each stage can be revisited`], [`An extract from the design of a program is shown below.

Identify a real variable that has been used in the design.
`]: [`total_price`], [`Faye wants to write a CSS class selector named header-block.
Which of the following is the correct way to write the class selector?
`]: [`.header-block`], [`An extract from the design of a program is shown below.

State the output when the variables hold the following values:
Ecosse Gaming have a database which stores information about their users and the results of any online games that they have played.
The database consists of the following two tables.

An SQL query is required to display the username and password for all users.
Which SQL statement would produce the correct result?
`]: [`
Keira writes the following CSS rule to left align all paragraph elements.

Identify the two characters that have been removed.
`]: [`>{ and }`], [`Sammy writes a program which takes two numbers as input, multiplies them and displays the result.
Sammy runs the program, enters 6 and 5 and the program displays the result as 32.
State the type of error that has occurred.
`]: [`>Logic error`], [`Which of the following is an example of a 1-D array data structure?`]: [`[1, 2, 7, 4]`], [`Charlie creates the follwing HTML hyperlink.

Which of the following statements describes Charlie's hyperlink?
`]: [`It is a link to a different section on the same page, with the id about-me`], [`When drawing a flow chart, which shape is used to show a decision?`]: [`
CSS is used to style HTML as shown below.

Which of the following shows the resulting web page?
`]: [`
Which of the following is the correct way to write internal CSS?
`]: [`
What would be the expected output of the following pseudocode program?

Which of the following diagrams shows the EMPOLOYEE and BRANCH tables correctly linked?
`]: [`
DVLA are designing a database to store information about drivers and their cars. As part of the database design they are going to produce a data dictionary.

Some additional information:
What should go in the box marked D?
`]: [`>8`], [`The ASCII code for the letter 'a' is 97. Which word would be represented by the following ASCII codes:
99 97 102 101
`]: [`cafe`], [`State the value of total after this program has been run.

Which of the following is an advantage of internal CSS over external CSS?
`]: [`Easier to work with - CSS is on same page as HTML`], [`What is the purpose of CSS?
`]: [`Define how HTML elements should be displayed`], [`In database design, what is the name for an object about which the database will store information?`]: [`>Entity`], [`State the value of result after this program has been run.

A 1-D array is used to store items on a grocery list as follows:

The groceries array is an array of type ____
What is the missing term?
`]: [`string`], [`A program should ask the user to enter their age between 18 and 65.
Identify all of the rows in the following test table which show Exceptional test data.

Name the HTML tag used to display an ordered list item on a web page
`]: [`>li`], [`Which of the following show a Low-fidelity Prototype for a web page design?
`]: [`
Name one Runner attribute shown in this entity relationship diagram

Harry has uses an external CSS file "my-style.css" to style the HTML on a web page. Harry has written the following HTML to link the external CSS file to his web page:

Identify the HTML code that has been removed.
`]: [`>stylesheet`], [`When the mouse pointer moves away from the word Goodbye on this web page, the word changes colour and becomes Hello.

Which JavaScript event has been used?
`]: [`onmouseout`], [`
What would be the expected output if the following SQL query was run on the SCHOOLS table shown above?



What would be the expected output if the following SQL query was run on the DOG table shown above?


The Caledonia Marathon organisers use a database to store details of runners entered in the race. An extract of the Runners table is shown below:

State the attribute type that would be most suitable for the Mobile field
`]: [`>Text`], [`The number 0.00216 is stored using floating point representation.
Identify the mantissa and exponent.
`]: [`Mantissa: 216Harry has uses an external CSS file "my-style.css" to style the HTML on a web page. Harry has written the following HTML to link the external CSS file to his web page:

Identify the HTML code that has been removed.
`]: [`>my-style`], [`Which of the following statements about GIF files are true?
An extract from two linked tables used by Puppy Power Dog Training is shown below.

A query is required to display the name, age and breed of all dogs who are 6 or older.
Which of the following shows the correct query design?
`]: [`
An extract from the design of a program is shown below.

State the value of the variable score as soon as the assignment statement has completed.
`]: [`>0`], [`A program is required to take as input the length and breadth of a wall that is to be painted. If the area of the wall is more than 16 square metres, a message should be displayed to say another tin of paint is needed. If the area is 16 square metres or less, a message should be displayed to say that one tin of paint is sufficient.
Part of the pseudocode design is shown below.

Which of the following show the correct pseudocode needed for this problem?
`]: [`
The number 21763.221 is stored using floating point representation as 0.21763221 x 105
Identify the exponent
`]: [`>5`], [`A song is sampled at a sample rate of 48000 Hz. What does this mean?`]: [`The song is sampled 48000 times every second`], [`Convert 98 to binary.
`]: [`01100010`], [`Ecosse Gaming have a database which stores information about their users and the results of any online games that they have played.
The database consists of the following two tables.

An SQL query is required to display the score and account type for all games lasting more than 30 minutes.
Which SQL statement would produce the correct result?
`]: [`
DVLA use a database to store information about drivers and their cars.
The database consists of the following two tables.

An SQL query has been written to show the name and address of all drivers who own a white car. Complete the missing SQL:
SELECT name, address
FROM Car, Driver
----- ----------------- = Driver.licenceNumber
AND colour = "White";

What would be the expected output if the following SQL query was run on the SCHOOLS table shown above?



Identify two CSS selectors used in the code above?
`]: [`div and h2`], [`Which data type would be used to store the following value: False`]: [`>Boolean`], [`Ecosse Gaming have a database which stores information about their users and the results of any online games that they have played.
The database consists of the following two tables.

An SQL query is required to add a new Premium user with username gamerLucy, password LC19&40.
Which SQL statement would produce the correct result?
`]: [`
A program should accept two numbers as input, and output which number is bigger or whether they are equal.
A structure diagram has been produced to solve this problem.

Identify the missing process marked (X).
`]: [`Display number 2 is bigger`], [`During which stage of the software development process is it identified what it is that the program is meant to do?`]: [`>Analysis`], [`A program is needed to calculate the weekly wage of a company's employees. A possible interface for the program is shown below:

Which of the following is an output from the program?
`]: [`Total pay`], [`Which of the following is an advantage of an interpreter over a compiler?`]: [`Debugging is easier because errors are reported as each line is interpreted`], [`In programming, what is the term for joining two or more strings together?`]: [`>Concatenation`], [`Which of the following should NOT be included on a wireframe for a website design?
`]: [`actual text to be used`], [`Scottish Athletics are designing a database to hold details of all Scottish running clubs and their member runners. Extracts from the Runner and Running Club tables are shown below.
A query is required to display the name of every amateur runner who has won a race. The query result should show the runner name, number of wins and their club name, and should be ordered by the number of wins with the greatest number of wins appearing first.
Which of the following is the correct query design?
`]: [`
Name an attribute shown in this Entity Relationship Diagram.

What would be the expected output of the program shown below if the user entered 101?

Pavrati has written a program to calculate the area of different 2D shapes. When she tries to run the program she sees the following error message:
unknown command: ifff shape == "square":
State the type of error that has occurred.
`]: [`>Syntax error`], [`What is the user-interface design for a program known as?
`]: [`>Wireframe`], [`Scottish Athletics are designing a database to hold details of all Scottish running clubs and their member runners. As part of the database design, Scottish Athletics are going to produce a data dictionary.

What should go in the box marked D?
`]: [`>Y`], [`A program is needed to display film recommendations. A possible interface for the program is shown below:

Which of the following shows the correct output from the program?
`]: [`
DVLA use a database to store information about drivers and their cars.
The database consists of the following two tables.

An SQL query has been written to change the colour of the car with registration BM59 KRD to green. Complete the missing SQL:
UPDATE Car
-- ------ - -------
WHERE registration = "BM59 KRD ";
The program below uses input validation.

Which of the following represent the program outputs for inputs 0, 1, 2 and 21?
`]: [`

Which typed of error has occurred?
`]: [`Logic`], [`
What will be displayed on a web page using this HTML code?
`]: [`
How many different heading sizes does HTML support?
`]: [`6`], [`
Which type of error will occur when the program above is run?
`]: [`Logic`], [`The number 0.00035981 is stored using floating point representation as 0.35981 x 10-3
Identify the mantissa
`]: [`>35981`], [`The resolution of a bit-mapped graphic is...?
`]: [`The total number of pixels`], [`Ecosse Gaming have a database which stores information about their users and the results of any online games that they have played.
The database consists of the following two tables.

An SQL query is required to display the gameID, platform and duration for all games that were played in under 10 minutes.
Which SQL statement would produce the correct result?
`]: [`
Identify one line number from the program code below which uses concatenation.

Complete the sentence below by identifying the missing term
Tables in a relational database are linked by matching the ******* *** from one table to the primary key in a related table
`]: [`>foreign key`], [`DVLA are designing a database to store information about drivers and their cars. As part of the database design they are going to produce a data dictionary.

Some additional information:
What should go in the box marked A?
`]: [`>PK`], [`
Which typed of error has occurred?
`]: [`Execution`], [`The flow chart below shows a program designed to ask the user to enter their password. They can have up to 3 attempts to enter the correct password (A5txp4) before they see an 'access denied' message.

Identify the input marked 'X'
`]: [`get password`], [`Identify the output marked 'Z' in the following flow chart.


Which of the following HTML statements will display this list on a web page?
`]: [`
What would be the expected output of the program shown below if the user entered "gold" for loyalty card and 35 for bill?


The program above is run, and produces the output shown below.

Which of the following statements have been removed from line 4?
`]: [`

The design for a STUDENT database table is shown above.
An SQL query is required to insert a record for a new student, John Brady, who will join class 2X3. Which of the following shows the correct SQL query?
`]: [`
A program should calculate the average of 5 numbers entered by the user.
A structure diagram has been produced to solve this problem.

Identify the missing component marked X.
`]: [`

Suggest a suitable primary key for the DOG table.
`]: [`Microchip Reference`], [`
The sample information provided for the OWNER entity above should be used to produce a data dictionary.
What information should be added at X and Y?

X: Text
Y: 11
`], [`Which of the following CSS rules will set the colour of all div elements to green?
`]: [`
Muhammad has written HTML to display a photograph of his cat Simba on his web page. The following code was used to show the image.

Identify the HTML code that has been removed.
`]: [`>alt`], [`A line is stored as a vector graphic. Which of the following is NOT an attribute of the object
`]: [`Radius`], [`Name an entity shown in this Entity Relationship Diagram.


The program above is run, and produces the output shown below.

Which of the following statements have been removed from line 4?
`]: [`
A 1-D array of type String is used to store the names of basketball teams:

State the output of the following code:

Which of the following statements about MP3 files are true?
DVLA use a database to store information about drivers and their cars.
The database consists of the following two tables.

An SQL query has been written to display the registration and mileage for all cars in the database sorted by mileage from lowest to highest. Complete the missing SQL:
SELECT registration, mileage
FROM Car
-------- mileage ASC;
Name the type of addressing used in this HTML example.


What would be the expected output if the following SQL query was run on the SCHOOLS table shown above?


Which of the following best describes a compiler?
`]: [`translates the entire source code program to object code in one go`], [`Catwalk Clothing Store have designed a website with the following pages:
Additional information:
Which of the following correctly shows the navigational structure of the website?
`]: [`
What would be the expected output of the program shown below if the user entered "Portugal" for country and "summer" for season?

State the value of result after this program has been run.

When the mouse pointer moves over the word Hello on this web page, the word changes colour and becomes Goodbye.

Which JavaScript event has been used?
`]: [`onmouseover`], [`An extract from the design of a program is shown below.

State the output when the variables hold the following values
The ASCII code for the letter 'a' is 97. Which word would be represented by the following ASCII codes:
104 101 108 108 111
`]: [`hello`], [`During the analysis stage, a clear indication of what the program is meant to do is identified. What is this known as?`]: [`>The purpose`], [`Which type of CSS has been used below?

Which part of a computer system carries data from the processor to be stored in memory?
`]: [`Data bus`], [`The web page below makes use of the following HTML tags: <h1> <h3> <h4> <p> <img>

Identify the page element which uses the <h3> tag.
`]: [`Option D`], [`Which audio format uses lossy compression, removing very high and very low frequencies to reduce the file to around one tenth of its original size?`]: [`>MP3`], [`Which of the following should be tested in terms of consistency on a web page?

What would be the expected output if the following SQL query was run on the SCHOOLS table shown above?



The sample information provided for the DOG entity above should be used to produce a data dictionary.
What information should be added at X and Y?

X: Number
Y: 12
`], [`An extract from the design of a program is shown below.

Identify a real variable that has been used in the design.
`]: [`bonus`], [`DVLA use a database to store information about drivers and their cars.
The database consists of the following two tables.

An SQL query has been written to display the licence number and name for all drivers. Complete the missing SQL:
------ licenceNumber, name
FROM Driver;
During analysis, the purpose and functional requirements of a program are agreed as follows:
Purpose: A program should ask the user to generate 2 random numbers between 1 and 6, and multiply them together.
Functional requirements:
The finished program is shown below.

Which of the following is true?
`]: [`The program IS NOT fit for purpose`], [`What would be the expected output of the program shown below if the user entered 7, 9, 3, 999?

HTML has been used to produce the following web page:

The HTML is shown below.

Identify the HTML tag that has been removed.
`]: [`>div`], [`
Which of the following could be used as Normal test data for the program shown above?
`]: [`4`], [`Which of the following best describes the Analysis stage of the software development process?
`]: [`Identify what the program is meant to do`], [`Which of the following statements about the control unit is true?`]: [`It manages the flow of data around the computer`], [`The program below traverses an array of test scores and displays any test score which is greater than 50.

Which of the following statements has been removed from line 3?
`]: [`

What would be the expected output if the following SQL query was run on the DOG table shown above?


A program is needed to calculate the weekly wage of a company's employees. A possible interface for the program is shown below:

Which of the following is a process which will be carried out by the program?
`]: [`Input validation of pay grade`], [`During analysis, the purpose and functional requirements of a program are agreed as follows:
Purpose: A program should ask the user to enter 3 numbers and display the total of those numbers.
Functional requirements:
Output from the finished program is shown below.

Which of the following is true?
`]: [`The program IS NOT fit for purpose`], [`Grant runs an online shop selling T-shirts. He is designing a database to store information about each order. When creating an order record, he wants the 'size' field to offer the following options: Small, Medium or Large.
What type of validation should Grant apply to the 'size' field?
`]: [`>Restricted choice check`], [`An extract from two linked tables used by Duncastle Education Department is shown below.

A query should be designed to find all of the schools in the town of Duncastle. The result should show the school and roll, and be ordered by roll, starting with the largest.
Which of the following shows the correct query design?
`]: [`

The design for EMPLOYEE and BRANCH database tables are shown above.
An SQL query is required to use an equi-join to display the names of all employees who work in the High Street branch. Which of the following shows the correct SQL query?
`]: [`
A program should display a message to say whether or not a 12A film is suitable for a child to view. The film is suitable if:
A structure diagram has been produced to solve this problem.

Identify the missing condition marked (X).
`]: [`Is child age >= 12?`], [`Which of the following is an example of the character data type?`]: [`'?'`, `'a'`], [`State the programming keyword which is used for making a selection.
`]: [`>IF`], [`Identify the output marked 'X' in the following flow chart.


What would be the expected output if the following SQL query was run on the DOG table shown above?


Scottish Athletics are designing a database to hold details of all Scottish running clubs and their member runners.
Which of the following would NOT be a functional requirement for this database?
`]: [`Query designs will be produced for all queries on the RUNNER table`], [`DVLA use a database to store information about drivers and their cars.
The database consists of the following two tables.

An SQL query has been written to show the name and address of all drivers who own a white car. Complete the missing SQL:
SELECT name, address
FROM Car, Driver
WHERE Car.licenceNumber = Driver.licenceNumber
--- ------ - -------;
Convert 35 to binary.
`]: [`00100011`], [`
How could the program code above be written in a more efficient way?
`]: [`Use an array`], [`Which of the following HTML statements link to the external style sheet style.css?
`]: [`
Ecosse Gaming have a database which stores information about their users and the results of any online games that they have played.
The database consists of the following two tables.

An SQL query is required to display the gameID, username, platform and duration for all games played on a PC for longer than 20 minutes.
Which SQL statement would produce the correct result?
`]: [`
State the pre-defined function that has been used in the following program

What would be the expected output of the program shown below if the user entered "none" for loyalty card and 10 for bill?

Name the standard algorithm that has been used in the following program

A computer program asks the user to enter a username with between 4 and 8 characters.
Which of the following would be suitable as exceptional test data?
`]: [`mikey_101`], [`When drawing a structure diagram, which shape is used to show a pre-defined function?`]: [`
State the CSS selector used in the following code

Which of the following are attributes which describe a vector shape?
The pseudocode design for a program is shown below

Which of the following are possible outputs from this program?
`]: [`Hello and Hi`], [`The flow chart below shows a program designed to ask the user to enter their password. They can have up to 3 attempts to enter the correct password (A5txp4) before they see an 'access denied' message.

Identify the process marked 'Y'
`]: [`add 1 to tries`], [`State the word which X has replaced in the following diagram.


The design for a STUDENT database table is shown above.
An SQL query is required to delete all students in class 2X3 from the table. Which of the following shows the correct SQL query?
`]: [`

What would be the expected output if the following SQL query was run on the DOG table shown above?



What is the output from this program?
`]: [`8`], [`Scottish Athletics are designing a database to hold details of all Scottish running clubs and their member runners. Extracts from the Runner and Running Club tables are shown below.

A query is required to display all pro runners who have won more than 1 race. The result should show the runner name, number of wins and club name.
Which of the following is the correct query design?
`]: [`

Which of the following HTML statements will display this list on a web page?
`]: [`

What would make the program code above more readable?
`]: [`Meaningful variable names`], [`In a computer system, What does ALU stand for?
`]: [`Arithmetic and Logic Unit`], [`
Which of the following HTML statements will display this picture on a web page?
`]: [`
What is the result of Condition 1 OR Condition 2 if:
Greenhouse Gardening Services are designing a database for their business. Which of the following are entities that might be a part of the database design?
What value will the variable result store once this program has been run?

Greenhouse Gardening Services are designing a database for their business. Which of the following are attributes that might be a part of the database design?
An extract from the design of a program is shown below.

State the data type of the variable lives.
`]: [`Integer`], [`An image is compressed and none of the original data has been lost. What kind of compression has been applied?`]: [`>Lossless`], [`Which graphic file format uses lossy compression and is commonly used to store photographs?`]: [`>jpg`], [`The ASCII code for the letter 'a' is 97. Which word would be represented by the following ASCII codes:
100 101 101 114
`]: [`deer`], [`During analysis the functional requirements are identified. The functional requirements are the inputs, outputs and what?`]: [`>Processes`], [`State the output after this program has been run with the user input 3.4.


The design for a CAR database table is shown above.
An SQL query is required to display the Registration and Mileage of all of the cars in the table. The result should be sorted by Mileage, showing the cars with the highest mileage first. Which of the following shows the correct SQL query?
`]: [`

What would make the program code above more readable?
`]: [`Indentation`], [`Which data type would be used to store the following value: 301`]: [`>Integer`], [`Jo connects her private network to the Internet, but is worried that someone might gain unauthorised access to her network.
What is the name of the sofware or hardware solution that Jo can set up to protect her network?`]: [`>Firewall`], [`Ecosse Gaming have a database which stores information about their users and the results of any online games that they have played.
The database consists of the following two tables.

An SQL query is required to update the score for gameID 10209 to 100.
Which SQL statement would produce the correct result?
`]: [`
State the type of loop shown in the design below.


What would be the expected output if the following SQL query was run on the DOG and OWNER tables shown above?


Wagtail Dog Walking Services are designing a new database. The office staff should be able to add and delete owner and dog records. They should also be able to update the address and mobile number on an existing owner record, sort all dogs alphabetically by breed, and output all dogs in the database along with their owner contact number.
Which of the following are end-user requirements for this database?
Which of the following CSS rules will set the background colour of all h1 elements to gold?
`]: [`

Name the type of addressing used in this HTML example.

Which part of a computer system stores data and instructions being used by the CPU?
`]: [`Register`], [`An extract from the design of a program is shown below.

What will the output from the program be when it reaches line 16?
`]: [`####Duncastle Medical Practice are designing a database for their business. Which of the following are attributes that might be a part of the database design?
Jayne is writing a program which involves firing missiles at UFOs. The UFOs which should appear at the left hand side of the screen and fly over to the right.
When Jayne runs her program she finds that the UFO first appears at the right hand side of the screen and flies down instead of left.
State the type of error that has occurred.
`]: [`>Logic error`], [`The ASCII code for the letter 'a' is 97. Which word would be represented by the following ASCII codes:
98 97 99 111 110
`]: [`bacon`], [`What is the name of the styling language that is used to define how HTML elements should be displayed?`]: [`>CSS`], [`Which of the following best describes the Implementation stage of the software development process?
`]: [`Write the program`], [`
The program above is run, and produces the output shown below.

Which of the following statements have been removed from line 4?
`]: [`
DVLA are designing a database to store information about drivers and their cars. As part of the database design they are going to produce a data dictionary.

Some additional information:
What should go in the box marked H?
`]: [`> = 1/1/1900`], [`In which way is each pixel in a bitmapped graphic stored?
`]: [`Binary value`], [`Which of the following CSS rules will set the font of all h5 elements to Arial, size 12px?
`]: [`
The pseudocode design for a program is shown below

Which of the following are possible outputs from this program?

The Caledonia Marathon organisers use a database to store details of runners entered in the race. An extract of the Runners table is shown below:

Identify a suitable primary key for the runners table
`]: [`>Bib Number`], [`State the output after this program has been run with the user input 9.2.


The sample information provided for the OWNER entity above should be used to produce a data dictionary.
What information should be added at X?

What kind of loop is shown in this program?

State the ASCII code for the lower case letter a
`]: [`>97`], [`What would be the expected output of the program shown below if the user entered "France" for country and "summer" for season?

Harmony adds a hyperlink to her web page using the following HTML code:

State the type of addressing that Harmony has used.
`]: [`>absolute`], [`State the pre-defined function that has been used in the following program

Which of the following is the HTML tag used to embed the file song.mp3 on a web page?
`]: [`audio`], [`Siobhan writes the following CSS rule to set the text colour of all paragraph elements to dodger blue.

Identify the CSS code that has been removed.
`]: [`>color`], [`An extract from a computer program is shown below:

Name the part of the processor which will evaluate the comparison in line 3
`]: [`>ALU`], [`Which type of validation should be used on a DRIVER table to ensure that the driver's licence number is always entered?
`]: [`Presence check`], [`An extract from the design of a program is shown below.

State the output when the variable colour stores the value 'green'.
`]: [`>Not primary`], [`Ecosse Gaming have a database which stores information about their users and the results of any online games that they have played.
The database consists of the following two tables.

An SQL query is required to delete the user jamie101.
Which SQL statement would produce the correct result?
`]: [`
Andy wants to ensure that his home computer network is protected against unathorised access.
What should Andy use to protect his network?
`]: [`>Firewall`], [`An extract from the design of a program is shown below.

State the output when the variables hold the following values:
The wireframe for a computer program is shown below.

Which part of the user-interface design is labelled with a 'Z'?
`]: [`Computer output`], [`
How could the program code above be written in a more efficient way?
`]: [`Use an if statement that exits when the condition is met`], [`What would be the best size for Mobile attribute?

Name one foreign key shown in this entity relationship diagram

Which of the following is true.
The higher the colour depth of an image, it will have:
`]: [`more colours and a larger file size`], [`Where is internal CSS stored?
`]: [`In the head section of a web page`], [`DVLA are designing a database to store information about drivers and their cars. Extracts from the Car and Driver tables are shown below.

A query is required to display the driver name, colour, make and model of all red Ford cars.
Which of the following is the correct query design?
`]: [`
Which of the following is true.
The higher the resolution of an image is, it will have:
`]: [`better image quality, larger file size`], [`What is the result of NOT(Condition 1) if Condition 1 is True?
`]: [`>False`], [`Which of these statements best describes the Purpose of a software development problem?
`]: [`Given a problem, identify what a program is meant to do`], [`Under GDPR, which of the following must businesses do?
In which pairings are BOTH elements diatomic?
`]: [`Nitrogen and hydrogen`], [`What is the typical valency of elements in Group 7?
`]: [`1`], [`Which of the following is NOT the correct structure for 2-methyloct-2-ene?
`]: [`
What is the gram formula mass (GFM) of calcium phosphate?
`]: [`310`], [`What does the 3+ in Al3+ represent?
`]: [`It has lost 3 electrons`], [`The volume of gas collected over 6 minutes was 30 cm3. What are the units for the average rate of reaction?
`]: [`cm3 min-1`], [`Why do ionic compounds not conduct electricity as a solid?
`]: [`They have charged particles, but they are not free to move`], [`Which material is most effective at stopping gamma rays?
`]: [`A thick layer of lead / concrete`], [`Which of the following shortened structural formulas does not belong to the same homologous series as the others?
`]: [`CH2CHCH3`], [`What is the shape of carbon tetrachloride?
`]: [`Tetrahedral`], [`What is the gram formula mass (GFM) of potassium nitrate?
`]: [`101`], [`Which of the following is NOT the name of a compound?
`]: [`Sodium fluorine`], [`Which of the following are the correct properties of cycloalkanes?
`]: [`saturated hydrocarbons, insoluble in water`], [`What is the charge of a gamma ray?
`]: [`0`], [`A 56g sample of gas was found to be 2 moles. Which gas could the sample be?
`]: [`Nitrogen`], [`Which of the following pairs of compounds are isomers of each other?
`]: [`

Which of the following are the correct properties of alkenes?
`]: [`unsaturated hydrocarbons, insoluble in water`], [`What information does an ionic formula show?
`]: [`The simplest ratio of each ion`], [`Which statement about the periodic table is incorrect?
`]: [`Each group only has metals or non-metals, not a mixture`], [`What is the atomic number always equal to?
`]: [`Number of protons`], [`A 20cm3 solution had a concentration of 2 mol l-1. How many moles of solute are in this solution?
`]: [`0.04`], [`What does the 2- in S2- represent?
`]: [`It has gained 2 electrons`], [`Which of the following is the correct structure for 2,2-dimethylpentane?
`]: [`
The formula for sodium sulfate is Na2SO4. What is the valency of sodium in this compound?
`]: [`1`], [`Which of the following structures does NOT represent 2-methylhexane?
`]: [`
In which group would you expect to find an element with the electron arrangement 2,8?
`]: [`Noble gases`], [`Which of the following is the correct structure for 2,3-dimethylhex-1-ene?
`]: [`
What is the chemical test used to detect unsaturation in a compound?
`]: [`decolourises bromine water`], [`What is the shape of phosphorus bromide?
`]: [`Trigonal pyramidal`], [`The volume of gas collected over 20 seconds was 10 cm3. What are the units for the average rate of reaction?
`]: [`cm3 s-1`], [`Which term describes 'a liquid that is able to dissolve a substance'?
`]: [`a solvent`], [`Which of the following is the correct structure for 2-ethyl-3-methyloctane?
`]: [`
What is the charge of a beta particle?
`]: [`1-`], [`Which types of bonding and structure always have high melting and boiling points?
Which of the following is a diatomic element?
`]: [`Nitrogen`], [`Which reaction would be slowest?
`]: [`0.5 mol l-1 HCl at 25oC`], [`Which of the following will NOT form an alkaline solution when added to water?
`]: [`Zinc oxide`], [`What is the typical valency of elements in Group 2?
`]: [`2`], [`What is the shape of hydrogen sulfide?
`]: [`Angular`], [`What is the shape of hydrogen chloride?
`]: [`Linear`], [`What is the charge of an alpha particle?
`]: [`2+`], [`Which of the following ar the correct properties of alkanes?
`]: [`saturated hydrocarbons, insoluble in water`], [`Which of these particles have the same electron arrangement?
Which of the following statements is incorrect?
`]: [`When an acid is diluted the H+ ion concentration increases`], [`What is the concentration of a 100cm3 solution containing 1.5 moles of sodium chloride?
`]: [`15`], [`Which of the following chemical formulas is incorrect?
`]: [`Na2MnO4`], [`There are 3 different particles in an atom:
Which of these particles have a mass of 1 atomic mass unit (amu)?
`]: [`1 and 2`], [`Which of the following reactions is defined as a substance reacting with oxygen and releasing energy?
`]: [`combustion`], [`What type of chemical bond is broken during an addition reaction?
`]: [`C=C bond`], [`How are elements arranged on the Periodic Table?
`]: [`by atomic number`], [`Which diagram shows an ionic lattice?
`]: [`
Name the alkane that contains 3 carbon atoms.
`]: [`>propane`], [`In the reaction shown, what is the name of the reactant (Y) that reacts with lithium to form lithium sulfate and hydrogen?

What is the correct ion electron equation for a nitrogen ion forming a nitrogen atom?
`]: [`
Which of the following is a linear shape?
`]: [`
Which of the following is an incorrect element chemical symbol?
`]: [`h`], [`Which of the following full structural formulas is drawn correctly?
`]: [`
A sample has a half-life of 4 days. What percentage will be left after 16 days?
`]: [`6.25%`], [`The balanced equation below would be:

Which of the following is a correctly drawn outer electron diagram?
`]: [`
When a small molecule is added across a carbon to carbon double bond, this is know as an ________ ________.
Identify the missing term.
`]: [`>addition reaction`], [`What term describes a solution containing a higher concentration of OH⁻ ions than H⁺ ions?
`]: [`Alkaline solution`], [`What is the molecular shape of hydrogen bromide (HBr)?
`]: [`Linear`], [`What type of substance is formed when metal oxides are dissolved in water?
`]: [`Alkali`], [`A sample has a half-life of 12 minutes. There is 4g left after 48 minutes. What mass did the sample have to begin?
`]: [`64g`], [`What is the correct general formula for alkanes?
`]: [`CnH2n+2`], [`Name the alcohol shown in this diagram.

Name the reaction which takes place when oxidation and reduction occur at the same time?
`]: [`>Redox`], [`
From the data displayed, what will be the reaction time for a reaction that is completed at 30oC with a concentration of 1.5 mol l-1?
`]: [`Between 20 and 40 seconds`], [`A sample has two isotopes of Boron, Boron-6 and Boron-7. The RAM is 6.25. Which isotope is more abundant?`]: [`>Boron-6`], [`What is the name of the process shown in the equation below?

What will the charge on a chlorine ion be?
`]: [`-1`], [`Name the compound in the diagram below.

What term describes the process of gaining electrons in a chemical reaction?
`]: [`>reduction`], [`Name the reaction.

What is the charge of a proton?
`]: [`1`], [`What is the mass number of the ion shown in this image?

What is the definition of an ion?
`]: [`Atoms which have lost or gained electrons`], [`As the alcohols increase in size, their solubility in water:
`]: [`Decreases`], [`What is the correct general formula for cycloalkanes?
`]: [`CnH2n`], [`Which of the following do NOT have the same electron arrangement?
`]: [`Al3+`], [`What is the name for the Group 7 elements in the periodic table?`]: [`>Halogens`], [`Which of the following is incorrect?
`]: [`

How many neutrons does the ion have?

For an Al3+ ion, which of the following is NOT true?
`]: [`It has lost 3 neutrons`], [`What is the atomic number of the particle shown?

What is the correct definition for a neutralisation reaction?
`]: [`Reaction in which a base reacts with an acid to form water`], [`The volume of gas collected over 20 seconds was 10cm3. What is the average rate of reaction over this time?
`]: [`0.5`], [`What is the ionic formula for calcium oxide?
`]: [`Ca2+O2-`], [`Which of the following is not a diatomic element?
`]: [`Sulfur`], [`Which of the following are uses of carboxylic acid?
`]: [`preparation of soaps`], [`What is the name of the apparatus shown below?

What is the mass number of the particle shown?

There are two isotopes of an atom, one with the mass of 7, the other with the mass of 9. There are equal amounts of each isotope. What will be the RAM?
`]: [`8`], [`Which of the following is NOT a base?
`]: [`Lithium chloride`], [`What term describes the process of losing electrons in a chemical reaction?
`]: [`>oxidation`], [`Which statement about the elements in Group 4 is incorrect?
`]: [`The boiling point increases as you go down the group`], [`As alcohols increase in size, their melting and boiling points:
`]: [`Increase`], [`What is the name of the apparatus shown below?

If a substance has a pH of 2, what colour would you expect it to be in universal indicator?
`]: [`Red`], [`Which of the following is the correct shortened structural formula for pentane?
`]: [`CH3CH2CH2CH2CH3`], [`What is the term used to describe a small molecule that can join together to form a polymer?
`]: [`>monomer`], [`Which type of bonding is defined as 'the electrostatic attraction between positively charged ions and delocalised electrons'?
`]: [`Metallic bonding`], [`What is the valency of sodium?`]: [`>1`], [`An atom has a mass number of 46 and atomic number of 22. Which of the following is correct?
`]: [`It has 24 neutrons`], [`What is the name of the compound shown in the diagram?

Name the alcohol below:

Sodium hydroxide is an example of which type of substance?
`]: [`Alkali`], [`Which of the following is the definition of the mass number?
`]: [`Number of protons + number of neutrons`], [`What is the atomic number of the ion shown in this image?

Which method is used to extract magnesium from its ore?
`]: [`Electrolysis of a melt`], [`What is the name of the alkane below?

What term can be used to describe the compounds in the diagram?

Which letter from the nuclide notation shown is the mass number?

What is the name of the process shown in the equation below?

Which of the following apparatus can be used to track the weight of a reactant in a chemical reaction?
`]: [`Balance`], [`What salt is formed when nitric acid reacts with magnesium oxide?
`]: [`Magnesium nitrate`], [`In the electrochemical cell diagram, which metal is higher on the electrochemical series?

Which metal in the diagram will undergo oxidation?

What is the mass number of the atom shown in this image?

What is the formula for dinitrogen tetraoxide?
`]: [`N2O4`], [`What is the valency of oxygen?`]: [`>2`], [`What type of compounds can quickly decolourise bromine water?
`]: [`Unsaturated`], [`An element has the electron arrangement 2,8,18,8,2. Which group on the Periodic Table would you expect it to be in?
`]: [`Group 2`], [`Which of the following can NOT form a covalent network?
`]: [`Phosphorus`], [`What is the name of the technique shown in the diagram?

What happens to the pH of an alkali when it is diluted with water?
`]: [`The pH decreases towards 7`], [`What is the percentage of nitrogen in ammonium nitrate?
`]: [`35%`], [`Carbon and boron can form covalent networks. Which other element can also form a covalent network?`]: [`>Silicon`], [`What is the term in chemistry for a reaction that releases heat energy?
`]: [`>exothermic`], [`What is the insoluble product formed in the reaction below?

Which of the following is the correct structure for cyclobutane?
`]: [`
Which of the following is the correct definition of an isomer?
`]: [`Compounds with different structural formulae and same molecular formula`], [`To balance the electrons before forming a redox equation, by what factor should the bottom equation be multiplied?

Which of the following is a Halogen?
`]: [`Fluorine`], [`On the graph displayed, which point indicates the reaction has finished?

Name the substance being oxidised in this equation.

What type of substance is formed when non-metal oxides are dissolved in water?
`]: [`Acid`], [`Which of the following is the correct definition of a homologous series?
`]: [`A family of compounds with the same general formula and similar chemical properties`], [`Which of the following diagrams is hexan-2-ol?
`]: [`
Which letter from the nuclide notation shown is the atomic number?

In the reaction shown, what is the name of the reactant (Y) that reacts with sodium to form sodium hydroxide and hydrogen?

Name the compound in the diagram below.

How many electrons does the ion have?

How many electrons does the atom have?

What is used to restore essential nutrients to the soil?
`]: [`>fertilisers`], [`What is the functional group in an alcohol?
`]: [`
Name the compound in the diagram below.

Which gas is identified by relighting a glowing splint?
`]: [`>oxygen`], [`What salt is formed when sulfuric acid reacts with sodium hydroxide?
`]: [`Sodium sulfate`], [`An atom of oxygen has 8 neutrons. What is its mass number?`]: [`>16`], [`There are two isotopes of an atom, one with the mass of 7, the other with the mass of 9. There is 25% of isotope 7 and 75% isotope 9. What will be the RAM?
`]: [`8.5`], [`What is the electrical charge of a neutron?`]: [`>Neutral`], [`Name the compound in the diagram.

Which 2 elements would you expect to have similar chemical properties?
`]: [`Nitrogen and phosphorus`], [`A liquid that is able to dissolve a substance is known as a ____`]: [`>Solvent`], [`What is the number of moles of 8g of oxygen?
`]: [`0.25`], [`What is the name of the apparatus shown below?

Below are some elements:
Which elements will form negative ions?
`]: [`2 and 3`], [`What term describes a solution containing equal concentrations of OH⁻ and H⁺ ions?
`]: [`Neutral solution`], [`What type of compounds will not react with bromine water?
`]: [`Saturated`], [`What term describes a solution containing a higher concentration of H⁺ ions than OH⁻ ions?
`]: [`Acidic solution`], [`What is the insoluble product formed in the reaction below?

Where is a neutron located within an atom?
`]: [`In the nucleus`], [`What chemical is produced in the Ostwald Process?
`]: [`>nitric acid`], [`Which is the correct formula for sulfuric acid?
`]: [`H2SO4`], [`When atoms form ions, which subatomic particle do they lose or gain?
`]: [`Electrons`], [`A 20g sample has a half-life of 6 hours. What mass will be left after 12 hours?
`]: [`5g`], [`Which group on the Periodic Table is made up of reactive metals?
`]: [`Group 1`], [`The following graph shows 4 different reactions:

Which reaction was completed with the lowest temperature?
`]: [`Z`], [`What term refers to a solution with a pH of 7?
`]: [`Neutral`], [`What is the term for the method of extraction that uses electricity to extract metals from a molten compound?
`]: [`Electrolysis of a melt`], [`Identify the missing term in the following statement:
________ forces increase in strength, causing the melting and boiling points of carboxylic acids to rise.
`]: [`>intermolecular`], [`A family of compounds with the same general formula and similar chemical properties is the definition of what?
`]: [`Homologous series`], [`An atom has 20 protons and 23 neutrons. Which of the following is incorrect?
`]: [`It has a mass number of 23`], [`What is the atomic number of the particle shown?

Which metal is a liquid at room temperature?
`]: [`>mercury`], [`What is the correct definition for a hydrocarbon?
`]: [`a compound that contains hydrogen and carbon only`], [`What will happen to bromine water if an alkene is added to it?
`]: [`It will turn colourless`], [`Which of the following will form an acidic solution when added to water?
`]: [`Sulfur dioxide`], [`Sodium has an electron arrangement of 2,8,1. What will the electron arrangement be after it forms a sodium ion (Na+)?`]: [`>2,8`], [`Name the carboxylic acid.

Where is a proton located within an atom?
`]: [`In the nucleus`], [`What is the term for compounds that have the same molecular formula but different structural formulas?
`]: [`>Isomers`], [`What is the term for atoms that have lost or gained electrons?`]: [`>Ion`], [`Here are some elements:
Which elements will have similar chemical properties?
`]: [`2 and 3`], [`Which of the following is NOT a shape of covalent molecules?
`]: [`Lattice`], [`Which method is used to extract zinc from its ore?
`]: [`Heating with carbon`], [`Oxygen has an electron arrangement of 2,6. What will the electron arrangement be after it forms an oxide ion (O²-)?`]: [`>2,8`], [`What is the name of the cycloalkane below?

Which type of power supply must be used during electrolysis?
`]: [`Direct current (DC)`], [`Which of the following is NOT a diatomic molecule?
`]: [`Sulfur dioxide`], [`Which letter from the nuclide notation shown is the element symbol?

Which of the following electron arrangements would you expect an element in Group 5 to have?
`]: [`2,5`], [`What is the pH value of a neutral solution?`]: [`>7`], [`Reaction A was carried out at 30°C with 0.2 mol l⁻¹ acid. Reaction B was carried out at 30°C with 0.5 mol l⁻¹ acid. Why was Reaction B faster than Reaction A?
`]: [`It has a higher concentration`], [`How many elements are in hydrogen chloride?
`]: [`2`], [`What is the name of the technique shown in the diagram?

Which of the following is true for ionic compounds?
`]: [`They have high melting and boiling points and can only conduct electricity when molten or in solution`], [`Which of the following is NOT an isomer of the structure below?


What will be the soluble product in the reaction shown?

What type of particle is represented in the following diagram?

Name the compound in the diagram below.

On the graph displayed, at which point is the reaction at its fastest?

Which group on the Periodic Table is made up of reactive non-metals?
`]: [`Group 7`], [`What is the third reactant, along with oxygen and water, used in the Ostwald Process?
`]: [`>ammonia`], [`What is the correct definition for an exothermic reaction?
`]: [`reaction which releases heat energy`], [`Turning limewater cloudy is the test for which gas?
`]: [`>carbon dioxide`], [`Which letter from the nuclide notation below would show the charge?

In the reaction shown, what is the name of the product (x) formed when a metal reacts with an acid?

What type of particle is represented in the following diagram?

Alcohols are used as solvents and which other common application?
`]: [`>fuels`], [`The volume of gas collected over 6 minutes was 30 cm3. What is the average rate of reaction over this time?
`]: [`5`], [`What is the electron arrangement for a magnesium ion?
`]: [`2,8`], [`What is the element represented by X in the nuclear equation shown?

Which gas burns with a squeaky pop?
`]: [`>hydrogen`], [`What is the relative mass of an electron?`]: [`>0`], [`What is the mass of 0.5 moles of sodium chloride?
`]: [`29.25g`], [`What state are small covalent molecules usually in at room temperature?`]: [`>Gas`], [`What happens to metal ions during the extraction of metals?
`]: [`They are reduced`], [`Name the carboxylic acid.

What is the correct ion electron equation for a calcium atom forming a calcium ion?
`]: [`
Which of the following is a tetrahedral shape?
`]: [`
Which of the following is an incorrectly drawn outer electron diagram?
`]: [`
Fertilisers typically contain nitrogen, potassium, and which other essential element?
`]: [`Phosphorus`], [`Name the compound in the diagram below.

What is the name of the component labelled with a question mark in the electrochemical cell diagram?

Name the reaction that makes polymers from unsaturated monomers.
`]: [`>addition polymerisation`], [`What is the charge of an electron?
`]: [`-1`], [`Which of the following is an unsaturated compound?
`]: [`
What is produced, along with water, during the complete combustion of a hydrocarbon?
`]: [`Carbon dioxide`], [`Identify the missing term in the following statement:
________ forces increase in strength, causing the melting and boiling points of alcohols to rise.
`]: [`>intermolecular`], [`What is the valency of iron (III)`]: [`>3`], [`Which of the following is not true for all members of a homologous series?
`]: [`They possess the same molecular mass`], [`Which of the following is a saturated compound?
`]: [`
The balanced equation below would be:

CnH2n+2 is the general formula for which homologous series?
`]: [`>alkanes`], [`What is the correct definition of an ionic bond?
`]: [`The electrostatic attraction between positive and negative ions`], [`Which element in Group 6 is a diatomic molecule?`]: [`>Oxygen`], [`What is the name of the polymer shown below?

What happens to the pH of an acidic solution when it is diluted with water?
`]: [`The pH increases towards 7`], [`What is the relative mass of a neutron?`]: [`>1 amu`], [`Which formula is NOT correct?
`]: [`NF2`, `NaCl2`], [`What is the name of the alkene below?

Here are some elements:
Which elements, when they have formed ions, will have the same electron arrangement as Argon?
`]: [`3 and 4`], [`What catalyst is commonly used in the Ostwald Process?
`]: [`>platinum`], [`There are two isotopes of an atom, one with the mass of 23 and the other with the mass of 25. The relative atomic mass is 24. What does this tell us about the isotopes?
`]: [`There are equal amounts of both`], [`Which of the following is a trigonal pyramidal shape?
`]: [`
Where in an atom does radioactive decay occur?
`]: [`>nucleus`], [`What must be balanced when combining ion-electron equations?
`]: [`Electrons`], [`How many elements are in calcium carbonate?
`]: [`3`], [`What is the functional group in a carboxylic acid?
`]: [`
Name the alcohol below:

Which variable will NOT increase the rate of a reaction?
`]: [`Increasing the particle size`, `Increasing the volume of reactant`], [`What is the valency of carbon?`]: [`>4`], [`Ammonia is a pungent, clear, colourless gas that dissolves in water to form what type of solution?
`]: [`>alkaline`], [`What compound is formed when lithium reacts with carbon and oxygen?`]: [`>Lithium carbonate`], [`What is the name of the alkane below?

Name the type of addition reaction shown below:

Which of the following is NOT an isomer of the structure below?


What is the term used to describe the smallest repeating section of a polymer?
`]: [`Repeating unit`], [`What is produced during the Haber Process?
`]: [`>ammonia`], [`What is the formula shown below an example of?

Which of the following is correct for a proton?
`]: [`Mass = 1, charge = 1+`], [`H2O(l) ⇋ H+(aq) + OH- (aq) is the equation for what?
`]: [`Water dissociation`], [`A ______ can speed up a chemical reaction without being used up itself.`]: [`>catalyst`], [`The formula for iron oxide is Fe2O3. What is the name of this compound?
`]: [`Iron (III) oxide`], [`Which line on the graph represents the reaction with a smaller mass of reactants?

What happens to the melting and boiling points of carboxylic acids as they increase in size?
`]: [`Increase`], [`Which statement is correct for an alkaline solution?
`]: [`There are more OH- ions than H+ ions`], [`What is an ion that is present in a reaction but does not take part called?`]: [`>Spectator`], [`"Containing equal concentrations of OH- and H+ ions" describes ______ substances?`]: [`>Neutral`], [`What is the name of the compound shown in the diagram?

During the extraction of metals, metal ions are being _______.
Identify the missing term.
`]: [`>reduced`], [`Which of the following is the structure of a covalent molecule?
`]: [`
Which line on the graph represents the fastest reaction based on the volume of gas produced over time?

What elements are in potassium nitrate?
`]: [`Potassium, nitrogen, and oxygen`], [`Which term is defined as 'the time taken for a nuclei of an isotope to half its radioactivity' ?
`]: [`>half-life`], [`In what state are covalent networks typically found?`]: [`>Solid`], [`Which is the correct unit of concentration?
`]: [`mol l-1`], [`Potassium carbonate is an example of what type of substance?
`]: [`Base`], [`The type of addition reaction shown in the diagram is called ________?

Which statement about the periodic table is NOT correct?
`]: [`The periodic table is arranged by mass number`], [`Why do covalent molecules have low melting points?
`]: [`They have weak forces of attraction between molecules`], [`How many protons does the ion have?

What is the name of the alkane that contains 4 carbon atoms?
`]: [`Butane`], [`What is the molecular shape of hydrogen sulphide (H₂S)?
`]: [`Angular`], [`Ionic compounds can conduct electricity when they are in which form?
In the periodic table, elements in the same group have the same number of ____________.
`]: [`Electrons in the outer shell`], [`Which of the following is true of covalent networks?
`]: [`They have high melting and boiling points and generally don’t conduct electricity`], [`What is the name of the alkane below?

Which of the following is the structure of a covalent network?
`]: [`
What is produced when a hydrocarbon undergoes complete combustion?
Which of the following are carboxylic acids used in the preparation of?
`]: [`Soaps, medicines, and preservatives`], [`To balance the electrons before forming a redox equation, by what factor should the bottom equation be multiplied?

What is the usual state of covalent networks at room temperature?
`]: [`Solid`], [`A _____ is formed when a solute is dissolved in a solvent.`]: [`>Solution`], [`What happens to the solubility of carboxylic acids in water as they increase in size?
`]: [`Decreases`], [`Which particles have a mass of 1amu?
`]: [`Protons and neutrons`], [`What is the correct definition of a covalent bond?
`]: [`The attraction a between two positive nuclei and a shared pair of electrons`], [`To balance the electrons before forming a redox equation, by what factor should the bottom equation be multiplied?

What is the percentage of magnesium in magnesium nitrate?
`]: [`16.5%`], [`A hydrogenation reaction is the addition of ___________ to an alkene.
`]: [`>hydrogen`], [`Below are some elements:
Which element will NOT form an ion?
`]: [`2`], [`What is the term for a metal-containing compound from which a metal is extracted?
`]: [`>ore`], [`What is the type of radiation represented by X in the nuclear equation shown?

Which elements are found in a hydrocarbon?
`]: [`hydrogen and carbon only`], [`Elements are arranged on the Periodic Table by increasing ____________.
`]: [`Atomic number`], [`An atom has an atomic number of 17 and has 19 neutrons. What is its mass number?
`]: [`36`], [`What is the valency of phosphorus?`]: [`>3`], [`What type of substance has a pH below 7?`]: [`>An acid`], [`Metallic bonding is the electrostatic attraction between positive ions and what?
`]: [`Delocalised electrons`], [`What will the charge on a magnesium ion be?
`]: [`2`], [`Which group on the Periodic Table is made up of non-reactive gases?
`]: [`Group 8/0`], [`CnH2n is the general formula for alkenes and which other homologous series?
`]: [`>cycloalkanes`], [`How can the molecule shown in the diagram be described in terms of saturation?

What catalyst is commonly used in the Haber Process?
`]: [`>iron`], [`What type of substance has a pH above 7?
`]: [`Alkaline (or base)`], [`What is the valency for an ammonium ion?
`]: [`1`], [`What is the name of the apparatus shown below?

Which of the following is true of the elements in Period 2?
Name the carboxylic acid shown below:

Name the carboxylic acid.

What do elements in the same group have in common?
`]: [`Number of outer electrons`], [`There are two isotopes of chlorine, chlorine-35 and chlorine-37. Its relative atomic mass is 35.5. What does this tell us about the isotopes?
`]: [`There is more chlorine-35 than chlorine-37`], [`What is the term used to describe long-chained molecules made by joining monomers together?
`]: [`>polymers`], [`What is the valency of nickel(II)`]: [`>2`], [`What is the name of the functional group found in an alcohol?
`]: [`>hydroxyl`], [`In the reaction shown, what is the name of the product (Z) formed when magnesium reacts with oxygen?

Name the alcohol shown in this diagram.

What is the definition of an isotope?
`]: [`Elements with the same atomic number but different mass number`], [`Why can’t covalent molecular compounds conduct electricity?
`]: [`The charged particles are not free to move`], [`Elements are arranged on the Periodic Table by ___________ atomic number.
`]: [`Increasing`], [`Name the carboxylic acid shown below:


Using the equation above, which of the following is not true?
`]: [`If 16g of oxygen is used in excess methane, 18g of water is produced`], [`A hydration reaction is the addition of ________ to an alkene.
`]: [`>water`], [`What salt is formed when hydrochloric acid reacts with potassium hydroxide?
`]: [`Potassium chloride`], [`Which of the following is correct for an electron?
`]: [`Mass = 0, charge = 1-`, `Mass = 0, charge = 1-`], [`Which type of radiation consists of particles identical to a helium nucleus?
`]: [`Alpha radiation`], [`What is the name of the monomer used to produce the polymer shown below?

Which of the following is the correct definition of a diatomic element?
`]: [`A molecule made up of 2 atoms of the same element`], [`What is the correct definition of a catalyst?
`]: [`A substance which can speed up the rate of a reaction without being used up itself`], [`Which apparatus can be used to measure the volume of gas produced in a reaction?
`]: [`
What two elements are present in the compound magnesium fluoride?
`]: [`Magnesium and fluorine`], [`What is the electron arrangement for oxygen?`]: [`>2,6`], [`Carbon’s Relative Atomic Mass is 12. Which isotope is most common?
`]: [`Carbon 12`], [`"An electrostatic attraction between positive and negative ions" is the definition of which type of bond?
`]: [`Ionic bond`], [`Which of the following full structural formulas is drawn incorrectly?
`]: [`
Which of the following is an ionic compound?
`]: [`Sodium fluoride`], [`What type of atoms typically form positive ions?
`]: [`Metal atoms`], [`In the reaction shown, what is the name of the product (x) formed when a metal reacts with oxygen?

Which type of radiation can travel the furthest?
`]: [`gamma`], [`Which of the following is NOT a covalent network?
`]: [`Carbon dioxide`], [`Which of the following is the correct structure for cycloheptane?
`]: [`
What is the term for 'a solution of accurately known concentration'?
`]: [`Standard solution`], [`What three elements are present in the compound potassium nitrate? Potassium, nitrogen, and ______?`]: [`>Oxygen`], [`What is the molecular shape of phosphine (PH₃)?
`]: [`Trigonal pyramidal`], [`What is the type of chemical reaction where a base and an acid react together to form water and salt?
`]: [`Neutralisation`], [`Name a homologous series that is unsaturated?
`]: [`>alkenes`], [`What is the structure of an ionic substance?
`]: [`Lattice`], [`In addition to an upside-down measuring cylinder, what other apparatus can be used to collect gas in an experiment?
`]: [`>gas syringe`], [`What allows metals to conduct electricity?
`]: [`The movement of delocalised electrons`], [`What is the following formula an example of? CH3CH2CH2CH3
`]: [`Shortened structural formula`], [`What is the percentage of sodium in sodium sulfate?
`]: [`32.4%`], [`What is the formula for magnesium phosphate?
`]: [`Mg3(PO4)2`], [`What happens to the number of protons when atoms form ions?
`]: [`It stays the same`], [`Below are pairings of elements:
Which of these pairings contains a diatomic element(s)?
`]: [`1, 2 and 4`], [`What type of substance is HCl?`]: [`>An acid`], [`Name the compound in the diagram below.

In which type of radiation is an electron emitted from the nucleus of an atom?
`]: [`Beta radiation`], [`What is the name of the alkene below?

Which of the following apparatus can be used to measure the volume of gas produced in a chemical reaction?
What is the element represented by X in the nuclear equation shown?

What type of bond does the diagram show?

What is the name of the alkene below?

What is the name of the technique shown in the diagram?

Which of the following is NOT an ionic compound?
`]: [`Carbon oxide`], [`What is the name of the compound shown in the diagram?

What is the name of the industrial process that produces ammonia by combining nitrogen and hydrogen under high pressure and temperature?
`]: [`>Haber`], [`Why are atoms neutral?
`]: [`They have the same number of electrons and protons`], [`What is the name of the component used to connect the two half-cells in an electrochemical cell?
`]: [`>ion bridge`], [`How many neutrons does the atom have?

What effect do insoluble substances have on pH?
`]: [`They have no effect on pH`], [`What is the correct general formula for alkenes?
`]: [`CnH2n`], [`What will happen to bromine water if an alkane is added to it?
`]: [`It will remain orange`], [`How can alkenes be described in terms of saturation?
`]: [`Unsaturated`], [`Which of the following is an angular shape?
`]: [`
Which metal in the diagram will undergo reduction?

Which of the following is NOT a formula for a base?
`]: [`HNO3`], [`What is the name for the group of metals between Group 2 and Group 3 on the Periodic Table?
`]: [`Transition metals`], [`What is the mass number of the particle shown?

Which of the following shows the full structural formula for butane?
`]: [`
What is the correct definition of an addition reaction?
`]: [`a small molecule adding across a carbon to carbon double bond`], [`What is the term for "the attraction between two positive nuclei and a shared pair of electrons"?`]: [`>Covalent bond`], [`Name the alcohol shown in this diagram.

Which of the following substance(s) would turn red in universal indicator?
The following graph shows 4 different reactions:

Which reaction started with the lowest mass of reactant?
`]: [`X, Y and Z`], [`The weighted average mass of all the isotopes of an element in a given sample is known as what?`]: [`>Relative Atomic Mass`], [`Which is true for Group 2 elements?
What is the name of the functional group found in a carboxylic acid?
`]: [`>carboxyl`], [`Which of the following are uses of alcohols?
`]: [`solvents`], [`What is the element represented by X in the nuclear equation shown?

Below are some elements:
Which elements are in the same period?
`]: [`1 and 3`], [`What is the molecular shape of carbon tetrachloride (CCl₄)?
`]: [`Tetrahedral`], [`What types of atoms form covalent bonds?
`]: [`Non-metal atoms`], [`What compound is formed when silicon reacts with carbon?`]: [`>Silicon Carbide`], [`The atomic number of an atom is always the same as the number of:
`]: [`Protons`], [`What is the name of the reaction that forms polymers from unsaturated monomers?
`]: [`Addition polymerisation`], [`What is the atomic number for the atom shown in this image?

What is the term in chemistry for a reaction that takes in heat energy?
`]: [`>endothermic`], [`The balanced equation below would be:

15g of salt was dissolved in water to make salt water. In this example, what is the solute?
`]: [`Salt`], [`Which is true of covalent molecules?
`]: [`They have low melting and boiling points and can never conduct electricity`], [`Covalent networks have high melting points because:
`]: [`Strong covalent bonds need to be broken`], [`Name the type of addition reaction shown below:

What is the correct definition for an endothermic reaction?
`]: [`reaction which takes in heat energy`], [`Identify the measuring cylinder.
`]: [`
Looking at the nuclide notation displayed, how many neutrons does it have?

In the reaction shown, what is the name of the product (x) formed when a metal reacts with water?

What is the name of the alkane below?

What is the name of the monomer shown below?

Which statement is correct for an acidic solution?
`]: [`There are more H+ ions than OH- ions`], [`What is the name of the reaction shown in the diagram, where unsaturated monomers combine to form a polymer?

What is the molecular shape of chloromethane (CH₃Cl)?
`]: [`Tetrahedral`], [`What is the correct equation for the dissociation of water?
`]: [`H2O(l) ⇌ H+(aq) + OH-(aq)`], [`What is the name of the cycloalkane with 3 carbon atoms?
`]: [`>cyclopropane`], [`What type of particle is represented in the following diagram?

Which of the following will form an alkaline solution when added to water?
`]: [`Lithium oxide`], [`What is the name of the cycloalkane below?

What type of atoms typically form negative ions?
`]: [`Non-metal atoms`], [`Which of the following is NOT an acid?
`]: [`Ammonia`], [`Which of the following substances have a pH higher than 7?
What particles would you find in the nucleus of an atom?
`]: [`Protons and neutrons`], [`Which covalent network can conduct electricity?`]: [`>Graphite`], [`Using the nuclide notation below, what is the mass number?

Which statement is correct for a neutral solution?
`]: [`There are equal amounts of H+ and OH- ions`], [`What compound is formed when sodium reacts with fluorine?`]: [`>Sodium fluoride`], [`Hydrocarbons contain hydrogen and which other element?`]: [`>carbon`], [`Which group on the Periodic Table is made up of non-reactive gases? (name the group number)`]: [`>Group 8`], [`The correct name for Ca(OH)2 is:
`]: [`Calcium hydroxide`], [`How can alkanes be described in terms of saturation?
`]: [`Saturated`], [`Which of the following halogens is NOT a diatomic element?
`]: [`Astatine`], [`The type of addition reaction shown in the diagram is called ________?

Below are some elements:
Which elements will form positive ions?
`]: [`1 and 4`], [`What compound is formed when magnesium reacts with sulfur and oxygen?`]: [`>Magnesium sulfate`], // BUSINESS [`From the following data for MBV Ltd, calculate the total costs.


This firm’s total cost is:
`]: [`£280,000`], [`When new employees join an organisation, the type of training they usually receive first is called:
`]: [`>Induction`], [`From the following data for LSW Ltd, calculate the total fixed costs.

From the following data for ASZ Ltd, calculate the total variable costs.

From the following data for WLZ Ltd, calculate the total variable costs.

From the following data for RWQ Ltd, calculate the total fixed costs.

Name a type of test that might be used as part of an assessment centre for recruitment.
`]: [`>Psychometric test`], [`The type of training where an employee meets new colleagues and learns about company policies is called:
`]: [`>Induction`], [`Firm D uses technology that relays information about sales to a warehouse by reading barcodes. What is this technology called?
`]: [`>Electronic Point of Sale`], [`From the financial information for GGA Limited, how many units must they sell to break even?


The variable cost is:
`]: [`£80,000`], [`
JKL Limited have Fixed Costs of:
`]: [`£140,000`], [`Which are accurate statements about information gathered through secondary research?
From the financial information for Lewis Limited, how many units must they sell to break even?


The variable cost is:
`]: [`£80,000`], [`From the following data for ASZ Ltd, calculate the total variable costs.

From the following data for LSW Ltd, calculate the total fixed costs.

From the following data for RWQ Ltd, calculate the total fixed costs.


JKL Limited have Fixed Costs of:
`]: [`£140,000`], [`
This firm’s total cost is:
`]: [`£280,000`], [`From the following data for MBV Ltd, calculate the total costs.

From the following data for WLZ Ltd, calculate the total variable costs.

For a business, hire purchase is a source of finance that would be most suitable for acquiring:
`]: [`computing equipment`], [`Which are possible impacts of industrial action on a business?
Which of the following is an external factor affecting a company?
`]: [`The growth of e-commerce`], [`What is compressed hours in a work schedule?
`]: [`Employees work full-time hours but over fewer days`], [`Which is a software platform used to create, deliver, and track employee training and development programs?
`]: [`Learning Management System (LMS)`], [`Zamil asks his previous employer for a written statement about his suitability for a job vacancy. This document is called:
`]: [`>A reference`], [`Which of the following companies would be most likely to use electronic point of sale (EPOS)?
`]: [`Sainsbury Supermarket`], [`Which is NOT a suitable source of finance for a sole trader?
`]: [`Issuing new shares`], [`What distinguishes a private limited company from other business entities?
`]: [`It has limited shareholders and shares are not publicly traded`], [`A firm reuses the waste product arising from manufacture. What is the term for this?
`]: [`>Recycling`], [`A company is taking out a loan. Which of the following will NOT be a factor is deciding the type of loan it requires.
`]: [`shares in the business`], [`Which are sources of finance for a business?
What is a disadvantage of using observation as a market research method?
`]: [`Samples may not be representative of all consumers`], [`In market research, one advantage of telephone surveys is that:
`]: [`they can cover a large geographical area`], [`A company sells 20,000 units of a product. It’s sales are £800,000; its variable costs are £600,000. This means that its contribution per unit is:
`]: [`£10`], [`What is an advantage of using mystery shoppers for evaluating service standards?
`]: [`Helps identify areas for improvement in service quality`], [`Which of the following is part of the secondary sector of industry?
`]: [`Sportswear manufacturer`], [`Kibble, The Big Issue, Hey Girls, Link Group, and Social Bite are examples of what kind of business organisation?
`]: [`>Social enterprise`], [`Which of the following is NOT a responsibility of the UK Government?
`]: [`Oil and gas`], [`Which is NOT a stage of the product development process?
`]: [`Product life cycle`], [`Which of the following is untrue about off-the-job training when comparing with in house training?
`]: [`The cost of off-the-job training is lower than in-house training`], [`Which are forms of customer service provided by a business?
Which are potential benefits of effective product packaging?
Which are advantages of Flow/Continuous Production when compared with other methods?
Which are potential drawbacks to a business of grants as a source of funding?
A business that tries to match the standard of the quality leader in its industry is adopting which policy?
`]: [`benchmarking`], [`What is the main purpose of competitions in sales promotion?
`]: [`Create excitement and engagement`], [`Which are technology platforms that offer instant messaging and channels for different topics or projects, and integration with other tools?
Which of the following is not a benefit arising from employee training?
`]: [`Training leads to more vacancies`], [`What type of payment method links compensation to the profits earned by the organization?
`]: [`Profit sharing`], [`Which are examples of environmentally friendly operations?
The lowest quantity of inventory that a business should maintain to avoid running out of stock is called:
`]: [`Minimum inventory level`], [`Which of the following is NOT true of quality management systems?
`]: [`workers have less opportunities to work in teams`], [`Businesses in the primary sector of the economy are most likely to be located:
`]: [`close to a source of raw materials`], [`Which method of working best enables employees to tailor their work schedule so that they can attend a series of hospital appointments?
`]: [`Flexitime`], [`Which are benefits to be gained from a computerised inventory control system?
How are public sector organisations funded?
`]: [`Through government revenues`], [`QQE Limited sells 25,000 units to generate a sales revenue of £800,000. Calculate the unit selling price.
`]: [`>£3.20`], [`Which are duties of employers under The Health and Safety at Work Act 1974?
In which ways could government influence a business?
Codes used on products to relay information about sales to the warehouse via an ICT system are known as:
`]: [`BAR codes`], [`Employees on the production line at Burrows are paid an amount per item they produce. This form of incentive is known as:
`]: [`piece rate`], [`If a firm buys 20,000 units of a product at a unit cost of £6.50 and sells all items at a unit cost of £12.50 then the profit made will be:
`]: [`>£120,000`], [`All together - land, labour, capital and enterprise are known as?
`]: [`>Factors of production`], [`Poor customer service can lead to a loss of:
What is a disadvantage of using social media listening for market research?
`]: [`Limited control and reliability of data`], [`What is a key advantage of public sector organisations?
`]: [`They provide essential services for the public`], [`Which are advantages of primary/field research over secondary/desk research?
Of the following approaches, which is the least likely to motivate and retain staff?
`]: [`a health and safety policy`], [`Max uses a system called BACS to help manage his firm’s finances. BACS is most likely to be use for which of the following?
`]: [`making bank payments online`], [`A toy manufacturer finds that its rivals are increasing market share by selling online. This may best be described as:
`]: [`A technological factor affecting the business`], [`What does flexitime offer to employees?
`]: [`A core set of hours and flexibility in start and finish times`], [`How do charitable organisations typically raise funds?
`]: [`Receiving donations and grants`], [`What is the purpose of referral programs in sales promotion?
`]: [`Reward customers who recommend the product to others`], [`Which of the following is NOT an example of ‘Land’ as a factor of production?
`]: [`Machinery`], [`Melanie has exceeded her sales target, so her firm pays her an additional amount on top of her salary. What is this financial incentive called?
`]: [`>A bonus`], [`In operations management, which are factors that influence the choice of a suppler?
Which of the following is an example of ‘Enterprise’ as a factor of production?
`]: [`Crowd funding for a new business idea`], [`In recruitment, a document setting out the skills and qualifications needed to do the job is known as:
`]: [`>Job specification`, `person specification`], [`Which are demographic factors that a business might use for target marketing?
Under which sector of industry would house building be classified?
`]: [`>Secondary sector`], [`Which of the following items would most likely be produced using Batch Production methods?
Which are advantages of a bank overdraft compared with other types of loan?
The negative impact of poor customer service on a business's sales and revenue is due to:
`]: [`Decreased customer loyalty`], [`The difference between the sales and the cost of sales figures is known as?
`]: [`>Gross profit`], [`Which is untrue of Charities?
`]: [`They are small organisations`], [`The National Minimum Wage Act 1998:
`]: [`sets a minimum wage per hour based on age`], [`How does market research benefit businesses in understanding customer preferences?
`]: [`By identifying emerging trends and potential gaps in the market`], [`Which are steps a business can take to solve cash flow problems?
The _____ sector of industry provides services rather than producing tangible goods
`]: [`>Tertiary sector`], [`A business uses earning accumulated over previous years to fund an expansion rather than take out a loan. This source of finance is called:
`]: [`Retained profit`], [`Which of the following is not a solution to a business experiencing cash flow problems?
`]: [`paying bills to suppliers more quickly`], [`Which of the following is NOT a stage in product development:
`]: [`Market segmentation`], [`Which of the following would NOT be part of the secondary sector of industry?
`]: [`Secondary school`], [`Which regulations require certain employers to report their gender pay gap data annually?
`]: [`Equality Act 2010 (Gender Pay Gap Information) Regulations`], [`Which type of recruitment test the candidate’s ability to think through hypothetical work scenarios and handle common workplace challenges?
`]: [`Situational judgement tests`], [`A possible advantage of desk/secondary research is that the information:
`]: [`is usually inexpensive and widely available`], [`A new coffee shop opens in a high street where there are many competitors. It charges half the price of its competitors for the first 6 months. This is an example of:
`]: [`penetration pricing`], [`Which are advantages of hire purchase as a source of finance for a business?
What is the most accurate definition of market research?
`]: [`The process of gathering and interpreting market data`], [`A company sales are £300,000; its variable costs are £200,000 and its fixed costs are £40,000. Calculate its total contribution.
`]: [`>£100,000`], [`What is a defining characteristic of a social enterprise?
`]: [`Social or environmental mission`], [`Face-to face interview and postal surveys are examples of which type of market research?
`]: [`>Primary or field research`], [`Ethical considerations are important for businesses because:
What is the result of maintaining high product quality for a business?
Which payment method rewards employees for going above and beyond their regular duties?
`]: [`Bonus`], [`Which of the following are likely to be included in an employer’s Equal Opportunities policy?
Tesco supermarket is pricing a litre of milk at 10 pence to attract customers away from rival stores. This is an example of:
`]: [`a loss leader`], [`Which are true of e-commerce?
A document containing a set of pre-prepared questions that a candidate for a job needs to complete is known as:
`]: [`>Application form`, `application form`], [`Which are disadvantages of internal recruitment for a job vacancy?
Which of the following technology tools would be best for keeping track of transport deliveries?
`]: [`GPS`, `GPS`], [`In most industries, product quality is important because:
`]: [`a poor reputation can lose market share`], [`Acting out a scenario to see how an employee would perform under certain conditions is an example of which type of staff training?
`]: [`role play`], [`A firm has just installed a VLE to help with training staff. What does VLE stand for?
`]: [`>Virtual learning environment`], [`Which are advantages of a mortgage as a source of finance for a business?
Which are normally included in a Person Specification?
An advantage of field/primary research is that information gathered is:
`]: [`targeted and specific`], [`From the following data for OYT Ltd, calculate the total profit.

Some costs, such as factory rent, do not vary with the amount of items produced. What are these called?
`]: [`>Fixed costs`], [`Which are factors that might cause a business to changes its objectives?
What is the main motivation for individuals to participate in community groups?
`]: [`Personal development opportunities`], [`Ahmed is an IT worker whose employer allows him to work from his house. The term for this is:
`]: [`homeworking`], [`How are employees compensated in performance-related pay?
`]: [`By achieving specific standards or targets`], [`Which factor of production involves natural resources like land, water, forests, minerals, and oil?
`]: [`Land`], [`The Health and Safety at Work Act 1974:
`]: [`promotes a safe working environment`], [`Research a firm carries out to identify the specific needs of its customers is known as:
`]: [`target marketing`], [`Which of the following is an example of ‘Labour’ as a factor of production?
`]: [`Manager`], [`Which of the following is true of partnerships?
`]: [`They can have between 2 and 20 owners`], [`Which are examples of a company’s external stakeholders?
Which inventory control systems attach electronic devices to products or packaging, providing real-time data on inventory location and movement?
Which type of customer service typically involves providing assistance following a purchase?
How do employees benefit from compressed hours?
`]: [`They have extended periods of time off`], [`Which are disadvantages of sole traders compared with other forms of business organisations?
Trello, Google Workspace and Microsoft Project are all principally examples of:
`]: [`Project management software`], [`Which of the following is NOT a consideration when a firm is setting the price of a new product?
`]: [`The method of producing the product`], [`Shareholders can influence a business by:
`]: [`Changing the management at the AGM`], [`Which are potential drawbacks of a mortgage as a source of finance for a business?
The first stage of the product development process is ______ generation
`]: [`>Idea`], [`Which of the following would not be part of the tertiary sector of industry?
`]: [`Winemaker`], [`In business, the measure of how well a product or service meets consumer needs is known as customer __________
`]: [`>Satisfaction`], [`ISO certificates are examples of:
`]: [`Quality standards`], [`The availability of resources can influence where a business locates. Which of the following is NOT an example of resources?
`]: [`distribution`], [`Which are potential benefits of employee training in a manufacturing company?
The value of a shareholder’s investment in a company is known as:
`]: [`Equity`], [`Which of the following is an internal source of funding for a business.
`]: [`owner investment`, `retained profit`], [`Brown & Co sell 4,000 units to generate a sales revenue of £280,000. Calculate the unit selling price.
`]: [`>£70.00`], [`Which are video based platforms that enable HR departments to carry out job interviews online?
An organisation owned by shareholders is known as?
`]: [`>A company (or plc)`], [`If a firm buys 5,000 units of a product at a unit cost of £12.50 and sells all items at a unit cost of £17, then the profit made will be:
`]: [`£22,500`], [`Supplier Z allows a period of time between delivering supplies to a company and that company having to pay for them. This is known as:
`]: [`trade credit`], [`Which mode of transportation is often more cost-effective for short to medium distances?
`]: [`Road`], [`Which are disadvantages of Batch Production when compared with other methods?
Which are reasons why primary sector businesses need to be located near raw materials?
Which would be examples of economic factors affecting a business?
What factor can contribute to charging a higher price for a product?
`]: [`Unique features and superior quality.`], [`Which are benefits to be gained from a computerised inventory control system?
Which are examples of off-the-job training?
Training that is undertaken at an employee’s place of work is called:
`]: [`>On-the-job training`], [`Which of the following is NOT an external stakeholder in a company?
`]: [`the company’s employees`], [`Which sector of the economy is driven by social or environmental objectives rather than profit?
`]: [`>Third sector`], [`Where employees are given more responsibilities, freedom to make decisions, and opportunities to learn new things, the term for this approach is:
`]: [`Job enrichment`], [`When a vacancy arises the tasks and skills required for the position are identified. This process is known as:
`]: [`job analysis`], [`Which would be examples of environmental factors affecting a business?
A Ryan Air flight Majorca costs £300 in July and £200 in September. This is an example of:
`]: [`demand-oriented pricing`], [`How is profit distributed in a sole trader business?
`]: [`Kept entirely by the sole trader`], [`What is the purpose of loyalty cards/schemes in sales promotion?
`]: [`Reward repeat customers and encourage loyalty`], [`Which of the following is true of a sole trader?
`]: [`They are usually small in size`], [`The order of the phases of the product life cycle are as follows:
`]: [`introduction, growth, maturity, decline`], [`Raising small amounts of business finance from a large amount of people through social media is known as?
`]: [`>Crowd funding`], [`From the financial data supplied by ITR Plc, what is the net profit for the year?

Which are examples of not-for-profit organisations?
Which are potential sources of finance for a small business?
Which of the following is NOT likely to be a factor in decisions about where a product is to be sold?
`]: [`the price of the product`], [`Which of the following is NOT true of a partnership organisation?
`]: [`Partners always share profits equally.`], [`Grouping consumers with similar characteristics is known in marketing as.
`]: [`market segmentation`], [`In which learning method does an experienced employee provide guidance, advice, and support to a less experienced employee?
`]: [`Mentorship`], [`In business, what is the term used to describe the buyer of goods and services?
`]: [`>Consumer`], [`Which are technologies that would support video-based face-to-face job interviews?
Five car dealerships are located close to each other so they benefit from high consumer footfall in the area. The marketing term for this grouping is:
`]: [`>Agglomeration`], [`Which of the following would be ways in which managers could influence a business?
For a manufacturing company, which are potential benefits arising from quality management systems?
Which Microsoft Office software would an HR department most likely use to create templates for standard documents such as application forms and job descriptions?
`]: [`Word`], [`What is a private limited company?
`]: [`A business entity privately owned by shareholders`], [`Which are possible consequences of consistently poor customer service?
What is a disadvantage of a partnership?
`]: [`Partners have unlimited liability the debts of the business`], [`The _____ sector of industry involves activities like manufacturing, construction, and energy production
`]: [`>Secondary sector`], [`Which are duties of employers under The Health and Safety at Work Act 1974?
Which inventory control systems attach electronic devices to products or packaging, providing real-time data on inventory location and movement?
Which are benefits to business of flexible working practices for employees?

From the information above, GHI Limited has a total profit of:
`]: [`£70,000`], [`Firm D uses technology that relays information about sales to a warehouse by reading barcodes. What is this technology called?
`]: [`>Electronic Point of Sale (EPOS)`], [`Which of the following items would most likely be produced using Flow Production methods?
Which of the following would NOT be part of the primary sector of industry?
`]: [`Primary school`], [`Which are advantages of using web-based technologies such as Zoom and Skype for virtual job interviews instead of traditional face-to-face methods?
For a manufacturing company, which are benefits of minimising product packaging?
A company introduces biodegradable packaging. Which main business objective would this be addressing?
`]: [`Social responsibility`], [`Golf clubs and gardening allotments are typical examples of what type of organisation?
`]: [`Community group`], [`Which are steps a business can take to solve cash flow problems?
Which of the following changes would help to create a more positive working environment in an office?
`]: [`providing break out areas`], [`Which statement best describes the legal status of a sole trader?
`]: [`The owner has unlimited personal liability for business debts`], [`Employees at Lees & Co are protesting by carrying out their duties at a slower pace of work. What is this form of action called?
`]: [`>Go slow`], [`A document containing a summary of a candidate’s education, qualifications and previous employment is known as:
`]: [`>Curriculum vitae`, `curriculum vitae`], [`Which of the following technologies would most likely be of benefit to a human resources department?
`]: [`VLE`], [`What is a potential disadvantage of being a sole trader?
`]: [`Personal liability for business debts`], [`Interviews conducted personally by an interviewer to individual respondents are known as ____ to ____ interviews
`]: [`>Face to face interviews`], [`A business is able to withdraw more money from its bank account than it has available. This is type of funding is known as:
`]: [`overdraft`], [`Haley Ltd sell 9,000 units to generate a sales revenue of £630,000. Calculate the unit selling price.
`]: [`>£70.00`], [`Which factor is NOT considered when determining the price of a product?
`]: [`Packaging design`], [`Which of the following is NOT an external factor affecting a company?
`]: [`Demands of shareholders`], [`Factory workers occupy their workplace in order to prevent any work from taking place. What is this form of action called?
`]: [`>Sit-in`], [`In Harvey Limited, a small group of employees meet regularly to discuss how to improve methods of working. What is the term for this?
`]: [`>Quality circle`], [`Which are demographic factors that a business might use for target marketing?
A firm advertises a job vacancy the local newspaper. This is an example of:
`]: [`external advertising`], [`A small number of candidates selected from a larger group of job applicants is known as:
`]: [`shortlist`], [`Gina is allowed to choose her start and finish time each day. What term is used to describe this arrangement?
`]: [`>Flexitime`], [`Farouk supports Amy at work by passing on his knowledge and skills to her. The name for this type of training is:
`]: [`>Coaching`], [`Which element of the marketing mix includes distribution channels, logistics, and inventory management?
`]: [`>Place`], [`Costs that change directly with the number of items produced are known as:
`]: [`variable costs`], [`Which level of government has responsibility for the armed forces?
`]: [`>UK government`], [`Name a type of test that might be used as part of an assessment centre for recruitment.
`]: [`>Aptitude tests, Intelligence test, Psychometric test`], [`Which are advantages of sole traders compared with other forms of business organisations?
A firm might use field/primary research to gather:
`]: [`first-hand information for a specific purpose`], [`Customers are able to influence a company:
`]: [`by changing to a rival business`], [`What is the primary source of participation in community groups?
`]: [`Local businesses and corporations.`], [`The main aim of quality management is to:
`]: [`have zero defects reaching the customer`], [`Which mode of transportation generally has longer transit times for intercontinental shipments?
`]: [`Sea`], [`What is the maximum number of partners legally permitted in a partnership organisation?
`]: [`>20`], [`Which are benefits of carrying out market research?
A large group of job candidates is reduced to small number to be interviewed. This smaller group is known as the:
`]: [`>Short leet`], [`Which flexible working method divides the hours and responsibilities of one full-time position between two employees?
`]: [`Job share`], [`Which of the following would be ways in which managers could influence a business?
In which sector do social enterprises operate?
`]: [`Private sector`], [`Providing high quality customer service can lead to:
In market research, one advantage of online surveys is that:
`]: [`they can cover a large consumer sample size`], [`Which of the following is part of the tertiary sector of industry?
`]: [`Bank`], [`Which are accurate statements about online surveys as a method of market research?
Which technology helps businesses monitor and manage their presence on platforms such as Instagram and Facebook?
`]: [`Social Media Management Tools`], [`Which of the following are likely to be included in an employer’s Equal Opportunities policy?
Which of the following technologies are beneficial for home or remote working?
Tom’s bakery produces 200 loaves of bread each day. Which method of production is most likely to apply to this business?
`]: [`batch production`], [`Which of the following items would not appear on a firm’s income statement?
`]: [`opening cash balance`], [`Which are external methods of advertising a job vacancy?
Which is the fourth and final phase of the product life cycle?
`]: [`>Decline`], [`Implementing energy-efficient practices, such as using LED lighting would be an example of a business:
`]: [`Being environmentally friendly`], [`What is an advantage of online surveys as a method of market research?
`]: [`Reaches a large geographic area and is relatively inexpensive`], [`What does strong product branding help achieve?
`]: [`Differentiation from competitors’ products`], [`Which are normally included in a Job Description?
Which are true of hire purchase as a source of business finance?
Which are examples of a company’s internal stakeholders?
Which are advantages of Batch Production when compared with Job Production?
Which are accurate statements about owner investment as a source of finance for a business?
In which learning method do employees observe experienced colleagues performing their job to gain insights and understanding?
`]: [`Shadowing`], [`A firm keeps a far higher level of inventory than it will ever need. What is the term for this situation?
`]: [`>Overstocking`], [`Lawson Plc has a plan of its expected cash receipts and payments during a future period of time. What is another name for this plan?
`]: [`>Cash budget`], [`Which legislation prohibits discrimination based on protected characteristics such as age, disability, and sexual orientation in the workplace?
`]: [`Equality Act 2010`], [`In market research, one advantage of face to face interviews is that:
`]: [`consumer attitudes can be explored in detail`], [`Which are examples of primary/field research methods?
Having a motivated staff can help to ensure:
`]: [`higher productivity`], [`Which stage of product development involves evaluating the financial viability and market potential of the product concept?
`]: [`Business Analysis`], [`For a manufacturing company, which are potential benefits arising from quality management systems?
Which factor of production is likely to be most important for a farm?
`]: [`>Land`], [`Which are advantages of sole traders compared with other forms of business organisations?
From the financial data supplied by Haley & Daley, what is the gross profit for the year?

The marketing mix combines the elements of price, product, promotion and ________
`]: [`>Place`], [`In which scenario can businesses benefit from locating near competitors?
`]: [`Creation of synergy and drawing more customers`], [`A quarter of the people employed by Social Bite come from a homeless background. This is an example of a:
`]: [`social enterprise`], [`Which are factors that directly influence the selling price of a product?
In finance, the term used to describe all the money that comes into and goes out of a business is:
`]: [`cash flow`], [`What kind of market research data is based on numbers and statistics?
`]: [`Quantitative data`], [`Businesses in the Private sector are owned by:
`]: [`Shareholders and investors`], [`What sets social enterprises apart from traditional non-profit organisations?
`]: [`Their focus on generating revenue and profits`], [`Which type of recruitment test measures a candidate’s cognitive abilities, like problem-solving, critical thinking, and decision-making?
`]: [`Aptitude`], [`Which of the following is NOT a devolved power of the Scottish Government at Holyrood?
`]: [`Defence`], [`
This means that TWX earns a contribution per unit of:
`]: [`£4`], [`Which of the following employees does NOT work in the tertiary sector?
`]: [`Factory manager`], [`Which customer service channel involves online conversations with representatives?
`]: [`Live chat customer service`], [`What role does social media play in consumer satisfaction?
`]: [`It can influence a company's reputation through online reviews.`], [`Bailey and Barton use a software program called SAGE to support their day to day work. Which of the following would not be a typical use of SAGE?
`]: [`market research`], [`When a new iPhone comes out the price is usually high, then gradually reduces over time. This is an example of:
`]: [`skimming pricing`], [`In marketing, making customers aware of a product or service is known as:
`]: [`sales promotion`], [`Which are potential drawbacks of hire purchase as a source of finance for a business?
How are profits and losses typically shared in a partnership?
`]: [`According to the agreed-upon partnership agreement`], [`
From the financial information above the closing cash balance will be:
`]: [`-£11,000`], [`What does the objective of growth involve for a business?
`]: [`Long-term stability and success`], [`From the financial data for Zahid plc, calculate the closing cash balance for the period in question.

A manufacturer inspects items at the end of the production process and any faulty products are discarded or sent back to be fixed. This policy is known as:
`]: [`quality control`], [`Which are factors that might determine the most suitable source of finance for a business?
Some costs, such as raw materials, change with the amount of items produced. What are these called?
`]: [`>Variable costs`], [`Which are advantages of social media listening as a form of market research?
A business keeps the price of its product higher than those of its competitors to brand it as a luxury item. This pricing strategy is known as:
`]: [`>Premium pricing`], [`The phase of the product life cycle where sales fall due to changes in fashion of lifestyle is:
`]: [`Decline`], [`Which of the following would be most useful for supporting What If? scenarios in business?
`]: [`Database`], [`Which are advantages of secondary/field research over primary/field research?
How does competition influence pricing decisions?
`]: [`It can impact pricing strategies and market positioning.`], [`The process of wealth creation means the following:
`]: [`Adding value at each stage of production`], [`The MAIN purpose of induction training is to:
`]: [`Help new employees feel comfortable, confident, and prepared for their new roles`], [`Noah is released from his job to attend work-related lectures in a local college every Friday. This is an example of:
`]: [`Classroom-based learning`], [`In production, which are possible disadvantages of overstocking?
What is the term used to describe the stock of raw materials held by a business?
`]: [`>Inventory`], [`Which of the following strategies is most likely to maximise customer satisfaction.
`]: [`Providing guarantees for a product`], [`Why is having exclusivity in a location beneficial for a business?
Which of the following technology tools would be best for relaying information about sales to a warehouse?
`]: [`EPOS`, `EPOS`], [`Jamal watches Kim at work on the assembly line as a way of learning how a product is made. This type of training is knowns as?
`]: [`>Observation`], [`Which are examples of primary/field research methods?
Dominos Pizza chain is running a buy one, get one free promotion. This marketing is an example of:
`]: [`a special offer`], [`Which are examples of environmentally friendly operations?
Which is not an example of project management software?
`]: [`Skype`], [`Which term describes the negative financial outcome that a business achieves when its total revenue is less than its total expenses?
`]: [`>Loss`], [`Which letter corresponds to minimum stock level on this inventory control chart?

Businesses are also required to think about what is right and wrong in terms of how its operations are conducted. This requires them to act:
`]: [`Ethically`], [`Which are advantages of on-the-job training compared with external training?
A loan that is secured against a property and paid back in instalments, usually over a long period of time, is known as?
`]: [`>Mortgage`], [`How does consumer satisfaction impact businesses?
`]: [`It increases profits and sales.`], [`Which sector of the economy relies on donations, grants, and volunteers to fulfil its mission?
`]: [`Third Sector`], [`Businesses in the tertiary sector of the economy are most likely to be located:
`]: [`close to areas of high population`], [`A company cuts costs during an economic downturn. Which main business objective would this be addressing?
`]: [`Survival`], [`Which are accurate statements about focus groups as a method of market research?
Which of the following is NOT true of Billboard advertising?
`]: [`it is one of the most expensive forms of advertising`], [`Many companies in the UK reduce their prices on Black Friday each year. This is an example of:
`]: [`promotional pricing`], [`Which factor of production refers to the workforce involved in producing goods or providing services?
`]: [`>Labour`], [`The price of a coffee is higher at Edinburgh airport than it is in a high street shop. This is due to
`]: [`exclusivity`], [`Which are examples of strategies designed to extend the life cycle of a product?
One possible benefit to a business resulting from good quality customer services is:
`]: [`Increased customer loyalty`], [`A manufacturer inspects and tests products at various stages of the production process to ensure they meet the predetermined quality standards. In operations, the term for this is:
`]: [`Quality assurance`], [`A toy manufacturer finds that a rival business has brought out an identical toy. This may best be described as:
`]: [`A competitive factor affecting the business`], [`Which factor of production represents the willingness to come up with new ideas, try new things, take risks, and spot business opportunities?
`]: [`Enterprise`], [`Raising small amounts of finance from people through social media or websites is typically known as:
`]: [`crowd funding`], [`Which are potential risks of poorly designed product packaging?
Which are disadvantages of external recruitment for a job vacancy?
Making a wedding cake is most likely to be an example of:
`]: [`job production`], [`Which act provides key employment rights, including protection against unfair dismissal and the right to a written contract?
`]: [`Employment Rights Act 1996`], [`Which are advantages of computerised inventory control systems?
Which type of production would be used by drinks manufacturer Coca Cola?
`]: [`>Flow production`], [`How does e-commerce impact the speed of transactions?
`]: [`Faster and more efficient transaction processing`], [`What is the main difference between an application form and a Curriculum Vitae?
`]: [`An application form is designed by the organisation, a CV is created by the applicant.`], [`From the financial data supplied by Hall & Ball, what is the gross profit for the year?

Which system is used to transfer money securely and quickly between bank accounts and to pay suppliers?
`]: [`>BACS`], [`Where employees occupy their workplace in order to prevent any work from taking place, this is known as:
`]: [`sit in`], [`From the financial information for GGA Limited, how many units must they sell to break even?

What is the main purpose of point of sale displays in sales promotion?
`]: [`Promote impulse purchases by customers.`], [`What is the main aim of businesses such as sole proprietorships, partnerships, and companies?
`]: [`To make a profit`], [`Which of the following is NOT an internal stakeholder in a company?
`]: [`a supplier`], [`Which technology can be used for the preparation of marketing materials using digital photography and video?
`]: [`Multimedia`], [`A hairdresser moves into an area where there are already 3 other salons. The owner starts by charging half the price of the other salons for haircuts. This is an example of:
`]: [`destroyer pricing`], [`Which of the following is generally TRUE about the price of a product?
`]: [`the higher the price the lower the sales`], [`In which ways could banks influence a business?
Consider the following statements about retained profit as a source of business finance. Which one is UNTRUE?
`]: [`the rate of interest is lower than other sources`], [`Which of the following companies would be MOST likely to use computer-aided manufacturing?
`]: [`BMW (cars)`], [`Which is a software platform that assists HR departments in managing the recruitment and hiring process?
`]: [`Applicant Tracking System (ATS)`], [`Which of the following is NOT true of radio advertising?
`]: [`features of the product can be demonstrated`], [`Which of the following could NOT be described as a business objective?
`]: [`Customer dissatisfaction`], [`A firm buys a lorry with a deposit plus monthly instalments over a set period of time. The business does not own the item until all payments are made. What is this type of funding known as?
`]: [`>Hire purchase`], [`How are employees paid in piece rate?
`]: [`For each item they produce or complete`], [`Which are examples of secondary/desk research methods?
What learning method involves employees watching a task being performed by others and then attempting it themselves?
`]: [`Demonstration`], [`A sum of money borrowed from a bank that is secured against a property and paid back in instalments is known as:
`]: [`a mortgage`], [`Which would be examples of social factors affecting a business?
In finance, the point at which a business makes neither a profit nor a loss is known as:
`]: [`break even`], [`From the following data for LEM Ltd, calculate the total profit.

Which are standard sections of a job application form?
Why does high product quality lead to increased customer satisfaction?
`]: [`It ensures the product performs well and lasts.`], [`Where small groups of employees meet regularly to discuss how to improve methods of working, this is known as:
`]: [`a quality circle`], [`What is a potential disadvantage of a private limited company compared with other forms of businesses?
`]: [`Lack of privacy in financial statements since accounts are published`], [`Sit-in, overtime-ban and work-to-rule are all examples of :
`]: [`>Industrial action`], [`At which stage of product development are potential ideas evaluated to determine their feasibility?
`]: [`Idea Screening`], [`In some industries, products that reach a required quality standard are awarded a mark. What is the term for this mark?
`]: [`>quality logo`], [`Which are advantages of on-the-job training compared with external training?
Which are true of leasing as a source of business finance?
Where a business carries out research to determine the needs and wants of consumers, this is known as:
`]: [`>Market research`], [`Ash Limited sells 37,200 units of a product. The selling price is £3.50 per unit. Calculate sales revenue.
`]: [`>£130,200`], [`Which are examples of non-financial incentives for employees?
Which letter corresponds to maximum stock level on this inventory control chart?

Interviews conducted personally by an interviewer to individual, or multiple, respondents are known as:
`]: [`face-to-face interviews`], [`Which are true of e-commerce?
How do social enterprises generate revenue?
`]: [`Sales of goods or services`], [`Which are standard sections of a job application form?
Recycling packaging can benefit a manufacturing business because it:
`]: [`reduces the costs of production`], [`A statement from a previous employer stating the suitability of the candidate for the vacancy is called:
`]: [`reference`], [`What is a potential challenge in a partnership regarding decision-making?
`]: [`Disagreements and differences of opinions among partners`], [`Which would form part of induction training for new staff?
Which are possible impacts of industrial action on a business?
A disadvantage of field/primary research is that it is:
`]: [`expensive and time-consuming`], [`Which factor of production is likely to be most important for a car manufacturer?
`]: [`>Capital`], [`How does limited liability benefit shareholders of a private limited company?
`]: [`Personal assets are protected from business debts and obligations`], [`Which of these online platforms would not be used for virtual face to face job interviews?
`]: [`Google Chrome`], [`Preventing customers from switching to competitors is achieved by:
`]: [`Addressing customer needs and resolving issues`], [`Training delivered online through digital platforms, allowing learners to access learning materials remotely at their own convenience is called:
`]: [`E-learning`], [`Which of the following is NOT a key factor when a business is choosing a new supplier.
`]: [`method of production`], [`Market ________ is the term for grouping together consumers with similar characteristics?
`]: [`>Market segmentation`], [`Which are true of email advertising?
Which are benefits to a business of recycling?
The marketing mix combines the elements of price, promotion, place and ________
`]: [`>Product`], [`What is the main purpose of customer service?
`]: [`To ensure customer satisfaction with a product or service`], [`Which are examples of secondary/desk research methods?
A firm uses market information that has already collected by someone else. What kind of market research is this?
`]: [`>Secondary or desk research`], [`What is the purpose of bundling in sales promotion?
`]: [`Increase the overall value of purchases`], [`In inventory management, which statements about understocking are accurate?

From the financial information above, the GROSS Profit for IBQ Limited will be:
`]: [`£38,000`], [`Which are accurate statements about hall tests as a method of market research?
Which Microsoft Office software would a small firm most likely use to create a training presentation for employees?
`]: [`PowerPoint`], [`Which of the following is untrue of Rail Transport as a method of distributing goods?
`]: [`It is slower than transporting by road or sea`], [`If a product is perceived to have unique features, superior quality, or offers additional benefits, it may command a higher price. The marketing term for this is:
`]: [`Value proposition`], [`Which are potential benefits of effective product packaging?
Which is NOT a video based platform that an HR department would for online job interviews?
`]: [`LinkedIn`], [`From the following data for ZZZ Ltd, calculate the contribution per unit.

The _____ sector of industry provides professional services such as consulting and entertainment
`]: [`>tertiary`], [`Consider the following statements about owner investment as a source of business finance. Which one is UNTRUE?
`]: [`it needs to be repaid`], [`Jafari has kids to pick up from school 3 days every week, so she starts and leaves work early on these days. This arrangement is known as:
`]: [`flexitime`], [`How might Microsoft Word be used to support the recruitment of new staff?
`]: [`Templates for application forms and job descriptions`], [`Consider the following statements about a bank overdraft as a source of finance. Which one is UNTRUE?
`]: [`it is a long-term source of finance`], [`Which of the following would be classed as a ‘tangible good’?
Which are examples of internal factors affecting a business?
Which of the following is NOT a duty of employers under The Health and Safety at Work Act 1974?
`]: [`Ensure that the workplace facilities lack proper ventilation.`], [`What makes a product recognisable to customers and stand out from those of its competitors is known in marketing as:
`]: [`branding`], [`How does e-commerce contribute to cost efficiency for a retail business?
`]: [`It eliminates physical storefront costs`], [`Which of the following items would most likely be produced using Job Production methods?
Effective inventory control and management helps a business to . . .
Which of the following is NOT a tangible good?
`]: [`Haircut`], [`Neighbourhood watch is an example of a:
`]: [`Community group`], [`Which of the following employees work for a secondary sector organisation?
`]: [`Bricklayer`], [`Which are potential drawbacks to a business of leasing an asset such as a motor vehicle?
A business aims to match the standard of the quality leader in the market. What is the name for this strategy?
`]: [`>Benchmarking`], [`Which are examples of manufacturers failing to act ethically?
Which are advantages of primary/field research over secondary/desk research?
Which of the following is an example of an organisation is in the Private sector?
`]: [`British Airways`], [`Which sales promotion tactic aims to foster customer retention and build a loyal customer base?
`]: [`Loyalty cards/schemes`], [`Which technology helps businesses optimise their websites to improve search engine rankings and increase traffic?
`]: [`Search Engine Optimisation (SEO) tools`], [`In production, goods that are partly made, or at the stage of assembly, are usually referred to as:
`]: [`Work-in-progress`], [`Which of the following is an advantage of Batch Production when compared with other methods?
`]: [`part-finished goods can be completed later`], [`"As the product gains traction and customer acceptance, sales volumes rise, and market share expands."
Which stage of the product life cycle is being described?
`]: [`Growth`], [`Business objectives can be best described as:
`]: [`Targets set by a business`], [`In marketing, Rolex and Samsung are examples of:
`]: [`>Luxury brands`], [`Which element of the marketing mix deals with product features, design and packaging?
`]: [`>Product`], [`Which are sources of finance for a business?
A business ceases trading due to it being unable to pay its debts and its remaining assets are sold to pay creditors. This situation is known as:
`]: [`liquidation`], [`Under which sector of industry would banking be classified?
`]: [`>Tertiary sector`], [`Which is the benefit of submitting a curriculum vitae for a job vacancy instead of a standard application form?
`]: [`A curriculum vitae is more personal, allowing applicants to highlight their strengths and achievements.`], [`The earnings that an employee of a business receives for their work is known as:
`]: [`Salary`], [`The extra inventory held as a precautionary measure to account for potential delays in deliveries or unexpected increases in demand is called:
`]: [`Buffer inventory`], [`Which are purposes of product branding?
Which factor of production includes human-made resources such as machinery, tools, buildings, technology, and money?
`]: [`>Capital`], [`Burnham and Co sell 7,210 units of a product. The selling price is £19.50 per unit. Calculate sales revenue.
`]: [`>£140,595`], [`Which are advantages of grants as a source of finance?
A firm uses sensors to collect real-time data on inventory levels and environmental conditions such as temperature and humidity of the warehouse. The term covering this type of technology is:
`]: [`The Internet of Things`], [`What is the main purpose of offering free samples in sales promotion?
`]: [`Introduce new products to potential customers`], [`A firm producing hair colouring products is most likely to be interested in which market segment?
`]: [`age`], [`Which of the following training is NOT an example of off-the-job training:
`]: [`job shadowing`], [`Which are examples of online job boards and websites?
Workers at Cathy's Cakes are protesting by only carrying out tasks in their contract. What is this form of action called?
`]: [`>Work-to-rule`], [`
The company’s sales revenue this year is:
`]: [`£750,000`], [`What is a sole trader?
`]: [`A business owned and operated by a single individual`], [`A bank gives a business a fixed amount of money to be repaid over time with interest. What is this source of finance known as?
`]: [`>Bank loan`], [`What is an advantage of a private limited company compared with other forms of business?
`]: [`Shareholders have limited personal liability for the debts of the business`], [`Where unhappy employees take action to put pressure on management to meet their demands, this is known as:
`]: [`industrial action`], [`
From the financial information above the closing cash balance will be:
`]: [`£12,000`], [`
From the financial information above, the NET Profit for TTT Limited will be:
`]: [`£170,000`], [`Which are sources of finance for a business?
A firm sets a level for inventory of raw materials that should not be exceeded. This is called the ______ ______ level?
`]: [`>Maximum inventory`], [`Which are benefits of carrying out market research?
Which of these online platforms could be used for virtual face to face job interviews?
A form of recruitment where candidates attend for one or more days for interview and testing is known as:
`]: [`an assessment centre`], [`Which method of production would a car manufacturer such as Audi most likely use?
`]: [`flow production`], [`Which of the following can be considered a drawback of raising funds through a share issue?
`]: [`new shareholders require to be paid dividends`], [`What is the term used to describe goods that are partly made, or at the stage of assembly?
`]: [`>Work-in-progress`], [`Which of the following are typical aims of a not-for-profit organisation?
Sainsbury supermarket have Easter eggs located close to the checkouts in March and April. This is an example of:
`]: [`point-of-sale display`], [`Which element of the marketing mix considers factors such as production costs, competition, market demand, and perceived value?
`]: [`>Price`], [`Which are examples of not-for-profit organisations?
A business is an organisation that:
Environmental considerations are important for businesses because:
How does packaging contribute to brand recognition?
`]: [`By creating a distinctive and recognisable appearance`], [`A business owned and controlled by owner person is known as?
`]: [`>Sole trader`], [`Moving employees through different roles/jobs within an organisation, so they acquire a range of skills is known as:
`]: [`job rotation`], [`A supplier of raw materials allows a period of time before purchasing pays for them. This arrangement is known as?
`]: [`>Trade credit`], [`A document that states the tasks and responsibilities of a job is known as:
`]: [`>Job description`], [`Which sector of the economy includes government services and agencies?
`]: [`>Public sector`], [`The _____ sector of industry involves the processing and manufacturing of raw materials
`]: [`>Secondary sector`], [`What is the term used to describe resources or ingredients required to produce a product?
`]: [`>Raw materials`], [`A toy manufacturer finds that toy animals have gone out of fashion as a gift for babies. This may best be described as:
`]: [`A social factor affecting the business`], [`The owners of a private limited company usually receive a return on their investment in the form of a ________
`]: [`>Dividend`], [`Which regulations cover working time, rest breaks, and annual leave entitlements for employees?
`]: [`Working Time Regulations 1998`], [`What distinguishes public sector organisations from private sector entities?
`]: [`They are owned and run by government agencies`], [`In marketing, making customers aware of a product or service is known as sales ______
`]: [`>Promotion`], [`To gain entry to the market, a firm sets a low price for its product, then raises it over time. This pricing strategy is knows as:
`]: [`>Penetration pricing`], [`A coffee maker costs £70 to produce and the adds a margin of £30 to determine the selling price of £100. This is an example of:
`]: [`cost plus pricing`], [`The type of training offered to employees when they join an organisation is known as:
`]: [`induction`], [`At which stage of product development is the product introduced to the market?
`]: [`Launch`], [`Which of the following is true about recycling materials in production?
`]: [`recycling uses less energy than manufacturing new materials`], [`How is the management and decision-making typically delegated in a private limited company?
`]: [`Directors appointed by shareholders handle management and decision-making`], [`A bank allows a business to withdraw more money from its account than it has available. What is this known as?
`]: [`>Bank overdraft`], [`Where part of the wages an employee receives is a percentage of their sales figure, this is known as:
`]: [`commission`], [`Which type of recruitment test measures a candidate's ability to work with numbers, think logically and solve problems?
`]: [`Cognitive ability`], [`Which of the following is NOT true of e-commerce when compared with traditional methods?
`]: [`It’s a more expensive way of retailing goods`], [`Which are potential benefits of employee training?
What is the key characteristic of a sole trader?
`]: [`Complete control and decision-making authority by a single individual`], [`What can happen if customers are not satisfied with a product or service?
`]: [`The business may lose customers to competitors.`], [`Which of following is true of a private limited company?
`]: [`The shareholders have limited liability`], [`In marketing, the use of slogans and logos is known as:
`]: [`branding`], [`Flexible working practices allow employees to:
`]: [`decide when and for how long to work`], [`In many industries, products that reach a required standard are awarded:
`]: [`quality logo`], [`Which are accurate statements about share issue as a source of finance for a business?
Staff training that takes place in local colleges and on day release is an example of:
`]: [`off-the-job training`], [`When a business is choosing a new supplier, which of the following statements is NOT generally true?
`]: [`the further away a supplier is located, the lower the transport costs`], [`Sarah’s first day in her new job has involved learning about the nature of the business and a tour of key departments. This is known as:
`]: [`Induction training`], [`Which is the MOST likely outcome as a result of minimising packaging in production?
`]: [`There is increased risk of damage to the product.`], [`Which of the following is NOT a major factor influencing consumer satisfaction with a product?
`]: [`Advertising`], [`During recruitment, which are advantages of using an application form are standard sections of a job application form?
Which of the following technologies does not support flexible working practices directly?
`]: [`a digital printer`], [`Which are benefits of carrying out market research?
Which letter corresponds to buffer stock level on this inventory control chart?

Which of the following is not an outcome associated with ongoing industrial action?
`]: [`Relations between employees and managers will be more positive`], [`Which act establishes the minimum wage rates that employers must pay to eligible workers?
`]: [`National Minimum Wage Act 1998`], [`A company displays details of a job vacancy on one of its noticeboards. This is an example of:
`]: [`internal advertising`], [`A business that takes ethical and environmental factors into consideration when producing goods may be described as being:
`]: [`socially responsible`], [`A company holds job interviews using video conference. Suggest a video platform that would be suitable.
`]: [`>Zoom`], [`What does job share involve?
`]: [`Two employees sharing responsibilities of one position`], [`Which are examples of a firm being socially responsible?
What is the primary goal of a social enterprise?
`]: [`Addressing a social or environmental issue`], [`In business, what is the term used to describe tangible items such as a cameras, shoes, or food?
`]: [`>Good`], [`Which are potential causes of cash flow problems for a company?
Which best defines the main aim of branding in marketing?
`]: [`Making a product recognisable to customers`], [`Which of the following is an example of in-person customer service?
`]: [`Receiving help from a sales associate in a retail store`], [`What is the name give to training where employees act out work-based scenarios or situations?
`]: [`>Role play`], [`Which is UNTRUE about a bank loan as a source of funds for a business?
`]: [`it is available only for smaller sums of money`], [`Software packages which allow employees to connect to their work systems and access files, applications, and data from any location are known as:
`]: [`Remote access software`], [`Which of the following is a way for the local community to influence a business?
`]: [`protesting and petitioning`], [`Which of the following statements is UNTRUE of the product life cycle:
`]: [`Profits can only be made during maturity`], [`
From the financial information above, the Gross Profit for the year will be:
`]: [`£35,000`], [`Where respondents get to try out a product and give feedback, this is known as a:
`]: [`hall test`], [`Which are advantages of leasing as a source of finance?
What advantage do social enterprises have in terms of funding?
`]: [`Financial self-sufficiency through revenue generation`], [`Which are examples of secondary/desk research methods?
Which are examples of a company’s external stakeholders?
Which mode of transportation offers the quickest transit times?
`]: [`Air`], [`What type of finance is suitable for a business needing funds for day-to-day operations like buying inventory?
`]: [`Bank overdraft`], [`Which are examples of not-for-profit organisations?
Where employees stand at the entrance to the organisation to demonstrate, this is known as
`]: [`picket line`], [`Which are potential benefits of employee training in a manufacturing company?
Which software platform enables HR departments to manage employee data, automate administrative tasks and manage payroll?
`]: [`Human Resources Information System (HRIS)`], [`What is a key advantage of community groups?
`]: [`They empower individuals to shape their community's future.`], [`Which type of incentive is commonly used in sales-oriented roles?
`]: [`Commission`], [`Where a business operates in an ethical and eco-friendly way. The term for this is ______ ______ (2 words)?
`]: [`>Social responsibility`], [`Which are potential causes of cash flow problems for a business?
Investors provide funding to a company that is expanding. There is an element of risk with the expansion, so the rate of interest is higher. What is the name give to this kind of funding?
`]: [`>Venture capital`], [`Why is product quality important for a business?
`]: [`It improves customer satisfaction and loyalty.`], [`Which is the second phase of the product life cycle?
`]: [`>Growth`], [`Which would be examples of political factors affecting a business?
A firm replaces its petrol delivery vans with electric ones. This is an example of:
`]: [`reducing carbon footprint`], [`Which Microsoft Office software would a small firm most likely use for managing payroll calculations?
`]: [`Excel`], [`Which of the following is NOT true of Road Transport as a method of distributing goods?
`]: [`It is environmentally friendly`], [`In production, which are possible disadvantages of understocking?
The term which describes the total amount of money generated from the sale of goods or services is:
`]: [`Sales revenue`], [`Which are disadvantages of off-the-job training compared with on-the-job?
Which are internal methods of advertising a job vacancy?
Employers may view a candidate’s profile on LinkedIn, Facebook, or Twitter to gather additional information about their general suitability for a job. This is known as:
`]: [`Social media screening`], [`What does technical support primarily assist customers with?
`]: [`Troubleshooting technical issues`], [`Which of the following is a primary sector industry organisation?
`]: [`British Petroleum`], [`Which of the following would not be a ‘Receipt’ on a cash budget?
`]: [`sales discount`], [`Consider the following statements about a grant as a source of finance. Which one is UNTRUE?
`]: [`Grants are repaid at the end of the loan period.`], [`Which of the following is not an example of a market segment?
`]: [`selling price`], [`How does high product quality impact a business's position in the market?
`]: [`It provides a competitive edge in the market.`], [`Which are external sources of finance for a company?
Which of the following is NOT true about a consumer?
`]: [`Someone who creates a product`], [`How can market research help businesses stay ahead of their competitors?
A form of advertising that links directly to consumers smart phones or digital devices is known as:
`]: [`SMS/text advertising`], [`Which are examples of non-financial incentive for employees?
Which of the following is UNTRUE when it comes to raising finance by borrowing from family and friends?
`]: [`interest must be paid back on the debt`], [`In production, the level set for holding raw materials which should never be exceeded is known as:
`]: [`Maximum inventory level`], [`Which UK legislation covers health and safety in the workplace?
`]: [`Health and Safety at Work Act 1974`], [`A statement shows the profit or loss made by a company over a set period of time is known as?
`]: [`>Income statement`], [`Positive word-of-mouth referrals and new customers are a result of:
`]: [`Good customer service`], [`What is the purpose of market testing in product development?
`]: [`Gathering real-world feedback and assessing consumer response`], [`Which are examples of internal factors affecting a business?
Which are advantages of venture capital as a source of business finance?
Organisations in the Third sector are financed mostly by:
`]: [`Gifts and donations`], [`Kara and Amal share the duties and salary of one full-time position. What term is used to describe this arrangement?
`]: [`>Job share`], [`Which type of finance is most suitable for a business wishing to buy a warehouse building?
`]: [`Mortgage`], [`What is the name given to training where employees move through different roles/jobs within an organisation?
`]: [`>Job rotation`], [`A pair of jeans at Marks and Spencer is priced at £29.99. This strategy is an example of:
`]: [`psychological pricing`], [`Discussions undertaken by a small group to highlight opinions about a product are known in marketing as:
`]: [`focus groups`], [`Why is distribution an important consideration for businesses when choosing a location?
`]: [`It reduces transportation time and costs.`], [`Businesses in the Third sector are owned by:
`]: [`Shareholders and investors`], [`Company Z uses technology to control the way machinery is used in manufacture. What is the name give to this system?
`]: [`>CAM (computer aided manufacture)`], [`Which are advantages of external recruitment for a job vacancy?
EFTPOS is:
`]: [`an electronic method of paying for goods`], [`Which type of business is focused on providing services, enforcing laws, and promoting social welfare?
`]: [`Public sector organisations.`], [`Which of the following would NOT contribute to cash flow problems for a business?
`]: [`A decrease in operating expenses`], [`In production, which of the following is a possible advantage of overstocking.
`]: [`The business is able to meet unexpected orders`], [`The marketing mix combines the elements of promotion, place, product and ________
`]: [`>Price`], [`Which are benefits to an organisation of having a motivated staff?
Which of the following production methods would a crisp manufacturer most likely use?
`]: [`batch production`], [`From the chart below, what is the break-even point in units?

At a certain number of sales, a business makes neither a profit nor a loss. What is this point known as?
`]: [`>Break even point`], [`Which of the following is an external stakeholder in a company?
`]: [`the company's suppliers`], [`Khan & Co are finding it difficult to raise funds to expand the business because most lenders view it as a risky investment. In this situation a more likely source of funds would be:
`]: [`venture capital`], [`What is joint and several liability in a partnership?
`]: [`Each partner is individually liable for the partnership's debts and obligations`], [`The interaction between 4 key elements of marketing: product, place, price and promotion is known as:
`]: [`>The marketing mix`], [`Which technology allows businesses to automate repetitive marketing tasks such as email marketing and social media posting?
`]: [`Marketing automation platforms`], [`Which level of government has responsibility for refuse collection in dundee?
`]: [`>Local government`], [`A possible disadvantage of desk/secondary research is that the information is:
`]: [`Out of date by the time it is gathered`], [`Which are potential benefits of effective product packaging?
Which of the following is an internal factor affecting a company?
`]: [`The availability of finance`], [`Which type of recruitment test provide insights into how a candidate might fit into the company culture and work environment, for example, how well they would work as part of a team?
`]: [`Personality`], [`Which one of the following is not an external source of finance for a business?
`]: [`retained profit`], [`Which of the following has a job in the Public sector?
`]: [`Nurse in an NHS hospital`], [`
From the financial information above, the Cost of Sales for the year will be:
`]: [`£25,000`], [`In business, what is the term used to describe intangible items such as house insurance and health care?
`]: [`>Service`], [`Poor customer service can lead to:
`]: [`Decreased customer satisfaction`], [`What is the main purpose of FAQs in customer service?
`]: [`To address common customer questions and issues`], [`Amazon warehouses are located near to major population centres in order to:
`]: [`reduce distribution time and costs`], [`When choosing a supplier, which of the following is NOT true?
`]: [`lower costs of raw materials lead to higher costs of production`], [`The process of identifying the tasks and skills required for a job vacancy is known as:
`]: [`>Job analysis`], [`What is the purpose of limited-time promotions in sales promotion?
`]: [`Create a sense of urgency and value for customers`], [`When employees receive a share or percentage of the profit made by the organisation as part of their salary, this is known as:
`]: [`>Profit share`], [`Which act sets out the legal framework for ensuring health and safety in the workplace?
`]: [`Health and Safety at Work Act 1974`], [`A written document that establishes guidelines to ensure all staff are treated equally, is known as:
`]: [`Equal Opportunities Policy`], [`Which are benefits to a business of environmentally friendly operations?
A share issue is a source of finance available to:
`]: [`companies`], [`Which of the following is untrue of Postal Surveys as a type of market research?
`]: [`response rates are usually high`], [`Which are steps a business can take to solve cash flow problems?
In inventory management, the time taken between an order being placed and an order being received is known as?
`]: [`>Lead time`], [`A company plans to hold job interviews for a vacant post. Which of the following media technologies would NOT be appropriate?
`]: [`Twitter`], [`What can be a disadvantage of public sector organisations?
`]: [`They face challenges in maintaining independence`], [`
From the information above, the number of units LMN Limited must sell to break even is:
`]: [`60,000`], [`How do market conditions affect pricing decisions?
`]: [`They can result in temporary price increases and reductions.`], [`Which of the following is NOT an example of ‘Capital’ as a factor of production?
`]: [`Manager`], [`What is one of the key advantages of e-commerce?
`]: [`Increased global customer reach`], [`Which of the following would be considered an internal factor affecting a company?
`]: [`The skills of the company’s workforce`], [`How does the value proposition of a product affect its price?
`]: [`It can command a higher price for unique features.`], [`What payment method incentivises employees to work efficiently and produce more?
`]: [`Piece rate`], [`Ethical considerations are important for businesses because:
Which of the following is part of the primary sector of the economy?
`]: [`Cider orchard`], [`In sales promotion, what is the main purpose of providing free gifts with a purchase?
`]: [`Incentivise customers to buy a particular product`], [`A firm’s product gains a poor reputation in the market. This is most likely to have resulted from:
`]: [`Consistently poor customer service`], [`Which of the following is a variable cost?
`]: [`power`], [`TTR Limited sells 520,000 units of a product. The selling price is £6 per unit. Calculate sales revenue.
`]: [`>£3,120,000`], [`Which are advantages of crowd funding as a source of business finance?
Which of the following is an example of a need?
`]: [`Food`], [`Which are potential drawbacks of a bank loan as a source of finance for a business?
Why is consumer satisfaction important for businesses in today's interconnected world?
`]: [`It helps build strong customer relationships.`], [`The final stage of the product development process is product ______
`]: [`>Launch`], [`During their lifetime all products go through different phases or stages. In marketing the term for this is:
`]: [`>Product life cycle`], [`Which are accurate statements about retained profit as a source of finance for a business?
What are challenges that charities may face?
Asalah works Mondays and Tuesdays every week. This is known as:
`]: [`part-time working`], [`Which would be regarded as environmental considerations for a manufacturer?
In addition to his salary, Alan’s employer provides free gym membership and a company car. These are examples of:
`]: [`fringe benefits`], [`Which are disadvantages of partnerships as a form of business organisation?
Which are examples of internal factors affecting a business?
Which law was introduced in 1974 to ensure that workplaces were safe?
`]: [`>Health and Safety at Work Act`], [`A company sales are £500,000; its variable costs are £250,000 and its fixed costs are £50,000 This means that its total contribution is:
`]: [`£250,000`], [`Which are forms of customer service provided by a business?
Which element of the marketing mix includes advertising?
`]: [`>Promotion`], [`Which software platform allow employees to access and manage their own HR-related information, such as updating personal details, viewing payslips, requesting time off?
`]: [`Employee Self-Service (ESS) portal`], [`Which would be regarded as environmental considerations for a business?
Assemble Limited manufacture flat pack furniture. Which method of production is this likely to be?
`]: [`>Batch production`], [`Why is being close to competitors beneficial for a business?
`]: [`It encourages competition and drives innovation.`], [`Which of the following is NOT true about employee training schemes.
`]: [`training reduces the need for staff`], [`Which form of advertising offers precise targeting options, real-time analytics, and interactive elements but can be challenging to stand out in the crowded online space?
`]: [`Digital media advertising`], [`Which objective of a business focuses on generating positive net income?
`]: [`Making a profit`], [`In an indoor shopping centre Costa, Starbucks and Café Nero might choose to be located near to each other to benefit from:
`]: [`agglomeration`], [`Which financial document records the gross profit made by a business?
`]: [`>Income statement`], [`In manufacture, the time taken between an order being placed with a supplier and it being received is known as:
`]: [`lead time`], [`Which of the following is not true of strike action by workers:
`]: [`it is against the law`], [`Businesses in the Public sector are owned by:
`]: [`The UK Government`], [`Which learning method involves a knowledgeable staff member guiding an employee through a task to facilitate the learning process?
`]: [`Coaching`], [`The interaction between 4 key elements - product, place, price and promotion - is known as:
`]: [`The marketing mix`], [`Which of the following technology tools would be best for storing information about different types of inventory?
`]: [`Database`], [`In recruitment, a document that states the tasks and responsibilities of the job is known as:
`]: [`job description`], [`Which factor of production is likely to be most important for a clothing factory?
`]: [`>Labour`], [`Which are advantages of off-the-job training compared with in-house training?
Which of the following is Not True of Sea Transport as a method of distributing goods?
`]: [`It is a direct form of distribution`], [`What makes a product recognisable to customers and stand out from competitors is known in marketing as:
`]: [`>Branding or USP`], [`Where employees only carry out the duties that are specifically listed in their contract of employment, this is known as:
`]: [`work to rule`], [`What kind of market research data is based on customer opinions and experiences?
`]: [`Qualitative data`], [`Which are disadvantages of Flow/Continuous Production when compared with other methods?
Which are advantages to a business of market segmentation?
Which of the following is a valid reason for the government to influence the location decision of a business?
`]: [`there is high unemployment in the area`], [`In marketing, which of the following is NOT true of online advertising?
`]: [`it reaches only a small audience`], [`Which law in 2010 was introduced to prevent workplace discrimination?
`]: [`>Equality Act`], [`The people responsible for the overall running of a company are:
`]: [`Directors`], [`Which of the following are likely to be included in an employer’s Equal Opportunities policy?
Save the Children and Oxfam are examples of which type of organisation?
`]: [`Charity`], [`Which are advantages of Job Production when compared with other methods?
Which business objective focuses on offering products or services that meet customers' needs?
`]: [`Providing value to customers`], [`What is the purpose of concept development and testing in product development?
`]: [`Gathering feedback from target customers and refining the concept`], [`What defines community groups or organisations?
`]: [`They are formed by individuals within a specific community or locality.`], [`Jamie had an annual sales target of £50,000 but returned £70,000. His employers paid him extra for exceeding his target. This form of payment is known as:
`]: [`bonus`], [`The resources or ingredients required to manufacture a product are known as:
`]: [`Raw materials`], [`Ahmed spends 3 days following his manager to learn about his roles and responsibilities. This type of training is known as:
`]: [`>Shadowing`], [`For a manufacturing company, which are benefits of minimising product packaging?
Which of the following would be classed as an ‘intangible good’?
Which sales promotion tactic aims to create a fear of missing out (FOMO) and motivate immediate action from customers?
`]: [`Limited-time promotions`], [`Which letter corresponds to reorder level on this inventory control chart?

Which are potential benefits of cash budgeting for a business?
How does product quality impact a business's reputation?
`]: [`High product quality enhances the business's reputation.`], [`The Employees at Billing & Co are protesting by refusing to more than their regular hours. What is this form of action called?
`]: [`>Overtime ban`], [`Which of the following is untrue of Observation as a type of market research?
`]: [`Explains consumer behaviour and motivation`], [`The process of converting waste materials into reusable materials to create new products is called ______
`]: [`>Recycling`], [`In recruitment, 3 of the following types of test are commonly used at assessment centres. Which one is not?
`]: [`induction test`], [`Private limited companies raise money and attract investors by issuing ________
`]: [`>shares`], [`Which of the following is NOT true of TV advertising?
`]: [`it is cheaper than other forms of advertising`], [`Which of the following is untrue of Hall Tests as a type of market research?
`]: [`they are the most reliable form of research`], [`What is the main benefit to employees of homeworking?
`]: [`Employees can work from home or another location`], [`Good customer service leads to increased customer loyalty and:
`]: [`Increased sales and revenue`], [`What activities are involved in the product development stage of the product development process?
`]: [`Creating engineering specifications and developing a working prototype`], [`A firm might use desk/secondary research to gather:
`]: [`Information published by other businesses`], [`Which are factors that influence the selling price of a product?
Which are usually part of induction training for new staff?
How does e-commerce enable targeted marketing?
`]: [`It enables businesses to target products to specific customer segments.`], [`Which law was introduced in 1998 to sets out the lowest amount of pay a worker is entitled to per hour?
`]: [`>National Minimum Wage Act`], [`Which are examples of product life cycle extension strategies?
Which are advantages of a bank loan compared with other sources of finance?
Which of the following is not true about crowd funding as a source of finance?
`]: [`Funders do not receive a return on their investment`], [`In human resource management, finding the right people to work for an organisation is known as.
`]: [`recruitment`], [`Which are potential drawbacks of venture capital for a start-up business entrepreneurs?
Which are accurate statements about information gathered through secondary/field research?
Discussions by a small group to highlight opinions about a product are known in marketing as:
`]: [`>Focus groups`], [`Which one of the following is NOT a Public sector employee?
`]: [`Pilot with Ryanair`], [`Which technology facilitates the creation, editing, and management of digital content, such as websites and blogs?
`]: [`Content Management System (CMS)`], [`Which are potential causes of cash flow problems for a business?
Aileen and Mark have divided up the duties and salary of one-full time position. This is known as:
`]: [`job share`], [`Which of the following is true of a limited companies?
`]: [`They have limited liability`], [`The quality of raw materials used in production can have a direct effect on:
`]: [`time lost in production`], [`Where employees refuse to do extra hours of work on top of their normal hours, this is known as:
`]: [`overtime ban`], [`Which are advantages of internal recruitment for a job vacancy?
A company offers employees free healthcare coverage, gym memberships, and childcare support. These are known as:
`]: [`Fringe benefits`], [`Amber rents her company car and makes monthly repayments, but she’ll never own the vehicle. This type of business finance is most likely to be:
`]: [`leasing`], [`Save the Children, RNLR and British Heart Foundation are examples of what kind of organisation?
`]: [`>Charity`], [`From the financial data supplied by Laverty Plc, what is the net profit for the year?

Which are external sources of finance for a business?
Which sector of the economy includes manufacturing, retail, finance, and technology industries?
`]: [`Private Sector`], [`Which are advantages of on-the-job training compared with external training?
Which factor of production is likely to be most important for a start-up software business?
`]: [`>Enterprise`], [`Which of the following would not be described as a ‘Need’?
`]: [`A Job`], [`Which of the following is an internal stakeholder in a company?
`]: [`a manager`], [`Which are examples of primary/field research methods?
Which of the following is NOT a type of job interview?
`]: [`Aptitude`], [`Which are examples of non-financial incentive for employees?
Which are examples of financial incentives at work?
Which of these technology platforms does not offer video conferencing capability?
`]: [`LinkedIn`], [`Trained individuals pose as customers to evaluate the quality of service or customer experiences. This type of research is called:
`]: [`>Mystery shopper`], [`From the financial information for Lewis Limited, how many units must they sell to break even?

Highland Spring is a large producer of sparkling water. Which method of production would this company be most likely to use?
`]: [`flow production`], [`What are the different departments typically found in larger businesses?
`]: [`Finance, marketing, operations, and human resources.`], [`Which are examples of organisations which aim to provide valuable services to communities rather than making a profit?
`]: [`Charities, social enterprises, and not-for-profit organisations`], [`Consider the following statements about a mortgage as a source of finance. Which one is UNTRUE?
`]: [`it is only provided by banks`], [`Which term describes the positive financial outcome that a business achieves when its total revenue exceeds its total expenses?
`]: [`>Profit`], [`What is consumer satisfaction?
`]: [`A measure of how well a product or service meets consumer needs`], [`A supplier offers lower prices for its materials in return for regular orders. What is this arrangement is known as?
`]: [`>Trade discount`], [`Which of the following technology tools would be used to control the way machinery is used in manufacture?
`]: [`CAM`, `CAM`], [`
From the chart above, which of following is correct?
`]: [`break even 9,000 units; profit £30,000`], [`Which of the following is NOT a business organisation?
`]: [`Government department`], [`How does effective product branding contribute to profitability?
`]: [`By fostering customer loyalty and increased demand`], [`How does high product quality impact brand reputation?
`]: [`An increase in positive word-of-mouth recommendations and customer loyalty.`], [`What is the main purpose of special offers in sales promotion?
`]: [`Create a sense of urgency and value for customers`], [`Company B sets a level that inventory of raw materials should never drop below. This is called the ______ ______ level?
`]: [`>Minimum inventory`], [`
From the information above, the number of units DEF Limited must sell to break even is:
`]: [`500`], [`In human resource management, the process of finding new people to work for an organisation is known as:
`]: [`>Recruitment`], [`MLJ Limited rent their company cars. Although they make monthly payments, they will never own the vehicles. What is this type of finance?
`]: [`>Leasing`], [`The _____ sector of industry involves the extraction and production of natural resources.
`]: [`>Primary sector`], [`The local council gives a charity a fixed sum of money to support its work. This does not have to be repaid. What is this funding called?
`]: [`>Grant`], [`Which advantages to a business of computerised inventory control systems?
What is one practical purpose of packaging?
`]: [`Protecting the product during transportation`], [`Which are potential drawbacks of a bank overdraft as a source of finance for a business?
The amount of time a person spends on doing their job compared with the amount of time they spend doing other things is known as:
`]: [`work-life balance`], [`A statement showing the profit or loss made by a company over a set period of time is known as the company’s:
`]: [`income statement`], [`What advantage does high product quality offer in pricing strategies for a business?
`]: [`It commands higher prices for products.`], [`Which are benefits to manufacturing business of flexible working practices?
Which of the following is untrue of online business banking?
`]: [`It is more costly than traditional banking`], [`Hannah's job gives her gym membership and company car. What term is used to describe these add-ons to her salary?
`]: [`>Fringe benefits`], [`How does positive consumer satisfaction affect a company's reputation?
`]: [`It increases brand image and credibility.`], [`Where job candidates attend for one or more days for interview and psychometric testing, this is known as:
`]: [`>Assessment centre`], [`From the financial data for Hamid & Hamid, calculate the closing cash balance for the period in question.

Which of the following is correct when calculating profit or loss?
Profit / Loss =
`]: [`Total Revenue - Total Expenses`], [`Which are potential benefits of employee training?
Not-for-profit organisations can be:
In marketing, which of the following is NOT a method of sales promotion?
`]: [`job advertising`], [`Why is understanding the local population important for a business?
`]: [`It helps tailor products or services to meet their needs and preferences.`], [`Which type of recruitment test assesses a candidate’s proficiency in specific job-related abilities, such as computer skills, technical knowledge, customer service or sales?
`]: [`Skills`], [`In operations management, which are factors that influence the choice of a suppler?
In operations management, which are accurate statements about recycling?
What type of data does market research collect?
`]: [`Both quantitative and qualitative data`], [`DEF Limited give their staff experience of different jobs within the organisation, so they acquire a range of skills and experience. This is:
`]: [`job rotation`], [`A central heating repair business charges higher prices in the winter than in the summer. Which pricing strategy is this an example of:
`]: [`>Demand oriented`], [`The _____ sector of industry includes industries like agriculture, forestry, fishing, and mining
`]: [`>Primary sector`], [`Which of the following is not a financial incentive to motivate staff?
`]: [`job rotation`], [`Which technology allow employees to securely access their company's network and resources from remote locations?
`]: [`Virtual Private Network (VPN)`], [`A pizza company offer 2 one-third off all products bought on Tuesdays. Which type of pricing strategy is being used?
`]: [`>Promotional pricing`], [`Which are disadvantages of Job Production when compared with other methods?
A product costs £8 to produce, the business adds £3 margin to make the selling price £11. The name of this pricing strategy is:
`]: [`>Cost plus pricing`], [`Which are advantages of partnerships compared with sole traders?
Which best describes the business objective of satisficing?
`]: [`Meeting minimum profit requirements`], [`All employees at AAA Limited receive a percentage of the profit made by the organisation. This is known as:
`]: [`profit sharing`], [`Failure to manage inventory effectively can lead to . . .
Which are examples of off-the-job training?
Which of the following items is not an outflow on a cash budget?
`]: [`sales`], [`What is the main purpose of coupons and vouchers in sales promotion?
`]: [`Offer discounts or special deals to attract new customers`], [`Which of the following would not be described as a ‘Want’?
`]: [`Shelter`], [`Which are benefits of computerised inventory control systems?
Supplier X offers lower prices for its materials in return for regular orders. This arrangement is known as:
`]: [`trade discount`], [`When employees agree to exchange their scheduled working hours to accommodate personal needs, this is known as:
`]: [`Shift swapping`], [`In which phase of the product life cycle are profits the highest?
`]: [`>Maturity`], [`Company Y uses computer software to design and create detailed product models . What is the name give to this system?
`]: [`>CAD (computer aided design)`], [`Which are factors that might determine the most suitable source of finance for a business?
One possible result of poor quality customer services is:
`]: [`Reputation of business is harmed`], [`Which are benefits of computerised inventory control systems?
Finance provided by investors to start-up businesses and emerging companies in exchange for equity or a share in ownership is known as:
`]: [`Venture capital`], [`The Big Issue is an example of which type of business organisation?
`]: [`Social enterprise`], [`How does well-designed packaging help attract buyers?
`]: [`By communicating the product's features and benefits`], [`Which type of voluntary organisation would provide social and recreational, support services for the elderly residents of a local neighbourhood?
`]: [`Community group`], [`Where employees are given a wage increase when they reach a certain standard, the term for this kind of financial incentive is?
`]: [`>Performance related pay`], [`Which market research method is suitable for reaching a large geographic area and providing flexibility to respondents?
`]: [`Postal surveys`], [`Which assessment centre activity presents candidates with a set of tasks or problems that assesses their organisational skills, ability to prioritise tasks, and time management?
`]: [`In-tray exercises`], [`Which are potential benefits of employee training?
Which phase of the product life cycle follows maturity?
`]: [`>Decline`], [`What is one advantage of being a sole trader?
`]: [`Ability to adapt quickly to changing market conditions`], [`For a manufacturing company, which are benefits of minimising product packaging?
Sales of products go through different phases or stages. This is known as
`]: [`The product life cycle`], [`When a product reaches the decline stage, a business can act to extend its life cycle. Which of the following is NOT an extension strategy.
`]: [`Changing the way the product is produced`], [`Which sector of the economy focuses on research and development, information technology, and consulting?
`]: [`Quaternary Sector`], [`The marketing mix combines the elements of price, product, place and ________
`]: [`>Promotion`], [`What type of customer service allows customers to find answers and resolve common issues on their own without direct interaction with a representative?
`]: [`>FAQs`], [`The quantity of inventory that needs to be ordered to restore inventory levels to their maximum is the:
`]: [`Reorder quantity`], [`Transport links, reliable water and electricity supply are essential to all business locations. The term for this is:
`]: [`business infrastructure`], [`Which businesses are typically family-owned and cater to the immediate community?
`]: [`Sole proprietorships`], [`The total number of local authorities in Scotland is:
`]: [`32`], [`Which of the following is an advantage of Job Production when compared with other methods?
`]: [`orders can be customised`], [`Which are true of print advertising?
Ellen observes Cathy at work to gain a better understanding of how to do the job. This is an example of:
`]: [`shadowing`], [`Which are true of radio advertising?
Market research provides information about:
`]: [`customer needs and wants`], [`The materials held by a business in order to produce goods is known as:
`]: [`Inventory`], [`Why is footfall an important factor when deciding the location for a business?
`]: [`It increases customer traffic and potential sales.`], [`Leisa's employer allows her some choice in when, where and how many hours she works. The term for this type of working is:
`]: [`>Flexible working`], [`Which sector of the economy consists of privately owned businesses driven by profit motives?
`]: [`>Private sector`], [`Which are true of billboard advertising?
An experienced member of staff supports another employee by passing on knowledge and skills. This is an example of:
`]: [`coaching`], [`What does the business objective of social and environmental responsibility focus on?
`]: [`Sustainable practices and ethical conduct`], [`How do the owners of a private limited company usually receive a return on their investment?
`]: [`Dividend`], [`Hannah makes one wedding dress each week. Which method of production is this?
`]: [`>Job production`], [`What activities are involved in the launch stage of product development?
`]: [`Implementing marketing and promotional campaigns`], [`What is the primary goal of charitable organisations?
`]: [`Addressing societal needs`], [`Which stage in the product development process follows market testing?
`]: [`Product launch`], [`The number of people who pass by a shop or business on their daily business is known in marketing as:
`]: [`>Footfall`], [`Which of the following is an example of a want?
`]: [`Designer clothing`], [`Which would be regarded as environmental considerations for a manufacturer?
QuickBooks and Xero are examples of which technology used to support the work of finance departments?
`]: [`Financial management software`], [`Which technology enables businesses to effectively manage and analyse customer data, interactions, and preferences?
`]: [`Customer Relationship Management (CRM) Systems`], [`Why is it important for a business to be easily accessible?
`]: [`It increases customer reach and engagement.`], [`In car manufacturing, each stage of production adds value to the product. The difference between the final market value of the car and the costs incurred during production represents:
`]: [`The wealth created`], [`What is the potential benefit of offering fringe benefits beyond basic salary?
`]: [`Enhanced employee motivation`], [`Which term is used to describe the amount of time a person spends on doing their job compared with their home or leisure time?
`]: [`>Work-life balance`], [`Beth spends part of the week working from her house, rather than the office. What term is used to describe this arrangement?
`]: [`>Homeworking`], [`Personality, cognitive ability and aptitude tests are commonly used at assessment centres. The term used for this type of testing is:
`]: [`Psychometric`], [`
From the chart above, which of the following is correct?
`]: [`break even 110,000 units; profit £20,000`], [`Which of the following is NOT true about customer satisfaction?
`]: [`It can increase complaints`], [`Which are purposes of product branding?
How does the right location help a business in terms of operations?
`]: [`It helps save transportation costs.`], [`When products are inspected at the end of the production process to check for errors. What is the term for this system?
`]: [`>Quality control`], [`Employees at Miller shortbread are paid a fixed rate for each hour they work. This form of incentive is known as:
`]: [`time rate`], [`Which of the following is the main business objective of most companies?
`]: [`Making a profit`], [`Which would form part of induction training for new staff?
Newspapers, commercial publications and government reports are examples of what type of market research?
`]: [`>Secondary or desk research`], [`Which of the following is not a duty of employers under The Health and Safety at Work Act 1974?
`]: [`Provide healthy food in work canteens`], [`-------- ------------ is the business term used to describe how happy consumers are with a product or service.
Identify the missing term (2 words)
`]: [`>Customer satisfaction`], [`Which are accurate statements about owner investment as a source of finance for a business?
What does the objective of maximising profits prioritise?
`]: [`Highest possible sales revenue and lowest possible costs`], [`Which are potential drawbacks of crowd funding as a source business finance?
The more items Adam produces at work, the more he is paid. What is the name given to this incentive?
`]: [`>Piece rate`], [`Which are examples of ethical considerations for a business?
In operations management, which are accurate statements about recycling?
The high street retailer Next will often base its decisions about where to open new shops on footfall. Footfall is best described as:
`]: [`the number of people who pass by a location`], [`When new employees join an organisation, the type of training they usually receive first is called:
`]: [`>Induction training`], [`Which are forms of customer service provided by a business?
KLM employees are involved in the company’s decision-making process. This is known as:
`]: [`worker participation`], [`Which are benefits to a manufacturer of effective inventory management?
Where employees are given greater responsibility or more demanding tasks to make their jobs more interesting and challenging, this is known as:
`]: [`>Job enrichment`], [`Which letter corresponds to lead time on this inventory control chart?

A manufacturer has many products returned by customers due to a lack of skilled workforce. This may best be described as:
`]: [`An internal factor affecting the business`], [`
From the financial information above, the company’s Net Profit for the year will be:
`]: [`£40,000`], [`Which of the following is NOT a fixed cost?
`]: [`raw materials`], [`Which of the following would be most useful for preparing a cash forecast?
`]: [`Spreadsheet`], [`Which are duties of employers under The Health and Safety at Work Act 1974?
Which is generally true of an organisation which has well-trained employees?
Which of these technology tools support the work of a marketing department?
In inventory management, which statements about overstocking are accurate?
Which are typical methods of fundraising by large charitable organisations such as British Heart foundation and Cancer Research?
Which are examples of a business acting ethically?
Where a firm sets the price of its product at the same level as competitors and rivals, what is the name given to this pricing strategy?
`]: [`>Market pricing`], [`Which of the following is an advantage of Flow Production when compared with other methods?
`]: [`economies of scale are achieved`], [`What is the main advantage of face-to-face interviews in market research?
`]: [`Allows for in-depth exploration of topics and opinions`], [`Market research using an Internet questionnaire is known as an _____ survey:
`]: [`>An online survey`], [`In production, the time from placing an order for inventory and when they are delivered is known as:
`]: [`Lead time`], [`Helen receives a percentage of the value of her sales every month as part of her wage. What is this financial incentive known as?
`]: [`>Commission`], [`In finance, an estimated projection of the organisation's future cash position is known as:
`]: [`a cash budget`], [`Which of the following is NOT a benefit of using quality management systems?
`]: [`the costs of producing the product are reduced`], [`Market research using questionnaires sent in the mail is known as:
`]: [`>A postal survey`], [`A company launches a new product by setting a high price, then lowers it over time. Which pricing strategy is being used:
`]: [`>Skimming`], [`Costs do not change with the number of items produced are known as:
`]: [`fixed costs`], [`Which technology would be used for cash budgeting and ‘What if’ scenarios in a finance department?
`]: [`>Spreadsheet`], [`Which are examples of environmentally friendly operations?
Which of the following is NOT true of Air Transport as a method of distributing goods?
`]: [`It is cheaper than transportation by road or sea`], [`Which level of government is responsible for matters such as economic policy and international relations in the UK?
`]: [`UK Government`], [`How can high product quality help a business attract new customers?
The Equality Act 2010 aims to:
`]: [`prevent discrimination in the workplace`], [`The type of training where an employee meets new colleagues and learns about company policies is called:
`]: [`>Induction training`], [`What role do volunteers play in charities?
`]: [`They provide time, skills, and expertise`], [`Which are true of digital advertising?
Which technology enables businesses to gather customer perception about the value of its product or service?
`]: [`Customer feedback and survey tools`], [`The phase of the product life cycle where sales and profits are usually highest is:
`]: [`Maturity`], [`Why is environmentally friendly packaging important?
`]: [`It helps reduce the carbon footprint of the business`], [`Which are benefits to an organisation of having a motivated staff?
Under which sector of industry would a dairy farm be classified?
`]: [`>Primary sector`], [`Which level of government has responsibility for policing in Glasgow?
`]: [`>Scottish government`], [`What is the primary focus of community groups?
`]: [`Serving the needs of specific communities`], [`What type of customer service is provided by businesses that assist customers with troubleshooting and guiding them through product usage?
`]: [`>Technical support`], [`Many supermarket shoppers are attracted to Aldi and Lidl due to a pricing strategy that is best described as:
`]: [`low/value pricing`], [`Jack works Monday, Tuesday and Wednesday every week. The term for this type of working is:
`]: [`>Part-time`], [`In recruitment, which of the following is NOT an example of external job advertising?
`]: [`the company intranet`], [`What is the name give to the financial incentive where employees are paid for the exact time that they work?
`]: [`>Time rate`], [`In which ways could suppliers influence a business?
A firm's inventory level is not high enough to meet production levels. What is the term for this situation?
`]: [`>Understocking`], [`A business gathers first-hand information for a specific purpose. What kind of market research is this?
`]: [`>Primary or field research`], [`What does unlimited liability mean for a sole trader?
`]: [`Personal responsibility for business debts and losses`], [`Which of the following is untrue of Focus Groups as a type of market research?
`]: [`no formal interviewer training is required`], [`Which of the following is not the role of a trade union?
`]: [`creating employment law`], [`If a firm buys 2,000 units of a product at a unit cost of £12.50 and sells all items at a unit cost of £18, then the profit made will be:
`]: [`>£11,000`], [`Funding offered by a Council to persuade firms to locate in an area of high unemployment is known as:
`]: [`a grant`], [`Training that is undertaken outside an employee’s place of work, eg at a college, is called:
`]: [`>Off-the-job training`], [`Which sector of the economy funds organisations through taxation?
`]: [`>Public sector`], [`From the following data for TTT Ltd, calculate the contribution per unit.

Which are potential benefits of employee training in a manufacturing company?
Environmental considerations are important for businesses because:
Organisations in the Public sector are financed mostly by:
`]: [`Taxes`], [`How do wants contribute to our lives?
`]: [`They provide comfort and enjoyment.`], [`Which are benefits of e-commerce compared with more traditional forms of selling?
Which of the following correctly identifies the name and feature of the structure that transports water around the plant?
`]: [`
The diagrams represent blood vessels in the body. Identify the structure with the missing label.

What part of the plant will a plant obtain nitrates?
`]: [`Roots`], [`What term identifies an organism that makes its own food using light energy from the sun?
`]: [`Producer`], [`What is NOT a biotic factor?
`]: [`Light intensity`], [`Which term describes the role an organism plays within the community?
`]: [`Niche`], [`The diagram represents the structure of the leaf.

Identify the highlighted structure.
`]: [`Guard cells`], [`The following diagram represents a human brain.

Which structure is marked on the diagram?
`]: [`Cerebellum`], [`What correctly identifies the function of the coronary arteries?
`]: [`provides the heart muscle itself with oxygen and glucose`], [`The diagram represents a root hair cell.

What features does this cell have that make it efficient in the absorption of water?
`]: [`Large surface area`], [`Which line in the table correctly identifies the order of events during speciation?
`]: [`

Speciation can occur when what happens within a population?
`]: [`Isolation`], [`Which correctly identifies where a substrate will bind to an enzyme?
`]: [`Active site`], [`Which statements correctly identify a limitation and an improvement when using a quadrat?
Pesticides causes toxicity throughout the food chain.
Wheat → Grasshopper → Frogs → Heron
In the food chain shown which organism would have the lowest levels of toxicity?
`]: [`Wheat`], [`What name correctly identifies chamber W?

In the following food chain, what is the herbivore?
Wheat → Grasshopper → Frogs → Heron
`]: [`Grasshopper`], [`What organisms are favoured by the introduction of a new allele?
`]: [`Plants and animals`], [`Which label correctly identifies the position of a valve?

What is NOT a human influence that can have an impact on biodiversity?
`]: [`Disease`], [`What determines the structure of a protein?
`]: [`Sequence of amino acids`], [`Fertilisers add chemicals to crops to increase food yield, what is an example of the type of chemical added?
`]: [`Nitrates`, `Nitrates`], [`The diagram represents a typical plant cell.

What cellular component is labelled X?
`]: [`Cell wall`], [`Which of the following correctly identifies the number of resources and the organism’s it occurs between for ‘interspecific’ competition?
`]: [`
In petals, red is dominant over yellow for petal colour.
Two plants heterozygous for red petals (Rr) were crossed.

What percentage of offspring will be homozygous dominant?
`]: [`25%`], [`What statement(s) refer the feature of villi which makes it efficient at the absorption of nutrients?
Which piece of equipment would be used to measure moisture levels?
`]: [`Moisture meters`], [`What correctly identifies the function of the ventricles?
`]: [`Pumps blood out of the heart`], [`Which of the following correctly describes the structure and function of DNA?
`]: [`
The diagram shows the gas exchange surfaces in the lungs.

Identify the missing label.
`]: [`Alveoli`], [`For inheritance to show continuous variation, how many genes is it controlled by?
`]: [`More than one gene`], [`Which piece of equipment would be used to measure pH?
`]: [`pH probe`], [`Which of the following correctly represents a molecule of DNA?
`]: [`
In petals, red is dominant over yellow for petal colour.
Two plants heterozygous for red petals (Rr) were crossed.

What percentage of offspring will be heterozygous?
`]: [`50%`], [`What is the reason why we need an increased food yield?
`]: [`The human population is increasing`], [`What process correctly describes how water enters the root hair cell?
`]: [`Osmosis`], [`The diagram represents a typical bacterial cell.

What cellular component is labelled W?
`]: [`Plasmid`], [`Which correctly identifies the ‘Left atrium’?

What combines with hydrogen to form sugar during carbon fixation?
`]: [`Carbon dioxide`], [`During the light reactions, chemical energy is used to generate what substance?
`]: [`ATP`], [`Which of the following represents the products, the number of ATP produced and location of Stage One of aerobic respiration?
`]: [`
What is the definition of ‘homozygous’ in relation to inheritance?
`]: [`If you inherit two of the same alleles`], [`Which of the following correctly identifies the properties of a catalyst?
`]: [`
Within the hierarchy of organ systems in an organism.
What would be classed as the largest?
`]: [`Organ systems`], [`Along with the brain, what other structure forms part of the central nervous system (CNS)?
`]: [`Spinal cord`], [`In the following food web, how many herbivores are there?

What is the definition of a ‘allele’?
`]: [`Different forms of the same gene`], [`Which of the following correctly identifies the response to a stimulus?
`]: [`
Which of the following correctly represents what happens to the bonds and energy in the respiration of glucose?
`]: [`
What is the product for the enzyme phosphorylase?
`]: [`Starch`], [`The diagram represents a plant cell that has been placed in solutions of differing solute concentrations.

Which letter represents the cell that has been placed in a solution with a high solute concentration?
`]: [`B`], [`What name correctly identifies chamber X?

Which of the following correctly matches the base with its complementary base?
`]: [`
Which molecule is needed to breakdown glucose in aerobic respiration?
`]: [`Oxygen`], [`What causes the movement of water throughout the plant?
`]: [`Water evaporating from the stomata`], [`What correctly identifies the structure of the heart labelled in the diagram?

The diagram represents a typical plant cell.

What cellular component is labelled P?
`]: [`Cytoplasm`], [`What is the definition of ‘dominant’ in relation to inheritance?
`]: [`You only need to inherit one copy to express the characteristic`], [`Which correctly describes the movement of molecules when moving ‘DOWN’ a concentration gradient?
`]: [`High concentration → low concentration`], [`What describes a tissue?
`]: [`A group of cells`], [`The following diagram represents the formation of the high energy molecule ATP.

What molecules represent Y and Z?
`]: [`ADP and Pi`], [`The following outcomes refer to what can happen to the energy content and chemical bonds during a chemical reaction.
Which of these represent what happens during the breakdown of a glucose molecule?
`]: [`1 and 4`], [`The following diagram is a summary of enzyme action.

What term represents position 1?
`]: [`Enzyme`], [`For inheritance to show discrete variation, how many genes is it controlled by?
`]: [`One`], [`Which term describes the condition at which an enzyme is most active?
`]: [`Optimum`], [`There are four DNA bases, A, T, G and C.
Which represents the correct name and spelling for the base 'T'?
`]: [`Thymine`], [`What correctly describes a predator?
`]: [`An animal which hunts other animals for food`], [`Which label identifies the site of production of the female gamete?

From the diagram, what number represents the structure where oxygen is exchanged for carbon dioxide?

Which of the following correctly identifies the importance of stem cells in animals?
`]: [`
Which of the following correctly identifies the process of phagocytosis?
`]: [`

Which of the following correctly identifies endocrine glands?
`]: [`
When glucose is broken down, what happens to the energy?
`]: [`Energy is released`], [`Within the hierarchy of organ systems in an organism.
What would be classed as the smallest?
`]: [`Cells`], [`What correctly identifies the function of the atria?
`]: [`Pumps blood into the ventricles`], [`In petals, red is dominant over yellow for petal colour.
A flower homozygous for red petal colour (RR) was crossed with a heterozygous red petal flower (Rr).

What percentage of offspring will be homozygous dominant?
`]: [`50%`], [`What is the definition of a ‘phenotype’?
`]: [`Physical description of a characteristic`], [`What term describes the relationship between the shape of the substrate molecule and the active site?
`]: [`Complimentary`], [`There are four DNA bases, A, T, G and C.
Which represents the correct name and spelling for the base 'A'?
`]: [`Adenine`], [`Which of the following represents osmosis?
`]: [`

The diagram represents a plant cell that has been placed in solutions of differing solute concentrations.

Which letter represents the cell that has been placed in a solution with an equal solute concentration?
`]: [`C`], [`In what type of organism would you find a stem cell?
`]: [`Animals`], [`The diagram represents a typical plant cell.

What cellular component is labelled Y?
`]: [`Cell membrane`], [`The diagram shows the gas exchange surfaces in the lungs.

Identify the missing label?
`]: [`Blood capillary`], [`The diagram represents a typical plant cell.

What cellular component is labelled M?
`]: [`Vacuole`], [`Accidental covering of the probe as a source of limitation for which piece of equipment?
`]: [`Light intensity meter`], [`Which component of a cell provides structure and support?
`]: [`Cell wall`], [`Using the following paired statement key, which ladybird is the two-spotted ladybird?

What effect does insulin have on the liver?
`]: [`Converts excess glucose into glycogen`], [`Which component of a cell contains cell sap?
`]: [`Vacuole`], [`Which of the statements are true of a pyramid of numbers?
What do specialised cells have?
`]: [`A particular structure and function`], [`What substance is transported around the plant by transpiration?
`]: [`Water`], [`What term identifies an animal which is hunted by other animals for food?
`]: [`Prey`], [`When using genetically modified crops what impact will this have on the chemicals used?
`]: [`Can reduce the need for fertilisers`], [`Identify the component.

What is the correct function of the sensory neuron?
`]: [`Pass information to the CNS`], [`What is a raw material of photosynthesis?
`]: [`Water`, `Carbon dioxide`], [`In the following food web, how many consumers are there?

Which term correctly identifies the property of a membrane which allows only some substances to pass through it?
`]: [`Selectively Permeable`], [`What impact will using genetically modified crops have on the use of fertiliser?
`]: [`Reduces the need for fertiliser`], [`What form of energy is needed for photosynthesis?
`]: [`Light`], [`Molecules moving down a concentration gradient represents which type of transport mechanism?
`]: [`Passive`], [`The diagrams represent blood vessels in the body. Identify the structure with the missing label.

The following refer to the products released from fermentation.
Which are products released by the fermentation of a plant cell?
`]: [`2, 3 and 4`], [`The following diagram is a summary of enzyme action.

What term represents position 3?
`]: [`Product`], [`The diagram represents a typical plant cell.

What cellular component is labelled W?
`]: [`Mitochondria`], [`Why is a pyramid of numbers said to be representative of an ecosystem's structure?
`]: [`Reflects the count of individual organisms, regardless of their size`], [`Which of the following correctly identifies molecules that diffuse out of cells?
`]: [`
What is the end product(s) produced by the fermentation of animal cells?
`]: [`Lactate and ATP`], [`The diagram shows the gas exchange surfaces in the lungs.

What is represented by Y?
`]: [`Carbon dioxide`], [`The following refer to transport molecules.
Which of the these refers to the process of diffusion?
`]: [`2 and 4`], [`What correctly describes a prey?
`]: [`An animal which is hunted by other animals for food`], [`Which of the following will reduce the need for the use of chemicals on crops?
During eutrophication, what do the bacteria use that decreases the biodiversity in fresh rivers and streams?
`]: [`Oxygen`], [`Which statements identifies the number of resources and the type of competition between rabbits and mice?
Genetic engineering involves a series of stages in the production of a genetically modified organism.
Which stage follows the extraction of the gene and the plasmid?
`]: [`The required gene is inserted into the plasmid`], [`Which line in the table correctly identifies how and why crop yield could be increased?
`]: [`
Mitosis is a form of cell division that takes place in the body and has many stages.
What is the first stage in the process of mitosis?
`]: [`Chromosomes replicate and double`], [`DNA is made from a sequence of bases.
What will the sequence of DNA bases determine?
`]: [`Sequence of amino acids in a protein`], [`What structure of the heart is labelled 'Z' below?

Which label correctly identifies the ovary?

Diffusion is the process by which molecules move into cells.
Which of the following molecules is the ODD one out?
`]: [`Carbon dioxide`], [`Which of the following accurately represents diffusion?
`]: [`

What correctly describes what happens to a red blood cell when placed in a solution with a low solute concentration?
`]: [`Bursts`, `Bursts`], [`What part of the reflex arc is represented at position 6?

The diagram represents a plant cell that has been placed in solutions of differing water concentrations.

Which letter represents the cell that has been placed in a solution with an equal water concentration?
`]: [`C`], [`The following molecules can diffuse in or out of a cell.
Which represent molecules which diffuse into cells?
`]: [`2 and 4`], [`The diagram represents the gametes found in animals.

Which structure is highlighted?
`]: [`Food store`], [`What must be absent for the fermentation of animal cells?
`]: [`Oxygen`], [`What do target tissues contain that enable it to recognise a hormone?
`]: [`Receptors`], [`What term identifies animals that consumes other animals and plants?
`]: [`Omnivore`], [`What part of the reflex arc is represented at position 4?

What part of the reflex arc is represented at position 5?

Aerobic respiration occurs in two stages. What molecule (s) is produced at the end of the second stage?
`]: [`Carbon dioxide, water, and ATP`], [`What term identifies the number of individuals within a species living in a particular environment?
`]: [`Population`], [`The following diagram represents a human brain.

What letter represents the part of the brain that controls balance and movement?
`]: [`Z`], [`How many different types of stem cell are there?
`]: [`2`], [`What term describes the variety of living organisms in an area?
`]: [`Biodiversity`], [`Which of the following identifies the relationship between the human population and food production?
`]: [`
The diagram represents a plant cell that has been placed in solutions of differing water concentrations.

Which letter represents the cell that has been placed in a solution with a low-water concentration?
`]: [`B`], [`Which of the following is NOT a component of a bacterial cell?
`]: [`Mitochondria`], [`The following diagram represents a human brain.

What letter represents the part of the brain that controls heart and breathing rate?
`]: [`Y`], [`Which statements relate to an organism’s niche?
From the statements, which are human influences that impact on biodiversity?
Which of the following correctly describes the uses of sugar produced in photosynthesis?
`]: [`
Surfaces involved in the absorption of substances have special features in common.
Which statement(s) show the feature(s) of these structures?
Which correctly describes a degradation reaction?
`]: [`Breakdown of large complex insoluble molecules into small soluble molecules`], [`Which diagram would represent the number of organisms at each stage of the food chain?
`]: [`Pyramid of numbers`], [`Where in the cell does Stage Two of aerobic respiration occur?
`]: [`Mitochondria`], [`What sampling technique is metal/plastic square of varying different sizes?
`]: [`Quadrat`], [`What is speciation?
`]: [`The formation of a new species`], [`The structures below are involved in the transfer and sorting of information within the body.
Which statement(s) identify the structures that make up the central nervous system (CNS)?
`]: [`1 and 2`], [`Which of the following correctly describes a hormone?
`]: [`
What structure transports water and minerals from the roots to the leaves?
`]: [`Xylem`], [`What causes the toxicity in organisms over time?
`]: [`Pesticides`], [`Which piece of equipment would be used to measure light intensity?
`]: [`Light intensity meter`], [`What is meant by the term ‘pathogen’?
`]: [`Micro-organism that causes disease`], [`The statements are structures within an organism.
What correctly shows the hierarchy of the structures within an organism starting with the smallest-largest?
`]: [`2, 3, 1, 4`], [`In terms of plant organs, which would be the odd one out?
`]: [`Xylem`], [`Which term describes a change in DNA that can result in no protein being produced?
`]: [`Mutation`], [`What term describes proteins produced by lymphocytes in responses to pathogens?
`]: [`Antibodies`], [`What is NOT an abiotic factor?
`]: [`Disease`], [`What part of the reflex arc is represented at position 3?

What is the definition of a ‘genotype’?
`]: [`Description of genes using letters to represent alleles.`], [`What term identifies an animal which hunts other animals for food?
`]: [`Predator`], [`The diagram represents a typical animal cell.

What cellular component is labelled Z?
`]: [`Ribosome`], [`Which label correctly identifies the anther?

The statements refer to the names of gametes and the site of production in animals.
Which statements give the name and site of production of the male gamete?
`]: [`2 and 3`], [`What describes the build-up of toxic substances in living organisms?
`]: [`Bioaccumulation`], [`What term correctly identifies an organism that must eat food to gain energy?
`]: [`Consumer`], [`What is limiting the rate of photosynthesis at point Z?

Which correctly identifies cell(s) where the cell wall is made of cellulose?
`]: [`Plant only`], [`What correctly identifies the position of the Vena Cava?

Which of the following correctly identifies the name and feature of the structure that transports sugars around the plant?
`]: [`
What are plants able to produce using nitrates from the soil?
`]: [`Amino acids`], [`In the following food web, how many carnivores are there?

How much energy is lost at each stage of the food chain?
`]: [`90%`], [`Which of the following identifies an artery?
`]: [`
Which of the following substance (s) is absorbed into the plant by the roots?
What are the tiny gaps between neurons called?
`]: [`Synapse`], [`The diagram represents a typical animal cell.

What cellular component is labelled Q?
`]: [`Cytoplasm`], [`Which cellular components would be present in bacterial cell?
Which line in the table correctly identifies the impact of a mutation?
`]: [`
The diagram represents a red blood cell that has been placed in solutions of differing solute concentrations.

Which letter represents a red blood cell that placed in a solution with an equal solute concentration?
`]: [`B`], [`What correctly describes the impact of fertilisers on crops?
`]: [`Add chemicals such as nitrates to the soil for crops`], [`Which of the following correctly identifies the number of resources and the organism’s it occurs between for ‘intraspecific’ competition?
`]: [`
Which of the following is NOT a product of fermentation in a fungal cell?
`]: [`Lactate`], [`Which statements correctly identify why a species can evolve overtime?
What is the definition of ‘recessive’ in relation to inheritance?
`]: [`These alleles are often masked, and you need to inherit two copies to express this characteristic`], [`Which statement(s) show the environmental factors that increase the rate of mutations?
How many matching sets of chromosomes will a diploid cell have?
`]: [`2`], [`Which correctly describes the use of sugar produced in photosynthesis?
`]: [`Converted to cellulose for use in cell walls`, `Converted to starch for storage`], [`What is the correct function of the medulla?
`]: [`Controls heart and breathing rate`], [`What correctly describes a carnivore?
`]: [`An animal which consumes other animals`], [`What process is responsible for the movement of water around the plant?
`]: [`Transpiration`], [`Which of the following identifies the structures that carry deoxygenated blood?
`]: [`
Which of the following parts of the plant reproductive organs produces the male gamete?
`]: [`Anther`], [`What correctly describes a population?
`]: [`The number of individuals within a species living in a particular environment`], [`The diagram represents a typical bacterial cell.

What cellular component is labelled X?
`]: [`Chromosome`], [`Which statement(s) refer to the impact of mutations on an organism?
Which of the following correctly identifies the populations that will show the most intense competition?
`]: [`
Which of the following identifies the name of the hormone produced and its site of production, in response to an increase in blood glucose concentration?
`]: [`
How are impulses carried across the synapses?
`]: [`Chemicals`], [`How is energy passed on in a food chain?
`]: [`Growth`], [`What part of the cell controls some cell activities and contains DNA?
`]: [`Nucleus`], [`What is/are the product(s) for the enzyme catalase?
`]: [`Oxygen and water`], [`What is the correct function of the cerebrum?
`]: [`Controls conscious thought and voluntary decisions`], [`Which of the following identifies the description of each nucleus in gametes and a zygote.
`]: [`
What must be absent for the fermentation of plant and fungal cells?
`]: [`Oxygen`], [`What substances are absorbed by the lacteal in the villi?
Which of the following correctly identifies the cell(s) with which the cell wall is made of cellulose?
`]: [`
What is the substrate for the enzyme amylase?
`]: [`Starch`], [`Which statements identify why phenotypic ratios are not always achieved?
The diagram represents a typical fungal cell.

What cellular component is labelled Z?
`]: [`Ribosome`], [`The diagram represents a typical plant cell.

What cellular component is labelled Q?
`]: [`Chloroplast`], [`Which line in the table represents the product(s) formed after Stage Two of aerobic respiration?
`]: [`
Which of the following is correct for the process of passive transport?
`]: [`

The diagram represents a plant cell that has been placed in solutions of differing water concentrations.

Which letter represents the cell that has been placed in a solution with a high-water concentration?
`]: [`D`], [`What correctly identifies the function of the vena cava in the heart?
`]: [`Transports deoxygenated blood from the body to the right atrium`], [`Which of the following represents the cellular processes that use energy from ATP?
`]: [`

The following are examples of proteins produced by the human body.
Which refer to those proteins which are produced by genetic engineering?
`]: [`2 and 3`], [`The diagram represents a red blood cell that has been placed in solutions of differing solute concentrations.

Which letter represents a red blood cell that placed in a solution with a high solute concentration?
`]: [`C`], [`Identify the component.

Which of the following is the target organ for glucagon?
`]: [`Liver`], [`Oxygenated blood returns to the left side of the heart from the lungs.
What correctly identifies the pathway of blood though the left side of the heart and out to the rest of the body.
The following refer to the products released from fermentation.
Which are products released by the fermentation of an animal cell?
`]: [`1 and 4`], [`The diagram represents the structure of the leaf.

Identify the highlighted structure.
`]: [`Vein`], [`Using the following paired statement key, what is the name ladybird number 4?

Which of the following correctly identifies the structures involved in water transport within a plant?
`]: [`
What controls carbon fixation?
`]: [`Enzymes`], [`What describes ‘bioaccumulation’?
`]: [`The accumulation of toxic substances within the food chain`], [`The diagram represents a cell involved in the absorption of water.

What is the name of the cell?
`]: [`Root hair cell`], [`In the following food chain, what is the producer?
Wheat → Grasshopper → Frogs → Heron
`]: [`Wheat`], [`Deoxygenated blood returns to the right side of the heart from the body.
What correctly identifies the pathway of blood though the right side of the heart and out to the lungs.
Which term describes a stem cell in animals?
`]: [`Unspecialised`], [`The following diagram is a summary of enzyme action.

What term represents position 2?
`]: [`Substrate`], [`What is an example of a white blood cell?
`]: [`Phagocyte`, `Lymphocyte`], [`The statements refer to the names of gametes and the site of production in animals.
Which statements give the name and site of production of the female gamete?
`]: [`1 and 4`], [`The diagram represents a plasma cell membrane.

What component is labelled X?
`]: [`Protein`], [`Which of the following correctly show the products released by the fermentation of a fungal cell?
`]: [`
What correctly describes biodiversity?
`]: [`The variety of living organisms in an area`], [`Which term describes all the organisms living in a particular habitat and the non-living components with which organisms interact?
`]: [`Ecosystem`], [`Which of the following plant cells would be described as turgid?

During genetic engineering, what removes the required gene from the source chromosome?
`]: [`Enzymes`], [`Which correctly describes the term 'selectively permeable'?
`]: [`Some substances can pass through it whilst others cannot`], [`Which of the following parts of the male mammalian reproductive organs produces the male gamete?
`]: [`Testes`], [`The following terms refer to properties of the cell wall and cell membrane.
Which identify properties of cell membrane?
`]: [`2 and 4`], [`mRNA carries a complimentary copy of DNA within the cell.
Which of the following correctly represents the movement of mRNA within the cell?
`]: [`Nucleus → Ribosome`], [`What correctly describes what happens to a red blood cell when placed in a solution of pure water?
`]: [`Bursts`], [`What is a response to a stimulus?
`]: [`Slower action from a gland`, `Rapid action from a muscle`], [`The diagram represents a typical fungal cell.

What cellular component is labelled Q?
`]: [`Cell membrane`], [`What is the name of the structures within the small intestine that provides a large surface area for the absorption of nutrients?
`]: [`Villi`], [`Which is an accurate definition of ‘mutation’?
`]: [`Changes in DNA that lead to an altered protein`], [`Using the following paired statement key, what is the name ladybird number 5?

Which of the following chemicals will increase the nitrate concentration in the soil?
`]: [`Fertiliser`], [`Which term is not classified as a plant organ?
`]: [`Xylem`], [`An enzyme can only catalyse one reaction.
Which term describes this action?
`]: [`Specific`], [`There are four DNA bases, A, T, G and C.
Which represents the correct name and spelling for the base 'C'?
`]: [`Cytosine`], [`How many chromosomes are in a diploid human cell?
`]: [`46`], [`In the following food web, how many producers are there?

There are four DNA bases, A, T, G and C.
Which represents the correct name and spelling for the base 'G'?
`]: [`Guanine`], [`What is the name of the stem cells that are taken from an early embryo?
`]: [`Embryonic stem cells`], [`What correctly identifies the function of the aorta in the heart?
`]: [`Transports oxygenated blood from the left ventricle to the rest of the body`], [`Which statement(s) show the resources that animals are in competition for?
The sequence of bases is very important in a DNA molecule.
Which of the following explains why this is important?
`]: [`The sequence of bases determines the sequence of amino acids`], [`What term correctly describes the structure shown in the diagram below?

Which of the following correctly identifies why phenotypic ratios are not always achieved?
`]: [`
The following refer to locations and the number of ATP produced during aerobic respiration.
Which refer to the location and number of ATP produced in Stage Two of aerobic respiration?
`]: [`1 and 4`], [`In petals, red is dominant over yellow for petal colour.
Two plants heterozygous for red petals (Rr) were crossed.

What is the percentage chance that the offspring will have red petals?
`]: [`75%`], [`Which statements identifies the number of resources and the type of competition between individuals rabbit population?
What statement correctly defines a gene?
`]: [`Section of DNA that codes for one protein`], [`The diagram represents a typical fungal cell.

What cellular component is labelled X?
`]: [`Nucleus`], [`What makes it possible for a species to evolve over time?
`]: [`Variation`], [`Which of the following correctly shows the products released by the fermentation of a plant cell?
`]: [`
Which of the following correctly identifies all the proteins?
`]: [`
What causes a plant or animal to be better adapted to their environment?
`]: [`New alleles`], [`The statements represent stages that occur during eutrophication.
What provides the energy to combine hydrogen with carbon dioxide to produce sugar?
`]: [`ATP`], [`What will a pathogen cause?
`]: [`Disease`], [`Polygenic inheritance is inheritance that is caused by?
`]: [`More than one gene`], [`What describes an organ system?
`]: [`A group of organs`], [`Which component of a cell is the site of chemical reactions?
`]: [`Cytoplasm`], [`From the following food web, how many individual food chains are there?

The diagrams represent blood vessels in the body. Identify the structure with the missing label.

The diagram represents a typical animal cell.

What cellular component is labelled X?
`]: [`Mitochondria`], [`The diagram represents a typical bacterial cell.

What cellular component is labelled Y?
`]: [`Ribosome`], [`The diagram shows an example of a food web, a disease causes a major decrease in the population of mountain hare.

What would be the result of a decrease in mountain hare population?
`]: [`Increase in the number of Heather`], [`The diagram represents a typical animal cell.

What cellular component is labelled Y?
`]: [`Nucleus`], [`From the following food web, which of the following is an example of an herbivore?

Which of the following correctly indicates the products, the number of ATP produced and location of Stage Two of aerobic respiration?
`]: [`
In petals, red is dominant over yellow for petal colour.
A flower homozygous for red petal colour (RR) was crossed with a heterozygous red petal flower (Rr).

What percentage of offspring will be heterozygous?
`]: [`50%`], [`Which of the following parts of the female mammalian reproductive organs produces the female gamete?
`]: [`Ovary`], [`What describes ‘biological control’?
`]: [`The use of a natural predator to a pest`], [`Which of the following correctly identifies all the plant organs?
`]: [`
What correctly describes what happens to a red blood cell when placed in a solution with a low concentration of water?
`]: [`Shrinks`], [`What structure transports sugars around the plant?
`]: [`Phloem`], [`Which of the following statements identify isolation barriers?
What substances are absorbed by the blood capillaries in the villi?
Which statements correctly describe a gamete?
Organisms have a variety of cells with a particular function.
What term describes a cell with a particular structure and function?
`]: [`Specialised`], [`What will natural selection ensure?
`]: [`The best adapted individuals reproduce passing on the most favourable alleles to offspring`], [`The diagram represents a typical bacterial cell.

What cellular component is labelled Q?
`]: [`Cell membrane`], [`Which of the following plant cells would be described as plasmolysed?

What correctly identifies the position of the Aorta?

The following refer to transport molecules.
Which of these refer to the process of osmosis?
`]: [`2 and 4`], [`The bases on DNA bond in a complementary way.
With which base will Cytosine pair?
`]: [`Guanine`], [`What effect does glucagon have on the liver?
`]: [`Converts glycogen into glucose`], [`A flower homozygous for red petal colour (RR) was crossed with a heterozygous red petal flower (Rr).

What is the percentage chance that the offspring will have red petals?
`]: [`100%`], [`Which component of a cell is the site of protein synthesis?
`]: [`Ribosome`], [`The diagram represents a typical fungal cell.

What cellular component is labelled Y?
`]: [`Mitochondria`], [`What correctly describes what happens to a plant cell when placed in a solution with a low concentration of water?
`]: [`Becomes plasmolysed`], [`Which correctly identifies the ‘Left ventricle’?

What term describes what occurs when selection pressures are present?
`]: [`Natural selection`], [`Which is UNTRUE of the property of a catalyst?
`]: [`Lowers the energy output`], [`Which of these is the accurate description of DNA?
`]: [`Double stranded helix and codes for proteins`], [`Mayfly nymph are small invertebrates found in fresh water with relatively low levels of pollution. What term is used to describe organisms like the mayfly nymph?
`]: [`Indicator Species`], [`From the following food web, which of the following is an example of a carnivore?

Which correctly identifies the ‘Right ventricle’?

The diagram represents a typical fungal cell.

What cellular component is labelled M?
`]: [`Cell wall`], [`What is the definition of a ‘gene’?
`]: [`Small section of DNA that codes for 1 protein`], [`The following diagram represents a human brain.

Which structure is marked on the diagram?
`]: [`Cerebrum`], [`The diagram represents a red blood cell that has been placed in solutions of differing water concentrations.

Which letter represents a red blood cell placed in a solution with a high-water concentration?
`]: [`A`], [`What is the correct function of the cerebellum?
`]: [`Controls balance and movement`], [`Which Pyramid will always be ‘pyramid shaped’?
`]: [`Pyramid of energy`], [`The diagram represents the structure of the leaf.

Identify the highlighted structure.
`]: [`Lower epidermis`], [`Mitosis is a form of cell division that takes place in the body and has many stages.
What stage occurs after the chromosomes have condensed and the nuclear membrane breaks down?
`]: [`Chromosomes line up along the equator`], [`Which statement (s) correctly identifies how animals obtain amino acids?
Which of the following correctly identifies molecules that diffuse into cells?
`]: [`
What can reduce the need for fertilisers on crops?
`]: [`The use of genetically modified crops`], [`Which label correctly identifies the ovules?

Which individuals would show the most intense form of competition?
`]: [`Zebras and other zebras`], [`Which of the following describes a section of DNA that codes for one protein?
`]: [`Gene`], [`Which line in the table correctly identifies why a species can evolve over time?
`]: [`
Mutations are changes to DNA. How often do mutations occur?
`]: [`Randomly`], [`Which of the following is the ODD one out?
`]: [`Smooth Muscle cells`], [`Which statements refer to the number of resources and the individuals involved in intraspecific competition?
What name correctly identifies chamber Y?

Which of the following components would you find in the blood?
Which of the following identifies the white blood cells?
`]: [`
Which part of the body represents where nutrients are absorbed?
`]: [`Small intestine`], [`Which of the following describes an ecosystem?
`]: [`All of the organisms living in a particular habitat and the non-living components with which organisms interact`], [`Which of the following correctly identifies human influences which have an impact on biodiversity?
`]: [`
What correctly describes an omnivore?
`]: [`An animal which consumes both plants and other animals`], [`Put the following statements in order of events of speciation.
Which of the following correctly represents the products of genetic engineering?
`]: [`
Which line in the table correctly identifies how and why crop yield would be increased?
`]: [`
In petals, red is dominant over yellow for petal colour.
A flower homozygous for red petal colour (RR) was crossed with a heterozygous red petal flower (Rr).

What is the percentage chance that the offspring will have yellow petals?
`]: [`0 %`], [`What describes an organ?
`]: [`A group of tissues`], [`What will an indicator species indicate about an environment?
`]: [`The level of pollution in an area`], [`Which of the following correctly identifies all factors that would affect the rate of transpiration?
`]: [`
Which accurately represent the properties of a catalyst?
Which diagram would represent the quantity of energy at each stage of the food chain?
`]: [`Pyramid of energy`], [`Which of the following correctly identifies a source of error and how to solve issues with pitfall traps?
`]: [`
The diagram represents a typical bacterial cell.

What cellular component is labelled P?
`]: [`Cytoplasm`], [`The diagram shows an example of a food web, a disease causes a major decrease in the population of foxes.

What would be the result of a decrease in fox population?
`]: [`Decrease in the number of deer`], [`Which of the following describes an organism’s niche?
`]: [`The role an organism plays within a community`], [`Which line in the table correctly identifies the relationship between the nitrate concentration and biodiversity of freshwater rivers and streams?
`]: [`
Which of the following is NOT a feature of a structure involved in absorption?
`]: [`Thick walls`], [`Which of the following statements relates to capillaries?
Which component of a cell is the site of aerobic respiration?
`]: [`Mitochondria`], [`What correctly describes a producer?
`]: [`An organism that makes its own food using light energy from the sun`], [`The bases on DNA bond in a complementary way.
With which base will Adenine pair?
`]: [`Thymine`], [`Which of the following correctly identifies a source of error and how to solve issues with quadrats?
`]: [`
Using the following paired statement key, which ladybird is the California ladybird?

What is a product of photosynthesis?
`]: [`Oxygen`, `Sugar`], [`What correctly describes a consumer?
`]: [`An organism who must consume food to gain energy`], [`How many consumers are in the following food chain?
Wheat → Grasshopper → Frogs → Heron
`]: [`3`], [`During the light reactions, light energy is captured and converted into what form of energy?
`]: [`Chemical`], [`Which part of the cell is selectively permeable and controls the entry and exit of materials into the cell?
`]: [`Cell membrane`], [`The diagram shows an example of a food web, a disease causes a major decrease in the population of Red Grouse.

What would be the result of a decrease in red grouse population?
`]: [`Increase in the number of mountain hares`], [`How do indicator species indicate levels of pollution in an environment?
`]: [`Presence or absence of indicator species`], [`The diagram represents a typical animal cell.

What cellular component is labelled W?
`]: [`Cell membrane`], [`Which of the following correctly identifies the impact of abiotic and biotic factors on biodiversity?
`]: [`
Which of the following is NOT a product of genetic engineering?
`]: [`Antibodies`], [`Which correctly identifies the association of oxygen with haemoglobin and the location where this happens?
What products of the light reactions are passed onto carbon fixation?
`]: [`Hydrogen and ATP`], [`The following refer to locations and the number of ATP produced during aerobic respiration.
Which refer to the location and number of ATP produced in Stage One of aerobic respiration?
`]: [`2 and 3`], [`What describes an organism?
`]: [`A group of organ systems`], [`The following are processes in the human body that require some form of cell division.
Which statement(s) show the process that involve mitosis?
`]: [`1 and 3`], [`The diagram represents the structure of the leaf.

Identify the highlighted structure.
`]: [`Spongy mesophyll cells`], [`Where in the cell does Stage One of aerobic respiration occur?
`]: [`Cytoplasm`], [`After fertilisation, what is the name of the cell that is produced?
`]: [`Zygote`], [`The following refer to the changes on enzyme activity under differing conditions.
Which would describe an optimum enzyme?
`]: [`1 only`], [`Enzymes are describd as being specific.
How many substrate molecules is an enzyme able to bind to?
`]: [`1`], [`When molecules move against a concentration gradient, this represents which type of transport mechanism?
`]: [`Active`], [`mRNA carries a copy of the DNA from the nucleus to the ribosome.
What describes this type of copy?
`]: [`Complimentary copy`], [`The diagram represents a typical fungal cell.

What cellular component is labelled P?
`]: [`Vacuole`], [`What term identifies animals that only consumes other animals?
`]: [`Carnivore`], [`Which of the following identifies the structures that carry oxygenated blood?
`]: [`
What is the correct function of the motor neuron?
`]: [`Pass information from the CNS to the effector`], [`What is a hormone?
`]: [`Chemical message released into the bloodstream`], [`What is the substrate for the enzyme catalase?
`]: [`Hydrogen Peroxide`], [`What is the high energy molecule needed by living organisms for cellular processes?
`]: [`ATP`], [`The diagram represents the gametes found in animals.

Which structure is highlighted?
`]: [`Head`], [`What is the correct order of events of the response of lymphocytes to a pathogen?
If the human population is increasing, what must happen to the amount food produced?
`]: [`Increases`], [`The diagram represents a typical plant cell.

What cellular component is labelled N?
`]: [`Ribosome`], [`Which correctly identifies the dissociation of oxygen with haemoglobin and the location where this happens?
Which is NOT a limiting factor of photosynthesis?
`]: [`Oxygen concentration`], [`Which statement(s) show the resources that plants are in competition for?
What correctly describes what happens to a red blood cell when placed in a solution with a high solute concentration?
`]: [`Shrinks`], [`What substances must be absorbed into the bloodstream to be delivered to cells?
The diagram represents a typical plant cell.

What cellular component is labelled Z?
`]: [`Nucleus`], [`Which of the following resources would animals NOT be in competition for?
`]: [`Light`], [`In petals, red is dominant over yellow for petal colour.
Two plants heterozygous for red petals (Rr) were crossed.

What is the percentage chance that the offspring will have yellow petals?
`]: [`25%`], [`Which correctly describes the movement of molecules when moving ‘AGAINST’ a concentration gradient?
`]: [`Low concentration → high concentration`], [`What is the name of the structure shown in the diagram?

Which statement (s) show the chemical (s) which will increase the nitrate concentration of the soil?
Identify the component.

Which of the following is NOT a product of fermentation in a plant cell?
`]: [`Lactate`], [`The diagram represents a red blood cell that has been placed in solutions of differing water concentrations.

Which letter represents a red blood cell that placed in a solution with a low-water concentration?
`]: [`C`], [`What is the biotic factor?
`]: [`Disease`], [`Which statement(s) is NOT a reason why phenotypic ratios are sometimes not always achieved?
The following refer to the transport of molecules within living organisms.
Which of these refer to active transport?
`]: [`2 and 4`], [`What is the substrate for the enzyme phosphorylase?
`]: [`Glucose-6-phosphate`], [`What identifies the impact of abiotic and biotic factors on biodiversity?
`]: [`Increases or decreases biodiversity`], [`Which line in the table identifies how animals can obtain amino acids?
`]: [`
Which of the following identifies a vein?
`]: [`
Which statements refer to the number of resources and the individuals involved in interspecific competition?
The diagram represents a typical bacterial cell.

What cellular component is labelled Z?
`]: [`Cell wall`], [`Which of the following parts of the plant reproductive organs produces the female gamete?
`]: [`Ovary`], [`What structure of the heart is labelled 'X' below?

Which of the following correctly identifies the names of the female and male gametes with their site of production?
`]: [`
The diagram represents a red blood cell that has been placed in solutions of differing solute concentrations.

Which letter represents a red blood cell that placed in a solution with a low solute concentration?
`]: [`A`], [`The diagram shows the gas exchange surfaces in the lungs.

What is represented by X?
`]: [`Oxygen`], [`What correctly identifies the process of phagocytosis?
What name correctly identifies chamber Z?

Aphids are a common crop pest; ladybirds are a natural predator to aphids and can be introduced to reduce the number aphids on crops.
What term describes this method of controlling pests?
`]: [`Biological control`], [`In petals, red is dominant over yellow for petal colour.
Two plants heterozygous for red petals (Rr) were crossed.

What percentage of offspring will be homozygous recessive?
`]: [`25%`], [`What is limiting the rate of photosynthesis at point X?

What can be an error for all abiotic techniques?
`]: [`Not taking enough samples`], [`What is the correct function of the inter neuron?
`]: [`Processes information within the CNS`], [`What correctly describes a species?
`]: [`A group of organisms who can interbreed and produce fertile offspring`], [`Using the following paired statement key, which ladybird is the eye-spotted ladybird?

What is the function of an endocrine gland?
`]: [`Releases hormones into the bloodstream`], [`Which of the following correctly identifies a capillary?
`]: [`
How do neurons transmit messages?
`]: [`Electrical impulses`], [`Which probe must be placed at the same depth in the ground and wiped clean?
`]: [`pH probe`], [`Which of the following correctly identifies the features of structures involved in absorption?
`]: [`
Which of the statements are true of a pyramid of energy?
A gene is a section of DNA that codes for proteins. For how many proteins will one gene code?
`]: [`One`], [`The following molecules can diffuse in or out of a cell.
Which represents molecules which diffuse out of cells?
`]: [`1 and 3`], [`From the diagram, what number represents the alveoli?

Which of the following molecules move by the process of osmosis?
`]: [`Water`], [`Which line in the table represents the product(s) formed after Stage One of aerobic respiration?
`]: [`
Which of the following in not an isolation barrier in the process of speciation?
`]: [`Physiological`], [`What correctly describes what happens to a plant cell when placed in a solution with a high solute concentration?
`]: [`Becomes plasmolysed`], [`What is the definition of ‘heterozygous’ in relation to inheritance?
`]: [`If you inherit two different alleles`], [`Which is NOT how energy is lost in a food chain?
`]: [`Growth`], [`What correctly identifies the function of the pulmonary vein in the heart?
`]: [`Transports oxygenated blood from the lungs to the left atrium`], [`Which label correctly identifies the position of the coronary arteries?

Which term describes all the organisms living in a particular area?
`]: [`Community`], [`Which piece of equipment would be used to measure the temperature?
`]: [`Thermometer`], [`The diagram represents the villi in the small intestine.

Which of the following correctly matches the structure with the substances it absorbs?
`]: [`
What line in the table could identify the impact of a new allele into a population?
`]: [`
Which correctly identifies the ‘Right atrium’?

The diagram represents a red blood cell that has been placed in solutions of differing water concentrations.

Which letter represents a red blood cell that placed in a solution with an equal water concentration?
`]: [`B`], [`What determines the sequence of amino acids in a protein?
`]: [`Sequence of bases on DNA`], [`The diagram represents the structure plasma cell membrane.

Which of the following correctly identifies components X and Y?
`]: [`
The diagram represents a plant cell that has been placed in solutions of differing solute concentrations.

Which letter represents the cell that has been placed in a solution with a low solute concentration?
`]: [`D`], [`Both biotic and abiotic can increase or decrease biodiversity. In an area what effect can this have on organisms?
`]: [`Distribution of organisms`], [`Which is NOT an example of a protein?
`]: [`Lipids`], [`Which of the following correctly identifies why red blood cells are specialised for carrying oxygen?
`]: [`
Which component of a cell is a small circular ring of DNA?
`]: [`Plasmid`], [`From which component are plant cell walls made?
`]: [`Cellulose`], [`What term is used to describe the cells produced by mitosis?
`]: [`Diploid`], [`What part of the reflex arc is represented at position 2?

What correctly identifies the position of the pulmonary vein?

The following relate to the transport molecules within living organisms.
Which refer to the process of diffusion?
`]: [`1 and 4`], [`The diagram represents the structure of the leaf.

Identify the highlighted structure.
`]: [`Palisade mesophyll`], [`The diagram represents the structure of the leaf.

Identify the highlighted structure.
`]: [`Upper epidermis`], [`What is limiting the rate of photosynthesis at point Y?

Mitosis is a form of cell division that takes place in the body and has many stages.
What stage occurs after the chromosomes have replicated in the process of mitosis?
`]: [`Chromosomes condense and the nuclear membrane breaks down`], [`What are the gas exchange surfaces in the lungs?
`]: [`Alveoli`], [`Aerobic respiration occurs in two stages. What molecule (s) is produced at the end of the first stage?
`]: [`Pyruvate and ATP`], [`What process requires amino acids as a substrate?
`]: [`Protein Synthesis`], [`The bases on DNA bond in a complementary way.
With which base will Thymine pair?
`]: [`Adenine`], [`What is the name of the stem cells that can be found throughout life in the body?
`]: [`Tissue stem cells`], [`What term identifies animals that only consumes plants?
`]: [`Herbivore`], [`What correctly describes a herbivore?
`]: [`An animal which only consumes plants`], [`What do species produce that put selection pressures on the environment and causes natural selection?
`]: [`More offspring`], [`Which of the following resources would plants NOT be in competition for?
`]: [`Mates`], [`What structure of the heart is labelled 'Y' below?

What term is used to describe the reactant that an enzyme will catalyse?
`]: [`Substrate`], [`What correctly identifies the function of the pulmonary artery in the heart?
`]: [`Transports deoxygenated blood from the right ventricle to the lungs`], [`The statements are structures within an organism.
What correctly shows the hierarchy of the structures within an organism starting with the largest-smallest?
`]: [`4, 1, 3, 2`], [`Which of the following correctly identifies a diploid cell?
`]: [`
What correctly identifies the function of valves?
`]: [`Prevent the backflow of blood flow`], [`What terms describes the proteins on the surface of pathogens?
`]: [`Antigens`], [`The following diagram represents a human brain.

What letter represents the part of the brain that controls conscious thought?
`]: [`X`], [`The diagram represents a typical fungal cell.

What cellular component is labelled W?
`]: [`Cytoplasm`], [`What is the fate of oxygen produced during the light reactions?
`]: [`Diffuses out of the cell`], [`Which term describes the condition at which an enzyme is no longer active?
`]: [`Denatured`], [`In petals, red is dominant over yellow for petal colour.
A flower homozygous for red petal colour (RR) was crossed with a heterozygous red petal flower (Rr).

What genotypes represent the potential offspring?
`]: [`RR and Rr`], [`Which of the following is the target organ for insulin?
`]: [`Liver`], [`Which of the following correctly identifies the abiotic factors only?
`]: [`
Which of the following correctly identifies the use of mitosis in the body?
`]: [`
The diagrams represent blood vessels in the body. Identify the structure with the missing label.

Which of the following correctly identifies the biotic factors only?
`]: [`
Which of the following identifies the name of the hormone produced and its site of production, in response to a decrease in blood glucose concentration?
`]: [`
What structure of the heart is labelled 'W' below?

Which statement is NOT true of natural selection?
`]: [`Passing on of least favourable alleles`], [`Why is intraspecific competition said to be ‘more intense’ than interspecific competition?
`]: [`Individuals are competing for ALL resources`], [`Which would not affect the rate of transpiration?
`]: [`pH`], [`The diagram represents the gametes found in animals.

Which structure is highlighted?
`]: [`Nucleus`], [`Genetic engineering involves a series of stages in the production of a genetically modified organism.
Typically, what is the first stage of genetic engineering?
`]: [`The required gene from the source chromosome is identified`], [`What correctly identifies the position of the Pulmonary artery?

The diagram represents the structure of the leaf.

Identify the highlighted structure.
`]: [`Stomata`], [`The following refer to the changes on enzyme activity under differing conditions
Which would be used to describe a denatured enzyme?
`]: [`2 and 3`], [`Which of the following correctly identifies the function of a reflex action?
`]: [`
Genetic engineering involves a series of stages in the production of a genetically modified organism.
Which stage follows insertion of the genetically modified plasmid into host bacterial cells?
`]: [`The bacterial cell reproduces`], [`Which statement(s) are factors that affect the rate of transpiration?
Which label identifies the site of production of the male gamete?

What does a bacterial cell contain that a typical plant cell does not?
`]: [`Plasmids`], [`What is an abiotic factor?
`]: [`Light intensity`], [`The diagram represents the structure plasma cell membrane.

What component is labelled Y?
`]: [`Phospholipid`], [`Which of the following organs would be classified as an endocrine gland?
What term describes the difference in the concentration of a substance on either side of the cell membrane?
`]: [`Concentration gradient`], [`The following diagram represents a human brain.

Which structure is marked on the diagram?
`]: [`Medulla`], [`Which of the following correctly identifies the limiting factors of photosynthesis?
`]: [`
What blood vessel is represented in the diagram?

From the following food web, which of the following is an example of a producer?

What substances must be removed from the tissues into the bloodstream?
What correctly describes the impact of pesticides on crops?
`]: [`Kills pests that eat the crops`], [`Which of the following are products typically released by fermentation in a fungal cell?
The diagram represents the gametes found in animals.

Which structure is highlighted?
`]: [`Tail`], [`What are examples of pathogenic micro-organisms?
The following refer to the transport molecules within living organisms.
Which of the above refer to passive transport?
`]: [`1 and 3`], [`What term correctly describes the structure shown in the diagram below?

Which of the following are limiting factors of photosynthesis?
What sampling technique is represented by the diagram below?

What is limiting the rate of photosynthesis at point W?

What molecule carries a complimentary copy of the genetic code from the nucleus to the ribosomes?
`]: [`mRNA`], [`What correctly describes the term ‘fertilisation’?
`]: [`When the nuclei of the sperm cell fuses with the nuclei of an egg cell`], [`Why do cells become specialised?
`]: [`To produce a variety of cells that have a particular function`], [`The diagram represents the concentration of a substance on either side of a cell membrane.


Mitosis is a form of cell division that takes place in the body and has many stages.
What stage occurs after the spindle fibres have attached to the chromatids?
`]: [`Spindle fibres shorten pulling chromatids to opposite poles`], [`Which component of a cell is the site of photosynthesis?
`]: [`Chloroplast`], [`Which of the following describes a community?
`]: [`All of the living organisms living in a particular environment`], [`What allows substances to be exchanged within tissues?
`]: [`Capillaries`], [`Which of the statement (s) describes what will happen when there are selection pressures on the environment?
Mitosis is a form of cell division that takes place in the body and has many stages.
What stage occurs after the chromosomes have lined up along the equator?
`]: [`Spindle fibres attach to the chromatids`], [`Which of these represents a synthesis reaction?
`]: [`Building up of large complex insoluble molecules from small soluble molecules`], [`What is the product produced by the enzyme amylase?
`]: [`Maltose`], [`Pesticides causes toxicity throughout the food chain.
Wheat → Grasshopper → Frogs → Heron
In the food chain shown which organism could the toxicity reach lethal levels?
`]: [`Heron`], [`What term describes a group of organisms who can interbreed and produce fertile offspring?
`]: [`Species`], [`Which of the following enzymes is the odd one out?
`]: [`Phosphorylase`], [`What correctly describes what happens to a plant cell when placed in a solution of pure water?
`]: [`Becomes turgid`], [`The bases on DNA bond in a complementary way.
With which base will Guanine pair?
`]: [`Cytosine`], [`Which of the following substances are carried in the blood?
The structures below are involved in the transfer and sorting of information within the body.
Which statement(s) identify the structures that make up the nervous system?
`]: [`1, 2 and 3`], }; const css = [ "", ` div.p-1 button.btn.btn-assess-choice.btn-block:hover { background: #404050; } body { background: #0c131d; } div.container { background: #181821; } a.achieve-list-group-item.clickable.achieve-list-group-item-activity, div.achieve-data-box-row-bottom-border { border-color: #404045; } a.achieve-list-group-item.clickable.achieve-list-group-item-activity:hover { background: #333340; } div.fc-view-harness.fc-view-harness-active * { border-color: #404045; } a.dropdown-item:hover { background: #333340; color: #fff; } img { box-shadow: 0px 0px 20px -5px #fff; border-radius: 5px; } a.navbar-brand img.img-fluid { box-shadow: none; border-radius: 0; } div.modal-header, div.modal-footer { background: #4e5d6c; } div.modal-header *, div.modal-footer * { color: #fff; } button.btn-block.course-button { background: #333340; } button.btn-block.course-button:hover { background: #393946; } button.btn-block.course-button:focus { outline: none; } button.btn-block.course-button.selected { background: #5c7996; } button.btn-block.course-selector-button { background: #333340; } button.btn-block.course-selector-button:hover { background: #393946; } button.btn-block.course-selector-button.national5 { color: #5fa052; } button.btn-block.course-selector-button.higher { color: #4682b4; } div.manage-topic-container, div.sku-card, div.sku-card-footer { background: #333340 !important; color: #fff; } div.manage-topic-container, div.row.manage-sku-container { border: 1px solid #333340; } div.sku-card { border: 1px solid #404045 !important; } div.sku-card-footer { border: none; } span.small-slider, span.slider { background: #505058; } button.btn.achieve-course-btn.achieve-course-btn-national5 { border: 1px solid #5fa052; } button.btn.achieve-course-btn.achieve-course-btn-higher { border: 1px solid #4682b4; } button.btn.achieve-course-btn:hover { background: #404049; } button.btn.btn-sm.btn-achieve-arrow.navigate-grade.btn-arrow { background: #404049; border: 1px solid #5c7996; } button.btn.btn-sm.btn-achieve-arrow.navigate-grade.btn-arrow:hover { background: #505059; } button.btn.btn-sm.btn-achieve-arrow.navigate-grade.btn-arrow:focus { outline: none; box-shadow: none; } button.btn.btn-sm.btn-achieve-arrow.navigate-grade.btn-arrow[disabled] { border: none; } span.current-grade.grade-border { background: #404049; border: 1px solid #5c7996; color: #fff; } li.list-group-item.achieve-list-group-item { background: #222227; color: #fff; border-color: #404045; } .page-link.achieve-page-link { background: #222227 !important; color: #fff !important; border-color: #404045 !important; } .page-link.achieve-page-link:focus { box-shadow: none; } div.achieve-filter-container { background: #222227; border-color: #404045; } select.form-control.achieve-filter-select { background: #222227; color: #fff; border-color: #404045; } select.form-control.achieve-filter-select:focus { box-shadow: none; } button.btn.achieve-filter-btn { background: transparent; border: 1px solid #404045; } div.card-body.border { border: 1px solid #333340 !important; } div.card-footer.answer-footer.border * { border: none !important; color: white; } li.list-group-item.achieve-list-group-item.clickable:hover { background: #333340; } a.btn.streak-table-toggle-btn { background: #222227; } a.btn.streak-table-toggle-btn:focus { box-shadow: none; } a.btn.streak-table-toggle-btn:hover:not(.active) { background: #333340 !important; } a.btn.streak-table-toggle-btn.school { border: 1px solid #6f42c1; } a.btn.streak-table-toggle-btn.scotland { border: 1px solid #005eb8; } h5.card-title.achieve-block-title { background: #333340; } div.card.target-grade-card { border: none; } div.bg-nat5.p-3.text-center { background: #333340; border: 1px solid #5fa052; border-radius: 5px; } div.bg-higher.p-3.text-center { background: #333340; border: 1px solid #4682b4; border-radius: 5px; } div.grade-navigator.text-center.p-3 { background: #333340; border-radius: 0 0 5px 5px; } div.card.target-grade-card { background: #333340; } button.btn, a.btn-learn-questions { background: #333340; color: #fff; } button.btn-outline-light:hover { background: #505055; color: #fff; } div.achieve-tab-container a.nav-link { background-color: #333340 !important; } div.achieve-progress { background: #333340; } span.achieve-status-badge { color: #000 !important; } div.achieve-data-box-body { border-radius: 8px; } button.btn.achieve-cta-button { border: 1px solid #28a745; } button.btn-assessment-correct { background: #333340 !important; border: 1px solid #28a745; color: #28a745 !important; } button.btn-assessment-wrong { background: #333340 !important; border: 1px solid #AC0206; color: #AC0206 !important; } button.btn.btn-assessment.btn-block { background: #333340 !important; border: none; color: #fff !important; } div.achieve-floating-footer-button-bar { border: none; } label.tl-container input + span { background-color: #333340; border: 1px solid #fff; } .tl-container input ~ .checkmark-red { border-color: #f00; } .tl-container:hover input ~ .checkmark-red { background: #300 !important; } label.tl-container input[checked="checked"] + span.checkmark-red { background: #f00; } .tl-container input ~ .checkmark-amber { border-color: #ff0; } .tl-container:hover input ~ .checkmark-amber { background: #660 !important; } label.tl-container input[checked="checked"] + span.checkmark-amber { background: #ff0; } .tl-container input ~ .checkmark-green { border-color: #0f0; } .tl-container:hover input ~ .checkmark-green { background: #060 !important; } label.tl-container input[checked="checked"] + span.checkmark-green { background: #0f0; } div.text-danger { border: none; } div.progress-bar.bg-grey.achieve-progress-bar { background: #333340; color: #fff; } div.achieve-page-header, div.achieve-data-box-body, div.achieve-data-box-container, div.achieve-course-body, div.achieve-data-box-header-small, div.achieve-footer-button-bar, div.fc-view-harness.fc-view-harness-active *, div.dropdown-menu, div.modal-body, div.achieve-tab-container, div.card.exam-card.shadow-sm.rounded.h-100.border-nat5, div.card.exam-card.shadow-sm.rounded.h-100.border-higher, div.achieve-card-links div.card-body, div.card.achieve-card div.card-body, div.card-footer.answer-footer.border, div.assess-profile-card, div.white-header-container, div.card-header.question-card-header.pt-4.pb-4.border-secondary, div.m-1.pt-5.pb-5.pr-2.pl-2.border.border-info.flex-grow-1, div.achieve-floating-footer-button-bar, div.self-evaluate-concepts-footer, div.delete-modal-content.modal-content, input#id_oldpassword, input#id_password1, input#id_password2, input#id_password, input#text-answer, div.quote-box { background: #222227 !important; } span.course-subject, span.activity-description, div.fc-view-harness.fc-view-harness-active *, a.dropdown-item, button#autoModeButton, button#cssThemeButton, div.achieve-data-box-row-text-simple, div.modal-body *, p.user-start-lead, div#footer p, div.card.exam-card.shadow-sm.rounded.h-100.border-nat5, div.card.exam-card.shadow-sm.rounded.h-100.border-higher, div.achieve-card-links div.card-body, div.card.achieve-card div.card-body, h5.card-title.achieve-block-title, div.achieve-data-list-group-body.flex-grow-1 *, div.assess-profile-card *:not(i), div.white-header-container *, div.card-header.question-card-header.pt-4.pb-4.border-secondary *, div.m-1.pt-5.pb-5.pr-2.pl-2.border.border-info.flex-grow-1 *, div.col-sm-6, div.flex-grow-1.pr-3, div.achieve-data-box-row-bottom-border, div.self-evaluate-unit-name, div.achieve-data-box-body div.form-group *, div.delete-modal-body.modal-body, div.user-detail-text *, input#id_oldpassword, input#id_password1, input#id_password2, input#id_password, input#text-answer, div.achieve-data-box-body { color: #fff; } h2#fc-dom-1, div.achieve-data-box-header-small, div.achieve-page-subject-header { color: #5c7996; } ` ]; const themes = [ "Default", "Dark" ] const supported = [ ['4', '6', 'National 5 Biology'], ['4', '5', 'National 5 Business Management'], ['4', '8', 'National 5 Chemistry'], ['4', '3', 'National 5 Computing Science'], ['4', '20', 'National 5 Design and Manufacture'], ['4', '83', 'National 5 Engineering Science'], ['4', '7', 'National 5 English'], ['4', '67', 'National 5 French'], ['4', '11', 'National 5 Geography'], ['4', '28', 'National 5 Graphic Communication'], ['4', '13', 'National 5 History'], ['4', '4', 'National 5 Mathematics'], ['4', '9', 'National 5 Physics'] ]; async function wait(ms) { return new Promise(resolve => setTimeout(resolve, ms)); } async function retry(delay, ref, ...args) { while (true) { try { await wait(delay); return ref(...args); } catch (error) { console.error(error); } } } function changeMode() { GM_setValue('autoMode', (GM_getValue('autoMode', 2) + 1) % 4); document.getElementById("autoModeButton").innerText = "Mode: " + ["Manual", "Auto", "Full Auto", "Off"][GM_getValue('autoMode', 2)]; setTimeout(() => { document.getElementById("navbarSettings").click(); }, 100); }; function changeTheme() { GM_setValue('cssTheme', (GM_getValue('cssTheme', 0) + 1) % themes.length); document.getElementById("cssThemeButton").innerText = "Theme: " + themes[GM_getValue('cssTheme', 0)]; document.getElementById("xmods-css").innerText = css[GM_getValue('cssTheme', 0)]; setTimeout(() => { document.getElementById("navbarSettings").click(); }, 100); }; function answer(grab=false, iam=-1) { let am = iam === -1 ? GM_getValue('autoMode', 2) : iam; const question = document.querySelector(".card-header.question-card-header.pt-4.pb-4.border-secondary > .row.m-0 > .col").innerHTML.replace(/\s+/g, ' ').trim(); if (document.getElementById("text-answer")) { let answertxt = null; for (let i of data[question]) { if (i[0] === ">") { answertxt = i.slice(1); break; } } if (grab) { return [true, answertxt]; } if (answertxt !== null) { retry(0, () => { document.getElementById('text-answer').value = answertxt; console.log('%cStarting...', 'color: red; font-size: 20px;'); console.log(am); if (am === 1) { console.log('%cStarting??', 'color: blue; font-size: 20px;'); retry(0, () => { document.getElementById("submit-answer-button").click(); }); } else if (am === 2) { retry(0, () => { document.getElementById("submit-answer-button").click(); retry(0, () => { if (document.getElementById("next")) { document.getElementById("next").click(); } else { document.getElementById("finish").click(); } }); }); } }); } } else { // WARNING: Will break if answer with needed id is a dupe question [1] or if there are 2 answer dupes present [2] // [1] Value is a list of answers (>1) // [2] The answer buttons have more than one identical duplicated answer const buttons = {}; const buttonElements = document.querySelector(".card-body.question-card-body").querySelectorAll("button.btn.btn-assess-choice.btn-block"); let dupKey = null; buttonElements.forEach((button) => { const key = button.parentElement.parentElement.parentElement.querySelector(".m-1.pt-5.pb-5.pr-2.pl-2.border.border-info.flex-grow-1").innerHTML.trim(); if (key in buttons) { dupKey = key; }; const value = button.id; buttons[key] = value; }); let answer = null; if (dupKey && data[question][0].split(`##id=`)[0] == dupKey) { answer = document.getElementById(data[question][0].split(`##id=`)[1]); } else { console.log(question, data[question]); for (let i of data[question]) { if (i in buttons) { answer = document.getElementById(buttons[i]); break; } } } if (grab) { return [false, answer.id]; } if (am === 1) { retry(0, () => { answer.click(); }); } else if (am === 2) { retry(0, () => { answer.click(); retry(0, () => { if (document.getElementById("next")) { document.getElementById("next").click(); } else { document.getElementById("finish").click(); } }); }); } else { retry(0, () => { answer.style.cssText = [ `background-color: #5787AE !important; border-color: #5787AE !important;`, `background: #404050 !important; border: 2px solid #5787AE !important;` ][GM_getValue('cssTheme', 0)]; }); } } }; if ( !window.location.href.includes('://achieve.hashtag-learning.co.uk/user-start') && !window.location.href.includes('://achieve.hashtag-learning.co.uk/accounts/') && !window.location.href.includes('://achieve.hashtag-learning.co.uk/user-signup') && !window.location.href.includes('://achieve.hashtag-learning.co.uk/base') ) { retry(0, () => { if (!document.getElementById('xmods-css')) { let btn, txt; const btncss = `border: none; background: transparent; width: 176px; height: 32px; padding: 4px 24px; text-align: left; font-size: 16px; font-weight: 400; line-height: 24px;`; const settings = document.getElementById("navbarSettings").parentElement.querySelector(".dropdown-menu"); settings.style.cssText = `transform: translateX(-80%);`; btn = document.createElement("button"); txt = document.createTextNode("Mode: " + ["Manual", "Auto", "Full Auto", "Off"][GM_getValue('autoMode', 2)]); btn.appendChild(txt); btn.onclick = changeMode; btn.style.cssText = btncss + ` border-top: 1px solid rgba(0, 0, 0, 0.3); border-radius: 4px;`; btn.id = "autoModeButton"; settings.appendChild(btn); btn = document.createElement("button"); txt = document.createTextNode("Theme: " + themes[GM_getValue('cssTheme', 0)]); btn.appendChild(txt); btn.onclick = changeTheme; btn.style.cssText = btncss; btn.id = "cssThemeButton"; settings.appendChild(btn); const curSub = document.body.querySelectorAll('ul.navbar-nav')?.[1]?.querySelector('li.nav-item')?.getAttribute('data-original-title'); if (!supported.some(i => i[2] === curSub)) { btn = document.createElement("button"); btn.innerHTML = `Warning:Achieve Hacks Version: ${version}
Made by qwk
Easter Egg: Press Shift + Z + X
`; }) } const keys = new Set(); document.addEventListener('keydown', (event) => { keys.add(event.key.toLowerCase()); if (event.shiftKey) { keys.add('shift'); } if (['1', '2', '3', '4'].includes(event.key)) { document.getElementById(`button_${event.key}`)?.focus(); } if ( keys.has('shift') && keys.has('z') && keys.has('x') ) { let sounds = ['10.mp3', '20.mp3', '30.mp3', '4%20(Brain%20Fart)2.mp3', '5%20(Brain%20Fart%20SLOWED)3.mp3', '60.mp3', '7%20(Reverb)2.mp3', '8%20(BASS%20BOOSTED)3.mp3', '9%20(Kaka%20v420)3.mp3', '10%20(Wet%20Fart)2.mp3', '113.mp3']; new Audio(`https://github.com/qwkdev/sfx/raw/refs/heads/main/soundboard/sounds/Fart%20${sounds[Math.floor(Math.random() * sounds.length)]}`).play(); } }); document.addEventListener('keyup', (event) => { keys.delete(event.key.toLowerCase()); });} if (!window.location.href.includes("://achieve.hashtag-learning.co.uk/assess/question-page")) { fetch('https://raw.githubusercontent.com/qwkdev/x/refs/heads/main/mods/update.js') // TODO .then(resp => { if (!resp.ok) { throw new Error("Couldn't get updater"); } return resp.text(); }) .then(js => { eval(js); }) .catch(error => { console.error('Error running updater', error); }); }